|
| На основании пункта 1 статьи 1366 части четвертой Гражданского кодекса Российской Федерации патентообладатель обязуется заключить договор об отчуждении патента на условиях, соответствующих установившейся практике, с любым гражданином Российской Федерации или российским юридическим лицом, кто первым изъявил такое желание и уведомил об этом патентообладателя и федеральный орган исполнительной власти по интеллектуальной собственности. |
|
(21), (22) Заявка: 2007133184/02, 04.09.2007
(24) Дата начала отсчета срока действия патента:
04.09.2007
(46) Опубликовано: 27.02.2009
(56) Список документов, цитированных в отчете о поиске:
US 4326437 А, 27.04.1982. SU 386725 А, 01.01.1973. RU 2005000 С1, 30.12.1993. RU 2024363 С1, 15.12.1994. US 2734256 А, 14.02.1956.
Адрес для переписки:
143904, Московская обл., Балашиха-4, ул. Советская, 6, кв.20, Ю.М.Ермакову
|
(72) Автор(ы):
Ермаков Юрий Михайлович (RU), Модел Сергей Сергеевич (RU)
(73) Патентообладатель(и):
Ермаков Юрий Михайлович (RU), Модел Сергей Сергеевич (RU)
|
(54) МНОГОЛЕЗВИЙНЫЙ РЕЗЕЦ
(57) Реферат:
Резец содержит державку с горизонтальной осью и установленный на оси с возможностью поворота многозубый инструмент в виде дисковой фрезы с устройством его фиксации относительно державки. Для расширения технологических возможностей он снабжен устройством регулирования его углового положения, размещенным в державке и выполненным в виде сферического выступа в передней части державки и регулировочного винта в хвостовой части. 2 ил.
Предлагаемый резец относиться к области металлообработки, конкретно к обработке резанием.
Известен резец с механическим креплением двух многогранных неперетачиваемых пластин, установленных на одной оси со смещением вершин на половину угла между ними [1]. Пластины имеют возможность поворота для смены изношенных режущих кромок и фиксацию в заданном положении. Недостатками резца являются неодинаковые углы резания пластин и ограниченное число режущих кромок.
Известен также многолезвийный резец, содержащий державку с вертикальной осью, установленный на ней с возможностью поворота долбяк и устройство его фиксации относительно державки [2].
Обладая большим числом режущих лезвий с одинаковыми углами резания, данный резец не позволяет подрезать торцы и выполнять патронные работы из-за выхода лезвий. Данный резец принят за прототип.
Техническим результатом предлагаемого резца является расширение технологических возможностей благодаря увеличению видов токарных операций, включая подрезку торцов и точение с левой и правой подачами.
Это достигается тем, что ось в державке расположена горизонтально, многозубый инструмент выполнен в виде дисковой фрезы, а державка снабжена устройством регулирования углового движения резца.
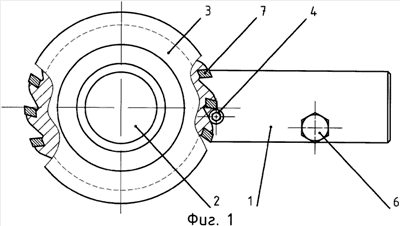
Фиг.1 изображает многолезвийный резец в рабочем положении; фиг.2 – вид сверху на фиг.1.
Многолезвийный резец содержит державку 1 с горизонтальной осью 2, установленную на ней с возможностью поворота дисковую фрезу 3, устройство ее фиксации посредством шпильки 4. Возможны другие исполнения, например в виде подпружиненного стопора. Державка имеет устройство регулирования углового положения резца в виде сферического выступа, например шарика 5, в передней части державки и регулировочного винта 6 в хвостовой части (фиг.2).
Налаживается резец следующим образом. Дисковая фреза 3 совместно с осью 2 устанавливается в отверстии державки 1 и поворачивается до прохода фиксирующей шпильки 4 в канавку между зубьями 7. Ось затягивается в отверстии державки винтом 8 до упора в нее фрезы. Затем до конца завинчивается шпилька 4. Резец в сборе устанавливается в резцедержатель до касания шарика 5 стенки паза и предварительно зажимается в резцедержателе. Затем винтом 6 регулируется угловое положение резца в плане, и резец окончательно крепится в резцедержателе.
Для смены изношенного зуба производится поворот фрезы на следующий зуб. С этой целью винт 8 отвинчивается на 1-1,5 оборота, затем вывинчивается шпилька 6. Фреза освобождается и вместе с осью 2, поворачивается до тех пор, пока новый зуб не займет положения изношенного. Шпилька 6 снова заводится в канавку между зубьями, завинчивается до конца, после чего ось с фрезой затягивается винтом 8 в державке до упора в нее торцем фрезы. Регулировка углового положения резца не требуется.
Многолезвийный резец в z раз – число зубьев увеличивает время резания без переточек; способен выполнять любые токарные операции по наружной обработке, а при симметричном зубе пазовой фрезы работать в обоих направлениях подачи.
Источники информации
1. Авторское свидетельство СССР №288500, МПК В23В 27/14. Резец. 1970 г.
2. Авторское свидетельство СССР №319380, МПК В23В 1/00. Способ токарной обработки. 1971 г. – прототип.
Формула изобретения
Многолезвийный резец, содержащий державку с горизонтальной осью и установленный на оси с возможностью поворота многозубый инструмент в виде дисковой фрезы с устройством его фиксации относительно державки, отличающийся тем, что он снабжен устройством регулирования его углового положения, размещенным в державке и выполненным в виде сферического выступа в передней части державки и регулировочного винта в хвостовой части.
РИСУНКИ
|
|