|
(21), (22) Заявка: 2007122708/02, 19.06.2007
(24) Дата начала отсчета срока действия патента:
19.06.2007
(46) Опубликовано: 27.02.2009
(56) Список документов, цитированных в отчете о поиске:
СТЕПАНЕНКО А.В., ИСАЕВИЧ Л.А. Непрерывное формование металлических порошков и гранул.- Минск: Наука и техника, 1980, с.224-225. SU 1163984 А, 30.06.1985. SU 602304 А, 23.03.1978. SU 1258623 А1, 23.09.1986. JP 59-059805 А, 05.04.1984. US 4126451 A, 21.11.1978.
Адрес для переписки:
119049, Москва, ГСП-1, В-49, Ленинский пр-кт, 4, МИСиС “Отдел защиты интеллектуальной собственности”
|
(72) Автор(ы):
Козерадский Станислав Александрович (RU), Роберов Илья Георгиевич (RU), Устинов Иван Андреевич (RU), Беззубова Виктория Николаевна (RU)
(73) Патентообладатель(и):
Федеральное агентство по образованию ФГОУ ВПО Государственный технологический университет “Московский институт стали и сплавов” (RU)
|
(54) УСТАНОВКА ДЛЯ ФОРМОВАНИЯ ПОРОШКОВ ТРУДНОДЕФОРМИРУЕМЫХ МАТЕРИАЛОВ В ДЛИННОМЕРНЫЕ БРИКЕТЫ
(57) Реферат:
Изобретение относится к области порошковой металлургии, в частности к устройствам для формования порошков труднодеформируемых материалов в длинномерные брикеты. Установка включает узел предварительного формования в виде бункера, оборудованного монолитным толкателем в виде пуансона и шнековым питателем с шиберной заслонкой, и узел окончательного формования, оснащенный валками. Узел окончательного формования снабжен съемными проводками с заданным профилем рабочей поверхности и выполнен с расположением осей валков в горизонтальной плоскости и с возможностью размещения в межвалковом пространстве упругого элемента с заданными физико-механическими характеристиками. Валки выполнены холостыми или приводными с регулируемой частотой вращения. Поверхности валков образуют калибр, профиль которого соответствует форме поперечного сечения получаемого брикета. При этом бункер узла предварительного формования выполнен в виде контейнера для прессования с формой поперечного сечения внутренней полости, соответствующей профилю калибра, закреплен вертикально на станине узла окончательного формования и оборудован, по крайней мере, одним дополнительным шнековым питателем с шиберной заслонкой. Технический результат – расширение сортамента изделий, повышение надежности механизмов, обеспечение эффективного уплотнение порошковой массы. 1 ил.
Изобретение относится к области порошковой металлургии, в частности к формованию порошков тугоплавких металлов в брикеты различного назначения.
Порошки тугоплавких металлов отличаются низкой технологичностью – плохой уплотняемостью. Вследствие высокой прочности и низкой пластичности частиц уплотнение можно обеспечить лишь за счет взаимных поворотов, смещений (перегруппировки) соседних частиц и разрушения углов, выступов частиц при высоких давлениях.
В настоящее время брикеты, например из порошков вольфрама и молибдена только, квадратного или прямоугольного поперечного сечения с отношением длины к диаметру описанной окружности немногим больше 40 производят методом формования прессованием в закрытых пресс-формах [Процессы порошковой металлургии: Учеб. Пособие для вузов. Том 2./ Г.А.Либенсон, В.Ю.Лопатин, Г.В.Комарницкий. – М.: МИСИС, 2002, с.23-34]. Получаемые брикеты характеризуются значительной неравномерностью плотности, наличием дефектов (трещин, выкрашиваний) в области ребер, ограниченной длиной. Процесс отличается низкой производительностью и большой долей ручного труда.
В качестве прототипа принято устройство для периодической прокатки-прессования некоторых видов профилей из порошков и гранул [А.В.Степаненко, Л.А. Исаевич. Непрерывное формование металлических порошков и гранул. – Минск.: Наука и техника, 1980, с.224-225]. Устройство состоит из узла предварительного формования – толстостенного бункера, верхняя и нижняя стенки которого наклонены к горизонтали под углом , равным или большим угла внешнего трения прокатываемого материала. В боковых вертикальных плоскопараллельных стенках бункера выполнены пазы, сквозь которые пропущены бесконечно замкнутые ленты, которым соответствуют глубина и ширина пазов.
На верхней наклонной стенке установлен шнековый питатель с шиберной заслонкой, являющейся у торца с меньшим сечением частью самой стенки бункера.
Внутри бункера находится составной толкатель, копирующий его переменное сечение по длине при возвратно-поступательном движении за счет перемещения деталей толкателя (запирающей пяты, клиньев) относительно друг друга. Торцом с большим сечением бункер примыкает к узлу окончательного формования, представляющего собой два приводных валка и по бокам продолжения бесконечных замкнутых лент.
Скорость движения боковых лент равна скорости выхода проката из валков. По мере спрессовывания порции порошка, находящейся в бункере, валки останавливают и составной толкатель отводят в исходное положение.
Недостатками данного устройства являются:
– ограниченность сортамента по форме поперечного сечения, определяемая конструкцией узла предварительного (бункер с боковыми лентами) и узла окончательного (прокатные валки с боковыми лентами) формования;
– невысокая надежность составного толкателя для реализации высоких давлений (усилий подпора) в бункере;
– наличие наклонных стенок у бункера при реализации высоких давлений (усилий подпора), приводит к расслоению формуемой полосы на выходе из прокатных валков на две половины по центральному продольно-поперечному слою;
– недостаточная жесткость и надежность узла окончательного формования для реализации высоких давлений из-за наличия подвижных лент.
Техническими результатами настоящего изобретения являются:
– расширение сортамента формуемых брикетов;
– повышение жесткости и надежности основных узлов и механизмов при реализации высоких давлений;
– создание возможностей осуществления по стадиям формования специальных приемов, обеспечивающих эффективное уплотнение порошковой массы.
Указанные технические результаты достигаются следующим образом.
Установка для формования порошков труднодеформируемых материалов в длинномерные брикеты включает узел предварительного формования в виде бункера, оборудованного толкателем и шнековым питателем с шиберной заслонкой, а также узел окончательного формования, оснащенный валками.
Отличие установки состоит в том, что узел окончательного формования снабжен съемными проводками с заданным профилем рабочей поверхности и выполнен с расположением осей валков в горизонтальной плоскости и с возможностью размещения в межвалковом пространстве упругого элемента с заданными физико-механическими характеристиками.
Валки выполнены холостыми или приводными с регулируемой частотой вращения. Поверхности валков образуют калибр, профиль которого соответствует форме поперечного сечения получаемого брикета.
Бункер узла предварительного формования выполнен в виде контейнера для прессования с формой поперечного сечения внутренней полости, соответствующей профилю калибра. Бункер закреплен вертикально на станине узла окончательного формования и оборудован, по крайней мере, одним дополнительным шнековым питателем с шиберной заслонкой.
Толкатель выполнен монолитным в виде пуансона для прессования.
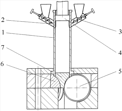
Изобретение иллюстрируется чертежом, где изображена установка для формования порошков.
Установка включает узел предварительного формования, состоящий из бункера 1 с шиберными заслонками 2, шнековых питателей 3, толкателя 4, и узел окончательного формования, состоящий из валкового формующего узла 5, проводок 6, упругого элемента 7.
Установка работает следующим образом. Порошок с помощью шнековых питателей 3, при открытых заслонках 2, подается в бункер 1, толкатель 4 в это время находится в крайнем верхнем положении. В процессе загрузки с помощью нескольких питателей 3 порошок предварительно уплотняется и равномерно распределяется внутри бункера 1.
После окончания заполнения порошком бункера 1 заслонки 2 закрываются, толкатель 4 начинает совершать рабочий ход, порошок при этом значительно уплотняется в бункере-контейнере 1, а далее с участием профилированных проводок 6 – в растворе валкового узла.
При формовании первой порции порошка по достижении определенного давления упругий элемент 7 выдавливается предварительно уплотненным порошком и осуществляется следующая окончательная стадия формования посредством вращающихся, в общем случае за счет фрикционного взаимодействия с порошком валков.
Процесс приостанавливается при приближении толкателя-пуансона 4 к раствору валков посредством остановки привода толкателя, оставшаяся в валках часть предварительно уплотненного порошка на следующем цикле формования выполняет роль упругого элемента.
После подъема толкателя 4 в верхнее исходное положение установка готова к загрузке в бункер-контейнер 1 следующей порции порошка и повторению цикла формования.
Конструкция установки позволяет получать длинномерные брикеты из порошков труднодеформируемых материалов с равномерной плотностью, различной формой поперечного сечения циклически в условиях установившейся стадии процесса формования с минимальными отходами, дает возможность оперативно проводить профилактику оборудования, осуществлять ремонт и замену изнашиваемого инструмента, механизировать и автоматизировать основные операции – обеспечит высокую эффективность производства.
Формула изобретения
Установка для формования порошков труднодеформируемых материалов в длинномерные брикеты, включающая узел предварительного формования в виде бункера, оборудованного толкателем и шнековым питателем с шиберной заслонкой, и узел окончательного формования, оснащенный валками, отличающаяся тем, что узел окончательного формования снабжен съемными проводками с заданным профилем рабочей поверхности и выполнен с расположением осей валков в горизонтальной плоскости и с возможностью размещения в межвалковом пространстве упругого элемента с заданными физико-механическими характеристиками, валки выполнены холостыми или приводными с регулируемой частотой вращения, а поверхности валков образуют калибр, профиль которого соответствует форме поперечного сечения получаемого брикета, при этом бункер узла предварительного формования выполнен в виде контейнера для прессования с формой поперечного сечения внутренней полости, соответствующей профилю калибра, закреплен вертикально на станине узла окончательного формования и оборудован, по крайней мере, одним дополнительным шнековым питателем с шиберной заслонкой, а толкатель выполнен монолитным в виде пуансона для прессования.
РИСУНКИ
|