|
| На основании пункта 1 статьи 1366 части четвертой Гражданского кодекса Российской Федерации патентообладатель обязуется заключить договор об отчуждении патента на условиях, соответствующих установившейся практике, с любым гражданином Российской Федерации или российским юридическим лицом, кто первым изъявил такое желание и уведомил об этом патентообладателя и федеральный орган исполнительной власти по интеллектуальной собственности. |
|
(21), (22) Заявка: 2007118532/02, 18.05.2007
(24) Дата начала отсчета срока действия патента:
18.05.2007
(46) Опубликовано: 27.02.2009
(56) Список документов, цитированных в отчете о поиске:
SU 1780923 A1, 15.12.1992. RU 2179103 C2, 10.02.2002. SU 997984 A, 23.02.1983. JP 63-210204 A, 31.08.1988. GB 1483328 A, 17.08.1977.
Адрес для переписки:
105037, Москва, ул. 1-я Прядильная, 7, кв.38, А.Г. Сучкову
|
(72) Автор(ы):
Сучков Александр Георгиевич (RU)
(73) Патентообладатель(и):
Сучков Александр Георгиевич (RU)
|
(54) УСТРОЙСТВО ДЛЯ УЛЬТРАЗВУКОВОГО ФОРМОВАНИЯ ДЛИННОМЕРНЫХ ИЗДЕЛИЙ ИЗ ПОРОШКОВЫХ МАТЕРИАЛОВ
(57) Реферат:
Изобретение относится к области порошковой металлургии, а именно к устройствам для ультразвукового формования армированных длинномерных изделий из порошковых материалов, и может быть использовано в различных отраслях, например в машиностроении. Устройство включает коническую воронку, механизм протягивания ленты через воронку, механизм подачи армирующей проволоки в воронку и источник ультразвуковых колебаний, жестко соединенный с ведущим роликом. Коническая воронка выполнена с возможностью подачи в ее горловину порошка. Механизм подачи армирующей проволоки в воронку выполнен с возможностью формования из нее полой цилиндрической оболочки. Механизм подачи армирующей проволоки в воронку снабжен ведущим и ведомым роликами, выполненными с возможностью придания проволоке формы витой пружины. При этом боковая поверхность одного из роликов выполнена, по меньшей мере, с одним буртиком, а боковая поверхность второго ролика – по меньшей мере, с одним углублением. Буртики и углубления выполнены с возможностью совмещения друг с другом при вращении роликов. Технический результат – расширение технологических возможностей и увеличение сортамента изготавливаемых изделий. 1 з.п. ф-лы, 11 ил.
Изобретение относится к области порошковой металлургии и может быть использовано в различных отраслях народного хозяйства, например в машиностроении.
Известно устройство для формования длинномерных изделий из порошковых материалов, включающее средство формирования из ленты полой цилиндрической оболочки и механизм подачи в полость оболочки армирующего элемента в виде проволоки, который образован приводом и направляющими роликами [1].
Основной недостаток данного устройства заключается в том, что оно не обеспечивает высокой производительности процесса и позволяет изготавливать изделия с внешним диаметром, величина которого не превышает 15 миллиметров.
Известно также устройство для формования длинномерных изделий из порошковых материалов, включающее средство формирования из ленты полой цилиндрической оболочки и механизм подачи в полость оболочки армирующего элемента в виде проволоки. В этом устройстве, с целью повышения производительности процесса и расширения сортамента изготавливаемых изделий, механизм подачи проволоки снабжен взаимодействующими между собой источником ультразвуковых колебаний, ведомым и ведущим роликами, при вращении которых проволока приобретает форму пружины [2].
Однако и данное устройство, которое является наиболее близким к предлагаемому по технической сущности и принято в качестве прототипа, имеет существенный недостаток.
Этот недостаток взаимосвязан с технологическими возможностями устройства и заключается в том, что оно позволяет регулировать степень пропитки изготавливаемого изделия материалом армирующего элемента только за счет изменения диаметра используемой проволоки или за счет изменения расстояния между витками пружины. Вследствие этого же увеличение диаметра изготавливаемых изделий (например, с 30 мм до 50 мм), что является весьма актуальным, становится практически невозможным потому, что величина расстояния между витками пружины и, например, внутренней поверхностью оболочки возрастает и, следовательно, на этом участке изделия степень равномерности пропитки резко снижается.
Вследствие этого недостатка данное устройство имеет ограничения как в технологических возможностях, так и в сортаменте изготавливаемых изделий по диаметру.
Технической задачей, на решение которой направлено изобретение, является расширение технологических возможностей и увеличение сортамента изготавливаемых изделий.
Поставленная задача в устройстве для ультразвукового формования длинномерных изделий из порошковых материалов, включающем механизм подачи проволоки, снабженный ведущим и ведомым роликами, которые боковыми поверхностями взаимодействуют с проволокой и придают ей вид пружины, решается за счет того, что боковая поверхность одного из роликов выполнена, по меньшей мере, с одним буртиком, а боковая поверхность второго ролика – по меньшей мере, с одним углублением, которые при вращении роликов совмещаются между собой.
Решению поставленной задачи способствует также и то, что боковые поверхности роликов выполнены в виде шестеренчатой пары.
Изобретение поясняется чертежами:
на фиг.1 представлен вертикальный разрез устройства;
на фиг.2-4 представлено сечение по А-А на фиг.1 и показана последовательность формирования выступов;
на фиг.5-11 – представлены варианты выполнения выступов (для упрощения восприятия форм выступов витки пружины условно показаны прямолинейными).
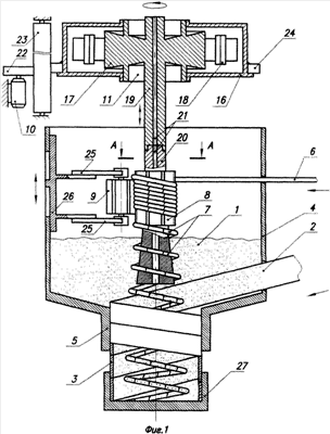
Предлагаемое устройство для ультразвукового формования длинномерных изделий из порошковых материалов 1 включает (см. фиг.1) средство формирования из ленты 2 полой цилиндрической оболочки 3, состоящее из конической воронки 4 и механизма (на чертежах на показан) протягивания ленты через горловину 5 воронки, т.е. через цилиндрическое отверстие, и механизм подачи в полость оболочки длинномерного армирующего элемента из проволоки 6, которой придают вид пружины 7.
Механизм подачи пружины образован соосно расположенными ведущим 8 и ведомым 9 роликами и приводом, состоящим из электродвигателя 10 и источника 11 ультразвуковых колебаний. Ведущий 8 и ведомый ролики 9, имеющие цилиндрическую форму, выполнены (см. фиг.2) соответственно с продольными углублениями 12 и с продольными буртиками 13, которые при вращении роликов совмещаются между собой и формируют (см. фиг.3) на витках пружины 7 треугольные выступы 14, отделенные один от другого равными между собой радиусными участками 15.
Источник ультразвуковых колебаний 11, расположенный в корпусе 16, образован трансформатором 17 направления колебаний, выполненным в виде диска и ультразвуковыми преобразователями 18, например пьезокерамическими. Излучающее звено 19 трансформатора направления колебаний жестко соединено с волноводом 20 ведущего ролика 8, которые представляют собой стержневой ультразвуковой инструмент, выполнены как единое целое и изготовлены из титанового сплава. Трансформатор 17 направления колебаний, его излучающее звено 19 и волновод 20, установленный по оси симметрии воронки 4 и непосредственно над ее горловиной 5, выполнены со сквозным осевым отверстием 21, предопределяющим возможность образования армирующего элемента двумя проволоками. Для реализации этой возможности устройство должно иметь второй механизм подачи данной проволоки. Источник 11 ультразвуковых колебаний, установленный с возможностью вращения вокруг своей продольной оси и возвратно-поступательного движения вдоль нее, и электродвигатель 10 взаимосвязаны между собой посредством шестеренок 22, 23 и 24.
Ведомый ролик 9, изготовленный, например, из текстолита, посредством стоек 25 и кронштейна 26 закреплен на воронке 4 и установлен с возможностью жесткой фиксации в рабочем положении (винты фиксации на чертежах не показаны) и перемещения в направлениях, перпендикулярном и параллельном по отношению к оси симметрии воронки.
Работа предлагаемого устройства, в случае образования армирующего элемента одной проволокой и придания ей вида пружины, осуществляется следующим образом.
Сначала производят подготовку устройства к работе. Для этого в горловину 5 (диаметр 50,5 мм) воронки 4 через прямоугольное отверстие (на фиг.1 позицией не обозначено), выполненное в боковой стенке воронки, вставляют тонкую металлическую ленту 2 (медь, ширина 20 мм, толщина 0,25 мм) и сворачивают ее по спирали, образуя первые витки цилиндрической оболочки 3 (внутренний диаметр 50 мм, перекрытие кромок 2 мм, угол подъема 60 градусов), которые вводят в горловину 5 воронки и пропускают через нее. Затем, подрезая конец ленты, выравнивают торец оболочки 3 и закрывают его крышкой 27. Потом ведомый 9 ролик (диаметр 34 мм, длина 30 мм) отводят в сторону от ведущего ролика 8 (диаметр 34 мм, длина 30 мм), излучающий торец волновода 20 (диаметр 14 мм, длина 115 мм) которого устанавливают на некотором, экспериментально определяемом, расстоянии (15 мм) от горловины 5 воронки 4. После этого в полость воронки через круглое отверстие, выполненное в ее стенке (на фиг.1 позицией не обозначено), вводят тонкую проволоку 6 (медь, диаметр 2 мм). При этом свободный конец проволоки (см. фиг.2) располагают между ведущим 8 и ведомым 9 роликами и рукой обжимают его по поверхности ведущего ролика. Затем ведомый ролик (см. фиг.3) посредством стоек 25 прижимают к ведущему ролику и жестко фиксируют его положение. В результате такого перемещения буртик 13 (высота 8 мм) ведомого ролика 9 вдавливает проволоку 6 в углубление 12 (глубина 8 мм) ведущего ролика 8 и образует на ней первый выступ 14 будущей пружины (внутренний диаметр радиусных участков 34 мм, шаг витков 6 мм). После этого на некоторое время, необходимое для того чтобы пружина 7 своим концом соприкоснулась с дном крышки 27, включают электродвигатель 10. Вследствие этого вращения на ведущем ролике 8 (см. фиг.4) образуются первые витки пружины 7, оснащенные соответствующими выступами 14, которые обращены в одну сторону, выполнены с одинаковыми формой и размерами, ориентированы в плоскости, перпендикулярной к продольной оси оболочки, отделены один от другого радиусными участками 15 и имеют высоту, превышающую диаметр проволоки 6. Затем полость воронки 4 заполняют необходимым и заранее рассчитанным количеством порошка 1 (2 кг), чем и заканчивается подготовка устройства к работе.
Для последующего осуществления процесса формования длинномерной заготовки сначала включают ультразвуковой генератор (на чертежах не показан), к которому подсоединены ультразвуковые преобразователи 18 (частота 19 кГц), а затем электродвигатель 10 и механизм протягивания ленты 2 через горловину 5 воронки 4. В результате этого лента 2 сворачивается по спирали и образует оболочку 3 (вращение 30 об/мин, поступательное движение 0,85 см/сек), заполненную порошком 1, который при входе в оболочку подвергается воздействию ультразвуковых колебаний (амплитуда 10 мкм), совершаемых торцом волновода 20 ведущего ролика 8. В оболочке же порошок уплотняется за счет колебаний пружины 7, совершаемых ею (при ее вращательном 30 об/мин и поступательном 0,85 см/сек движениях) с ультразвуковой частотой, возбуждаемых в ней вследствие ее контакта с боковой поверхностью ведущего ролика 8, являющегося ультразвуковым инструментом.
При окончании процесса формования заготовки необходимой длины (100 мм), о чем можно судить, например, по полному истечению порошка 1 из воронки 4, выключают ультразвуковой генератор и механизмы подачи ленты 2 и проволоки 6. После этого оболочку 3 и пружину 7 на участке, расположенном под горловиной 5 воронки 4, разрезают и на торец оболочки, выступающий из горловины воронки, устанавливают новую крышку 27. Затем в воронку 4 засыпают новую порцию порошка и начинают формовать очередную заготовку.
Полученную же заготовку, снабдив ее предварительно крышкой (соответствующей по форме и размерам крышке 27), сначала нагревают (850 градусов) и обжимают в радиальном направлении (6 т/см), а затем подвергают термической обработке (1250 градусов, вакуум), в результате чего получают готовое изделие или же полуфабрикат (пористость 12-14%, степень заполнения пор 10-8), поступающий на последующую обработку.
При изготовлении предлагаемого устройства необходимо учитывать, что степень и равномерность пропитки порошка материалом армирующего элемента, равно как и диаметр получаемых изделий, определяются (см. фиг.5-11) размером, формой, количеством, ориентацией и расположением выступов 14, которые являются следствием совместного взаимодействия проволоки 6, углублений 12 и буртиков 13, соответственно ведущего 8 и ведомого 9 роликов и могут быть самыми разнообразными и выбираются, исходя из требований, предъявляемых к готовым изделиям.
Углубления 12 и буртики 13, представляющие собой шестеренчатую пару, могут иметь самые разнообразные формы и габаритные размеры, и любые варианты их расположения, но при этом они обязательно должны обеспечивать выступам 14 некоторую высоту, которая в своем минимальном значении должна быть больше диаметра используемой проволоки. Оптимальным же представляется такой случай, когда высота выступа на витках пружины в несколько раз превышает диаметр используемой проволоки.
Сопоставительный анализ известного и предлагаемого устройств для ультразвукового формирования длинномерных изделий из порошковых материалов показывает существенные преимущества последнего из них. Так, например, оно позволяет значительно увеличить диаметр изготавливаемых изделий (более чем на 60%) и предоставляет возможность целенаправленного регулирования степенью пропитки изделия материалом армирующего элемента. Это обеспечивается за счет того, что ведущий и ведомый ролики привода механизма подачи пружины выполнены с продольными соответственно углублениями и буртиками, которые при вращении роликов совмещаются между собой и формируют на витках пружины выступы, варьирование высотой которых, формой и вариантом расположения и позволяет регулировать количество материала, вводимого на определенном участке изделия.
Источники информации
1. Авторское свидетельство СССР №997984, МПК В22F 3/02, 1981.
2. Авторское свидетельство СССР №1780923, МПК В22F 3/02, 1992.
Формула изобретения
1. Устройство для ультразвукового формования армированных длинномерных изделий из порошковых материалов, включающее коническую воронку, выполненную с возможностью подачи в ее горловину порошка, механизм протягивания ленты через воронку, выполненный с возможностью формования из нее полой цилиндрической оболочки, механизм подачи армирующей проволоки в воронку, снабженный ведущим и ведомым роликами, выполненными с возможностью придания проволоке формы витой пружины, и источник ультразвуковых колебаний, жестко соединенный с ведущим роликом, отличающееся тем, что боковая поверхность одного из роликов выполнена, по меньшей мере, с одним буртиком, а боковая поверхность второго ролика – по меньшей мере, с одним углублением, при этом буртики и углубления выполнены с возможностью совмещения друг с другом при вращении роликов.
2. Устройство по п.1, отличающееся тем, что боковые поверхности роликов выполнены в виде шестеренчатой пары.
РИСУНКИ
|
|