|
|
(21), (22) Заявка: 2007124051/12, 26.06.2007
(24) Дата начала отсчета срока действия патента:
26.06.2007
(46) Опубликовано: 27.02.2009
(56) Список документов, цитированных в отчете о поиске:
US 3445157 А, 20.05.1969. US 3004472 А, 17.10.1961. GB 1444443 А, 28.07.1976. US 3610738 А, 05.10.1971. RU 1278762 А, 23.12.1986. SU 987556 А, 07.01.1983. US 6317229 В1, 13.11.2001. JP 10-165273 А, 23.06.1998. RU 2106002 C1, 27.02.1998.
Адрес для переписки:
398032, г.Липецк, ул. Космонавтов, 29, кв.2, В.П. Тигрову
|
(72) Автор(ы):
Тигров Вячеслав Петрович (RU), Федоров Юрий Николаевич (RU), Тигров Вячеслав Вячеславович (RU), Шипилова Татьяна Николаевна (RU), Кузьмина Ксения Владимировна (RU), Карташова Татьяна Владимировна (RU)
(73) Патентообладатель(и):
Тигров Вячеслав Петрович (RU), Федоров Юрий Николаевич (RU)
|
(54) ИГРУШКА “КРИВОЕ ЗЕРКАЛО”
(57) Реферат:
Изобретение относится к детским игрушкам и может быть использовано в развлекательных целях. Игрушка содержит корпус-основание, выполненный в виде ящика, с лицевой стороны которого прикреплена наклеенная на ткань эластичная светоотражающая пленка. В корпусе расположены валы с прочно насаженными эксцентриками, контактирующими большей своей частью с тканью и деформирующими светоотражающую пленку для искажения отражения пользователя. Игрушка расширяет функциональные возможности зеркал. 2 ил.
Изобретение относится к детским игрушкам и может быть использовано в развлекательных целях и для поднятия настроения.
Известно оптическое зеркало, содержащее основание, соединенное со специальным слоем, имеющим отражающую поверхность.
Недостатками известного оптического зеркала являются низкие функциональные свойства (невозможно использовать в качестве развлекающей игрушки для поднятия настроения).
Задача, на которую направлено предлагаемое решение, – повышение функциональных свойств.
Вышеупомянутый недостаток исключается тем, что игрушка-зеркало содержит прямоугольный корпус в виде ящика, на лицевую сторону которого натянута наклеенная на ткань эластичная светоотражающая пленка, а внутри корпуса расположены валы с размещенными на них эксцентриками, при этом концы валов выходят из корпуса и снабжены ручками, вращение которых заставляет вращаться эксцентрики вокруг своей оси, расположенные на ней так, что они контактируют большей своей частью с тканью, поднимая ее и деформируя при этом светоотражающую пленку, причудливо искажая отражение пользователя.
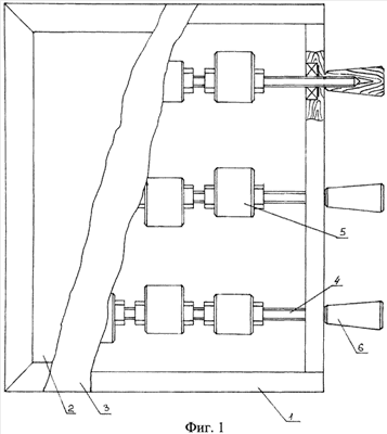
На фиг.1 изображено устройство, общий вид сверху.
На фиг.2 – положение эксцентрика в контакте с тканью.
Корпус 1 выполнен в виде ящика, на который с лицевой стороны прикреплена наклеенная на ткань 3 эластичная светоотражающая пленка 2, а в корпусе расположены валы 4, на которые прочно насажены эксцентрики 5, концы валов выходят за пределы корпуса и снабжены ручками 6.
Принцип действия игрушки-зеркала следующий: пользователь вращает ручки 6, приводя во вращательное движение эксцентрики 5, которые большей своей частью поднимают ткань 3, деформируя светоотражающую эластичную пленку 2, при этом отражение пользователя причудливо искажается.
Данная конструкция игрушки «Кривое зеркало» обеспечит поднятие настроения пользователя.
Формула изобретения
Игрушка, содержащая корпус-основание и отражающую поверхность, отличающаяся тем, что корпус-основание выполнен в виде ящика, на который с лицевой стороны прикреплена наклеенная на ткань эластичная светоотражающая пленка, а в корпусе расположены валы с прочно насаженными эксцентриками, а снаружи корпуса концы валов снабжены ручками, вращение которых приводит во вращение эксцентрики, контактирующие большей своей частью с тканью, и деформирующие светоотражающую пленку, причудливо искажая при этом отражение пользователя.
РИСУНКИ
|
|