|
|
(21), (22) Заявка: 2007119312/12, 24.05.2007
(24) Дата начала отсчета срока действия патента:
24.05.2007
(46) Опубликовано: 27.02.2009
(56) Список документов, цитированных в отчете о поиске:
RU 21335 U1, 20.01.2002. EP 0593388 A1, 20.04.1994. SU 808596 A, 28.02.1981. WO 9205728 A1, 16.04.1992. DE 3233569 A1, 15.03.1984. FR 2643244 A1, 24.08.1990.
Адрес для переписки:
170023, г.Тверь, а/я 2365, Л.В. Ратовой
|
(72) Автор(ы):
Аббасов Анатолий Алмазович (RU)
(73) Патентообладатель(и):
Аббасов Анатолий Алмазович (RU)
|
(54) ПОДЪЕМНАЯ КРОВАТЬ
(57) Реферат:
Изобретение относится к изделиям легкой промышленности, а именно к предметам мебели, в частности к кроватям, которые могут быть использованы как в домашних условиях, так и в гостиницах, и направлено на увеличение высвобождаемой площади помещения после перемещения каркаса в нерабочее положение и удобство при эксплуатации. Подъемная кровать содержит каркас с матрасом и механизм перемещения каркаса, направляющие элементы и противовес. Механизм перемещения выполнен с возможностью вертикального возвратно-поступательного перемещения и содержит гибкие связи, соединяющие каркас с противовесом. Направляющие элементы взаимодействуют с гибкими связями. Гибкие связи объединены в одну замкнутую гибкую связь, включающую три пары вертикальных участков, расположенных на траектории перемещения трех углов каркаса, и две пары горизонтальных участков, параллельных смежным сторонам каркаса и расположенных на одном уровне. Каркас по углам жестко соединен с вертикальными участками гибкой связи. Направляющие элементы содержат три пары канатных блоков с горизонтальными осями вращения, расположенными под тремя углами каркаса, три канатных блока с горизонтальными осями вращения, расположенными над тремя углами каркаса, и один канатный блок с вертикальной осью вращения. Противовес жестко закреплен на двух смежных вертикальных участках гибкой связи с возможностью перемещения в направлении, противоположном направлению перемещения каркаса. 1 з.п. ф-лы, 8 ил.
Изобретение относится к изделиям легкой промышленности, а именно к предметам мебели, в частности к кроватям, которые могут быть использованы как в домашних условиях, так и в гостиницах, особенно в помещениях, где имеется дефицит свободной площади.
Известна откидная пристенная кровать (SU, 1837832, кл. А47С 17/40, 1993), включающая раму с матрацем, крепящуюся посредством шарниров, закрепленных на углах рамы, примыкающих к пристенной стороне рамы, на паре шарниров. К этим же кронштейнам шарнирно крепятся тяги, противоположные концы которых также шарнирно и симметрично крепятся к боковым сторонам рамы, образуя ось вращения рамы, параллельную пристенной ее стороне.
Однако данная конструкция кровати недостаточно компактна из-за того, что в убранном состоянии она занимает значительное место на полу, равное, как минимум, высоте кровати в рабочем положении.
Известна также откидная пристенная кровать (RU, 2171087, кл. А47С 17/40, 27.07.2001), содержащая раму в виде прямоугольной пристенной конструкции, на которой располагается постель с матрацем. К стене прикреплен кронштейн, к которому шарнирно закреплена тяга, также шарнирно закрепленная к боковой стороне рамы. К стене прикреплена стойка, по боковой поверхности которой перекатывается роликовая опора. После того как роликовая опора достигает верха стойки, она перекатывается на верхнюю торцевую поверхность стойки и занимает рабочее положение. При этом у дальней от стены стороны рамы откидываются опорные ножки, а пристенная сторона рамы плотно входит между клиновидными упорами, выполняющими функцию фиксаторов крайнего положения каркаса.
Однако и эта пристенная кровать в собранном состоянии не достаточно компактна, а ее конструкция – сложна.
Известна подъемная кровать (RU, 2138976, кл. А47С 17/38, А47С 17/52, 1999 г.), содержащая каркас с матрасом и устройство трансформации каркаса, который выполнен в виде узла поворота каркаса с противовесом. Кроме того, кровать снабжена Г-образной подвижной задней спинкой с возможностью ее перемещения по вертикальным направляющим, размещенным на боковых панелях.
Все приведенные конструкции подъемных кроватей трансформируются в вертикальное положение, занимая в собранном состоянии место, по крайней мере, равное высоте каркаса с матрацем, преимущественно 600 мм, что соответствует стандартной конструкции глубины платяного шкафа, т.е. известные конструкции некомпактны и достаточно трудоемки при трансформации.
В качестве прототипа выбрано изобретение – кровать (RU 21335, кл. А46С 17/38, 20.01.2002), содержащая основание, которое поддерживается по одной своей кромке вертикальной рамной конструкции и может быть опущено вниз в положение пользования и поднято вверх вдоль одной из сторон рамной конструкции в положение хранения, сохраняя при этом по существу горизонтальное положение. На противоположной стороне рамной конструкции установлен другой элемент мебели, объединенный с рабочим механизмом кровати и перемещающийся в противоположном направлении относительно кровати, как противовес. Другой элемент мебели, в противоположность кровати, предназначен для пользования им в дневное время. Рамная конструкция служит опорой для основания кровати, оказывая сопротивление опрокидывающему воздействию рамной конструкции, когда основание находится в положении хранения. Рамная конструкция включает в себя, по меньшей мере, один элемент, имеющий трапециевидную конфигурацию в поперечном сечении по глубине этой рамной конструкции. В состав конструкции также входит механизм, предназначенный для облегчения перемещения основания, например, в виде противовеса, связанного с соответствующей системой гибкими связями и шкивами.
Основным недостатком известной кровати является громоздкость ее конструкции, занимающей достаточно большое место в помещении. Кроме того, для ее уравновешивания с противоположной стороны рамной конструкции предполагается установка другого предмета или элемента мебели, что не всегда приемлемо. Необходимость уравновешивания кровати с противоположной стороны рамной конструкции другим элементом мебели сказывается на ее недостаточной устойчивости и надежности при эксплуатации.
Задачей изобретения является повышение надежности и удобства при ее эксплуатации.
Техническим результатом изобретения является повышение устойчивости во время спуска, подъема кровати.
Поставленная задача и указанный технический результат достигается тем, что в подъемной кровати, содержащей каркас с матрасом и механизмом перемещения каркаса, выполненным с возможностью вертикального возвратно-поступательного перемещения и содержащим гибкие связи, соединяющие каркас с противовесом, направляющие элементы, взаимодействующие с гибкими связями, согласно изобретению гибкие связи объединены в одну гибкую связь, включающую три пары вертикальных участков, расположенных на траектории перемещения трех углов каркаса, и две пары горизонтальных участков, параллельных смежным сторонам каркаса и расположенных на одном уровне, каркас по углам жестко соединен с вертикальными участками гибкой связи, а направляющие элементы содержат три пары канатных блоков с горизонтальными осями вращения, расположенными над тремя углами каркаса, и один канатный блок с вертикальной осью вращения, а противовес жестко закреплен на двух смежных вертикальных участках гибкой связи с возможностью перемещения в направлении, противоположном направлению перемещения каркаса. При этом горизонтальные участки гибких связей расположены на уровне пола и потолка. Предлагаемое устройство позволяет легко осуществлять вертикальное возвратно-поступательное перемещение каркаса, полностью освобождая при его верхнем положении участок пола, занимаемого им в нижнем положении, за счет конструкции механизма перемещения каркаса, содержащего трособлочную систему, являющейся компактной и не занимающей много места. Расположение элементов трособлочной системы на потолке и на полу непосредственно у стен обеспечивает максимальное освобождение пространства помещения в результате подъема кровати к потолку. В обоих конечных положениях каркас стопорится фиксаторами, конструкция которых может быть различной. Фиксаторы обеспечат безопасность конструкции при эксплуатации.
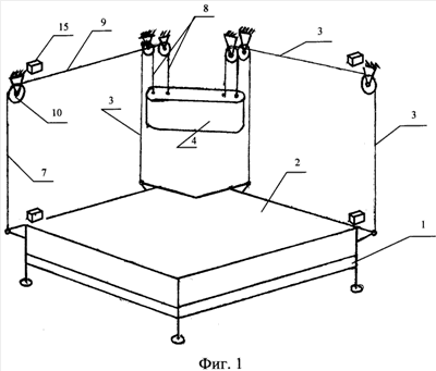
Изобретение поясняется чертежами, где на фиг.1 – подъемная кровать, расположенная на полу; на фиг.2 – кровать с вертикальными направляющими; на фиг.3 – подъемная кровать с устройством компенсации веса в виде лебедки с ручным приводом; на фиг.4 – подъемная кровать с устройством компенсации веса в виде лебедки с электромеханическим приводом; на фиг.5 – подъемная кровать, содержащая две замкнутые трособлочные системы с горизонтальными напольными участками гибких связей; на фиг.6 – подъемная кровать, содержащая две замкнутые трособлочные системы с горизонтальными потолочными участками гибких связей; на фиг.7 – подъемная кровать с одной трособлочной системой с горизонтальными напольными участками гибких связей; на фиг.8 – подъемная кровать с одной трособлочной системой с горизонтальными потолочными участками гибких связей.
Подъемная возвратно-поступательно перемещающаяся кровать содержит каркас 1 с матрасом 2, закрепленный на гибких связях 3, соединенных с устройством 4 компенсации веса каркаса 1 с матрасом 2, которое может быть выполнено в виде противовеса (фиг.1, 2, 5, 6, 7, 8), или в виде лебедки с ручным приводом 5 (фиг.3), или в виде лебедки с электромеханическим приводом 6 (фиг.4). Гибкие связи 3 содержат вертикальные участки 7, на которые крепится каркас 1, вертикальные участки 8, с которыми взаимодействует устройство 4 компенсации веса, а также горизонтальные участки 9. Гибкие связи 3 взаимодействуют с потолочными направляющими элементами 10 (фиг.1-8), с напольными направляющими элементами 11 (фиг.5-8) и с направляющим элементом 12 с вертикальной осью вращения (фиг.7, 8). В одном из конструктивных исполнений кровать может содержать неподвижные вертикальные направляющие 13, взаимодействующие с роликами 14, закрепленными на каркасе 1 (фиг.2). Кровать содержит фиксаторы 15 крайних положений каркаса 1 (фиг.1-8). В качестве гибких связей 3 могут быть использованы канаты или приводные цепи, а в качестве направляющих элементов – канатные блоки или звездочки соответственно.
Работа подъемной кровати поясняется на фиг.1, 2, 5, 6, 7, 8.
Для подъема каркаса 1 из нижнего положения в верхнее необходимо перевести фиксаторы 15 каркаса 1 в положение «свободно» и, придерживая каркас 1, позволить ему занять верхнее положение «под потолком», в которое каркас 1 переместится, благодаря противовесу 4, связанному с каркасом 1 посредством гибкой связи 3. На вертикальных участках 7 гибких связей 3, перемещающихся при этом вверх, закреплен каркас 1, а на двух из трех вертикальных участках 8 гибкой связи 3, перемещающихся вниз, закреплен противовес 4. В верхнем положении каркас 1 стопорится фиксаторами 15. Для перемещения каркаса 1 в нижнее положение «на полу» необходимо перевести фиксаторы 15 в положение «свободно» и прикладывать к каркасу 1 направленное вниз усилие, превышающее разницу весов противовеса 4 и каркаса 1 с матрасом 2 и постельными принадлежностями и силы трения механизма до достижения каркасом 1 крайнего нижнего положения. В нижнем положении каркас 1 фиксируется во избежание его возвращения в верхнее положение.
Перевод кровати в верхнее положение с помощью лебедки 5 с ручным приводом и электромеханическим приводом 6 осуществляется аналогичным образом.
Поднятие кровати вертикально вверх, к потолку, обеспечивает полное освобождение места после использования кровати, расширяя полезную площадь помещения. При этом кровать легко может быть возвращена обратно на пол. Простота и удобство подъемной кровати подтвердились опытным образцом.
Формула изобретения
1. Подъемная кровать, содержащая каркас с матрасом и механизм перемещения каркаса, выполненный с возможностью вертикального возвратно-поступательного перемещения и содержащий гибкие связи, соединяющие каркас с противовесом, направляющие элементы, взаимодействующие с гибкими связями, отличающаяся тем, что гибкие связи объединены в одну гибкую связь, включающую три пары вертикальных участков, расположенных на траектории перемещения трех углов каркаса, и две пары горизонтальных участков, параллельных смежным сторонам каркаса и расположенных на одном уровне, каркас по углам жестко соединен с вертикальными участками гибкой связи, а направляющие элементы содержат три пары канатных блоков с горизонтальными осями вращения, расположенными над тремя углами каркаса, и один канатный блок с вертикальной осью вращения, а противовес жестко закреплен на двух смежных вертикальных участках гибкой связи с возможностью перемещения в направлении, противоположном направлению перемещения каркаса.
2. Подъемная кровать по п.1, отличающаяся тем, что горизонтальные участки гибких связей расположены на уровне пола.
РИСУНКИ
|
|