|
|
(21), (22) Заявка: 2007109245/12, 14.03.2007
(24) Дата начала отсчета срока действия патента:
14.03.2007
(43) Дата публикации заявки: 20.09.2008
(46) Опубликовано: 27.02.2009
(56) Список документов, цитированных в отчете о поиске:
BY 259 U, 30.03.2001. US 2743734 А, 01.05.1956. FR 802857 А, 17.09.1936. US 5927310 А, 27.07.1999. US 4144900 A, 20.03.1979.
Адрес для переписки:
220015, Республика Беларусь, г.Минск, Я. Мавра, 44-53, В.А. Хлебцевичу
|
(72) Автор(ы):
Савицкий Анатолий Васильевич (BY)
(73) Патентообладатель(и):
Савицкий Анатолий Васильевич (BY)
|
(54) СКЛАДНОЙ НАВЕС
(57) Реферат:
Складной навес содержит, по меньшей мере, два зонта, имеющих общий тент со средством для его крепления к каркасу. Последнее состоит из шарнирно связанных между собой складным рычажно-распорным элементом с рукоятью, двух опорных стержней, движки которых шарнирно соединены с несущими и распорными спицами. Распорные спицы одним шарниром присоединены к опорным стержням, а другим шарниром – к несущим спицам. Шарнирное плечо несущих спиц кинематически связано с соответствующим движком, а противоположное плечо – с тентом. Движок выполнен в виде плавающей втулки – фиксатора положения несущей спицы. Изобретение обеспечивает повышение надежности в работе и удобство в обслуживании. 4 з.п. ф-лы, 4 ил.
Изобретение относится к наземным сооружениям, преимущественно к конструкции складных навесов с опорными стержнями, и может быть использовано в быту предприятиями торговли и туризма для мобильных или передвижных торговых мест, уличных кафе, мест отдыха для защиты от солнечных лучей и непогоды.
Известен зонтичный навес, содержащий два или три зонта, который имеет параллельные опорные стержни, скрепленные друг с другом поперечными элементами. Зонтичный навес имеет размещенное на каркасе и выполненное за одно целое тентовое покрытие. Каждый опорный стержень снабжен движком, размещенным с возможностью перемещения и воздействия на каркас при раскрытии и закрытии зонтов [1].
Недостаток навеса проявляется в низкой комфортабельности его обслуживания в связи с тем, что для сборки и разборки его требуется специальный инструмент.
Наиболее близкой по технической сущности к заявленному изобретению является принятая в качестве прототипа конструкция складного навеса, содержащая, по меньшей мере, два зонта, имеющих тент и каркас, состоящий из шарнирно-связанных между собой складным рычажно-распорным элементом с рукоятью двух опорных стержней, движки которых шарнирно соединены с несущими и распорными спицами [2].
Недостаток навеса проявляется в низкой комфортабельности его обслуживания при воздействии на тент запредельных ветровых и снежных нагрузок в связи с необходимостью в ручном режиме приводить в действие механизм закрытия навеса со штифтовым механизмом фиксации зонта для исключения поломок зонта, что неудобно и нетехнологично, так как штифтовой стопор со временем теряет надежность работы. При отсутствии по какой-либо причине обслуживающего зонт лица в момент, например, воздействия на тент запредельных ветровых нагрузок неизбежна поломка зонта.
Кроме того, у навеса, недостаточное качество натяжения тента, который со временем теряет свою упругость и повышенный вес несущих спиц.
В основу изобретения поставлена задача повышения надежности работы механизмов навеса и улучшения его служебных качеств путем повышения комфортабельности обслуживания за счет повышения качества натяжения тента и снижения веса путем уменьшения металлоемкости несущих спиц, а также повышения качества расфиксации навеса в автоматическом режиме без поломок при воздействии на тент запредельных ветровых и снежных нагрузок, самофиксации навеса при раскрытии.
Поставленная задача достигается тем, что в складном навесе, содержащем, по меньшей мере, два зонта, имеющих тент со средством для его крепления к каркасу, состоящему из шарнирно связанных между собой складным рычажно-распорным элементом с рукоятью, двух опорных стержней, движки которых шарнирно соединены с распорными спицами и несущими спицами, согласно изобретению распорные спицы одним шарниром присоединены к опорным стержням, а другим шарниром – к несущим спицам, шарнирное плечо которых кинематически связано с соответствующим движком, а противоположное плечо – с тентом, при этом движок выполнен в виде плавающей втулки – фиксатора положения несущей спицы.
Конструктивно, чтобы несущая спица была бы снабжена наконечником, выполненным в виде трубчатого элемента с размещенной внутри него пружиной сжатия, при этом один конец наконечника снабжен направляющей для несущей спицы, а на другом конце наконечника размещена верхушка для тента и фиксирующая заглушка с кольцевым фиксатором.
Технологично, чтобы складной рычажно-распорный элемент был бы выполнен в виде двух разноплечих рычагов, кинематически связанных между собой внахлест посредством шарнирно-замкового узла, при этом длинный рычаг образует с горизонтальной осью навеса угол 0,5-5,0°, а короткий рычаг образует с горизонтальной осью навеса угол 0,8-7,0°.
Возможно чтобы движок был бы снабжен цанговым фиксатором рабочего и транспортного положения навеса.
В одном из конструктивов в складном навесе средство для крепления тента к каркасу выполнено в виде трубчатого грибка с кольцевым фиксатором и заглушкой.
Технический результат заявленного объекта проявляется в улучшении служебных качеств складного навеса за счет самофиксации навеса при его раскрытии и возможности расфиксации навеса в автоматическом режиме при воздействии на тент запредельных нагрузок. Преимущество унифицированных соединительных узлов в виде цанговых фиксаторов, используемых при конструировании навеса, и их ориентированное расположение как способа создания надежной схемы кинематики работы навеса характеризует причинно-следственную связь между отличительными признаками навеса и техническим результатом, которая и содержит элементы изобретательского уровня для данной области техники.
Изобретательский уровень придает объекту новое качество, заключающееся в высокой культуре обслуживания навеса и обуславливает его технологичность при промышленном использовании.
По сведениям, которыми располагает заявитель, предлагаемая совокупность существенных признаков, характеризующих сущность изобретения, не известна из уровня техники, следовательно, изобретение соответствует критерию «новизна».
Предлагаемая сущность изобретения может быть многократно практически использована в любой области техники.
В этой связи очевидным является соответствие заявленного объекта критерию «промышленная применимость».
Для лучшего понимания изобретение поясняется чертежом, где
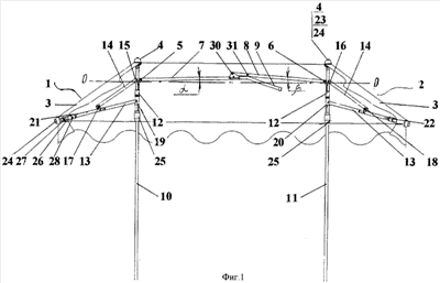
Фиг.1 – общий вид навеса в раскрытом положении;
Фиг.2 – вид навеса сбоку;
Фиг.3 – общий вид навеса в закрытом положении;
Фиг.4 – фрагмент конструктива наконечника.
Складной навес содержит, по меньшей мере, два зонта 1, 2, имеющих общий тент 3 со средством 4 для его крепления к каркасу. Зонты 1, 2 состоят из связанных посредством шарниров 5, 6 между собой складным рычажно-распорным элементом 7, 8 с рукоятью 9, двух опорных стержней 10, 11, движки 12 которых шарнирно соединены с несущими спицами 13 и распорными спицами 14. Распорные спицы 14 одним неподвижным шарниром 15, 16 присоединены к опорным стержням 10, 11, а другим шарниром 17, 18 – к несущим спицам 13, шарнирное плечо 19, 20 которых кинематически связано с соответствующим движком 12, а противоположное плечо 21, 22 – с тентом 3, при этом движок 12 выполнен в виде плавающей втулки – фиксатора положения несущей спицы 13, 14.
Для оперативного и гарантированного крепления тента 3 к каркасу в складном навесе средство 4 для крепления тента 3 к каркасу может быть выполнено в виде трубчатого грибка 23 – верхушки, сопряженной с заглушкой 24 кольцевым фиксатором (на фиг.1-3 условно не показаны).
Для фиксирования рабочего и сложенного положения навеса движок 12 может быть снабжен цанговым фиксатором 25.
Несущая спица 13 может бы снабжена наконечником, выполненным в виде трубчатого элемента 26 с размещенной внутри него пружиной 27 сжатия, при этом один конец трубчатого элемента 26 снабжен направляющей 28 для несущей спицы 13, а на другом конце трубчатого элемента 26 размещена верхушка 29 для тента 3 и унифицированная фиксирующая заглушка 24 с кольцевым фиксатором.
Технологично, чтобы складной рычажно-распорный элемент был бы выполнен в виде двух разноплечих рычагов 7, 8, кинематически связанных между собой в вертикальной плоскости внахлест посредством горизонтального шарнирно-замкового узла, при этом длинный рычаг 7 образует с горизонтальной осью О-О навеса угол =0,5-5,0°, а короткий рычаг образует с горизонтальной осью навеса угол =0,8-7,0°.
Горизонтальный шарнирно-замковый узел выполнен в виде горизонтального шарнира 30, который расположен перед сгибом рукояти 9, и ловителя-фиксатора 31, который расположен на сгибе рукояти 9.
Установку складного навеса осуществляют путем фиксации двух опорных стержней 10, 11 в совместимых стационарных опорах мобильных торговых мест, в опорах садовых скамеек, изотермических контейнеров, в опорах передвижных тележек, в опорах столов и в специальных опорах другого оборудования для торговли и отдыха. При этом одновременно раскрывают полукупола зонтов 1, 2, имеющих общий тент 3, путем воздействия на каркас движками 12 при их перемещении вверх по опорным стержням 10, 11. Движки 12 через шарнирно соединенные с ними несущие спицы 13 и распорные спицы 14 воздействуют на полукупола зонтов 1,2 и раскрывают тент 3 по фиг.1, 2.
Одновременно выталкивают вверх рукоятью 9 разноплечие рычаги 7, 8 до упора над горизонтальной осью О-О. При этом длинный рычаг 7 образует с горизонтальной осью О-О навеса угол =0,5-5,0°, а короткий рычаг образует с горизонтальной осью навеса угол =0,8-7,0°. Оптимальная величина углов и задана конструктивом шарнирно-замкового узла таким образом, чтобы при пересечении положения силового равновесия горизонтальным шарниром 30 достигалось гарантированное натяжение тента 3 в зоне между опорными стержнями 10, 11.
Для гарантированного натяжения полукуполов зонтов 1, 2 несущая спица 13 снабжена наконечником, трубчатый элемент 26 которого под воздействием пружины 27 сжатия создает усилие натяжения тента 3 путем перемещения его направляющей 28 вдоль несущей спицы 13, при этом верхушка 29 для тента 3 снабжена унифицированной заглушкой 24 с кольцевым фиксатором 32 по фиг.4.
При необходимости для фиксирования рабочего и сложенного положения навеса движок 12 может быть снабжен цанговым фиксатором 25.
Закрытие зонта осуществляют извлечением опорных стержней 10, 11 из стационарных опор и путем воздействия вниз на рукоять 9 и перемещения вниз движков 12 вдоль опорных стержней 10, 11 до складывания каркаса и тента 3 складного навеса до положения складирования по фиг.3.
Как показали сравнительные испытания с прототипом, новая конструкция складного навеса технологична и обладает повышенной надежностью работы, которая проявляется в улучшении служебных качеств складного навеса за счет самофиксации усилия натяжения тента при раскрытии навеса вне зависимости от потери устойчивости материала тента при эксплуатации его в климатике: жара-мороз, снег-дождь. При воздействии на тент запредельных нагрузок наблюдаются возможности расфиксации навеса в автоматическом режиме за счет срабатывания пружины 27 сжатия трубчатого элемента 26.
Для исключения расфиксации навеса, например, при укрытии под ним людей, очутившихся в экстремальных погодных условиях, движок 12 стопорят цанговым фиксатором 25.
Для фиксирования сложенного положения навеса движок 12 также может стопориться цанговым фиксатором 25.
Использование унифицированных соединительных узлов в виде цанговых фиксаторов и заглушек при конструировании складного зонтичного навеса и их ориентированное расположение реализуют способ создания надежной схемы силовой кинематики работы навеса.
Шарнирное соединение несущих спиц с движком обеспечивает снижение веса за счет уменьшения металлоемкости несущих спиц.
Новый конструктив складного зонтичного навеса за счет применения унифицированных соединительных узлов в виде движков 12 с цанговыми фиксаторами 25, которые могут выполнять функцию средства для совместимости опорных стержней навеса как со стационарными опорами в виде, например, по меньшей мере, пары Т-образных подошв, так и с наземными или транспортными сооружениями.
Складной зонтичный навес может быть использован как для наземных сооружений, преимущественно, предприятиями торговли и туризма для мобильных или передвижных торговых мест, уличных кафе, рекламных стеллажей, складных или стационарных столов, мест отдыха для защиты их от солнечных лучей и непогоды, так может быть использован в быту или на транспортных сухопутных или водных средствах.
Промышленное освоение навеса готовится на территории СНГ и стран Запада.
Источники информации
1. Прайс-лист фирмы LAMBER GmbH POSTFACH? C.4 1231 / Gutenbergstr.9, D 730504 Eislingen, DE.
2. BY259U, публ. 30.03.01 по з-ке 20000133 (20/09/2000).
БИ № 23 от 20.08.01 «Складной зонтичный навес», Савицкий А.В.
Формула изобретения
1. Складной навес, содержащий, по меньшей мере, два зонта, имеющих тент со средством для его крепления к каркасу, состоящему из шарнирно связанных между собой складным рычажно-распорным элементом с рукоятью, двух опорных стержней, движки которых шарнирно соединены с распорными спицами и несущими спицами, отличающийся тем, что распорные спицы одним шарниром присоединены к опорным стержням, а другим шарниром – к несущим спицам, шарнирное плечо которых кинематически связано с соответствующим движком, а противоположное плечо – с тентом, при этом движок выполнен в виде плавающей втулки – фиксатора положения несущей спицы.
2. Складной навес по п.1, отличающийся тем, что несущая спица снабжена наконечником, выполненным в виде трубчатого элемента с размещенной внутри него пружиной сжатия, при этом один конец наконечника снабжен направляющей для несущей спицы, а на другом конце наконечника размещена верхушка для тента и фиксирующая заглушка с кольцевым фиксатором.
3. Складной навес по п.1, отличающийся тем, что складной рычажно-распорный элемент выполнен в виде двух разноплечих рычагов, кинематически связанных между собой внахлест посредством шарнирно-замкового узла, при этом длинный рычаг образует с горизонтальной осью навеса угол 0,5…3,0°, а короткий рычаг образует с горизонтальной осью навеса угол 0,8…4,0°.
4. Складной навес по п.1, отличающийся тем, что движок снабжен цанговым фиксатором рабочего и транспортного положения навеса.
5. Складной навес по п.1, отличающийся тем, что средство для крепления тента к каркасу выполнено в виде трубчатого грибка-верхушки с кольцевым фиксатором и заглушкой.
РИСУНКИ
|
|