|
(21), (22) Заявка: 2007116116/09, 22.09.2005
(24) Дата начала отсчета срока действия патента:
22.09.2005
(30) Конвенционный приоритет:
28.09.2004 JP 2004-281308
(46) Опубликовано: 20.02.2009
(56) Список документов, цитированных в отчете о поиске:
JP 9022711, 21.01.1997. RU 2226018 С2, 20.03.2004. JP 2004241261, 26.08.2004. JP 2000340242, 08.12.2000.
(85) Дата перевода заявки PCT на национальную фазу:
28.04.2007
(86) Заявка PCT:
JP 2005/018056 (22.09.2005)
(87) Публикация PCT:
WO 2006/035919 (06.04.2006)
Адрес для переписки:
129090, Москва, ул.Б.Спасская, 25, строение 3, ООО “Юридическая фирма Городисский и Партнеры”, пат.пов. А.В.Мицу, рег.№ 364
|
(72) Автор(ы):
ЯМАМОТО Хидеаки (JP)
(73) Патентообладатель(и):
КЭНОН КАБУСИКИ КАЙСЯ (JP)
|
(54) УСТРОЙСТВО С ТОПЛИВНЫМ ЭЛЕМЕНТОМ, ВЫПОЛНЕННОЕ С ВОЗМОЖНОСТЬЮ ВЫДАВАТЬ НА ВЫХОДЕ СИГНАЛ, ПРЕДСТАВЛЯЮЩИЙ ОСТАТОЧНУЮ ЕМКОСТЬ, СПОСОБ ВЫДАЧИ НА ВЫХОДЕ СИГНАЛА, ПРЕДСТАВЛЯЮЩЕГО ОСТАТОЧНУЮ ЕМКОСТЬ УСТРОЙСТВА С ТОПЛИВНЫМ ЭЛЕМЕНТОМ, И ЭЛЕКТРОННОЕ УСТРОЙСТВО, ВЫПОЛНЕННОЕ С ВОЗМОЖНОСТЬЮ РЕГИСТРИРОВАТЬ ОСТАТОЧНУЮ ЕМКОСТЬ УСТРОЙСТВА С ТОПЛИВНЫМ ЭЛЕМЕНТОМ
(57) Реферат:
Изобретение относится к устройству с топливным элементом и к способу его обеспечения. Согласно изобретению, устройство с топливным элементом содержит секцию резервуара для размещения первого сплава для хранения водорода, имеющего первую характеристику выделения водорода, и второго сплава для хранения водорода, имеющего вторую характеристики выделения водорода, причем первая и вторая характеристики выделению отличаются друг от друга, секцию выработки энергии, которая использует водород, выделенный из секции резервуара, для выработки электроэнергии, блок регистрации давления, который регистрирует давление водорода, подаваемого в секцию выработки энергии, и выходную секцию для выдачи на выходе изменений значения давления, обусловленных первой и второй характеристиками выделения водорода, которые зарегистрированы блоком регистрации давления. Техническим результатом является простота структуры устройства с топливным элементом и точность регистрации остаточного количества водорода в этом устройстве. 4 н. и 14 з.п. ф-лы, 20 ил.
ОБЛАСТЬ ТЕХНИКИ, К КОТОРОЙ ОТНОСИТСЯ ИЗОБРЕТЕНИЕ
Настоящее изобретение имеет отношение к регистрации остаточного количества в устройстве с топливным элементом и, в частности, имеет отношение к регистрации остаточного количества топлива в устройстве с топливным элементом, использующем сплавы для хранения водорода.
УРОВЕНЬ ТЕХНИКИ
Фиг.16 схематично показывает характеристику электрического разряда топливного элемента на твердом полимере, в который топливо поставляется из сплава для хранения водорода. Горизонтальная ось представляет время, прошедшее после того, как электрическое устройство начинает потреблять электроэнергию топливного элемента. Вертикальная ось представляет выходное напряжение этого топливного элемента. Как ясно из характеристики электрического разряда, представленной на фиг.16, на ранней стадии разряда топливный элемент получает достаточное количество водорода.
Хотя в процессе потребления электроэнергии остаточное количество водорода постепенно уменьшается, выходное напряжение остается существенно постоянным. Затем в заключительной стадии разряда, когда существенно не остается водородного топлива, выходное напряжение резко понижается до очень низкого уровня и, соответственно, электрическое устройство не может нормально работать.
Кроме того, примечательно то, что упомянутое выше выходное напряжение существенно не зависит от давления поставляемого водорода.
То есть топливный элемент поддерживает постоянное выходное напряжение, несмотря на сокращение остаточного количества топлива. Другими словами, система регистрации остаточного количества, основывающаяся на проверке напряжения батареи, не применима к устройству с топливным элементом.
Поэтому в качестве способа проверки батареи для устройства с топливным элементом уже были предложены различные способы регистрации остаточного количества.
Например, можно подготовить множество топливных резервуаров и оценить остаточное количество водорода посредством использования регулирующего клапана открывания/закрывания и поочередного использования топливных резервуаров (см. опубликованную заявку на патент Японии № 2001-295996).
Кроме того, можно объединить резервуар хранения водорода с резервуаром регистрации остаточного количества топлива и управлять скоростью потока соответствующих резервуаров для оценки остаточного количества водорода (см. опубликованную заявку на патент Японии № 2003-139298).
В другом способе начальная емкость и потребляемая электроэнергия используются для вычисления остаточной емкости батареи (см. опубликованную заявку на патент Японии № H11-230813, опубликованную заявку на патент Японии № 2004-171945, опубликованную заявку на патент Японии № 2003-346856 или опубликованную заявку на патент Японии № 2003-346857).
Кроме того, желательно как можно более точно показывать остаточную емкость батареи, зарегистрированную в соответствии с описанными выше способами проверки батареи. В соответствии с этим желательно использовать многоступенчатое отображение остаточной емкости батареи.
Поэтому предложен ступенчатый дисплей, использующий предопределенный шаблон, эффективно показывающий степень остаточной емкости батареи (см. опубликованную заявку на патент Японии № H09-152653).
Система, вычисляющая остаточное количество на основе начальной емкости топлива и использованного количества, не может автоматически зарегистрировать начальную емкость топлива в сплаве для хранения водорода. Поэтому эта система требует предварительной установки начальной емкости топлива в постоянное значение или требует ручного ввода начальной емкости топлива.
С другой стороны, в случае, когда начальная емкость топлива фиксирована постоянным значением, будет трудно точно зарегистрировать остаточное количество, если используется сплав для хранения водорода, имеющий непредсказуемую начальную емкость.
Кроме того, ручной ввод начальной емкости отнимает много времени и является затруднительным. При этом будет необходим дорогостоящий измеритель скорости потока для регистрации использованного количества топлива или может потребоваться резервуар хранения для продукта реакции. В результате устройство будет иметь сложную конструкцию, и не смогут быть достигнуты уменьшение габаритов и сокращение стоимости устройства.
РАСКРЫТИЕ ИЗОБРЕТЕНИЯ
Настоящее изобретение было сделано с учетом вышеупомянутой ситуации и направлено на обеспечение устройства с топливным элементом, использующего сплавы для хранения водорода, и соответствующего электронного устройства, которые являются простыми по структуре и могут точно и легко регистрировать остаточное количество водорода в устройстве с топливным элементом.
Аспект настоящего изобретения должен преодолеть вышеописанные недостатки.
Другой аспект настоящего изобретения должен обеспечить устройство с топливным элементом, имеющее возможность выдавать на выходе сигнал, представляющий остаточное количество водорода, содержащее секцию резервуара, секцию выработки энергии, блок регистрации давления, и выходную секцию.
В секции резервуара размещено множество сплавов для хранения водорода, имеющих отличающиеся друг от друга характеристики выделения водорода. Секция выработки энергии вырабатывает электроэнергию посредством использования водорода, выделяемого из секции резервуара. Блок регистрации давления регистрирует давление водорода, подаваемого в секцию выработки энергии. И выходная секция выдает на выходе изменения значения давления, обусловленные характеристиками выделения водорода множества сплавов для хранения водорода, которые зарегистрированы блоком регистрации давления.
Кроме того, другой аспект настоящего изобретения должен обеспечить способ выдачи на выходе сигнала, представляющего остаточную емкость топливного элемента в системе, содержащей секцию резервуара для размещения множества сплавов для хранения водорода, имеющих отличающиеся друг от друга характеристики выделения водорода, и секцию выработки энергии для выработки электроэнергии посредством использования водорода, выделенного из секции резервуара.
Этот способ содержит этап регистрации давления, на котором регистрируют давление водорода, подаваемого в секцию выработки энергии, и этап выдачи на выходе, на котором выдают на выходе изменения значения давления, обусловленные характеристиками выделения водорода множества сплавов для хранения водорода, которые зарегистрированы на этапе регистрации давления.
Кроме того, другой аспект настоящего изобретения должен обеспечить электронное устройство, имеющее возможность регистрировать остаточную емкость устройства с топливным элементом, содержащее секцию резервуара, секцию выработки энергии, блок регистрации давления, блок регистрации остаточного количества и блок управления.
В секции резервуара размещено множество сплавов для хранения водорода, имеющих отличающиеся друг от друга характеристики выделения водорода. Секция выработки энергии вырабатывает электроэнергию посредством использования водорода, выделяемого из секции резервуара. Блок регистрации давления регистрирует давление водорода, подаваемого в секцию выработки энергии. Блок регистрации остаточного количества регистрирует остаточное количество водорода посредством использования изменений значения давления, обусловленных характеристиками выделения водорода множества сплавов для хранения водорода, которые зарегистрированы блоком регистрации давления. И блок управления работает на электроэнергии, поставляемой из секции выработки энергии.
Кроме того, другой аспект настоящего изобретения должен обеспечить способ регистрации остаточной емкости топливного элемента электронного устройства, содержащего секцию резервуара для размещения множества сплавов для хранения водорода, имеющих отличающиеся друг от друга характеристики выделения водорода, и секцию выработки энергии для выработки электроэнергии посредством использования водорода, выделяемого из секции резервуара.
Этот способ содержит этап регистрации давления, на котором регистрируют давление водорода, подаваемого в секцию выработки энергии, этап регистрации остаточного количества, на котором регистрируют остаточное количество водорода посредством использования изменений значения давления, обусловленных характеристиками выделения водорода множества сплавов для хранения водорода, которые зарегистрированы на этапе регистрации давления, и этап управления, на котором отдают распоряжение секции управления работать на электроэнергии, поставляемой из секции выработки энергии.
Дополнительные признаки настоящего изобретения станут более очевидны из следующего подробного описания иллюстративных вариантов воплощения со ссылкой на приложенные чертежи.
КРАТКОЕ ОПИСАНИЕ ЧЕРТЕЖЕЙ
Сопроводительные чертежи, которые включены в спецификацию и составляют ее часть, иллюстрируют варианты воплощения изобретения и вместе с описанием служат для разъяснения принципов изобретения.
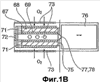
Фиг.1A – вид сверху, показывающий устройство с топливным элементом.
Фиг.1B – вид спереди устройства с топливным элементом, представленного на фиг.1A.
Фиг.2 – вид, показывающий секцию резервуара в соответствии с первым вариантом воплощения настоящего изобретения.
Фиг.3A – график, показывающий характеристику выделения водорода сплава типа AB2 для хранения водорода.
Фиг.3B – график, показывающий характеристику выделения водорода сплава типа AB5 для хранения водорода.
Фиг.4 – график, показывающий температурную зависимость характеристики выделения водорода стандартного сплава для хранения водорода.
Фиг.5 – вид, показывающий секцию резервуара в соответствии с измененным вариантом воплощения первого варианта воплощения настоящего изобретения.
Фиг.6 – график, схематично показывающий один пример характеристики выделения водорода, полученной при использовании смеси двух видов сплавов для хранения водорода.
Фиг.7 – блок-схема, показывающая конструкцию системы проверки батареи.
Фиг.8 – блок-схема последовательности операций, показывающая управление проверкой батареи в соответствии с первым вариантом воплощения настоящего изобретения.
Фиг.9 – график, показывающий значения выходного сигнала в соответствии с первым вариантом воплощения настоящего изобретения.
Фиг.10 – блок-схема последовательности операций, показывающая измененный вариант воплощения управление проверкой батареи в соответствии с первым вариантом воплощения настоящего изобретения.
Фиг.11 – график, показывающий измененный пример значений выходного сигнала в соответствии с первым вариантом воплощения настоящего изобретения.
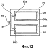
Фиг.12 – вид, показывающий секцию резервуара в соответствии со вторым вариантом воплощения настоящего изобретения.
Фиг.13 – блок-схема, показывающая электрическую конструкцию цифровой однолинзовой зеркальной фотокамеры.
Фиг. 14 – блок-схема последовательности операций, показывающая управление проверкой батареи в соответствии с третьим вариантом воплощения настоящего изобретения.
Фиг.15A, 15B и 15C иллюстрируют примеры, отображаемые на секции отображения блока внешнего жидкокристаллического дисплея.
Фиг.16 – график, показывающий один пример характеристики электрического разряда традиционного устройства с топливным элементом.
ОСУЩЕСТВЛЕНИЕ ИЗОБРЕТЕНИЯ
Ниже со ссылкой на чертежи будут подробно описаны варианты воплощения изобретения.
[Первый вариант воплощения]
Фиг.1A является видом сверху, показывающим устройство с топливным элементом. Фиг.1B является видом спереди устройства с топливным элементом, представленного на фиг.1A.
Это устройство с топливным элементом вызывает реакцию окисления с использованием кислорода как окисляющего агента и, в соответствии с этим, имеет отверстия 73 для воздуха на верхней поверхности, нижней поверхности и удлиненных боковых поверхностях кожуха 70 для введения окружающего воздуха в кожух 70. Каждое отверстие 73 для воздуха также имеет функцию вывода вырабатываемой воды в виде водяного пара из кожуха 70 и рассеивания тепла, производимого реакцией, на внешнюю сторону кожуха 70. Кроме того, кожух 70 имеет короткую боковую поверхность, на которой предусмотрены электроды 72 для вывода электроэнергии.
В кожухе 70 размещаются секция 71 элементов, включающая в себя один или более элементов, топливный резервуар 76 и топливный проток 75. Каждый элемент 71 состоит из кислородного электрода 67, пленки 68 из твердого полимера, топливного электрода 69 и катализатора. Топливный резервуар 76 хранит топливо. Топливный проток 75 соединяет топливный резервуар 76 с топливным электродом 69 каждого элемента.
Водород, хранящийся в топливном резервуаре 76, подается через топливный проток 75 на топливный электрод 69. Между тем окружающий воздух подается с внешней стороны через отверстия 73 для воздуха на кислородный электрод 67. Электроэнергия, производимая топливным элементом, подается через электрод 72 на электронное устройство, которое работает на электроэнергии, поставляемой от топливного элемента.
Кроме того, каждый электрод 72 изолирован в той части, где электрод 72 контактирует с водой, вырабатываемой в результате электролиза, имеющего место во время производства энергии в топливном элементе. Таким образом, не формируется электрическая цепь, соединяющая электроды 72, когда они намочены водой.
В качестве способа изоляции электрод 72 может быть покрыт изолятором, кроме той части, где электрод 72 контактирует с пленкой 68 из твердого полимера.
Кроме того, пленка 68 из твердого полимера, используемая для этого топливного элемента, имеет прочность к давлению от 0,3 до 0,5 МПа. Таким образом, топливный элемент должен использоваться при условиях эксплуатации с перепадом давления 0,1 МПа или менее, что касается перепада между внешним и внутренним давлениями.
Следовательно, будет предпочтительно обеспечить редукционный клапан 78 между топливным резервуаром 76 и топливным электродом 69, если давление выделяемого водорода используемого сплава для хранения водорода будет высоким.
Например, если размер единичного элемента составляет 1,2 см×2 см, топливный элемент имеет электродвижущую силу приблизительно 0,8 В и плотность тока приблизительно 300 мА/см2. Если в общей сложности 8 топливных элементов будут соединены последовательно, то устройство с топливным элементом будет в целом иметь на выходе приблизительно 6,4 В при 720 мА, то есть приблизительно 4,6 Вт.
На фиг.1A и 1B проиллюстрировано, что два одинаковых по размеру топливных элемента являются ламинированными. Однако количество ламинированных топливных элементов не ограничено конкретным числом. Поэтому будет получено более высокое выходное напряжение, если последовательно соединены большее количество ламинированных топливных элементов.
Фиг.2 показывает подробную структуру топливного резервуара 76. Топливный резервуар 76 содержит первый сплав 79 для хранения водорода, второй сплав 80 для хранения водорода, датчик 81 давления, выходную цепь 82 и датчик 83 температуры. Внутренняя часть топливного резервуара 76 заполнена водородом, выделяющимся из сплавов для хранения водорода.
Фиг.3A и 3B соответственно показывают характеристики сохранения и выделения водорода типичных сплавов для хранения водорода. Характеристики сохранения и выделения водорода сплава для хранения водорода показывают по три стадии в процессе сохранения водорода (или в процессе поглощения водорода) и в процессе выделения водорода.
На фиг.3A и 3B одна линия, соединяющая белые точки, представляет характеристику в процессе сохранения водорода. Последовательные состояния 401-402-403 соответствуют фазам от начала до конца процесса сохранения. Другая линия, соединяющая черные точки, представляет характеристику процесса выделения водорода. Последовательные состояния 404-405-406 соответствуют фазам от начала до конца процесса выделения.
Сначала подробно разъясняется характеристика сохранения водорода.
Водород вводится извне и непосредственно сохраняется в сплаве для хранения водорода в промежутках кристаллической решетки при заданном давлении водорода (фаза 401). Когда давление водорода, подаваемого извне, превышает предопределенный уровень, молекулы водорода начинают вступать в химическую связь со сплавом для хранения водорода (фаза 402).
Когда извне прилагается еще более высокое давление водорода, находящиеся под очень высоким давлением молекулы водорода вынуждены проникать в промежутки кристаллической решетки сплава для хранения водорода даже после того, как количество водорода превышает диапазон, в котором возможна химическая связь. Таким образом, водород продолжает сохраняться в сплаве для хранения водорода (фаза 403).
Далее подробно разъясняется характеристика выделения водорода.
Когда внешнее давление воздуха ниже, чем давление водорода в промежутках кристаллической решетки, водород покидает промежутки кристаллической решетки сплава для хранения водорода и выходит наружу.
В этом случае давление выделяемого водорода уменьшается вместе с уменьшением количества сохраненного водорода (фаза 404). Когда давление выделяемого водорода далее уменьшается, водород, химически связанный со сплавом для хранения водорода, начинает выходить из сплава для хранения водорода и выходит наружу. В этой стадии процесса выделения водорода давление выделенного водорода остается на существенно постоянном уровне и, соответственно, находится в состоянии равновесного давления (фаза 405).
Выделение водорода продолжается, пока не перестанет существовать водород, химически связанный со сплавом для хранения водорода, и давление выделяемого водорода начинает уменьшаться (фаза 406). В соответствии с настоящим изобретением состояние фазы 405 в процессе выделения водорода называется состоянием равновесного давления.
Как правило, сплав для хранения водорода, который имеет состояние равновесного давления, длящееся в течение долгого времени, может хранить большое количество водорода на единицу веса и является подходящим для портативного устройства.
Давление выделяемого водорода в состоянии 405 равновесного давления зависит от состава сплава для хранения водорода, как понятно из фиг.3A и 3B. Например, для сплава типа AB2, показанного на фиг.3A, который имеет состав Ti0,76Zr0,24Mn1,0Cr0,8Cu0,2, давление выделяемого водорода в состоянии 405 равновесного давления составляет приблизительно 0,48 МПа.
Для сплава типа AB5, показанного на фиг.3B, который имеет состав La0,9Ce0,1Ni5, давление выделяемого водорода в состоянии 405 равновесного давления составляет приблизительно 0,2 МПа. Кроме того, на давление выделяемого водорода очень влияет температура.
Фиг.4 показывает зависимость характеристики выделения водорода сплава для хранения водорода от температуры. В частности, у сплава для хранения водорода LaNi4,8Al0,2 давление выделяющегося водорода в состоянии равновесного давления при 20°C составляет 0,04 МПа. Давление выделяющегося водорода в состоянии равновесного давления при 60°C составляет 0,115 МПа.
В соответствии с этим вариантом воплощения первый сплав 79 для хранения водорода имеет более высокое значение давления выделяемого водорода в состоянии равновесного давления по сравнению с вторым сплавом 80 для хранения водорода. Например, первый сплав 79 для хранения водорода является сплавом для хранения водорода типа AB2, имеющим состав Ti0,76Zr0,24Mn1,0Cr0,8Cu0,2, у которого давление выделяемого водорода составляет 0,48 МПа в состоянии равновесного давления, как описано выше.
Второй сплав 80 для хранения водорода имеет более низкое давление выделяемого водорода в состоянии равновесного давления, чем первый сплав 79 для хранения водорода. Например, второй сплав 80 для хранения водорода является описанным выше сплавом для хранения водорода типа AB5, имеющим состав La0,9Ce0,1Ni5, у которого давление выделяемого водорода составляет 0,2 МПа в состоянии равновесного давления.
Что касается удерживающей структуры множества сплавов для хранения водорода, фиг.2 показывает два вида сплавов для хранения водорода в зернистом состоянии, которые смешаны вместе в топливном резервуаре 76. Однако возможно заполнить топливный резервуар 76 двумя сплошными блоками первого и второго сплавов для хранения водорода, как показано на фиг.5.
Что касается количества сплава для хранения водорода, первый сплав для хранения водорода (то есть Ti0,76Zr0,24Mn1,0Cr0,8Cu0,2), например, имеет вес 30 г, и второй сплав для хранения водорода (то есть La0,9Ce0,1Ni5) имеет вес 10 г. Оба из описанных выше сплавов для хранения водорода имеют способность поглощать и выделять водород в количестве приблизительно 1% от веса. Поэтому в топливном резервуаре 76 сохраняется 0,4 г водорода. Электрическая энергия, которая может быть произведена, составляет приблизительно 11,3 [W·h], что приблизительно в 4 раза больше, чем электрическая энергия, которая может быть произведена традиционным литий-ионным элементом.
Фиг.6 схематично показывает изменение давления водорода топливного резервуара 76, имеющего описанную выше конструкцию. Далее будет разъяснено изменение давления топливного резервуара 76 в каждом из пяти состояний 450-454, то есть от состояния, в котором сохранено достаточно водорода, до состояния, в котором количество сохраненного водорода уменьшается вследствие выработки энергии.
Состояние 450 является переходным состоянием, в котором водород выделяется из промежутков в кристаллической решетке между первым сплавом для хранения водорода и вторым сплавом для хранения водорода. В этом состоянии давление уменьшается в соответствии с выделением водорода. Это состояние продолжается до тех пор, пока уровень давления не достигает состояния равновесного давления первого сплава для хранения водорода.
Состояние 451 является первым состоянием равновесного давления, в котором водород выделяется из первого сплава для хранения водорода при постоянном давлении, достигаемом в состоянии равновесного давления первого сплава для хранения водорода.
В этом случае второй сплав для хранения водорода остается в состоянии равновесия между фазой выделения и фазой сохранения, и в соответствии с этим из второго сплава для хранения водорода водород не выделяется. Это состояние продолжается до тех пор, пока не выделится почти весь водород, химически связанный с первым сплавом для хранения водорода.
Состояние 452 является переходным состоянием, в котором водород выделяется из промежутков кристаллической решетки между первым сплавом для хранения водорода и вторым сплавом для хранения водорода. В этом состоянии давление уменьшается в соответствии с выделением водорода. Это состояние продолжается до тех пор, пока уровень давления не достигает состояния равновесного давления второго сплава для хранения водорода.
Состояние 453 является вторым состоянием равновесного давления, в котором водород выделяется из второго сплава для хранения водорода под постоянным давлением, достигаемым в состоянии равновесного давления второго сплава для хранения водорода. В этом случае первый сплав для хранения водорода остается в состоянии равновесия между фазой выделения и фазой сохранения, и в соответствии с этим из первого сплава для хранения водорода водород не выделяется. Это состояние продолжается до тех пор, пока не выделится почти весь водород, химически связанный со вторым сплавом для хранения водорода.
Состояние 454 является переходным состоянием, в котором водород выделяется из промежутков кристаллической решетки между первым сплавом для хранения водорода и вторым сплавом для хранения водорода. В этом состоянии давление уменьшается в соответствии с выделением водорода. Это состояние продолжается до тех пор, пока водород полностью не выделится как из первого, так и из второго сплава для хранения водорода.
Продолжительность первого состояния 451 равновесного давления пропорциональна количеству водорода, сохраненному в первом сплаве для хранения водорода. Продолжительность второго состояния 453 равновесного давления пропорциональна количеству водорода, сохраненному во втором сплаве для хранения водорода.
Например, согласно вышеописанной конструкции, в которой первый сплав для хранения водорода (то есть Ti0,76Zr0,24Mn1,0Cr0,8Cu0,2) имеет вес 30 г и второй сплав для хранения водорода (то есть La0,9Ce0,1Ni5) имеет вес 10 г, их соотношение сохраненного количества водорода составляет приблизительно 3:1. Таким образом, продолжительность первого состояния 451 равновесного давления приблизительно в 3 раза больше продолжительности второго состояния 453 равновесного давления.
Соответственно, эти продолжительности могут быть отрегулированы посредством изменения соотношения в смеси первого сплава для хранения водорода и второго сплава для хранения водорода таким образом, чтобы регулировка времени выхода остаточной емкости батареи могла быть гибко установлена с учетом состояния остаточного количества топлива. Другими словами, регистрация остаточного количества в соответствии с использованием устройства с топливным элементом является выполнимой.
Фиг.7 является блок-схемой, показывающей конструкцию системы проверки батареи.
Датчик 81 давления регистрирует давление в водородном цилиндре и вводит зарегистрированное значение давления в блок 510 сравнения выходной схемы 82. Кроме того, датчик 83 температуры регистрирует температуру в водородном цилиндре и вводит зарегистрированное значение температуры в микропроцессорный блок (MPU) микрокомпьютера 100.
Микрокомпьютер 100 считывает значение давления в состоянии равновесного давления, соответствующее зарегистрированной температуре каждого сплава для хранения водорода, в соответствии с таблицей, хранящейся в памяти микрокомпьютера 100. Микрокомпьютер 100 отправляет считанное значение давления блоку 510 сравнения выходной схемы 82.
Выходная схема 82 производит выходное значение, которое изменяется в соответствии с введенным значением давления сплава для хранения водорода и считанным значением давления в состоянии равновесного давления.
Управление проверкой батареи, выполняемое выходной схемой 82, объясняется со ссылкой на фиг.8.
На этапе S100 начинается проверка батареи. На этапе S101 датчик давления 81 регистрирует давление в водородном цилиндре. В дальнейшем давление водородного цилиндра, зарегистрированное датчиком давления 81, обозначается как ‘a’. На этапе S102 микрокомпьютер 100 получает давление ‘a’ в водородном цилиндре. На этапе S103 датчик 83 температуры регистрирует температуру в водородном цилиндре.
Микрокомпьютер 100 на этапе S104 получает значение температуры водородного цилиндра от датчика 83 температуры. На этапе S105 микрокомпьютер 100 считывает давление ‘b’ и давление ‘c’ из таблицы, подготовленной в микрокомпьютере. Давления ‘b’ и ‘c’ являются значениями давления, достигаемого в состоянии равновесного давления, соответствующего полученной температуре. В частности, давление ‘b’ представляет собой давление в первом состоянии равновесного давления. Давление ‘c’ представляет собой давление во втором состоянии равновесного давления.
Обработка этапов S101-S102 может быть выполнена одновременно с обработкой этапов S103-S106. На этапе S107 блок 510 сравнения сравнивает давление ‘a’ водородного цилиндра с давлением ‘b’ в первом состоянии равновесного давления. Когда результат сравнения на этапе S107 показывает, что давление ‘a’ водородного цилиндра равно давлению ‘b’ в первом состоянии равновесного давления или выше его, микрокомпьютер 100 переходит на этап S108, чтобы побудить выходную схему 82 создать первое значение 700 выходного сигнала. Затем проверка батареи заканчивается.
Когда давление ‘a’ в водородном цилиндре ниже, чем давление ‘b’ в первом состоянии равновесного давления, микрокомпьютер 100 переходит на этап S109 для последующего сравнения давления ‘a’ в водородном цилиндре с давлением ‘c’ во втором состоянии равновесного давления. Когда результат сравнения на этапе S109 показывает, что давление ‘a’ в водородном цилиндре равно давлению ‘c’ во втором состоянии равновесного давления или выше его, микрокомпьютер 100 переходит на этап S110, чтобы побудить выходную схему 82 создать второе значение 701 выходного сигнала. Затем проверка батареи заканчивается.
Когда давление ‘a’ в водородном цилиндре ниже, чем давление ‘c’ во втором состоянии равновесного давления, микрокомпьютер 100 переходит на этап S111 для последующего сравнения давления ‘a’ в водородном цилиндре с давлением ‘d’ отключения. Давление ‘d’ отключения является минимальным давлением подачи водорода, требуемым для приведения устройства в действие. Например, давление ‘d’ отключения заранее установлено в значение, составляющее 5% от максимального сохраняемого количества. То есть давление ‘d’ отключения устанавливают в значение больше 0, но меньше давления ‘c’ во втором состоянии равновесного давления.
Когда результат сравнения на этапе S111 показывает, что давление ‘a’ в водородном цилиндре равно давлению ‘d’ отключения или выше его, микрокомпьютер 100 переходит на этап S112, чтобы побудить выходную схему 82 создать третье значение 702 выходного сигнала. Затем проверка батареи заканчивается. Когда давление ‘a’ в водородном цилиндре ниже, чем давление ‘d’ отключения, микрокомпьютер 100 переходит на этап S113, чтобы побудить выходную схему 82 создать четвертое значение 703 выходного сигнала. Затем проверка батареи заканчивается.
Обработка, показанная в блок-схеме последовательности операций, представленной на фиг.8, может повторяться через постоянные интервалы времени или в соответствии с последовательностью соответствующего устройства. Кроме того, первое значение 700 выходного сигнала, второе значение 701 выходного сигнала, третье значение 702 выходного сигнала и четвертое значение 703 выходного сигнала должны отличаться друг от друга. Фиг.9 показывает пример этих значений выходного сигнала, используемых при описанной выше обработке.
Как показано на фиг.9, когда давление ‘a’ в топливном резервуаре не ниже давления ‘b’ в первом состоянии равновесного давления, выходная схема 82 создает первое значение 700 выходного сигнала. Когда давление ‘a’ в топливном резервуаре ниже давления ‘b’ в первом состоянии равновесного давления и не ниже давления ‘c’ во втором состоянии равновесного давления, выходная схема 82 создает второе значение 701 выходного сигнала.
Когда давление ‘a’ в топливном резервуаре ниже давления ‘c’ во втором состоянии равновесного давления и не ниже давления ‘d’ отключения, выходная схема 82 создает третье значение 702 выходного сигнала. Когда давление ‘a’ в топливном резервуаре ниже давления ‘d’ отключения, выходная схема 82 производит четвертое значение 704 выходного сигнала.
[Измененный вариант воплощения первого варианта воплощения]
Далее со ссылкой на фиг.10 разъясняется измененный вариант воплощения управления проверкой батареи, выполняемого выходной схемой 82.
Последовательная обработка с этапа S200, на котором начинается проверка батареи, до этапа 207, на котором блок 510 сравнения сравнивает давление ‘a’ в водородном цилиндре с давлением ‘b’ в первом состоянии равновесного давления, идентична описанной выше обработке на этапах с S100 до S107, представленных на фиг.8, и здесь не разъясняется.
Когда результат сравнения на этапе S207 показывает, что давление ‘a’ в водородном цилиндре равно давлению ‘b’ в первом состоянии равновесного давления или выше его, микрокомпьютер 100 возвращается к этапу S201 после того, как проходит предопределенное время ожидания. Когда давление ‘a’ в водородном цилиндре ниже давления ‘b’ в первом состоянии равновесного давления, микрокомпьютер 100 переходит на этап S208, чтобы побудить выходную схему 82 создать пятое значение 704 выходного сигнала.
Следующая последовательная обработка от этапа S209 до этапа S214 идентична описанной выше обработке на этапах с S201 до S206 и поэтому здесь не разъясняется.
На этапе S215 микрокомпьютер 100 побуждает блок 510 сравнения сравнить давление ‘a’ в водородном цилиндре с давлением ‘c’ во втором состоянии равновесного давления. Когда результат сравнения на этапе S215 показывает, что давление ‘a’ в водородном цилиндре равно давлению ‘c’ во втором состоянии равновесного давления или выше его, микрокомпьютер 100 возвращается на этап S209 после того, как проходит предопределенное время ожидания.
С другой стороны, когда давление ‘a’ в водородном цилиндре ниже давления ‘c’ во втором состоянии равновесного давления, микрокомпьютер 100 переходит на этап S216, чтобы побудить выходную схему 82 создать шестое значение 705 выходного сигнала и завершает проверку батареи. Фиг.11 показывает пример значений выходного сигнала, полученных при описанной выше обработке.
Как показано на фиг.11, выходная схема 82 выдает импульс с пятым значением 704 выходного сигнала только один раз, когда давление а в резервуаре 7 6 становится ниже давления b в первом состоянии равновесного давления. Кроме того, выходная схема 82 выдает импульс с шестым значением 705 выходного сигнала только один раз, когда давление а в резервуаре 76 становится ниже давления с во втором состоянии равновесного давления.
Таким образом, измененный вариант воплощения отличается от вышеописанного первого варианта воплощения тем, что выходная схема 82 выполняет операцию выдачи на выходе только тогда, когда изменяется давление а в топливном резервуаре. В соответствии с этим измененным вариантом воплощения пятое значение 704 выходного сигнала и шестое значение 705 выходного сигнала могут быть установлены в любые значения. Например, эти значения могут быть равны, если сохраняется информация о выдаче на выходе пятого значения 704 выходного сигнала.
Кроме того, в соответствии с этим вариантом воплощения, пятое значение 704 выходного сигнала выдается на выходе в то время, когда давление а в резервуаре становится ниже давления b в первом состоянии равновесного давления. Однако пятое значение 704 выходного сигнала может выдаваться на выходе, когда давление в резервуаре становится равным давлению с во втором состоянии равновесного давления.
Кроме того, в соответствии с этим вариантом воплощения секция топливного резервуара содержит два типа сплавов для хранения водорода. Однако возможно использовать секцию топливного резервуара, содержащую три или более типов сплавов для хранения водорода. В этом случае увеличивается количество возникающих изменений значения давления, пока топливный резервуар не станет пустым. Поэтому регистрация остаточного количества топлива с четырьмя стадиями, описанная в вышеупомянутом варианте воплощения, может быть изменена так, что она будет содержать пять или более стадий для регистрации остаточного количества топлива.
Кроме того, температура, регистрируемая датчиком 83 температуры, не ограничена температурой в топливном резервуаре 76, а может быть температурой сплава для хранения водорода. В особенности, если топливный резервуар 76 имеет конструкцию, показанную на фиг.5, температура различна в каждом из множества сплавов для хранения водорода. Поэтому предпочтительно регистрировать температуру каждого сплава для хранения водорода.
Кроме того, в соответствии с этим вариантом воплощения, датчик 81 давления служит средством регистрации давления, и выходная схема 82 служит выходной секцией. Однако настоящее изобретение не ограничено вышеописанными вариантами воплощения, а подобные функции и эффекты может достичь также клапан регулирования давления или другая механическая конструкция.
[Второй вариант воплощения]
Далее разъясняется второй вариант воплощения настоящего изобретения.
Второй вариант воплощения отличается от первого варианта воплощения в конструкции секции топливного резервуара. В дальнейшем со ссылкой на фиг.12 будет разъяснена секция топливного резервуара этого варианта воплощения. Как показано на фиг.12, топливный резервуар содержит две отдельные секции топливного резервуара.
В частности, первый сплав 79 для хранения водорода хранится в первом топливном резервуаре 76a, и второй сплав 80 для хранения водорода хранится во втором топливном резервуаре 76b. Первый топливный резервуар 76a и второй топливный резервуар 76b могут быть независимо удалены из топливного резервуара 76. Два датчика температуры, то есть датчик 83a температуры и датчик 83b температуры измеряют температуры первого сплава 79 для хранения водорода и второго сплава 80 для хранения водорода соответственно.
Водород, выделенный из первого и второго топливных резервуаров 76a и 76b, подается через топливный проток 75 к топливному электроду 69. Топливный проток 75 оборудован датчиком 81 давления. Датчик 81 давления регистрирует совокупное давление водорода, выделенного из соответствующих топливных резервуаров 76a и 76b. Блок 510 сравнения выходной схемы 82 принимает на вход выходной сигнал датчика 81 давления, который представляет собой давление в водородном цилиндре.
Кроме того, микрокомпьютер 100 принимает на вход сигналы от датчиков 83a и 83b температуры, которые соответственно представляют собой температуры двух разных сплавов для хранения водорода. Микрокомпьютер 100 считывает из подготовленной таблицы значения давления в состоянии равновесного давления, соответствующие зарегистрированной температуре каждого сплава для хранения водорода. Затем микрокомпьютер 100 отправляет считанные значения давления в состоянии равновесного давления блоку 510 сравнения выходной схемы 82.
Выходная схема 82 выполняет операцию выдачи на выходе в зависимости от принятых входных данных, то есть давления сплава для хранения водорода и давления в состоянии равновесного давления. Управление проверкой батареи, выполняемое выходной схемой 82, существенно идентично описанному выше первому варианту воплощения и здесь не разъясняется.
[Третий вариант воплощения]
Далее разъясняется третий вариант воплощения этого изобретения. Этот вариант воплощения использует цифровую однолинзовую зеркальную фотокамеру в качестве электронного устройства. Фиг.13 является блок-схемой, показывающей электрическую конструкцию цифровой однолинзовой зеркальной фотокамеры в соответствии с третьим вариантом воплощения этого изобретения.
Секция 42 источника питания включает в себя топливный элемент, использующий сплавы для хранения водорода. Секция источника питания этого варианта воплощения отличается только по внутренней конструкции топливного резервуара по сравнению с первым или вторым вариантом воплощения. В соответствии с этим вариантом воплощения не является необходимым помещать выходную схему в топливный резервуар. Схема 108 проверки батареи, установленная в фотокамере, может работать таким же образом, как выходная схема 82 первого или второго варианта воплощения.
В частности, датчик 81 давления, оборудованный в секции 42 источника питания, регистрирует давление в топливном резервуаре. Блок 510 сравнения в схеме 108 проверки батареи принимает на вход значение давления, зарегистрированное датчиком 81 давления. Кроме того, датчик 83 температуры регистрирует температуру в топливном резервуаре. Микрокомпьютер 100 принимает на вход значение температуры, зарегистрированное датчиком 83 температуры.
Микрокомпьютер 100 считывает значение давления в состоянии равновесного давления в топливном резервуаре из таблицы на основе введенной температуры. Эта таблица может быть сохранена в памяти 100a (например, электрически стираемом программируемом постоянном запоминающем устройстве (ЭСППЗУ)) микрокомпьютера 100. Микрокомпьютер 100 отправляет считанное значение давления в состоянии равновесного давления блоку 510 сравнения схемы 108 проверки батареи.
Остальная часть конструкции этого варианта воплощения существенно идентична традиционной цифровой однолинзовой зеркальной фотокамере и в соответствии с этим просто объясняется здесь.
Изображение объекта проходит через линзу 200 объектива и диафрагму 204. Световой поток этого изображения частично отражается основным зеркалом 64 в не фотографирующем режиме. Отраженный луч проходит через пентапризму 22 и проникает в глаз фотографа через линзу 18 видоискателя. В этом случае часть луча, проходящего через пентапризму 22, поступает в фотометрический датчик 37, размещенный перед фотометрической схемой 106. Фотометрическая схема 106 отправляет результат фотометрии микрокомпьютеру 100.
Дополнительное зеркало 30 отражает остальную часть светового потока, прошедшую через основное зеркало 64, к блоку 31 датчика обнаружения фокусировки. Блок 31 датчика обнаружения фокусировки выдает положение фокуса. Схема 102 управления фокусировкой, управляемая микрокомпьютером 100, обнаруживает положение фокуса, полученное блоком 31 обнаружения фокусировки.
Полученные таким образом результат фотометрии и положение фокуса используются, когда микрокомпьютер 100 производит управление через оправу 21 линзы и схему 201 управления объектива, схему 202 управления автофокусировкой и схему 203 управления диафрагмой в ответ на команду, заданную схемой 105 управления переключателями. Схема 105 управления переключателями дает эту команду микрокомпьютеру 100 в соответствии с режимом съемки, установленным с помощью основного переключателя 43 для включения источника питания, или в соответствии с режимом съемки, установленным с помощью диска для установки режима съемки, или различными параметрами, установленными с помощью основного диска 8 переключения операций или дополнительного диска 20 переключения операций.
Эта операция автофокусировки и автоэкспозиции начинается при срабатывании первого переключателя (SW1) 7а размыкания. Последовательность съемки начинается при срабатывании второго переключателя (SW2) 7b размыкания. Когда начинается последовательность съемки, микрокомпьютер 100 дает команду схеме 101 управления зеркалом убрать основное зеркало 64 и дополнительное зеркало 30 из светового потока изображения объекта.
Затем микрокомпьютер 100 дает команду схеме 103 управления затвором открыть затвор 32. Таким образом, изображение объекта может быть сформировано на ПЗС-матрице 33 (ПЗС, прибор с зарядовой связью) и затем преобразовано в цифровой сигнал через последовательную обработку в схеме 34 ДКВ (двойной коррелированной выборки) с фиксацией уровня, схеме 35 АРУ (автоматической регулировки усиления) и аналого-цифровом преобразователе 36.
Схема 104 обработки сигнала изображения формирует цифровое изображение из цифрового сигнала и отправляет его через схему 109 управления цветным жидкокристаллическим монитором на цветной жидкокристаллический монитор 19 для отображения изображения объекта. Кроме того, буферная память 37 сохраняет изображение, которое еще не обработано. Кроме того, контроллер 38 памяти может возвратить изображение, сохраненное в буферной памяти 37, в схему 104 обработки сигнала изображения.
Кроме того, контроллер 38 памяти имеет возможность записывать обработанное изображение во внешнюю память 39 или выдавать его на внешнее устройство через интерфейс 40. Блок 107 управления жидкокристаллическим дисплеем может управлять блоком 9 внешнего жидкокристаллического дисплея или блоком 41 жидкокристаллического дисплея видоискателя для отображения состояния различных сделанных настроек.
Далее со ссылкой на фиг.14 разъясняется управление проверкой батареи, выполняемое схемой 108 проверки батареи.
На этапе S300 начинается операция проверки батареи. На этапе S301 датчик 81 давления регистрирует давление в водородном цилиндре. Давление в водородном цилиндре, зарегистрированное датчиком 81 давления, обозначается как ‘a’. На этапе S302 микрокомпьютер 100 получает давление ‘a’ в водородном цилиндре. На этапе S303 датчик 83 температуры регистрирует температуру в водородном цилиндре.
На этапе S304 микрокомпьютер 100 получает значение температуры водородного цилиндра от датчика 83 температуры. На этапе S305 микрокомпьютер 100 считывает давление ‘b’ и давление ‘c’ из таблицы, подготовленной в микрокомпьютере. Давления ‘b’ и ‘c’ являются значениями давления в состоянии равновесного давления, соответствующими полученной температуре.
В частности, давление ‘b’ представляет собой давление в первом состоянии равновесного давления. Давление ‘c’ представляет собой давление во втором состоянии равновесного давления. Обработка этапов S301-S302 может выполняться одновременно с обработкой этапов S303-S306.
На этапе S307 блок 510 сравнения сравнивает давление ‘a’ в водородном цилиндре с давлением ‘b’ в первом состоянии равновесного давления. Когда результат сравнения на этапе S307 показывает, что давление ‘a’ в водородном цилиндре равно давлению ‘b’ в первом состоянии равновесного давления или выше его, схема 108 проверки батареи создает первое значение 700 выходного сигнала на этапе S308, и блок 9 внешнего жидкокристаллического дисплея выполняет первое отображение на этапе S309. Затем проверка батареи заканчивается.
Когда давление ‘a’ в водородном цилиндре ниже давления ‘b’ в первом состоянии равновесного давления, давление ‘a’ в водородном цилиндре далее сравнивается с давлением ‘c’ во втором состоянии равновесного давления на этапе S310. Когда результат сравнения на этапе S310 показывает, что давление ‘a’ в водородном цилиндре равно давлению ‘c’ во втором состоянии равновесного давления или выше его, схема 108 проверки батареи создает второе значение 701 выходного сигнала на этапе S311, и блок 9 внешнего жидкокристаллического дисплея выполняет второе отображение на этапе 312. Затем проверка батареи заканчивается.
Когда давление ‘a’ в водородном цилиндре ниже давления ‘c’ во втором состоянии равновесного давления, схема 108 проверки батареи создает третье значение 702 выходного сигнала на этапе S313, и блок 9 внешнего жидкокристаллического дисплея выполняет третье отображение на этапе 314. Затем проверка батареи заканчивается.
Обработка, показанная в блок-схеме последовательности операций, представленной на фиг.14, может быть повторена через постоянные интервалы времени или в соответствии с последовательностью соответствующего устройства. Кроме того, первое значение 700 выходного сигнала, второе значение 701 выходного сигнала и третье значение 702 выходного сигнала должны отличаться друг от друга. Значения выходного сигнала, отправленные из блока 108 проверки батареи микрокомпьютеру 100 при описанной выше обработке аналогичны первому варианту воплощения, представленному на фиг.9.
Схема 107 управления жидкокристаллическим дисплеем принимает команду содержания отображения от микрокомпьютера 100 и управляет блоком 9 внешнего жидкокристаллического дисплея и блоком 41 жидкокристаллического дисплея видоискателя в соответствии с этой командой. Кроме того, схема 107 управления жидкокристаллическим дисплеем может переводить заданные сегменты блока дисплея в мигающее состояние, когда такая команда принята от микрокомпьютера 100.
Далее со ссылкой на иллюстрации, представленные на фиг.15A, 15B и 15C, разъясняются некоторые шаблоны отображения блока 9 внешнего жидкокристаллического дисплея.
На фиг.15A пиктограмма 9a с полностью заряженной батареей указывает, что остаточное количество топлива является достаточным. На фиг.15B пиктограмма 9b с частично заряженной батареей указывает, что остаточное количество топлива уменьшилось. Пиктограмма 9c с пустой батареей, показанная на фиг.15C, указывает, что топлива не осталось или его остаточное количество очень мало.
Микрокомпьютер 100 отправляет команду содержания отображения схеме 107 управления жидкокристаллическим дисплеем в соответствии со значением сигнала, принятым от схемы 108 проверки батареи. Например, когда микрокомпьютер 100 принимает первое значение выходного сигнала от схемы 108 проверки батареи, схема 107 управления жидкокристаллическим дисплеем дает распоряжение блоку 9 внешнего жидкокристаллического дисплея выполнить отображение, показанное на фиг.15A, чтобы показать, что остаточное количество топлива является достаточным.
Когда микрокомпьютер 100 принимает второе значение выходного сигнала, схема 107 управления жидкокристаллическим дисплеем дает распоряжение блоку 9 внешнего жидкокристаллического дисплея выполнить отображение, показанное на фиг.15B, чтобы уведомить пользователя о сокращении остаточного количества топлива.
Кроме того, когда микрокомпьютер 100 принимает третье значение выходного сигнала, схема 107 управления жидкокристаллическим дисплеем дает распоряжение блоку 9 внешнего жидкокристаллического дисплея выполнить отображение, показанное на фиг.15C, чтобы дать предупреждение об ограниченном остаточном количестве топлива. Затем фотокамера переходит к обработке отключения для принудительного выключения источника питания фотокамеры.
Хотя этот вариант воплощения разъясняется на основе секции топливного резервуара, имеющей два типа сплавов для хранения водорода, возможно использовать три или более сплавов для хранения водорода для точного отображения остаточного количества с намного большим количеством уровней.
Кроме того, заявка настоящего изобретения не ограничена фотокамерой в качестве электронного устройства, рассмотренного в вышеописанных вариантах воплощения. Настоящее изобретение может быть применено к другим электронным устройствам, в том числе к портативным или переносным компьютерам, портативным телефонам и карманным компьютерам.
Хотя настоящее изобретение было описано со ссылкой на иллюстративные варианты воплощения, следует понимать, что изобретение не ограничено раскрытыми иллюстративными вариантами воплощения. Объем последующей формулы изобретения должен получить самую широкую интерпретацию, чтобы охватить все модификации, эквивалентные структуры и функции.
Поскольку многие очевидно значительно различающиеся варианты воплощения настоящего изобретения могут быть сделаны без отступления от его сущности и объема, следует понимать, что изобретение ограничено не конкретными вариантами его воплощения, а только приложенной формулой изобретения.
ПРИТЯЗАНИЕ НА ПРИОРИТЕТ
Эта заявка притязает на приоритет заявки на патент Японии № 2004-281308, зарегистрированной 28 сентября 2004 года, полное содержание которой тем самым включено по ссылке в настоящий документ.
Формула изобретения
1. Устройство с топливным элементом, выполненное с возможностью выдавать сигнал, представляющий остаточное количество водорода, содержащее
секцию резервуара для размещения первого сплава для хранения водорода, имеющего первую характеристику выделения водорода, и второго сплава для хранения водорода, имеющего вторую характеристику выделения водорода, первая и вторая характеристики выделения водорода отличаются друг от друга; секцию выработки энергии для выработки электроэнергии посредством использования водорода, выделяемого из секции резервуара; блок регистрации давления для регистрации давления водорода, подаваемого в секцию выработки энергии; и выходную секцию для выдачи на выходе изменений значения давления, обусловленных первой и второй характеристиками выделения водорода, которые зарегистрированы блоком регистрации давления.
2. Устройство по п.1, в котором первый и второй сплавы для хранения водорода размещены в секции резервуара таким образом, что соотношение в смеси первого и второго сплавов для хранения водорода может быть изменено.
3. Устройство по п.1, в котором секция резервуара имеет первое пространство для размещения первого сплава для хранения водорода и второе пространство для размещения второго сплава для хранения водорода, первое и второе пространство являются независимыми друг от друга.
4. Устройство по п.1, в котором выходная секция создает разные выходные сигналы в зависимости от множества состояний равновесного давления, возникающих в соответствии с первой и второй характеристиками выделения водорода.
5. Устройство по п.1, в котором выходная секция создает сигналы, представляющие изменения значения давления, в ответ на изменения в множестве состояний равновесного давления, возникающие в соответствии с первой и второй характеристиками выделения водорода.
6. Способ выдачи на выходе сигнала, представляющего остаточную емкость топливного элемента, в системе, содержащей секцию резервуара для размещения первого сплава для хранения водорода, имеющего первую характеристику выделения водорода, и второго сплава для хранения водорода, имеющего вторую характеристику выделения водорода, которая отличается от первой характеристики выделения водорода, и секцию выработки энергии для выработки электроэнергии посредством использования водорода, выделенного из секции резервуара, способ содержит этапы регистрации давления, на котором регистрируют давление водорода, подаваемого в секцию выработки энергии; и выдачи на выходе, на котором выдают на выходе изменения значений давления, обусловленные первой и второй характеристиками выделения водорода, которые зарегистрированы на этапе регистрации давления.
7. Способ по п.6, в котором первый и второй сплавы для хранения водорода размещены в секции резервуара таким образом, что соотношение в смеси первого и второго сплавов для хранения водорода может быть изменено.
8. Способ по п.6, в котором секция резервуара имеет первое пространство для размещения первого сплава для хранения водорода и второе пространство для размещения второго сплава для хранения водорода, первое и второе пространство являются независимыми друг от друга.
9. Способ по п.6, в котором этап выдачи на выходе создает разные выходные сигналы в зависимости от множества состояний равновесного давления, возникающих в соответствии с первой и второй характеристиками выделения водорода.
10. Способ по п.6, в котором этап выдачи на выходе создает сигналы, представляющие изменения значения давления в ответ на изменения в множестве состояний равновесного давления, возникающие в соответствии с первой и второй характеристиками выделения водорода.
11. Электронное устройство, выполненное с возможностью регистрировать остаточную емкость устройства с топливным элементом, устройство с топливным элементом включает в себя секцию резервуара для размещения первого сплава для хранения водорода, имеющего первую характеристику выделения водорода, и второго сплава для хранения водорода, имеющего вторую характеристику выделения водорода, которая отличается от первой характеристики выделения водорода, и секцию выработки энергии для выработки электроэнергии посредством использования водорода, выделяемого из секции резервуара, устройство содержит блок регистрации давления для регистрации давления водорода, подаваемого в секцию выработки энергии; блок регистрации остаточного количества для регистрации остаточного количества водорода посредством использования изменений значения давления, обусловленных первой и второй характеристиками выделения водорода, которые зарегистрированы блоком регистрации давления; и блок управления, который работает на электроэнергии, поставляемой из секции выработки энергии.
12. Электронное устройство по п.11, в котором первый и второй сплавы для хранения водорода размещены в секции резервуара таким образом, что соотношение в смеси первого и второго сплавов для хранения водорода может быть изменено.
13. Электронное устройство по п.11, в котором секция резервуара имеет первое пространство для размещения первого сплава для хранения водорода и второе пространство для размещения второго сплава для хранения водорода, первое и второе пространство являются независимыми друг от друга.
14. Электронное устройство по п.11, дополнительно содержащее блок отображения для отображения остаточного количества водорода на основе результата регистрации, полученного блоком регистрации остаточного количества.
15. Способ регистрации остаточной емкости устройства с топливным элементом, содержащего секцию резервуара для размещения первого сплава для хранения водорода, имеющего первую характеристику выделения водорода, и второго сплава для хранения водорода, имеющего вторую характеристику выделения водорода, которая отличается от первой характеристики выделения водорода, и секцию выработки энергии для выработки электроэнергии посредством использования водорода, выделяемого из секции резервуара, способ содержит этапы регистрации давления, на котором регистрируют давление водорода, подаваемого в секцию выработки энергии; регистрации остаточного количества, на котором регистрируют остаточное количество водорода посредством использования изменений значения давления, обусловленных первой и второй характеристиками выделения водорода, которые зарегистрированы на этапе регистрации давления; и управления, на котором дают распоряжение секции управления работать на электроэнергии, поставляемой из секции выработки энергии.
16. Способ по п.15, в котором первый и второй сплавы для хранения водорода размещены в секции резервуара таким образом, что соотношение в смеси первого и второго сплавов для хранения водорода может быть изменено.
17. Способ по п.15, в котором секция резервуара имеет первое пространство для размещения первого сплава для хранения водорода и второе пространство для размещения второго сплава для хранения водорода, первое и второе пространство являются независимыми друг от друга.
18. Способ по п.15, содержащий дополнительный этап отображения, на котором отображают остаточное количество водорода на основе результата регистрации, полученного на этапе регистрации остаточного количества.
РИСУНКИ
|