|
|
(21), (22) Заявка: 2006142308/09, 30.07.2004
(24) Дата начала отсчета срока действия патента:
30.07.2004
(30) Конвенционный приоритет:
30.04.2004 US 10/837,069
(43) Дата публикации заявки: 10.06.2008
(46) Опубликовано: 20.02.2009
(56) Список документов, цитированных в отчете о поиске:
RU 2193285 С2, 20.11.2002. WO 94/17469 А1, 04.08.1994. US 6727921 В1, 27.04.2004. US 2003131007 A1, 10.07.2003.
(85) Дата перевода заявки PCT на национальную фазу:
30.11.2006
(86) Заявка PCT:
US 2004/024631 (30.07.2004)
(87) Публикация PCT:
WO 2005/111985 (24.11.2005)
Адрес для переписки:
129090, Москва, ул. Б.Спасская, 25, стр.3, ООО “Юридическая фирма Городисский и Партнеры”, пат.пов. Ю.Д.Кузнецову, рег.№ 595
|
(72) Автор(ы):
БИМ Тайлер К. (US), ДЕ ВОРЧИК Дэвид Г. (US), ЭНТОНИ Колин Р. (US), КАММИНС Чарльз (US), СЬЕРРА Джампьеро М. (US), ТАББС Кеннет М. (US)
(73) Патентообладатель(и):
МАЙКРОСОФТ КОРПОРЕЙШН (US)
|
(54) СИСТЕМА И СПОСОБ ДЛЯ ВЫБОРА РЕЖИМА ПРЕДСТАВЛЕНИЯ И УСТАНОВКИ ПАРАМЕТРОВ
(57) Реферат:
Изобретение относится к области вычислительной техники, а именно к графическому интерфейсу пользователя (ГИП). Техническим результатом является упрощение управления ГИП. Способ выбора режима представления файлов для окон списков файлов в операционной системе и установочных параметров в пределах этого режима представления файлов для одного или более элементов экранного отображения содержит этапы, на которых получают одиночный пользовательский ввод через ползунковое средство управления вводом, указывающий выбор одного из множества доступных режимов представления файлов и также указывающий выбор установочного параметра в пределах выбранного режима представления файлов; одновременно устанавливают соответствие одиночного пользовательского ввода выбранному режиму представления файлов и выбранному установочному параметру в пределах этого режима. 6 н. и 20 з.п. ф-лы, 10 ил.
ОБЛАСТЬ ТЕХНИКИ, К КОТОРОЙ ОТНОСИТСЯ ИЗОБРЕТЕНИЕ
Данное изобретение имеет отношение, в общем случае, к отображающимся на компьютерном экране элементам. Более подробно данное изобретение касается улучшенной методики для выборочного отображения элементов на компьютерном экране, разрешая пользователю одновременно выбрать режим представления и установочный параметр в пределах выбранного режима представления для отображения элементов.
ПРЕДШЕСТВУЮЩИЙ УРОВЕНЬ ТЕХНИКИ
Графический интерфейс пользователя (GUI) обеспечивает интуитивное отображение вариантов выбора, доступных пользователю, использующему графическое управление в дополнение к текстовым меню. К сожалению, когда число вариантов выбора в интерфейсе становится большим, вся масса информации беспорядочно отображается, смущая пользователя. Это известно как «проблема перегрузки информацией». Проектировщик интерфейса в этих ситуациях преднамеренно ограничивает единственный дисплей для выбора и управления меньшим числом вариантов выбора, что является удобным для пользователя. Ограничивая варианты выбора (опции), интерфейс пользователя становится проще для понимания, но требует большего количества операций для выполнения одних и тех же действий, так что эффективность для обученного пользователя становится ограниченной. Выбор вариантов (опций) с использованием единственного средства управления для выбора также ограничивает возможность работать эффективно, поскольку пользователь должен быть способен делать различие между промежуточными состояниями, созданными посредством подачи каждого малого дополнительного количества информации. Пока вся совокупность выбора не введена, пользователь должен бороться с частично сконфигурированным интерфейсом пользователя.
Препятствие эффективному функционированию GUI имеет два различных аспекта отображения, которые могут быть откорректированы независимо. Или характеристики отображения корректируются независимо, или «режимы» определяются путем установки настроек для конкретной конфигурации. Пользователь должен сначала выбрать режим, и затем также выбрать установочный параметр в пределах режима. Когда пользователь Microsoft® Word 2000 открывает файл (как показано на экране отображения 200 на фиг.2A), пользователь может сначала выбрать режим представления (например, Список, Подробности, Свойства, Предварительный просмотр) и дополнительно может выбрать порядок представления (например, упорядочение по имени, типу, размеру или дате). Этот пример требует, чтобы пользователь выбрал представление и затем отдельно выбрал порядок, используя две различные операции. Аналогично Microsoft® Windows 2000 позволяет откорректировать размер значка и выбрать вид через два независимых средства управления. Вновь требуются две операции для пользователя для выбора законченной конфигурации. Одно потенциальное решение состоит в том, чтобы отобразить все возможные комбинации этих двух параметров, но это решение может быстро стать неуправляемым, даже когда есть только несколько вариантов для каждого параметра. Например, отображение 5 дополнительных режимов и 10 возможных параметров настройки в пределах каждого из этих режимов требует представления 50 отдельных вариантов выбора пользователю.
Дизайнерская задача также очевидна в пределах функции управления файлами операционных систем и прикладных программ. Использование файлов является центральной задачей при использовании персонального компьютера. Поскольку операционные системы и прикладные программы продвинулись в сложности и функциональных возможностях, число и типы файлов, которыми пользователь должен управлять, увеличилось. За эти годы операционные системы и прикладные программы обеспечили различные варианты выбора (опции) для пользователей для просмотра их файлов и правильного определения местонахождения конкретных файлов. Представление с помощью списка обеспечивает больше подробностей для файлов типа даты создания, имени файла и типа файла, называемых метаданными. Представление в виде значка может предоставить только имя файла, и значок, связанный с приложением, используется для создания или редактирования файла. Представление в виде эскиза обеспечивает миниатюрное изображение содержимого файла (например, фотографическое изображение от цифровой камеры). Каждое из этих представлений полезно для различных типов файлов. Больше вариантов выбора приносит пользу пользователю, когда выбор соответствующего режима представления является простой и интуитивной операцией.
Различные механизмы управления использовались в прошлых операционных системах и приложениях для управления файлами. Когда есть только несколько вариантов выбора, эти варианты могут быть отображены как дискретные кнопки в строке меню (например, одна кнопка для каждого режима), которые обеспечивают быстрое переключение между режимами представления файла. Когда есть больше, чем три или четыре варианта выбора, единственная кнопка, которая активирует раскрывающийся список режимов представления, обеспечивает быстрый доступ, не требуя большого количества экранного пространства. Также полезным для относительно большого количества вариантов выбора является составная кнопка (или разделенная), которая делится так, чтобы половина кнопки циклически проходила варианты выбора, а другая половина активировала раскрывающийся список режимов представления. Циклически повторяющееся действие позволяет пользователю просматривать каждую опцию, в то время как выпадающий список позволяет пользователю выбрать желательный режим представления одним действием.
Другим действием, связанным с режимами представления файла, является установление размеров значка или эскиза, связанного с файлом. В различных вариантах исполнения ползунок используется для прокрутки размеров значков от малого до большого в непрерывном диапазоне. Например, эта установка иногда применяется ко всем значкам во всех представлениях файлов глобально в пределах операционной системы. Альтернативно, эта установка применяется ко всем значкам в конкретном окне или папке.
В пределах этих предыдущих средств выбора режима представления файлов размер значков или эскизов не выбирался пользователем тем же средством управления, что для выбора режима представления (детальный список, значок, эскиз). Количество метаданных, показываемых в пределах конкретного режима представления, не было конфигурируемо средством управления для выбора режима представления файлов. Кроме того, количество метаданных, показываемых в пределах конкретного режима представления, не управлялось по размеру значка.
Нарастание количества режимов представления для окон списков файлов в операционной системе требует улучшенного управления интерфейсом пользователя для использования мощи множества необязательных функциональных возможностей. Текущие варианты выбора режима представления файла включают в себя детальное представление списка с конфигурируемой степенью метаданных и размеров значков, представления в виде плиток с большими значками, но часто отображается мало метаданных и эскиз или представление значка с изображениями, конфигурируемыми от малого до большого.
Каждый из этих различных режимов представления файла соответствует различным типам файлов. Соответствующий режим представления является одним из тех, которые являются наиболее полезными для пользователя для выбора правильного файла в первый раз. Эскизы полезны для того, чтобы выбрать изображения, особенно снятые цифровой камерой, где имя файла – это, вероятно, номер, определенный камерой, которая незнакома пользователю. Подробный список со многими отображенными полями метаданных может быть более подходящим, когда делается выбор среди текстовых документов, возможно, с различными датами создания или авторами, где имя файла, вероятно, описывает содержание. Плиточное представление объединяет лучшее и из подробного списка, и из эскизного представления для каталогов смешанных типов файлов.
С другим препятствием графического функционирования сталкиваются, когда есть два (или более) альтернативных способа управления тем же самым параметром(ами), и средства управления удобны в разных ситуациях. Когда оба средства управления сделаны доступными, они обычно описываются текстом так, чтобы пользователь понял, что они действительно управляют тем же самым параметром(ами). Например, как показано на экранном устройстве отображения 250 на Фиг.2B, средство управления изменением масштаба изображения в Microsoft ® Word 2000 представляет различные альтернативы для выбора величины изменения масштаба. Пользователь может или ввести процент от реального представления, или, альтернативно, доступен описательный выбор типа: измените размер к (ширине страницы, ширине текста, целой странице, множеству страниц). Это требует более одной операции, потому что требует того, чтобы пользователь нашел средство управления для изменения масштаба изображения и затем поэкспериментировал с альтернативами, пока пользователь не найдет правильный процент для этого документа. Если, например, пользователь остановился на 71% после экспериментов, пользователь не имеет никакого визуального сигнала, указывающего как этот конечный выбор связан с предлагаемыми предпочтительными параметрами настройки. В следующий раз, когда пользователь сталкивается с той же самой проблемой, он будет вынужден помнить «71» или иначе проводить тот же самый эксперимент.
Долго была потребность в области дизайна GUI для того, чтобы обеспечить некоторый способ для упрощения проблемы перегрузки информацией способом, который является интуитивным для пользователя для понимания и эффективного функционирования, как только интерфейс был изучен. Это особенно справедливо, когда есть два параметра, которые должны управляться одновременно, или когда есть две альтернативы для управления одним и тем же параметром, который должен быть визуально отображен и управляться пользователем.
Кроме того, есть потребность в удобном управлении для пользователей для того, чтобы выбрать среди различных режимов представления файлов или дискретно с предварительно установленными кнопками, или непрерывно со средством управления ползункового типа, которое не только выбирает режим представления, но и также изменяет размер значков или эскизов и изменяет количество отображаемых метаданных. Управляя и режимом представления, и установкой размеров единственным средством управления, пользователь может быстро настроить режим представления файлов одним действием. Такая комбинация непрерывного и дискретного средств управления обеспечила бы и легкое использование для неопытного пользователя, и также конкретное управление для пользователя, который хочет конкретный режим представления, включая предпочтение по размеру и подробностям.
СУЩНОСТЬ ИЗОБРЕТЕНИЯ
Данное изобретение соответствует вышеупомянутым потребностям и преодолевает один или более недостатков предшествующего уровня техники, обеспечивая улучшенную методику для того, чтобы позволить пользователю выбирать режим представления и установочные параметры в пределах выбранного режима представления с помощью единственного выбора. Один аспект данного изобретения обеспечивает осуществленный на компьютере способ выбора режима представления и установочных параметров в пределах этого режима представления для одного или более элементов на экране устройства отображения. После получения одиночного ввода от пользователя, указывающего выбор одного из множества доступных режимов представления, а также указывающего выбор установочных параметров в пределах выбранного режима представления, способ устанавливает соответствие одиночного ввода от пользователя выбранному режиму представления и устанавливает соответствие одиночного ввода от пользователя выбранным установочным параметрам в пределах этого режима представления.
В другом аспекте изобретения обеспечивается графический интерфейс пользователя, который включает в себя экранное устройство отображения и средство управления представлением. Средство управления представлением представлено в экранном устройстве отображения, и средство управления представлением получает одиночный ввод от пользователя, указывающий как выбранный режим представления, так и выбранные установочные параметры в пределах выбранного режима представления.
Еще одним аспектом данного изобретения является средство управления представлением, представленное в графическом интерфейсе пользователя для выбора пользователем режима представления и установочных параметров в пределах этого режима представления. Средство управления представлением включает в себя средство отображения диапазона настройки, указывающее множество доступных параметров настройки (установочных параметров), средство отображения диапазона режимов представления, указывающее множество доступных режимов представления, соответствующих множеству доступных параметров настройки, и компоненту выбора пользователя, которая получает одиночный выбор пользователя, указывающий один из доступных параметров настройки и один из доступных режимов представления.
Еще одним аспектом изобретения является устройство для выбора режима представления и установочных параметров в пределах этого режима представления для экрана отображения, в котором один или более элементов могут быть отображены во множестве режимов представления. Устройство включает в себя механизм ввода для получения одиночного ввода от пользователя, указывающего как выбранный режим представления, так и выбранные установочные параметры. Устройство также включает в себя выполнимые на компьютере команды для установления соответствия одиночного ввода от пользователя выбранному режиму представления и для установления соответствия одиночного ввода от пользователя выбранным установочным параметрам в пределах этого режима представления.
Дополнительный аспект изобретения обеспечивает компьютерную систему, сконфигурированную для выбора пользователем режима представления и установочных параметров в пределах этого режима представления для экрана отображения, на котором один или более элементов могут быть отображены во множестве режимов представления. Система позволяет пользователю одновременно выбирать один режим представления из двух или более доступных режимов представления и установочные параметры в пределах выбранного режима представления. Система затем применяет упомянутый режим представления и выбранные установочные параметры в ответ на одиночный выбор от пользователя.
КРАТКОЕ ОПИСАНИЕ ЧЕРТЕЖЕЙ
Данное изобретение описывается подробно ниже со ссылкой на приложенные чертежи.
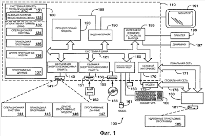
Фиг.1 является блок-схемой компьютерной системной среды, подходящей для использования для осуществления данного изобретения.
Фиг.2A представляет экран отображения интерфейса пользователя для выбора режима представления из множества режимов представления во время операции открытия файла в прикладной программе обработки текстов предшествующего уровня техники.
Фиг.2B представляет экран отображения интерфейса пользователя, представляющего множество альтернативных средств управления для одного и того же параметра, а именно величины изменения масштаба в прикладной программе обработки текстов предшествующего уровня техники.
Фиг.3 является блок-схемой, показывающей способ выбора режима представления и установочных параметров в пределах этого режима представления для одного или более элементов на экране отображения в соответствии с вариантом воплощения данного изобретения.
Фиг.4 является схемой графического интерфейса пользователя, имеющего экран отображения и средство управления представлением в соответствии с вариантом воплощения данного изобретения.
Фиг.5 является схемой примерного средства управления представлением в соответствии с вариантом воплощения данного изобретения, в котором средство управления представлением включает в себя средство отображения диапазона установочных параметров, средство отображения диапазона режимов представления и компоненту пользовательского выбора, выполненную с возможностью принимать одиночный выбор от пользователя, указывающий режим представления и установочные параметры в пределах выбранного режима представления.
Фиг.6 является схемой средства управления представлением по Фиг.5, в котором средство отображения диапазона установочных параметров включает в себя ползунок и где средство отображения диапазона режимов представления включает в себя три доступных режима представления с установочными параметрами по умолчанию в соответствии с вариантом воплощения данного изобретения.
Фиг.7 является схемой примерного средства управления представлением в соответствии с вариантом воплощения данного изобретения, где средство управления представлением включает в себя средство отображения диапазона установочных параметров, средство отображения диапазона режимов представления, включая меню с множеством установочных параметров по умолчанию, и компоненту пользовательского выбора.
Фиг.8 является схемой средства управления представлением по Фиг.5, в котором средство отображения диапазона установочных параметров включает в себя меню с множеством установочных параметров по умолчанию и где средство отображения диапазона режимов представления включает в себя три доступных режима представления в соответствии с вариантом воплощения данного изобретения.
Фиг.9 является схемой, представляющей примерный вариант реализации средства управления представлением в соответствии с вариантом воплощения данного изобретения.
ПОДРОБНОЕ ОПИСАНИЕ ИЗОБРЕТЕНИЯ
Данное изобретение обеспечивает улучшенную методику для выборочного отображения элементов на компьютерном экране, разрешая пользователю одновременно выбирать режим представления и установочные параметры в пределах выбранного режима представления для отображения элементов. Примерная рабочая среда для данного изобретения описана ниже.
Обратимся к чертежам вообще и первоначально к Фиг.1, в частности, где подобные цифры ссылок идентифицируют подобные компоненты на различных чертежах, где показана и определена, в общем случае, как среда 100, примерная рабочая среда для осуществления данного изобретения. Компьютерная системная среда 100 является только одним примером подходящей компьютерной среды и не предназначена для предложения некоего ограничения относительно объема использования или функциональных возможностей изобретения. Никто не должен интерпретировать компьютерную среду 100 как имеющую некоторую зависимость или требования, касающиеся любого компонента или их комбинации, проиллюстрированных в образцовой рабочей среде 100.
Изобретение может быть описано в общем контексте выполнимых компьютером команд типа программных модулей, выполняемых компьютером. Вообще, программные модули включают в себя подпрограммы, программы, объекты, компоненты, структуры данных и т.д., которые выполняют конкретные задачи или реализуют конкретные абстрактные типы данных. Кроме того, специалисты в данной области техники оценят, что изобретение можно применять в разнообразных конфигурациях компьютерной системы, включая карманные устройства, многопроцессорные системы, или программируемую бытовую электронику на основе микропроцессоров, миникомпьютеры, универсальные компьютеры и т.п. Изобретение можно также применить в распределенной компьютерной среде, где задачи выполняются удаленными устройствами обработки, которые связаны через сеть связи. В распределенной компьютерной среде программные модули могут быть расположены и в локальных, и в удаленных компьютерных носителях данных, включая в себя запоминающие устройства памяти.
Со ссылкой на Фиг.1 примерная система 100 для осуществления изобретения включает в себя универсальное компьютерное устройство в виде компьютера 110, включающего в себя процессорный модуль 120, системную память 130 и системную шину 121, которая соединяет различные системные компоненты, включая системную память 130, с процессорным модулем 120.
Компьютер 110 обычно включает в себя разнообразие читаемых компьютером носителей. В качестве примера, но не ограничения, читаемые компьютером носители могут включать в себя коммуникационные носители и компьютерные носители данных. Примеры компьютерных носителей данных включают в себя, но не ограничены, оперативную память (RAM); постоянное запоминающее устройство (ROM); электронное стираемое программируемое постоянное запоминающее устройство (EEPROM); флэш-память или память другой технологии; CD-ROM, цифровые универсальные диски (DVD) или другую оптическую или голографическую дисковую память; магнитные кассеты, магнитную ленту, магнитную память на диске или другие магнитные запоминающие устройства; или любые другие носители информации, которые могут использоваться для хранения требуемой информации и к которым можно получить доступ компьютером 110. Системная память 130 включает в себя компьютерные носители данных в форме энергозависимой и/или энергонезависимой памяти типа ROM 131 и RAM 132. Базовая система 133 ввода-вывода (BIOS), содержащая основные подпрограммы, которые помогают перемещать информацию между элементами компьютера 110 (например, во время запуска), обычно сохраняется в ROM 131. RAM 132 обычно содержит данные и/или программные модули, которые являются непосредственно доступными для и/или могут быть обработаны процессорным модулем 120. В качестве примера, но не ограничения, Фиг.1 иллюстрирует операционную систему 134, прикладные программы 135, другие программные модули 136 и программные данные 137.
Компьютер 110 может также включать в себя другие сменные/несменные, энергозависимые/энергонезависимые компьютерные носители данных. Только в качестве примера Фиг.1 иллюстрирует жесткий диск 141, который читает или пишет на несменные, энергонезависимые магнитные носители, дисковод 151 магнитных дисков, который читает или пишет на сменный, энергонезависимый магнитный диск 152, и дисковод 155 оптических дисков, который читает или пишет на сменный энергонезависимый оптический диск 156 типа CD-ROM или другие оптические носители. Другие сменные/несменные энергозависимые/энергонезависимые компьютерные носители данных, которые могут использоваться в примерной среде, включают в себя, но не ограничены этим, кассеты с магнитной лентой, модули флэш-памяти, цифровые универсальные диски, цифровую видеоленту, твердотельную RAM, твердотельную ROM и т.п. Жесткий диск 141 типично соединяется с системной шиной 121 через интерфейс несменной памяти типа интерфейса 140. Магнитный дисковод 151 и оптический дисковод 155 типично соединяются с системной шиной 121 интерфейсом сменной памяти типа интерфейса 150.
Дисководы и ассоциативно связанные с ними компьютерные носители данных, обсужденные выше и проиллюстрированные на Фиг.1, обеспечивают хранение читаемых компьютером команд, структур данных, программных модулей и других данных для компьютера 110. Например, жесткий диск 141 проиллюстрирован как хранящий операционную систему 144, прикладные программы 145, другие программные модули 146 и программные данные 147. Следует обратить внимание, что эти компоненты могут или быть теми же самыми, или отличаться от операционной системы 134 прикладных программ 135, других программных модулей 136 и программных данных 137. Как правило, операционная система, прикладные программы и т.п., которые сохранены в оперативной памяти, являются частями соответствующих систем, программ или данных, считанных с жесткого диска 141, части которых изменяются по размеру и возможностям в зависимости от желательных функций. Операционной системе 144, прикладным программам 145, другим программным модулям 146 и программным данным 147 здесь даны различные номера, чтобы иллюстрировать то, что они, как минимум, могут быть различными копиями. Пользователь может ввести команды и информацию в компьютер 110 через устройства ввода данных типа клавиатуры 162; устройство управления позицией 161, обычно называемое мышью, координатный шар или сенсорную клавиатуру; экран с возможностью ввода пользователем типа сенсорных экранов и экранов, способных к получению вводов от пера; компонент 163 приема беспроводного ввода; или беспроводной источник типа дистанционного управления. Другие устройства ввода данных (не показанные здесь) могут включать в себя микрофон, джойстик, игровую клавиатуру, спутниковую антенну, сканер или подобное этому. Эти и другие устройства ввода данных часто подключаются к процессорному модулю 120 через пользовательский интерфейс 160 ввода, который соединен с системной шиной 121, но могут быть подключены посредством другого интерфейса и шинных структур типа параллельного порта, игрового порта, порта IEEE 1394 или универсальной последовательной шины (USB), или инфракрасной (IR) шины.
Устройство 191 отображения также соединено с системной шиной 121 через интерфейс типа видеоинтерфейса 190. Устройство 191 отображения может быть любым устройством для отображения вывода данных компьютера 110, не ограничиваясь монитором, LCD экраном, транзисторным тонкопленочным (TFT) экраном, индикаторной панелью, обычным телевизором или экранным проектором. В дополнение к устройству 191 отображения компьютеры могут также включать в себя другие периферийные устройства вывода типа динамиков 197 и принтера 196, который может быть подсоединен через интерфейс 195 внешних устройств вывода.
Компьютер 110 в данном изобретении будет работать в сетевой среде, используя логические подключения к одному или более удаленным компьютерам типа удаленного компьютера 180. Удаленный компьютер 180 может быть персональным компьютером и обычно включает в себя многие или все элементы, описанные выше относительно компьютера 110, хотя только запоминающее устройство 181 было иллюстрировано на Фиг.1. Логические подключения, изображенные на Фиг.1, включают в себя локальную сеть (LAN) 171 и глобальную сеть (WAN) 173, но могут также включать в себя другие сети типа подключений к городской локальной сети (MAN), сети интранет или сети Интернет.
При использовании в сетевой среде с сетями LAN компьютер 110 подключен к LAN 171 через сетевой интерфейс или адаптер 170. При использовании в сетевой среде WAN компьютер 110 обычно включает в себя модем 172 или другие средства для того, чтобы установить соединение по WAN 173 типа сети Интернет. Модем 172, который может быть внутренним или внешним, может быть соединен с системной шиной 121 через сетевой интерфейс 170 или другой соответствующий механизм. Модем 172 может быть кабельным модемом, модемом DSL или другим широкополосным устройством. В связанной в сеть среде программные модули, изображенные относительно компьютера 110 или его частей, могут быть сохранены в удаленном запоминающем устройстве. В качестве примера, но не ограничения, Фиг.1 иллюстрирует удаленные прикладные программы 185 как постоянно находящиеся на запоминающем устройстве 181. Можно оценить, что показанные сетевые подключения являются примерными и могут использоваться другие средства установления линий связи между компьютерами.
Хотя много других внутренних компонентов компьютера 110 не показано, специалисты в данной области техники оценят, что такие компоненты и взаимосвязи известны. Например, включение различных плат расширения типа телевизионных плат и плат с сетевым интерфейсом в компьютере 110 является обычным. Соответственно, нет необходимости в раскрытии вместе с данным изобретением дополнительных подробностей относительно внутренней конструкции компьютера 110.
Когда компьютер 110 включается или перезагружается, базовая система 133 ввода-вывода, которая сохранена в ROM 131, инструктирует процессорный модуль 120 загружать операционную систему или необходимую ее часть с жесткого диска 141 в RAM 132. Как только скопированная часть операционной системы, определяемой как операционная система 144, загружена в RAM 132, процессорный модуль 120 исполняет код операционной системы и заставляет визуальные элементы, ассоциативно связанные с интерфейсом пользователя операционной системы 134, быть отображенными на устройстве 191 отображения. Как правило, когда прикладная программа 145 открыта пользователем, код программы и соответствующие данные читаются с жесткого диска 141, и необходимые части копируются в оперативную память 132, где скопированная часть представлена здесь ссылкой с номером 135.
Как упоминалось ранее, данное изобретение может быть описано в общем контексте используемых компьютером команд. Используемые компьютером команды включают в себя функции, процедуры, схемы, подпрограммы, сегменты кода и модули, используемые одним или более компьютерами или другими устройствами. Используемые компьютером команды формируют интерфейс для того, чтобы позволить компьютеру реагировать в соответствии с источником ввода. Команды взаимодействуют с другими сегментами кода для того, чтобы инициировать разнообразные задачи в ответ на данные, полученные вместе с источником полученных данных.
Фиг.3 изображает блок-схему, показывающую осуществленный на компьютере способ 300 выбора режима представления и установочных параметров в пределах этого режима представления для одного или более элементов на экране отображения в соответствии с вариантом воплощения данного изобретения. В 310 способ 300 получает одиночный ввод от пользователя, указывающий выбор одного из множества доступных режимов представления и также указывающий выбор установочных параметров в пределах выбранного режима представления. Как оценят специалисты в данной области техники, такой пользовательский ввод может быть получен через механизм ввода типа аппаратного устройства ввода данных или программное средство управления представлением, представленное в графическом интерфейсе пользователя. После получения одиночного ввода от пользователя способ отображает (устанавливает соответствие) ввод на выбранный режим представления в 320 и отображает (устанавливает соответствие) ввод от пользователя на выбранные установочные параметры в пределах этого режима представления в 330. Предпочтительно, чтобы одиночный ввод от пользователя отображался на выбранный режим представления и выбранные установочные параметры в, по существу, одно и то же время.
Обратимся к Фиг.4, где представлен графический интерфейс 400 пользователя (GUI). GUI 400 включает в себя экран отображения 410 и средство 420 управления представлением в соответствии с вариантом воплощения данного изобретения. Экран 410 отображения может быть обычным компьютерным экраном монитора, как известно в данной области техники, и не будет, поэтому, обсуждаться здесь подробнее. Однако средство 420 управления представлением совершенствует состояние предшествующего уровня техники, отображая (устанавливая соответствие) одиночный выбор пользователя на выбранный режим представления и выбранные установочные параметры в пределах этого режима представления. Несколько примерных вариантов воплощения средства управления представлением данного изобретения сформулированы на Фиг.5-9.
Фиг.5 показывает средство 500 управления представлением с указателем 510, парящим над ним. Средство 500 управления представлением включает в себя отображение 520 диапазона установочных параметров для того, чтобы отобразить доступные параметры настройки (установочные параметры), и отображение 530 диапазона режимов для того, чтобы отобразить доступные режимы. Указатель 540 выбора установлен в пределах отображения 520 диапазона установочных параметров для указания пользовательского выбора. Одним примером установочных параметров режима представления является размер значка. Альтернативно, «установочные параметры» могут относиться к другим параметрам типа расположения или упорядочения отображаемых элементов, основываясь на имени, типе, дате и т.д.
Обратимся теперь к Фиг.6 и 7, где изображены примерные средства 600 и 700 управления представлением. Средство 600 управления представлением включает в себя отображение 620 диапазона установочных параметров в форме ползунка для ввода, для которого используется указатель 640 выбора для отражения пользовательского выбора. Точно так же, средство 700 управления представлением включает в себя отображение 720 диапазона установочных параметров в виде ползунка для ввода, для которого используется указатель 740 выбора для отражения пользовательского выбора. Поскольку специалисты в данной области техники оценят, что средства 620 и 720 управления ползункового типа предпочтительно обеспечивают конечного пользователя непрерывным спектром доступных параметров настройки для выбора путем использования, например, указателей 610 и 710 для того, чтобы управлять указателями 640 и 740 выбора и выбирать любой из множества параметров настройки. Альтернативно, средства 620 и 720 управления ползункового типа могут обеспечить конечного пользователя множеством дискретных параметров настройки, которые являются доступными.
Средства 600 и 700 управления представлением включают в себя соответствующие (средства) отображения 630 и 730 диапазона режимов. Отображение 630 диапазона режимов представляет указатель 650 для Режима A, указатель 660 для Режима B и указатель 670 для Режима C. Более чем один установочный параметр представлен пользователю в каждом из режимов 650, 660, 670, показанных на Фиг.6, для того, чтобы помочь пользователю в выборе конкретного режима и установочного параметра(ов). Хотя отображение 630 диапазона режимов иллюстрирует три указателя режимов, изобретение не ограничено конкретным числом указателей режимов или режимов. Скорее примерный вариант воплощения данного изобретения, показанный на Фиг.6, рассматривает пользовательский выбор одного режима из двух или более доступных режимов. Примеры режимов представления включают в себя список, подробности, расположение плиткой, свойства, предварительный просмотр, значки, большие значки, средние значки, маленькие значки и эскизы. Специалисты в данной области техники оценят, что предшествующий список примерных режимов не является исчерпывающим списком и что много других режимов рассматриваются в соответствии с данным изобретением. Точно так же много других параметров настройки, в дополнение к упомянутым выше, находятся в пределах объема данного изобретения.
На Фиг.7 отображение 730 диапазона режимов изображает единственный режим, имеющий четыре дискретных параметра 750, 760, 770, 780 по умолчанию. Предпочтительно, каждый параметр по умолчанию представлен кнопкой. Как показано на Фиг.7, пользователь может выбрать параметр 760, наводя указатель 710 на ту кнопку и выбирая ее, чтобы задействовать выбранный параметр и режим представления. Необходимо отметить, что размеры значка и количество метаданных увеличиваются на Фиг.7 по мере того, как указатель 740 выбора перемещается в направлении вниз. Однако в альтернативном примерном дизайне, размер и/или количество показываемых метаданных могут фактически быть преднамеренно уменьшены, потому что увеличивающийся размер значка ограничивает количество доступного пространства.
Изображение, отображенное в пределах установочного параметра, может быть функцией элемента отображения и/или размера значка. Например, если отображенный элемент является ярлыком, он может быть представлен соответствующим значком независимо от размера. Но если элемент является документом Word , и выбранный размер изображения является достаточно большим, то отображение содержимого документа может быть представлено пользователю в миниатюрном факсимиле. Если элемент является единственной фотографией, то может быть представлено подобие полного изображения.
Обратимся к Фиг.8, где примерное средство 800 управления представлением включает в себя дискретный диапазон отображений 820 установочных параметров и дискретный диапазон соответствующих режимов 850, 860 и 870. Каждый из режимов 850, 860, 870 связан с одним или более параметрами настройки (установочными параметрами) в отображении диапазона установочных параметров. Если, например, есть шесть дискретных параметров настройки (то есть параметры настройки 1-6), некоторые из них могут быть применены к одному или более режимам. Как показано на Фиг.8, параметры настройки 1-4 являются применимыми к Режиму A и Режиму B, и параметры настройки 1, 3, 5 и 6 являются применимыми Режиму C. Затенение 840 указывает, что параметр 3 в Режиме C является выбранным в настоящее время состоянием.
Фиг.9 является схемой, представляющей примерный вариант осуществления средства управления представлением в соответствии с вариантом воплощения данного изобретения. Составная кнопка 900 управления может быть расположена в любой удобной части экрана отображения. Выбирая левую сторону кнопки 900, состояние представления переключается между доступными режимами и предпочтительными установочными параметрами, которые связаны с каждым режимом. Вид левой части составной кнопки изменяется после активации для того, чтобы указать выбранный в настоящее время режим. Предпочтительный установочный параметр является сохраненным значением установочного параметра представления, которое является различным для каждого режима, и имеет предшествующее значение, определенное предшествующей настройкой или расположением отображаемых элементов или указанием в пределах системы. Пользователь может изменить предпочтительный установочный параметр активацией и выбором режима и установочного параметра путем использования правой стороны составной кнопки 900.
Установочный параметр и режим могут быть одновременно выбраны с помощью нажатия на правой половине составной кнопки для того, чтобы активировать средство управления ползункового типа, и затем регулируя указатель выбора, как показано в 910. Например, пользователь может нажать на правую половину кнопки 900 и удерживать кнопку мыши нажатой, в этом случае пользователь может переместить уазатель выбора вверх или вниз и отпустить кнопку мыши для того, чтобы сделать выбор. Альтернативно, пользователь может нажать на правой половине кнопки 900 и немедленно отпустить кнопку мыши, в этом случае пользователь может затем передвигать указатель на требуемую позицию на средстве управления ползункового типа и выбирать требуемый режим и установочный параметр, нажимая по требуемой позиции. Есть много других способов, которыми пользователь может передвигать вверх или вниз средство управления ползункового типа, например комбинацией одного или более нажатий клавиши или удерживания клавиши CTRL при перемещении колеса мыши. Средство управления ползункового типа может быть сконфигурировано для автоматического отклонения себя в некоторый момент времени после того, как выбор был сделан пользователем.
Обозначенный в 910 выбор корректирует размер значка в режиме представления эскиза и выбирает установку размера значка, который является немного большим, чем средняя установка. Режимы представления, представленные в отображении указателя режимов, включают в себя режим представления значками с подробностями вверху отображения режима, режим подробного представления плиткой в середине окна отображения режимов и режим представления эскизами (как обозначено в 920). Режим представления подробностей может, например, включать в себя все метаданные последовательно в горизонтальном расположении. По мере того, как указатель выбора перемещается вниз вдоль ползункового средства ввода в режиме представления подробностей, количество метаданных уменьшается как функция смещения указателя выбора. Это изменение в количестве метаданных может быть линейным или нелинейным относительно вертикального смещения указателя выбора. Точно так же, как показано в 930, размер эскизов увеличивается по мере того, как указатель выбора перемещается вверх вдоль ползункового средства ввода в режиме представления эскизов. Как показано в 940, отображение диапазона режимов служит альтернативным средством управления для средства управления ползункового типа так, чтобы пользователь мог нажать по параметру по умолчанию, отображенному в меню, чтобы выбрать и режим и установочный параметр одним выбором. Специалист в данной области техники с готовностью оценит, что много альтернативных вариантов осуществления рассмотрены и в пределах данного изобретения.
В случае непрерывного ползункового средства ввода каждое местоположение на ползунковом средстве соответствует дискретному значению (или установочному параметру) в пределах представленного диапазона, например, как процент между 1% и 100%. Каждое значение в этом диапазоне соответствует размеру значка и установке представления. Важно, что диапазон в этом примере не ограничен 100 значениями. Скорее непрерывное ползунковое средство ввода может быть разработано для того, чтобы достигнуть любого уровня степени детализации типа 3,00001% (в противоположность 3% или 3,01%). Кроме того, соотношение между этим значением и размером значка необязательно прямое или линейное. Точка в середине относительно наименьшего эскиза и наибольшего эскиза необязательно приведет к эскизу половинного размера от наибольшего эскиза.
В качестве дополнительного примера диапазон от 41% до 100% может соответствовать представлению эскизов с размерами значков 256-16 пикселей (от большого к малому), и диапазон от 1% к 40% может соответствовать размерам значков 16-96 пикселей (от малого к большому). В пределах диапазона от 1% до 40% поддиапазон от 1% до 10% соответствует представлению подробностей, и поддиапазон от 11% к 40% соответствует представлению плиткой. В этом примере каждый режим представления обрабатывает конкретные варианты размещения. Представление эскизов обрабатывает то, центрирован ли текст под эскизом (для больших эскизов) или выровнен по левой границе рядом с эскизом (маленькие эскизы). Представление подробностей обрабатывает проблемы размещения типа того, как выровнять значок с текстом. Представление плиткой обрабатывает проблемы размещения элементов типа того, сколько строк метаданных должно быть отображено рядом со значком. Для каждого из представлений последнее значение ползунка запоминается независимо для этого диапазона так, чтобы представление было того же самого размера, что и в прошлый раз, когда оно использовалось.
Некоторые точки вдоль ползунка могут инициировать «притягивание». Например, ползунок может быть разработан для того, чтобы притягиваться к 40%-му значению. Может быть невозможно установить ползунок в диапазоне от 41% к 43% или от 37% до 39%, не делая переход ползунка к 40%-й позиции. Множественные местоположения ползунка могут устанавливаться к соответствующим дискретным значениям в диапазоне.
Альтернативные варианты воплощения и осуществления данного изобретения станут очевидными специалистам в данной области техники после обзора описания, включая чертежи. Соответственно, объем данного изобретения определен приложенной формулой изобретения, а не предшествующим описанием.
Формула изобретения
1. Реализуемый в компьютере способ выбора режима представления файлов для окон списков файлов в операционной системе и установочных параметров в пределах этого режима представления файлов для одного или более элементов экранного отображения, причем способ содержит этапы, на которых получают одиночный пользовательский ввод через ползунковое средство управления вводом, указывающий выбор одного из множества доступных режимов представления файлов и также указывающий выбор установочного параметра в пределах выбранного режима представления файлов; устанавливают соответствие одиночного пользовательского ввода выбранному режиму представления файлов, и устанавливают соответствие одиночного пользовательского ввода выбранному установочному параметру в пределах этого режима представления файлов.
2. Способ по п.1, в котором устанавливают соответствие одиночного пользовательского ввода выбранному режиму представления файлов и выбранному установочному параметру по существу одновременно.
3. Графический интерфейс пользователя, воплощенный на одном или более читаемом компьютером носителе и исполняемый на компьютере, причем указанный графический интерфейс пользователя содержит экран отображения для отображения одного или более элементов в одном из множества доступных режимов представления файлов для окон списков файлов в операционной системе, и
ползунковое средство управления вводом, представленное на экране отображения и выполненное с возможностью получения одиночного пользовательского ввода, указывающего как выбранный режим представления файлов, так и выбранный установочный параметр в пределах выбранного режима представления файлов.
4. Графический интерфейс пользователя по п.3, в котором ползунковое средство управления вводом представляет непрерывный спектр установочных параметров для одного или более доступных режимов представления файлов.
5. Графический интерфейс пользователя по п.3, в котором упомянутые один или более элементов представлены на экране отображения одним или более значками, и выбранный установочный параметр определяет размер значка.
6. Графический интерфейс пользователя по п.5, в котором метаданные, соответствующие упомянутому одному или более элементам, отображаются на экране отображения, и выбранный установочный параметр определяет количество метаданных для отображения как функцию размера значка.
7. Графический интерфейс пользователя по п.3, дополнительно содержащий альтернативное средство управления, представленное на экране отображения и выполненное с возможностью получения одиночного пользовательского ввода, указывающего как выбранный режим представления файлов, так и выбранный установочный параметр в пределах выбранного режима представления файлов.
8. Графический интерфейс пользователя по п.7, в котором альтернативное средство управления содержит меню ввода.
9. Графический интерфейс пользователя по п.7, в котором альтернативное средство управления содержит кнопку для пользовательского выбора заданных по умолчанию режима представления файлов и установочного параметра из множества доступных заданных по умолчанию режимов представления файлов и установочных параметров, циклически проходя доступные заданные по умолчанию режимы представления файлов и установочные параметры последовательно в ответ на каждый пользовательский ввод посредством кнопки.
10. Графический интерфейс пользователя по п.9, в котором установочные параметры по умолчанию представлены графическими объектами.
11. Графический интерфейс пользователя по п.10, в котором вид кнопки графически изображает выбранный заданный по умолчанию режим представления файлов.
12. Графический интерфейс пользователя по п.3, в котором множество доступных режимов представления файлов включает в себя по меньшей мере один из следующих режимов представления файлов: список, подробности, свойства, предварительный просмотр, эскизы, расположения плиткой и значки.
13. Графический интерфейс пользователя по п.3, в котором выбранный установочный параметр упорядочивает один или более отображенных элементов по одному из следующего: имя, тип, размер и дата.
14. Графический интерфейс пользователя по п.3, в котором выбранный установочный параметр является одним из множества вариантов выбора размера для одного или более отображаемых элементов.
15. Средство управления в графическом интерфейсе пользователя для пользовательского выбора режима представления файлов для окон списков файлов в операционной системе и установочного параметра в пределах этого режима представления файлов, причем средство управления содержит отображение диапазона установочных параметров, указывающее множество доступных установочных параметров; отображение диапазона режимов, указывающее множество доступных режимов представления файлов, соответствующих множеству доступных установочных параметров, и компонент ползункового ввода, выполненный с возможностью получения одиночного выбора пользователя, указывающего один из доступных установочных параметров и один из доступных режимов представления файлов.
16. Средство управления по п.15, причем средство управления представлено в операционной системе.
17. Средство управления по п.15, причем средство управления представлено в прикладной программе.
18. Средство управления по п.15, причем средство управления представлено в веб-интерфейсе.
19. Устройство для выбора режима представления файлов для окон списков файлов в операционной системе и установочного параметра в пределах этого режима представления файлов для экранного отображения, в котором один или более элементов выполнены с возможностью отображения в множестве режимов представления файлов, причем устройство содержит ползунковое средство управления вводом, представленное в графическом интерфейсе пользователя для получения одиночного ввода пользователя, указывающего как выбранный режим представления файлов, так и выбранный установочный параметр в пределах выбранного режима представления файлов, и используемые компьютером команды для установления соответствия одиночного ввода пользователя выбранному режиму представления файлов и для установления соответствия одиночного ввода пользователя выбранному установочному параметру в пределах этого режима представления файлов.
20. Компьютерная система, сконфигурированная для пользовательского выбора режима представления файлов для окон списков файлов в операционной системе и установочного параметра в пределах этого режима представления файлов для экранного отображения, в которой один или более элементов выполнены с возможностью быть отображенными в множестве режимов представления файлов, причем система содержит средство для одновременного выбора пользователем с помощью ползункового средства управления вводом одного режима представления файлов из множества доступных режимов представления файлов и выбранного установочного параметра в пределах указанного одного режима представления файлов, и средство для применения упомянутого одного режима представления файлов и упомянутого выбранного установочного параметра в ответ на упомянутый одновременный выбор пользователем.
21. Компьютерная система, сконфигурированная для пользовательского выбора режима представления файлов для окон списков файлов в операционной системе и установочного параметра в пределах этого режима представления файлов для экранного отображения, в которой один или более элементов могут быть отображены в множестве режимов представления файлов, причем система содержит средство для получения одиночного ввода пользователя через ползунковое средство управления вводом, идентифицирующее один режим представления файлов из множества доступных режимов представления файлов и выбранный установочный параметр в пределах упомянутого одного режима представления файлов, и средство для применения упомянутого одного режима представления файлов и упомянутого выбранного установочного параметра в ответ на одиночный пользовательский ввод.
22. Средство управления по п.15, в котором размер каждой отображаемой части в отображении диапазона режимов, соответствующей соответствующему одному из доступных режимов представления файлов, основан на числе доступных установочных параметров для соответствующего доступного режима представления файлов и доступных установочных параметров для каждого из доступных режимов представления файлов, отображенных в отображении диапазона режимов, и в котором число доступных установочных параметров отличается в сравнении между по меньшей мере двумя из доступных режимов представления файлов.
23. Средство управления по п.22, в котором размер каждой отображаемой части в отображении диапазона режимов, соответствующей соответствующему одному из доступных режимов представления файлов, является долевой частью отображения диапазона режимов, представленной отношением числа доступных установочных параметров для соответствующего доступного режима представления файлов к доступным установочным параметрам для каждого из доступных режимов представления файлов, отображенных в отображении диапазона режимов, и в котором по меньшей мере две отображенные части в отображении диапазона режимов занимают различные долевые части отображения диапазона режимов.
24. Средство управления по п.22, в котором каждая отображенная часть является значком.
25. Средство управления по п.15, в котором отображение диапазона режимов содержит множество отображенных частей, и каждая отображенная часть, соответствующая соответствующему одному из доступных режимов представления файлов, занимает долевую часть отображения диапазона режимов, на основании отношения числа доступных установочных параметров для соответствующего доступного режима представления файлов к доступным установочным параметрам для каждого из доступных режимов представления файлов, отображенных в отображении диапазона режимов, и в котором по меньшей мере две отображенные части в отображении диапазона режимов занимают различные долевые части отображения диапазона режимов.
26. Средство управления по п.25, в котором отображенная часть является значком.
РИСУНКИ
|
|