|
|
(21), (22) Заявка: 2007131297/09, 16.08.2007
(24) Дата начала отсчета срока действия патента:
16.08.2007
(46) Опубликовано: 20.02.2009
(56) Список документов, цитированных в отчете о поиске:
RU 2131141 C1, 27.05.1999. SU 1260936 A1, 30.09.1986. SU 1410017 A1, 15.07.1988. US 4853697, 01.08.1989. US 5515045 A, 07.05.1996.
Адрес для переписки:
614990, г.Пермь, ул. Букирева, 15, ПГУ пат. пов. А.А. Онорину
|
(72) Автор(ы):
Шиляев Николай Иванович (RU)
(73) Патентообладатель(и):
Государственное образовательное учреждение высшего профессионального образования “Пермский государственный университет” (RU)
|
(54) СПОСОБ ВВОДА ИНФОРМАЦИИ ЧЕРЕЗ ОПТИЧЕСКУЮ КЛАВИАТУРУ И УСТРОЙСТВО ОПТИЧЕСКОЙ КЛАВИАТУРЫ
(57) Реферат:
Изобретение относится к способу ввода информации через оптическую клавиатуру и устройству реализации оптической клавиатуры. Техническим результатом, на достижение которого направлено данное изобретение, является упрощение и расширение функциональных возможностей оптической клавиатуры. Способ ввода информации через оптическую клавиатуру осуществляют путем кодового прерывания светового потока в щелевом световоде на одном участке, а на другом следующем участке при дальнейшем движении клавиши световой поток изменяют пропорционально движению клавиши вниз и вверх на этом участке. Устройство содержит основание с микроканалами, расположенными в виде меандра, и вертикальными прорезями, над которым установлена крышка, имеющая прорези, выполненные соосно с прорезями основания, взаимодействующими с перевернутыми П-образными выступами кодовой пластины, установленной над крышкой на высоте, равной высоте П-образного выступа и опирающейся на параллельные прорезям крышки ее возвышения, на которые опирается кодовая пластина своими перемычками, при этом каждый П-образный выступ для прохождения светового потока имеет горизонтальные кодовые щели разной длины и взаимодействует с каждой клавишей клавиатурной пластины. 2 н. и 4 з.п. ф-лы, 9 ил.
Область техники
Изобретение относится к области информационных технологий, а именно к способу ввода информации через оптическую клавиатуру и устройству оптической клавиатуры для его осуществления.
Уровень техники.
Известно устройство многоцелевой оптической клавиатуры (патент РФ №2131141, МПК G06F 3/023, опубл. 27.05.99 г.). Устройство содержит множество прямоугольных клавиш, верхняя часть которых изготовлена из прозрачного материала и выступает вверх через клавиатуру, неудерживаемая плоской пружиной, расположенной между средней пластиной и фланцем, а вертикальные боковые поверхности изготовлены из непрозрачных материалов, причем каждая из клавиш имеет соответствующий оптический прерыватель, снабженный вышеуказанным фланцем, переднюю пластину клавиатуры со множеством отверстий, выполненных с возможностью установки соответствующих верхних частей клавиш, которые размещены в заранее определенной матрице. Группы фотосоединителей, оптическую направляющую, расположенную между средней пластиной и плоским блоком дисплея, на лицевой стороне которого выполнены изображения знаков, при этом оптический прерывающий блок выполнен из непрозрачного материала, а оптическая направляющая имеет то же расположение, что и отверстия клавиатуры и группы фотосоединителей, содержащих светоизлучающий диод и фототранзистор, расположенных на передней и задней частях и на левой и правой частях клавиатуры, кроме того, оптические направляющие выполнены с возможностью приема всех оптических прерывающих блоков, связанных с верхними частями клавиш, а плоская пружина установлена на средней пластине, имеющей малые отверстия, сформированные с тем же размещением, что и отверстия клавиатуры. Устройство данной клавиатуры достаточно сложно, т.к. берет на себя функции интерфейса программных средств, что значительно удорожает предлагаемый способ ввода информации.
Из патентной литературы известна заявка на патент РФ №2001118853, МПК G06F 3/023, опубл. 20.07.03 г. (прототип как для способа, так и для устройства), в которой описывается устройство малой клавиатуры для различных малогабаритных приборов и других интерфейсных устройств, которое использует оптические методы регистрации при нажатии, наклоне, повороте, вращении, смещении соответствующих элементов ввода действий оператора.
Данное устройство также достаточно сложно, т.к. использует на каждую клавишу как максимум 3 комплекта пар излучатель света/приемник света с использованием только принципа его прерывания (0,1) и формирования на этой основе локального кода символа или пошаговой функции.
Сущность изобретения
Задачей создания изобретения является разработка простого и надежного способа ввода информации через оптическую клавиатуру и устройства для его реализации.
Поставленная задача решается с помощью признаков, указанных в 1-м пункте формулы изобретения, таких как способ ввода информации через оптическую клавиатуру, заключающийся в том, что определение кода нажатой клавиши осуществляют путем кодового прерывания светового потока в щелевом световоде на одном участке, а на другом следующем участке при дальнейшем движении клавиши световой поток изменяют пропорционально движению клавиши вниз и вверх на этом участке.
Поставленная задача решается с помощью признаков, указанных во 2-м пункте формулы изобретения, общих с прототипом, таких как устройство оптической клавиатуры, в котором элемент управления при приведении вручную в действие оператором обеспечивает выполнение по меньшей мере двух функциональных команд, при этом различные положения элемента управления идентифицируются с помощью оптических индикаторов с использованием источника и приемника света, и отличительных существенных признаков, таких как устройство содержит основание с микроканалами, расположенными в виде меандра, и вертикальными прорезями, над которым установлена крышка, имеющая прорези, выполненные соосно с прорезями основания, взаимодействующими с перевернутыми П-образными выступами кодовой пластины, установленной над крышкой на высоте, равной высоте П-образного выступа, и опирающейся на параллельные прорезям крышки ее возвышения, на которые опирается кодовая пластина своими перемычками, при этом каждый П-образный выступ для прохождения светового потока имеет горизонтальные кодовые щели разной длины и взаимодействует с каждой клавишей клавиатурной пластины.
Согласно пункту 3 формулы микроканал основания и внутренняя поверхность крышки имеют покрытие со светоотражающими свойствами и вместе образуют щелевой световод.
Согласно пункту 4 кодовая пластина имеет гофрированную поверхность, на которой расположены ряды П-образных выступов, связанных между собой гофрами, а между рядами – перемычками, при этом на левой стороне П-образного выступа выполнено большое окно, а на правой – кодовые щели разной длины и выше которых размещено малое окно, которое выполнено в виде трапеции, при этом высота кодовых щелей равна толщине щелевого световода, а верхние части большого и малого окон находятся на одном уровне.
Согласно пункту 5 формулы каждая клавиша, являющаяся частью клавиатурной пластины, имеет гофрированный ободок, расположенный в зоне, вокруг клавиши, а в нижней части – выступ для взаимодействия с П-образным выступом с верхней стороны кодовой пластины.
Согласно пункту 6 формулы при выполнении кодовой пластины из прозрачного материала, кодовые щели выполнены в виде штрихкодовых линий на одной из сторон П-образного выступа.
Технический результат от использования изобретения – упрощение устройства и расширение функциональных возможностей клавиатуры. Автором предлагается клавиатура с кодовым прерыванием света от одного излучателя света и с одним его приемником, которые также могут располагаться вне клавиатуры, что значительно упрощает устройство и стоимость клавиатуры. При этом клавиатура может быть с любым количеством клавиш и любым их расположением. Также добавляются новые функции, которые недоступны в существующих клавиатурах.
Изобретение иллюстрируется следующими чертежами.
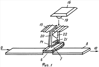
На фиг.1 схематично показано расположение всех элементов устройства для одной клавиши; на фиг.2 – основание; на фиг.3 – крышка; на фиг.4 – кодовая пластина; на фиг.5 – клавиатурная пластина; на фиг.6 – П-образные выступы; на фиг.7 – клавиша; на фиг.8 – график последовательности оптически сигналов; на фиг.9 – вид правой стороны П-образного выступа.
Оптическая клавиатура имеет конструкцию (фиг.1), состоящую из 4 основных частей: 1-й части – основания (1), 2-й части – крышки (2), 3-й части – кодовой пластины (3), 4-й части – клавиатурной пластины (4).
Основание 1 (фиг.2) имеет с верхней стороны микроканал 5, расположенный в виде меандра. Через определенный шаг микроканал имеет прорези 6, пересекающие его в виде узких углублений.
Сверху основания располагается крышка 2 (фиг.3) с соосно расположенными прорезями 7 того же размера, что и в основании 1. Верхняя поверхность основания и нижняя поверхность крышки выполнены из светоотражающего материала или имеют зеркальную поверхность, поэтому при совмещении они совместно образуют щелевой световод 8, который имеет вход 9 для ввода излучения и выход 10 для индикации излучения. Верхняя часть крышки имеет возвышения 11 параллельные прорезям 7.
Над крышкой располагается кодовая пластина 3 (фиг.4), которая опирается на возвышения крышки 11 перемычками 12, соединяющими ряды 13 кодовой пластины 3. Кодовая пластина имеет на нижней стороне перевернутые П-образные выступы 14, объединенные через гофры 15 в ряды 13 (фиг.6). Каждая нижняя часть П-образного выступа 14 кодовой пластины 3 располагается внутри прорезей 7, но выше прорезей 6 основания 1, т.е. над щелевым световодом 8. Над кодовой пластиной 3 находится клавиатурная пластина 4 (фиг.5) с клавишами 16, имеющими вокруг себя в зоне 17 гофр 18 для создания возможности движения клавиши перпендикулярно вниз при нажатии на нее (фиг.7). Каждая клавиша в нижней части имеет выступ 19, который соприкасается с верхней частью П-образного выступа 14.
При нажатии на клавишу 16 выступ 19 давит на верхнюю часть П-образного выступа 14, при этом нижняя часть П-образного выступа 14, находящаяся до этого в прорези 7, перекрывает щелевой световод 8 через соответствующую прорезь 6 основания 1 (фиг.1). Левая часть П-образного выступа 14 имеет большое окно 20 для непрерывного пропуска света при движении его через прорези 6 и 7 и щелевой световод 8 при нажатии на клавишу 16. Правая часть П-образного выступа 14 имеет в нижней части кодовые щели 21, выше которых располагается малое окно 22 (фиг.6). Верхние части большого и малого окон находятся на одном уровне. Между кодовой пластиной 3 и клавиатурной пластиной 4 может быть расположена дополнительная пластина в виде гофрированной пружины для подпружинивания клавиш (на чертеже не показана).
Предлагаемая клавиатура может использоваться в двух вариантах:
1) когда электронная часть (схема преобразования оптических сигналов вместе с парой излучатель света – приемник света) находятся в системном блоке или входят в состав разъема подключенного через порт USB-2;
2) когда электронная часть находится внутри клавиатуры в виде небольшой микроплаты.
Устройство работает следующим образом.
Известно, что при нажатии на клавишу происходит формирование кода данной клавиши и запись его в буфер компьютера, в выделенную область оперативной памяти с определенной вместимостью. Код формируется специальной микросхемой – контроллером клавиатуры.
В предлагаемой клавиатуре код создается каждой клавишей в процессе нажатия на нее, т.е. происходит кодовое прерывание света при прохождении П-образного выступа 14 через прорези 7 и 6 щелевого световода 8. При этом образуется последовательность оптических сигналов в виде пачек импульсов света (фиг.8), имеющих разную амплитуду (два типа амплитуд, соответствующих 0 или 1) в случае непрозрачного материала и инверсию пачки импульсов в случае прозрачного материала, т.е. скважность импульсов. Число импульсов в пачке равно 8, что соответствует байту и используется во всех клавиатурах. Для записи кода клавиши (1 байта) в оперативную память, необходимо последовательность импульсов преобразовать в соответствующий формат байта, что осуществляется программно соответствующим драйвером данной клавиатуры. При нажатии на клавишу а) и ее отжатии г) фиг.8 последовательность импульсов или скважность инвертируются по направлению этой последовательности, поэтому программа-драйвер должна различать эту инверсию, блокируя последнюю, или же ее использовать, когда необходимо нажать одновременно несколько клавиш (например, Shift + символ). Также, это свойство можно использовать для расширения пользовательских функций. Например, если малое окно 22 сделать в виде трапеции 25 (фиг.9), то при движении треугольного участка б) через прорезь 6 щелевого световода 8 ток (напряжение) в приемнике света 10 будет изменяться пропорционально (возрастать на участке б) при движении клавиши 16 вниз или уменьшаться при движении клавиши вверх – участок в) (фиг.8). Т.о. используя движение клавиши на участке б), в), можно реализовать такие функции, как колесико на мыши при просмотре документов с гораздо меньшими усилиями (не нужно вращать); увеличение или уменьшение масштаба (не нужно двигать мышь в сторону); упростить многие рутинные операции при использовании мыши (захват объектов, назначение свойств и многое другое). При неполных нажатиях на клавиши или случайных одновременных нажатиях на несколько клавиш программа-драйвер аннулирует их, т.е. нормально воспринимаются только полные нажатия и отжатия клавиш, что позволяет адекватно воспринимать команды оператора. Таким образом, определение кода нажатой клавиши осуществляют путем кодового прерывания светового потока в щелевом световоде на одном участке правой стороны П-образного выступа, а на другом следующем участке при дальнейшем движении клавиши световой поток изменяют пропорционально движению клавиши вниз и вверх на этом участке.
Алгоритм работы клавиатуры:
1. В начальном состоянии излучатель света и приемник включены (свет входит в щелевой световод 8 через вход 9 и выходит из щелевого световода 8 через выход 10 на индикацию фиг.1), на выходе приемника постоянно находится сигнал 1, соответствующий участку 23 фиг.8.
2. При нажатии на выбранную клавишу 16 фиг.1 ее нижняя выпуклая часть 19 смещает П-образный выступ 14 вниз через прорезь 7 крышки 2 фиг.3 и далее через прорезь 6 основания 1 фиг.2, пересекая нижней частью П-образного выступа световой поток в щелевом световоде 8 и выдавая на выходе приемника сигнал 0.
3. При появлении первой кодовой щели в правой части П-образного выступа на участке а) фиг.8 появляется импульс длинный (1) или короткий (0) в зависимости от длины кодовой щели в данной позиции и, давая на выходе приемника после преобразования 0 или 1.
4. После 1-й кодовой щели свет снова перекрывается, давая на выходе приемника сигнал 0.
5. При появлении 2-й щели повторяется п.3 и так далее 8 раз (по числу бит в байте).
6. При дальнейшем движении П-образного выступа щелевой световод пересекают большое окно 20 и малое окно 22, давая на выходе сигнал 1 (участок 23 фиг.8).
7. Далее при отжатии клавиши все повторяется в обратном порядке от п.6 до п.2, т.е. мы получаем обратную последовательность импульсов.
8. После получения обратной последовательности импульсов кода нажатой клавиши, программа-драйвер выдает в буфер символов код данной клавиши.
9. Если клавиша не отжата и далее нажата другая клавиша, то программа-драйвер выдает в буфер комбинацию клавиш для реализации какой-то функции.
10. В случае использования участка, следующего после кодового, при дальнейшем движении клавиши вверх (вниз) на этом участке 24 световой поток изменяется пропорционально (участок б, в, фиг.8, 9), что позволяет реализовать специальные функции пользователем.
Формула изобретения
1. Способ ввода информации через оптическую клавиатуру, отличающийся тем, что определение кода нажатой клавиши осуществляют путем кодового прерывания светового потока в щелевом световоде на одном участке, а на другом следующем участке при дальнейшем движении клавиши световой поток изменяют пропорционально движению клавиши вниз и вверх на этом участке.
2. Устройство оптической клавиатуры, в котором элемент управления при приведении вручную в действие оператором обеспечивает выполнение по меньшей мере двух функциональных команд, при этом различные положения элемента управления идентифицируются с помощью оптических индикаторов с использованием источника и приемника света, отличающееся тем, что оно содержит основание с микроканалами, расположенными в виде меандра, и вертикальными прорезями, над которым установлена крышка, имеющая прорези, выполненные соосно с прорезями основания, взаимодействующими с перевернутыми П-образными выступами кодовой пластины, установленной над крышкой на высоте, равной высоте П-образного выступа и опирающейся на параллельные прорезям крышки ее возвышения, на которые опирается кодовая пластина своими перемычками, при этом каждый П-образный выступ для прохождения светового потока имеет горизонтальные кодовые щели разной длины и взаимодействует с каждой клавишей клавиатурной пластины.
3. Устройство по п.2, отличающееся тем, что микроканал основания и внутренняя поверхность крышки имеют покрытие со светоотражающими свойствами и вместе образуют щелевой световод.
4. Устройство по п.2, отличающееся тем, что кодовая пластина имеет гофрированную поверхность, на которой расположены ряды П-образных выступов связанных между собой гофрами, а между рядами -перемычками, при этом на левой стороне П-образного выступа выполнено большое окно, а на правой – кодовые щели разной длины и выше которых размещено малое окно, выполненое в виде трапеции, при этом высота кодовых щелей равна толщине щелевого световода, а верхние части большого и малого окон находятся на одном уровне.
5. Устройство по п.2, отличающееся тем, что каждая клавиша, являющаяся частью клавиатурной пластины, имеет гофрированный ободок, расположенный в зоне, вокруг клавиши, а в нижней части – выступ для взаимодействия с П-образным выступом с верхней стороны кодовой пластины.
6. Устройство по п.2, отличающееся тем, что при выполнении кодовой пластины из прозрачного материала кодовые щели выполнены в виде штрихкодовых линий на одной из сторон П-образного выступа.
РИСУНКИ
|
|