|
|
(21), (22) Заявка: 2007112213/28, 22.03.2007
(24) Дата начала отсчета срока действия патента:
22.03.2007
(43) Дата публикации заявки: 27.09.2008
(46) Опубликовано: 20.02.2009
(56) Список документов, цитированных в отчете о поиске:
RU 2251668 С2, 27.01.2004. RU 93027735 А, 19.06.1995. RU 2158918 C2,10.11.2000. SU 1087852 A, 23.04.1984. SU 559161 А1, 25.05.1977. US 5406609 А, 11.04.1995. US 5914997 А, 22.06.1999. US 4649557 А, 10.03.1987.
Адрес для переписки:
420012, г.Казань, ул. Чехова, 8/2, кв.21, К.Ю. Нагулину
|
(72) Автор(ы):
Гильмутдинов Альберт Харисович (RU), Нагулин Константин Юрьевич (RU)
(73) Патентообладатель(и):
Гильмутдинов Альберт Харисович (RU), Нагулин Константин Юрьевич (RU)
|
(54) СПЕКТРОМЕТР
(57) Реферат:
Использование: для качественного и количественного определения химического состава веществ. Сущность: заключается в том, что спектрометр включает последовательно расположенные осветитель с источником линейчатого и сплошного излучения, отсек для образцов, в который может быть установлена одна из взаимозаменяемых ячеек для образца – атомизатор, кювета, держатель твердых образцов, диспергирующий узел и позиционно-чувствительный фотоприемник, способный менять свою ориентацию относительно направления дисперсии диспергирующего узла, при этом для обеспечения возбуждения спектров флуоресценции монохроматическим излучением с плавно изменяемой длиной волны в отсеке для образцов расположена ячейка, содержащая поворотную дифракционную решетку с отсчетным механизмом, выходную щель с регулируемой шириной, кювету с исследуемым веществом и объектив, при этом излучение источника со сплошным спектром посредством объектива осветительной схемы проецируется на поворотную дифракционную решетку с отсчетным механизмом, разворачивающим данную дифракционную решетку, дифрагированное монохроматическое излучение выделяется выходной щелью и попадает в кювету, возбуждая флуоресценцию исследуемого вещества, излучение флуоресценции исследуемого вещества объективом ячейки и объективом осветительной системы переносится на входную регулируемую по ширине щель диспергирующего узла. Технический результат: расширение функциональных возможностей спектрометра в режиме флуоресцентного анализатора без изменений в оптической схеме осветителя спектрометра, повышение точности и правильности флуоресцентного анализа. 2 табл., 5 ил.
Изобретение относится к оптике. Может найти применение для качественного и количественного контроля химического состава и физико-химических свойств газообразных, жидких и твердых веществ, а также в качестве учебного оборудования для подготовки специалистов в области спектрального анализа.
Известны люминесцентные фотометры, позволяющие измерять интенсивность люминесценции различных элементов и веществ [1, 2]. Для возбуждения люминесценции применяют излучение источника сплошного спектра, предварительно монохроматизированное с помощью светофильтров. Недостатком подобных устройств является невозможность измерения спектров возбуждения люминесценции, а также ограниченный выбор спектральных интервалов возбуждающего излучения, что может привести к неоптимальному возбуждению спектров люминесценции и, следовательно, к снижению чувствительности и правильности анализа.
Известен люминесцентный спектрометр СДЛ-1 [3], в котором выделение спектрального интервала возбуждающего излучения производится с помощью дифракционного монохроматора, состоящего из входной щели, коллиматорного зеркала, плоской дифракционной решетки, камерного зеркала и выходной щели. Такой спектрометр позволяет регистрировать не только спектры излучения люминесценции, но и спектры возбуждения люминесценции, что особенно важно при анализе веществ с неизвестными полосами возбуждения и в целях обучения. Недостатком прибора является сложность оптической схемы и значительные потери излучения на большом количестве оптических элементов. Сложная оптическая схема монохроматора возбуждения не позволяет применять ее в универсальных спектрометрах, реализующих несколько различных методов спектрального анализа вещества.
Наиболее близким к предлагаемому изобретению является универсальный спектрометр [4], в котором на единой оптико-механической платформе реализованы возможности проведения атомно-абсорбционных и атомно-эмиссионных измерений, флуоресценции, спектров поглощения, рассеяния, отражения и люминесценции жидких, твердых и газообразных веществ. Оптическая система спектрометра [3] выполнена путем последовательного расположения осветителя, отсека для образцов, диспергирующего узла (полихроматора) и позиционно-чувствительного фотоприемника, способного располагаться вдоль или поперек дисперсии полихроматора. Осветитель выполнен перестраиваемым в зависимости от вида измерения, в отсек для образцов установлена одна из взаимозаменяемых ячеек для образца – атомизатор, кювета и держатель твердых образцов. Недостатком устройства [3] является использование для возбуждения спектров люминесценции анализируемого вещества немонохроматического излучения от источника сплошного спектра. Это может привести к погрешностям при флуоресцентных измерениях, снижению чувствительности и невозможности регистрации спектров возбуждения люминесценции. Облучение исследуемой пробы ультрафиолетовым излучением в широком спектральном интервале может вызвать изменения ее химического состава или структуры. Ограниченность набора спектральных линий при использовании линейчатого источника спектра также исключает возможность оптимизации условий возбуждения люминесценции.
Целью предлагаемого изобретения является расширение функциональных возможностей спектрометра [3] в режиме флуоресцентного анализатора без изменений в оптической схеме осветителя спектрометра, повышение точности и правильности флуоресцентного анализа.
Цель достигается тем, что в спектрометре, включающем последовательно расположенные осветитель с источником линейчатого и сплошного излучения, отсек для образцов, в который может быть установлена одна из взаимозаменяемых ячеек для образца – атомизатор, кювета, держатель твердых образцов, диспергирующий узел и позиционно-чувствительный фотоприемник, способный менять свою ориентацию относительно направления дисперсии диспергирующего узла, в отсеке для образцов расположена ячейка, содержащая поворотную дифракционную решетку с отсчетным механизмом, выходную щель с регулируемой шириной, кювету с исследуемым веществом и объектив, при этом излучение источника со сплошным спектром посредством объектива осветительной системы проецируется на поворотную дифракционную решетку с отсчетным механизмом, разворачивающим данную дифракционную решетку, дифрагированное монохроматическое излучение выделяется выходной щелью и попадает в кювету, возбуждая флуоресценцию исследуемого вещества, излучение флуоресценции исследуемого вещества объективом ячейки и объективом осветительной системы переносится на входную регулируемую по ширине щель диспергирующего узла.
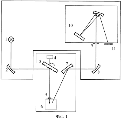
На Фиг.1 схематично показано предлагаемое устройство в режиме флуоресцентного анализатора.
Спектрометр в режиме флуоресцентного анализатора работает следующим образом. В осветителе включают источник сплошного спектра. Излучение источника со сплошным спектром 1 посредством объектива 2 осветительной схемы проецируется на поворотную дифракционную решетку 3 с отсчетным механизмом 4. Дифрагированное монохроматическое излучение выделяется выходной щелью 5 и попадает в кювету 6, возбуждая флуоресценцию исследуемого вещества. Дифракционная решетка работает в сходящемся пучке, который формируется в кюветном отделении осветительной системой. Для изменения длины волны возбуждения дифракционная решетка способна поворачиваться. В табл.1 в качестве примера приведены значения углов падения излучения на дифракционную решетку и углов дифракции для спектрального интервала от 200 нм до 400 нм при использовании дифракционной решетки 600 штр/мм.
Излучение флуоресценции исследуемого вещества объективом ячейки 7 и объективом осветительной системы 8 переносится на входную щель 9 с регулируемой шириной. Выделенное диспергирующим узлом 10 излучение попадает на позиционно-чувствительный фотоприемник 11. При ориентации фотоприемника 11 вдоль направления дисперсии диспергирующего узла 10 фотоприемник 11 регистрирует зависимость интенсивности излучения от его длины волны. При ориентации фотоприемника 11 поперек направления дисперсии диспергирующего узла 10 фотоприемник 11 регистрирует пространственное распределение интенсивности излучения вдоль направления ножей входной щели 9 на одной длине волны. Поскольку оптическая система ячейки содержит небольшое количество оптических элементов, потери излучения невелики.
Измерения спектров флуоресценции с использованием предлагаемого спектрометра выполняют, например, следующим образом. В кюветное отделение спектрометра устанавливается ячейка, содержащая поворотную дифракционную решетку с отсчетным механизмом, выходную щель, кювету с исследуемым веществом и объектив. По отсчетному механизму дифракционной решетки выставляют необходимую длину волны возбуждения спектров флуоресценции. Включают штатный источник сплошного излучения 1 спектрофотометра. Изменяя с помощью штатного диспергирующего узла 10 спектрометра длину волны, регистрируют фотоприемником 11 зависимость интенсивности излучения флуоресценции исследуемого вещества от длины волны.
Измерения спектров возбуждения флуоресценции с использованием предлагаемого спектрометра выполняют, например, следующим образом. В кюветное отделение спектрометра устанавливается ячейка, содержащая поворотную дифракционную решетку с отсчетным механизмом, выходную щель, кювету с исследуемым веществом и объектив. Включают штатный источник сплошного излучения 1 спектрофотометра. Диспергирующий узел 10 спектрометра настраивают на длину волны максимума излучения флуоресценции исследуемого вещества. Меняя длину волны возбуждения флуоресценции путем разворота дифракционной решетки 3 с помощью отсчетного механизма 4 регистрируют фотоприемником 11 зависимость интенсивности флуоресценции от длины волны возбуждающего излучения. Расположение фотоприемника 11 вдоль или поперек дисперсии диспергирующего узла 10 позволяет регистрировать флуоресценцию пробы со спектральным или пространственным разрешением соответственно.
Таким образом, введение предварительной монохроматизации возбуждающего излучения расширяет функциональные возможности прототипа, повышает точность и правильность флуоресцентного анализа. Необходимо отметить, что для проведения флуоресцентных измерений в предложенном спектрометре не требуется изменения оптической системы спектрометра, предназначенного для атомно-абсорбционных/эмиссионных измерений и спектрофотометрии.
На Фиг.2 схематично показано предлагаемое устройство в режимах атомно-абсорбционного/эмиссионного анализатора или спектрофотометра.
Спектрометр в режиме атомно-абсорбционного анализатора с коррекцией неселективного поглощения работает следующим образом (см. Фиг.2). В осветителе поочередно с частотой модуляции (модулятор на фигуре не показан) включаются источники излучения сплошного 1 и линейчатого 2 спектра. Изображения светящихся тел источников 1 и 2 совмещаются, например полупрозрачным зеркалом 3 и объективом 4 осветительной схемы проецируется в центр кюветного отделения, где расположен атомизатор 5, далее объективом 6 изображение светящихся тел источников 1, 2 и центральной зоны атомизатора 5 строятся в плоскости входной щели 7 с регулируемой шириной. Выделенное диспергирующим узлом 8 излучение попадает на позиционно-чувствительный фотоприемник 9. При ориентации фотоприемника 9 вдоль направления дисперсии диспергирующего узла 8 фотоприемник регистрирует зависимость интенсивности излучения, прошедшего атомизатор, от длины волны. При ориентации фотоприемника 9 поперек направления дисперсии диспергирующего узла 8 фотоприемник регистрирует пространственное распределение интенсивности излучения, прошедшего атомизатор, вдоль направления ножей входной щели 7 на одной длине волны. Измеряя интенсивность излучения, прошедшего атомизатор, до начала атомизации и в процессе атомизации анализируемой пробы, вычисляют величину атомного поглощения. Учет пространственных неоднородностей селективно и неселективно поглощающих паров в атомизаторе устраняет погрешность аналитического сигнала и повышает достоверность измерения атомной абсорбции.
Спектрометр в режиме атомно-эмиссионного анализатора работает следующим образом (см. Фиг.2). В осветителе источники сплошного 1 и линейчатого 2 спектра отключены. Изображение центральной зоны атомизатора 5, расположенного в кюветном отделении спектрометра, объективом 6 строится в плоскости входной щели 7 с регулируемой шириной. Выделенное диспергирующим узлом 8 излучение атомов в атомизаторе 5 попадает на позиционно-чувствительный фотоприемник 9. При ориентации фотоприемника 9 вдоль направления дисперсии диспергирующего узла 8 фотоприемник регистрирует зависимость интенсивности излучения атомов анализируемого вещества от длины волны. При ориентации фотоприемника 9 поперек направления дисперсии диспергирующего узла 8 фотоприемник регистрирует пространственное распределение интенсивности излучения атомов анализируемого вещества вдоль направления ножей входной щели 7 на одной длине волны. Измеряя интенсивность излучения атомов анализируемого вещества до начала атомизации и в процессе атомизации исследуемой пробы, вычисляют величину атомной эмиссии. Учет пространственных неоднородностей излучающих паров в атомизаторе устраняет погрешность аналитического сигнала и повышает достоверность измерения атомной эмиссии.
Предлагаемое устройство в режиме спектрофотометра работает следующим образом (см. Фиг.2). В осветителе включается источник сплошного спектра 1. Изображение светящегося тела источника 1 объективом 4 осветительной схемы проецируется в центр кюветного отделения спектрометра, где расположена кювета 5 с жидкой или газообразной пробой или держатель твердых образцов, далее объективом 6 изображение светящегося тела источника 1 и центральной зоны кюветы 5 строятся в плоскости входной щели 7 с регулируемой шириной. Выделенное диспергирующим узлом 8 излучение попадает на позиционно-чувствительный фотоприемник 9. При ориентации фотоприемника 9 вдоль направления дисперсии диспергирующего узла 8 фотоприемник регистрирует зависимость интенсивности прошедшего кювету излучения от его длины волны. При ориентации фотоприемника 9 поперек направления дисперсии диспергирующего узла 8 фотоприемник регистрирует пространственное распределение интенсивности прошедшего кювету излучения вдоль направления ножей входной щели 7 на одной длине волны. Измеряя интенсивность прошедшего излучения через пустую и заполненную исследуемым веществом кювету, вычисляют величину пропускания или поглощения. Учет пространственных неоднородностей излучения источника, а также поглощающих свойств кюветы и исследуемого образца устраняет погрешность аналитического сигнала и повышает достоверность измерения поглощательной способности.
Предлагаемый спектрометр не является простой суперпозицией нескольких отдельных известных приборов, реализующих заявленные свойства и характеристики. Спектрометр сконструирован таким образом, что переход от одного спектроаналитического метода к другому не требует изменений и подстройки оптической схемы, а сводится к замене функционально законченных модулей, устанавливаемых в отсек атомизатора. При этом большая часть оптических элементов, механических узлов и электронных блоков базового спектрофотометра являются универсальными, т.е. используются во всех режимах работы. На Фиг.3-5 представлены фотографии макета универсального спектрометра в качестве атомно-абсорбционного спектрометра/пламенного фотометра (Фиг.3), сканирующего спектрофотометра ультрафиолетового, видимого и ближнего инфракрасного спектрофотомера (Фиг.4) и спектрополяриметра (Фиг.5). Единая базовая оптическая схема, система регистрации и управляющая и обрабатывающая программы обеспечивают единство условий проведения измерений, унификацию метрологических характеристик и снижение себестоимости сложного спектрохимического анализа. Так, совокупная стоимость функциональных аналогов составляет порядка двух млн. руб., что в два раза меньше стоимости предлагаемого спектрометра.
Новизна предлагаемого изобретения доказывается путем проведения сопоставительного анализа его аналогов и прототипа, представленного в Приложении 1. Изобретение, не ухудшая характеристик и функциональных возможностей прототипа, расширяет список применяемых методов спектрального анализа вещества за счет проведения люминесцентного анализа.
Полезность применения предлагаемого изобретения подтверждает, например, возможность применения с предлагаемым спектрометром тестированных методик контроля содержания в природных, питьевых и сточных водах, воздухе и почвах металлов, нефтепродуктов, нитратов и др., а также определение содержания витаминов и исследования биожидкостей. Широкий спектр реализуемых аналитических методов, малая себестоимость и габариты дают существенную экономию при комплектации таким спектрометром небольших стационарных и мобильных аналитических лабораторий. Возможность исследования спектров возбуждения флуоресценции с помощью предлагаемого спектрометра раскрывает перспективы его использования в исследовательских целях и для подготовки специалистов-аналитиков в ВУЗах.
Список литературы
1. Левшин Л.В., Салецкий A.M. Люминесценция и ее измерение. – Изд. Московского университета, 1989, с.175-177.
2. Пат. Российской Федерации 2080568, МПК7 G01J 1/58, G01N 21/64, Люминесцентный фотометр/ Могилевский А.Н., Фабелинский Ю.И.; заявка №93055243/25; заявл. 1993.12.16, опубл. 1997.05.27. – 3 с.:2 ил.
3. Люминесцентный спектрометр СДЛ-2. Техническое описание.
4. Пат. Российской Федерации 2251668, МПК7 G01J 3/28, Спектрометр/ Гильмутдинов А.Х., Захаров Ю.А.; заявка №2002116133; заявл. 2002.06.19, опубл. 2005.05.05. – 6 с.:ил.
| Таблица 1 |
| Длина волны, нм |
Угол падения, град |
Угол дифракции, град |
| 409 |
55 |
35 |
| 369 |
54 |
36 |
| 328 |
53 |
37 |
| 287 |
52 |
38 |
| 246 |
51 |
39 |
| 205 |
50 |
40 |
Таблица 2 Сопоставительный анализ аналогов |
| Заявляемые технические решения |
Прототип Спектрометр [4] |
Аналог 1 Люминесцентный фотометр [1,2] |
Аналог 2 Люминесцентный спектрометр [3] |
| Проведение измерений атомной абсорбции при атомизации в пламени |
+ |
– |
– |
| Фотометрирование пламени |
+ |
– |
– |
| Регистрация спектров поглощения, пропускания в ультрафиолетовой, видимой и ближней инфракрасной части спектра |
+ |
– |
– |
| Исследование оптически активных сред путем регистрации вращения плоскости поляризации |
+ |
– |
– |
| Возможность разворота фотоприемника для регистрации излучения со спектральным и пространственным разрешением |
+ |
– |
– |
| Регистрация спектров возбуждения флуоресценции |
– |
– |
+ |
| Возможность изменения условий возбуждения спектра флуоресценции |
– |
Ограничена набором используемых светофильтров |
+ |
| Регистрация спектров люминесценции и флуоресценции |
– |
+ |
+ |
| Многофункциональность |
+ |
– |
– |
| Возможность быстрой смены конфигурации прибора |
+ |
– |
– |
Формула изобретения
Спектрометр, включающий последовательно расположенные осветитель с источником линейчатого и сплошного излучения, отсек для образцов, в который может быть установлена одна из взаимозаменяемых ячеек для образца – атомизатор, кювета, держатель твердых образцов, диспергирующий узел и позиционно-чувствительный фотоприемник, способный менять свою ориентацию относительно направления дисперсии диспергирующего узла, отличающийся тем, что для обеспечения возбуждения спектров флуоресценции монохроматическим излучением с плавно изменяемой длиной волны в отсеке для образцов расположена ячейка, содержащая поворотную дифракционную решетку с отсчетным механизмом, выходную щель с регулируемой шириной, кювету с исследуемым веществом и объектив, при этом излучение источника со сплошным спектром посредством объектива осветительной схемы проецируется на поворотную дифракционную решетку с отсчетным механизмом, разворачивающим данную дифракционную решетку, дифрагированное монохроматическое излучение выделяется выходной щелью и попадает в кювету, возбуждая флуоресценцию исследуемого вещества, излучение флуоресценции исследуемого вещества объективом ячейки и объективом осветительной системы переносится на входную регулируемую по ширине щель диспергирующего узла.
РИСУНКИ
|
|