|
|
(21), (22) Заявка: 2007120926/06, 04.06.2007
(24) Дата начала отсчета срока действия патента:
04.06.2007
(46) Опубликовано: 20.02.2009
(56) Список документов, цитированных в отчете о поиске:
RU 2201562 С2, 17.03.2003. RU 2290573 C1, 27.12.2006. RU 2293931 C1, 20.02.2007. RU 2235950 С2, 10.09.2004. US 5188090 A, 10.06.2006.
Адрес для переписки:
601900, Владимирская обл., г. Ковров, ул. Труда, 4, ОАО “Завод им. В.А. Дегтярева”, ОПЛИР
|
(72) Автор(ы):
Маринин Михаил Геннадьевич (RU), Мосалев Сергей Михайлович (RU), Наумов Виктор Иванович (RU), Сыса Виктор Павлович (RU)
(73) Патентообладатель(и):
Открытое акционерное общество “Завод им. В.А. Дегтярева” (RU)
|
(54) ПРОТОЧНЫЙ НАГРЕВАТЕЛЬ РОТОРНОГО ТИПА
(57) Реферат:
Проточный нагреватель роторного типа относится к теплотехнике и может быть использован для тепло- и горячего водоснабжения объектов промышленного и бытового назначения. Нагреватель содержит неподвижный корпус с цилиндрической полостью, в стенках которого выполнены входной и выходной каналы и два отверстия перепускного канала. В цилиндрической полости корпуса с зазором установлен ротор, закрепленный на валу электродвигателя и выполненный в виде диска с радиальными рядами отверстий, расположенных напротив глухих отверстий, выполненных на противолежащих поверхностях корпуса. Кроме того, в корпусе выполнена вторая цилиндрическая полость, а ротор снабжен вторым диском, размещенным с зазором во второй цилиндрической полости корпуса. Во второй полости корпуса на противолежащих поверхностях и на втором диске ротора выполнены сквозные отверстия, аналогичные отверстиям, выполненным в первой полости корпуса и первом диске ротора. Обе полости корпуса соединены между собой перепускным каналом, одно отверстие которого размещено на периферии первой полости корпуса, а второе – по центру второй полости корпуса. Входной канал размещен по центру первой полости корпуса, а выходной канал – на периферии второй полости корпуса. Изобретение позволяет повысить эффективность нагревателя. 1 з.п. ф-лы, 1 ил.
Изобретение относится к теплотехнике, а именно к устройствам, содержащим вращающиеся элементы для нагревания текучих сред, и может быть использовано для нагрева жидкости в жилищно-коммунальном хозяйстве, в промышленности и в бытовых условиях.
Известно устройство для нагрева жидкости, принятое за прототип (см патент RU 2290573, МПК F24J 3/00, публ. 27.12.06 г. Бюл. N36). Устройство для нагрева жидкости содержит неподвижный корпус с цилиндрической полостью, в стенках которого выполнены входной канал, выходной канал и два отверстия перепускного канала, а также установленный с зазором в цилиндрической полости корпуса ротор, закрепленный на валу электродвигателя и выполненный в виде диска с радиальными рядами глухих отверстий, расположенных напротив глухих отверстий, выполненных на противолежащих поверхностях корпуса.
Недостатком прототипа является недостаточная теплопроизводительность, недостаточное использование функциональных возможностей устройства.
Предлагаемым изобретением решается задача сокращения энергозатрат при проточном нагревании жидкости.
Технический результат, получаемый при осуществлении изобретения, заключается в повышении эффективности нагревательного устройства.
Указанный технический результат достигается тем, что в предлагаемом проточном нагревателе роторного типа, содержащем неподвижный корпус с цилиндрической полостью, в стенках которого выполнены входной канал, выходной канал и два отверстия перепускного канала, а также установленный с зазором в цилиндрической полости корпуса ротор, закрепленный на валу электродвигателя и выполненный в виде диска с радиальными рядами отверстий, расположенных напротив глухих отверстий, выполненных на противолежащих поверхностях корпуса, новым является то, что в корпусе выполнена вторая цилиндрическая полость, а ротор снабжен вторым диском, размещенным с зазором во второй цилиндрической полости корпуса, при этом во второй цилиндрической полости корпуса на противолежащих поверхностях и на втором диске ротора выполнены отверстия, аналогичные отверстиям, выполненным в первой цилиндрической полости корпуса и первом диске ротора, отверстия на обоих дисках ротора выполнены сквозными, цилиндрические полости корпуса соединены между собой перепускным каналом, одно отверстие которого размещено на периферии первой цилиндрической полости корпуса, а второе – по центру второй цилиндрической полости, входной канал размещен по центру первой цилиндрической полости корпуса, а выходной канал – на периферии второй цилиндрической полости корпуса. Корпус с ротором и электродвигатель размещены в герметичной емкости из нержавеющей стали, заармированной в теплоизолирующем нетокопроводящем материале, снабженной входным и выходным патрубками, при этом на выходном патрубке установлен регулируемый дроссель, являющийся регулятором температуры выходящего потока жидкости.
Выполнение неподвижного цилиндрического корпуса с двумя цилиндрическими полостями обусловлено необходимостью создания двух теплообразующих полостей, в которых происходит последовательный нагрев жидкости и доведение ее до максимально возможной температуры.
Выполнение ротора в виде двух дисков с радиальными рядами сквозных отверстий, размещенных каждый в своей полости и закрепленных на валу электродвигателя, позволяет, во-первых, увеличить продуктивную площадь теплообразования, что позволяет уменьшить диаметр корпуса и диска, а во-вторых, обеспечить двухкратное прокачивание жидкости через активные теплообразующие области.
Поскольку входным каналом является зазор между валом электродвигателя и отверстием в корпусе, расположенным по центру его первой цилиндрической полости, то жидкость под давлением от сети, к которой подсоединен нагреватель, поступает в первую полость в зону с низким давлением, образовавшимся вследствие действия центробежных сил при вращении ротора, что позволяет осуществлять подачу жидкости с наименьшими потерями.
Расположение выходного канала на периферии второй цилиндрической полости корпуса позволяет отводить нагретую жидкость после того, как она достигла значительного повышения температуры, пройдя активные зоны теплообразования в первой и второй полости.
Соединение цилиндрических полостей корпуса между собой перепускным каналом, одно отверстие которого размещено на периферии первой цилиндрической полости, а второе – по центру второй цилиндрической полости, позволяет подавать жидкость с повышенным давлением от действия центробежных сил из первой полости во вторую полость в зону с низким давлением и повторить цикл нагрева вторично.
Размещение корпуса с ротором и электродвигателем (в данном случае двигатель должен быть погружным) в герметичной емкости из нержавеющей стали, заармированной в теплоизолирующем нетокопроводящем материале, обусловлено необходимостью исключения тепловых потерь при эксплуатации нагревателя, а также необходимостью соблюдения правил электробезопасности для устройств, источником питания для которых является электрический ток. Вопросы электробезопасности особенно актуальны для массового потребителя, поэтому армирование герметичной емкости нетокопроводящим материалом является необходимым условием для нагревателей, используемых в быту. Нержавеющая сталь, из которой выполнена емкость, позволяет увеличить срок службы нагревателя.
При недостаточном напоре сети, к которой подсоединен проточный нагреватель, необходимо уменьшить расход жидкости при помощи установленного на выходном патрубке регулируемого дросселя. При уменьшении расхода отвод нагретой в нагревателе жидкости будет происходить с более высокой температурой. Таким образом, дроссель является регулятором температуры выходящего потока жидкости.
Технические решения с признаками, отличающими заявляемое решение от прототипа, не известны и явным образом из уровня техники не следуют. Это позволяет считать, что заявляемое техническое решение является новым и обладает изобретательским уровнем.
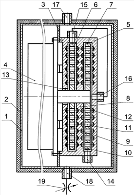
Сущность изобретения поясняется чертежом, на котором показана общая схема проточного нагревателя роторного типа.
Проточный нагреватель роторного типа состоит из герметичной емкости 1, заармированной теплоизолирующим нетокопроводящим материалом 2, внутри которой на кронштейнах 3 жестко закреплен погружной электродвигатель 4 с корпусом 5. В цилиндрических полостях 6, 7 корпуса 5, разделенных перегородкой 8, на вале погружного электродвигателя 4 закреплены соответственно диски 9, 10, на которых выполнены радиальные ряды сквозных отверстий 11. На торцевых стенках цилиндрических полостей 6, 7 обеих сторонах перегородки 8 выполнены аналогичные ряды глухих отверстий 12. По центру цилиндрической полости 6 в стенке корпуса 5 размещен входной канал 13, выполненный в виде зазора между отверстием в торцевой стенке корпуса 5 и валом погружного электродвигателя 4. Выходной канал 14 выполнен в стенке корпуса 5 на периферии цилиндрической полости 7. Полости 6 и 7 соединены между собой перепускным каналом, отверстие 15 которого выполнено в стенке корпуса 5 на периферии цилиндрической полости 6, а отверстие 16 выполнено в стенке корпуса по центру цилиндрической полости 7. Входной 17 и выходной 18 патрубки герметичной емкости 1 размещены на ее противоположных стенках напротив друг друга. Непосредственно после выходного патрубка 18 установлен регулируемый дроссель 19.
Проточный нагреватель роторного типа работает следующим образом. Жидкость с сетевым давлением через входной патрубок 17 подается внутрь герметичной емкости 1 при полностью или частично перекрытом регулируемом дросселе 19. Включается погружной электродвигатель 4, начинается процесс нагрева жидкости. Жидкость, поступающая через входной канал 13 в полость 6, нагревается в зонах сквозных отверстий 11 и глухих отверстий 12 при продвижении к отверстию 15 перепускного канала с обеих сторон диска 9. Подогретый поток жидкости из отверстия 15 перепускного канала подается в полость 7 в зону с невысоким давлением от действия центробежных сил через отверстие 16 перепускного канала. Процесс нагрева жидкости в полости 7 протекает аналогично процессу, протекающему в полости 6. Дополнительно нагретая жидкость через выходной канал 14 и далее через выходной патрубок 18 поступает к потребителю. В зависимости от сетевого давления, регулируя расход жидкости дросселем 19, можно добиться оптимального температурного режима жидкости, поступающей к потребителю.
Формула изобретения
1. Проточный нагреватель роторного типа, содержащий неподвижный корпус с цилиндрической полостью, в стенках которого выполнены входной канал, выходной канал и два отверстия перепускного канала, а также установленный с зазором в цилиндрической полости корпуса ротор, закрепленный на валу электродвигателя и выполненный в виде диска с радиальными рядами отверстий, расположенных напротив глухих отверстий, выполненных на противолежащих поверхностях корпуса, отличающийся тем, что в корпусе выполнена вторая цилиндрическая полость, а ротор снабжен вторым диском, размещенным с зазором во второй цилиндрической полости корпуса, при этом во второй цилиндрической полости корпуса на противолежащих поверхностях и на на втором диске ротора выполнены отверстия, аналогичные отверстиям, выполненным в первой цилиндрической полости корпуса и первом диске ротора, отверстия на обоих дисках ротора выполнены сквозными, цилиндрические полости корпуса соединены между собой перепускным каналом, одно отверстие которого размещено на периферии первой цилиндрической полости корпуса, а второе – по центру второй цилиндрической полости корпуса, входной канал размещен по центру первой цилиндрической полости корпуса, а выходной канал – на периферии второй цилиндрической полости корпуса.
2. Проточный нагреватель роторного типа по п.1, отличающийся тем, что корпус с ротором и электродвигатель размещены в герметичной емкости из нержавеющей стали, заармированной в теплоизолирующем нетокопроводящем материале, снабженной входным и выходным патрубками, при этом на выходном патрубке установлен регулируемый дроссель, являющийся регулятором температуры выходящего потока жидкости.
РИСУНКИ
|
|