|
|
(21), (22) Заявка: 2007120925/06, 04.06.2007
(24) Дата начала отсчета срока действия патента:
04.06.2007
(46) Опубликовано: 20.02.2009
(56) Список документов, цитированных в отчете о поиске:
RU 2296276 C1, 27.03.2007. RU 2084773 C2, 20.07.1997. RU 25929 U1, 27.10.2002. RU 2277681 C1, 10.06.2006. US 5188090 A, 10.06.2006.
Адрес для переписки:
601900, Владимирская обл., г. Ковров, ул. Труда, 4, ОАО “Завод им. В.А. Дегтярева”, ОПЛИР
|
(72) Автор(ы):
Мосалёв Сергей Михайлович (RU), Наумов Виктор Иванович (RU), Сыса Виктор Павлович (RU)
(73) Патентообладатель(и):
Открытое акционерное общество “Завод им. В.А. Дегтярева” (RU)
|
(54) МАЛОГАБАРИТНЫЙ ТЕПЛОГЕНЕРАТОР РОТОРНОГО ТИПА
(57) Реферат:
Малогабаритный теплогенератор роторного типа предназначен для тепло- и горячего водоснабжения объектов промышленного и бытового назначения. Теплогенератор роторного типа состоит из цилиндрического корпуса, внутри которого с возможностью вращения на полом валу жестко установлен полый цилиндрический ротор. Внутри ротора соосно его цилиндрической поверхности установлена, как минимум, одна дополнительная цилиндрическая поверхность меньшего диаметра, а также равномерно по окружности размещены, как минимум, две радиально расположенные перегородки, примыкающие к цилиндрической и торцевым поверхностям внутренней поверхности ротора. На цилиндрической поверхности ротора и дополнительной цилиндрической поверхности выполнены диаметральные ряды сквозных отверстий. В непосредственной близости от полого вала на торцевых поверхностях ротора выполнен диаметральный ряд аналогичных сквозных отверстий, а на большем удалении от вала выполнены радиальные ряды несквозных пазов, аналогичные несквозные пазы выполнены на внутренних торцевых поверхностях корпуса. При таком выполнении повышается эффективность и надежность устройства, сокращаются затраты на его изготовление. 1 з.п. ф-лы, 2 ил.
Изобретение относится к теплотехнике, а именно к устройствам, содержащим вращающиеся элементы для нагревания текучих сред, и может быть использовано для тепло- и горячего водоснабжения объектов промышленного и бытового назначения.
Известно устройство для нагревания текучей среды (см. патент US N 5188090, F24C 9/00 от 23.02.93 г.), принятое за прототип. Устройство состоит из цилиндрического ротора, у которого цилиндрическая поверхность имеет определенное число отверстий. Ротор вращается внутри корпуса, чья внутренняя поверхность примыкает к цилиндрической и торцевой поверхности ротора. Корпус имеет по одному или несколько впускных и выпускных каналов, расположенных произвольно.
Недостатками прототипа являются низкая теплопроизводительность, высокие массогабаритные показатели, низкая коррозионная и кавитационная стойкость.
Предлагаемым изобретением решается задача: сокращение энергозатрат при отоплении, снижение материалоемкости и увеличение долговечности устройства.
Технический результат, получаемый при осуществлении изобретения, заключается в повышении эффективности устройства, сокращении затрат при его изготовлении и в увеличении коррозионной и кавитационной стойкости основных узлов устройства.
Указанный технический результат достигается тем, что в предлагаемом малогабаритном теплогенераторе роторного типа, содержащем неподвижный корпус, имеющий впускные каналы, выпускной канал, в корпусе с возможностью вращения на вале установлен цилиндрический ротор, новым является то, что вал и цилиндрический ротор выполнены полыми, причем во внутренней полости цилиндрического ротора соосно его цилиндрической поверхности размещена, как минимум, одна цилиндрическая поверхность меньшего диаметра, равномерно по окружности размещены, как минимум, две радиально расположенные перегородки, примыкающие к цилиндрической и торцевым поверхностям внутренней полости ротора, на цилиндрической поверхности ротора и на цилиндрической соосной поверхности меньшего диаметра выполнены диаметральные ряды сквозных отверстий, на радиальных перегородках выполнены параллельные торцевым стенкам ротора ряды аналогичных сквозных отверстий, на торцевых поверхностях ротора в непосредственной близости от вала выполнен диаметральный ряд сквозных отверстий, а на большем удалении от вала выполнены радиальные ряды несквозных пазов, аналогичные несквозные пазы выполнены на внутренних торцевых поверхностях корпуса.
Внутренняя поверхность корпуса и поверхность цилиндрического ротора покрыты высокоустойчивым и термошумоизолированнным покрытием.
Выполнение вала и цилиндрического ротора полыми обусловлено необходимостью снижения механических потерь в процессе функционирования малогабаритного теплогенератора, т.е. в процессе генерирования тепловой энергии. При снижении массы вращающихся деталей повышается не только эффективность, но и долговечность теплогенератора, улучшаются экономические показатели при его производстве.
Размещение во внутренней полости цилиндрического ротора, как минимум, одной соосной цилиндрической поверхности меньшего диаметра, а также размещение равномерно по окружности, как минимум, двух радиально расположенных перегородок, примыкающих к цилиндрической и торцевой поверхностям внутренней полости ротора, обусловлено следующими факторами:
– необходимостью обеспечения наибольшей площади соприкосновения движущейся текучей среды с вращающимися поверхностями ротора, что позволяет увеличить потребляемую мощность теплогенератора, а следовательно, количество произведенной тепловой энергии без увеличения диаметра ротора;
– поток текучей среды претерпевает при продвижении от впускных каналов к выпускному каналу многократные разрывы сплошной среды, многократное изменение направления движения, что способствует интенсивному процессу нагрева, в т.ч. за счет схлопывания многочисленных кавитационных микрополостей;
– повышается жесткость полой конструкции ротора.
Выполнение на цилиндрической поверхности ротора, на цилиндрической соосной поверхности меньшего диаметра и на радиальных перегородках рядов сквозных отверстий позволяет получить большое количество сужающихся потоков текучей среды, находящихся под действием давления, приложенного на входе впускных каналов, и центробежных сил, что позволяет получить многократное перераспределение, ускорение и торможение потока, сопровождающееся его нагревом.
Для обеспечения поступления текучей среды внутрь полого ротора на его торцевых поверхностях выполнен в непосредственной близости от вала диаметральный ряд сквозных отверстий. Причем текучая среда попадает внутрь полого ротора в зоне действия низкого давления, создаваемого за счет действия центробежных сил, что позволяет поддерживать высокий уровень расхода текучей среды.
Выполнение на торцевых поверхностях с большим удалением от вала радиальных рядов несквозных пазов и аналогичных несквозных пазов на внутренних торцевых поверхностях корпуса позволяет получить области с высокой теплопроизводительностью. Текучая среда перемещается внутри паза, тормозится о стенки и увлекается в дальнейшем в общий поток с выделением тепловой энергии.
Обработка внутренней поверхности корпуса и поверхности цилиндрического ротора высокоустойчивым и термошумоизолированным покрытием позволяет решить следующие задачи:
– предотвращение последствий коррозионного и кавитационного воздействия;
– противодействие образованию накипи на рабочих поверхностях корпуса и ротора;
– создание шумопоглощающего эффекта за счет глушения шума в момент его возникновения;
– позволяет использовать теплогенератор для подогрева пищевых жидкостей, а также химически активных жидкостей.
Технические решения с признаками, отличающими заявляемое решение от прототипа, не известны и явным образом из уровня техники не следуют. Это позволяет считать, что заявляемое решение является новым и обладает изобретательским уровнем.
Сущность изобретения поясняется чертежами, где на
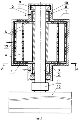
фиг.1 показана общая схема малогабаритного теплогенератора роторного типа;
фиг.2 – схема размещения цилиндрической соосной поверхности меньшего диаметра и радиальных перегородок.
Малогабаритный теплогенератор роторного типа состоит из цилиндрического корпуса 1, внутри которого с возможностью вращения на полом вале 2 жестко установлен полый цилиндрический ротор 3. Внутри ротора 3 соосно его цилиндрической поверхности установлена, как минимум, одна дополнительная цилиндрическая поверхность 4 меньшего диаметра, а также равномерно по окружности размещены, как минимум, две радиально расположенные перегородки 5, примыкающие к цилиндрической и торцевым поверхностям внутренней поверхности ротора 3. На цилиндрической поверхности ротора 3 и дополнительной цилиндрической поверхности 4 выполнены диаметральные ряды сквозных отверстий 6. В непосредственной близости от полого вала 2 на торцевых поверхностях ротора 3 выполнен диаметральный ряд аналогичных сквозных отверстий 6, а на большем удалении от вала 2 выполнены радиальные ряды несквозных пазов 7, аналогичные несквозные пазы 7 выполнены на внутренних торцевых поверхностях корпуса 1. К торцевым поверхностям корпуса 1 прилегают опорные шайбы 8, в которых размещены подшипниковые опоры 9, в которых установлен вал 2, уплотнения 10, установленные в камерах 11, связанных с внутренней полостью корпуса 1. Отверстия, связанные с камерами 11, выполняют роль впускных каналов 12. Выпускной канал 13 размещен на цилиндрической поверхности корпуса 1. Вал 2 связан посредством муфты 14 с электродвигателем или иным приводом 15.
Малогабаритный теплогенератор роторного типа работает следующим образом. После заполнения текучей средой внутренней полости корпуса 1 включается электродвигатель или иной привод 15. Вращение через муфту 14 передается на вал 2 с жестко установленным на нем ротором 3. Текучая среда под давлением подается через впускные каналы 12, камеры 11 внутрь цилиндрического корпуса 1 и тормозится с выделением тепловой энергии о торцевые стенки ротора 3. Далее часть текучей среды поступает в зазор между торцевыми поверхностями ротора 3 и корпуса 1 и перемещается с выделением тепловой энергии в зонах сквозных отверстий 6 и несквозных пазов 7 к выпускному каналу 13, где происходит столкновение встречных потоков, сопровождающееся нагревом текучей среды. Другая часть текучей среды через ряд сквозных отверстий 6 попадает внутрь полого ротора 3 и перемещается к сквозным отверстиям 6 сначала дополнительной цилиндрической поверхности 4 и далее к цилиндрической поверхности ротора 3. Текучая среда при движении внутри полого ротора 3 многократно преодолевает отверстия 6 в радиальных пластинах, что также сопровождается ее нагревом. В конечном итоге поток текучей среды через сквозные отверстия 6 на цилиндрической поверхности ротора 3 смешивается с двумя потоками, перемещающимися снаружи ротора 3, и поступает к выпускному каналу 13.
Формула изобретения
1. Малогабаритный теплогенератор роторного типа, содержащий неподвижный корпус, имеющий впускные каналы, выпускной канал, в корпусе с возможностью вращения на валу установлен цилиндрический ротор, отличающийся тем, что вал и цилиндрический ротор выполнены полыми, причем во внутренней полости цилиндрического ротора соосно его цилиндрической поверхности размещена как минимум одна цилиндрическая поверхность меньшего диаметра, равномерно по окружности размещены как минимум две радиально расположенные перегородки, примыкающие к цилиндрической и торцевым поверхностям внутренней полости ротора, на цилиндрической поверхности ротора и на цилиндрической соосной поверхности меньшего диаметра выполнены диаметральные ряды сквозных отверстий, на радиальных перегородках выполнены параллельные торцевым стенкам ротора ряды аналогичных сквозных отверстий, на торцевых поверхностях ротора в непосредственной близости от вала выполнен диаметральный ряд сквозных отверстий, а на большем удалении от вала выполнены радиальные ряды несквозных пазов, аналогичные несквозные пазы выполнены на внутренних торцевых поверхностях корпуса.
2. Малогабаритный теплогенератор роторного типа по п.1, отличающийся тем, что внутренняя поверхность корпуса и поверхность цилиндрического ротора покрыты высокоустойчивым и термошумоизолированным покрытием.
РИСУНКИ
|
|