|
|
(21), (22) Заявка: 2007117457/11, 10.05.2007
(24) Дата начала отсчета срока действия патента:
10.05.2007
(46) Опубликовано: 20.02.2009
(56) Список документов, цитированных в отчете о поиске:
RU 2014531 C1, 15.06.1994. RU 2263841 C2, 10.11.2005. SU 1083008 A1, 30.03.1984. SU 159080 A1, 01.01.1963. SU 8212238 A1, 15.04.1981. US 3289542 A, 06.12.1966.
Адрес для переписки:
344018, г.Ростов-на-Дону, ул. Черепахина, 249, кв.52, Г.П. Гребенюку
|
(72) Автор(ы):
Гребенюк Геннадий Петрович (RU)
(73) Патентообладатель(и):
Гребенюк Геннадий Петрович (RU)
|
(54) ГИДРОМАШИНА
(57) Реферат:
Изобретение относится к объемным гидропередачам и может быть использовано в качестве индивидуального привода колес транспортных средств, привода погрузочных машин, лебедок, горных машин и др. Гидромашина содержит корпус, смонтированные на трех валах ведущую, промежуточную, ведомую косозубые шестерни. Ведущая и промежуточная шестерни образуют двигатель вращения колеса автомашины. Ведомая и промежуточная шестерни образуют насос. Вход двигателя связан с гидроаккумулятором через кран-переключатель. Выход двигателя связан трубопроводом с входом насоса. Выход насоса через гидромультипликатор связан с краном-переключателем, связанным с баком сброса рабочей жидкости. Гидроаккумулятор связан с внешним гидронасосом. Профиль косозубых шестерен в нормальном сечении эллиптический с радиально расположенной большой осью. Гидромашина повышает коэффициент полезного действия передачи, обеспечивает функции вращения, торможения и реверса. 2 з.п. ф-лы, 3 ил.
Изобретение относится к объемным гидропередачам, преобразующим энергию давления жидкости на входе в механическую на выходном валу. Она может быть использована, например, в качестве индивидуального привода колес транспортных средств, для привода погрузочных машин, лебедок, горных машин и механизмов и др.
Известна гидромашина с шестернями внешнего зацепления, которая состоит из пары зацепляющихся прямозубых шестерен, помещенных в корпус, имеющий каналы в местах входа в зацепление и выхода из него, через которые осуществляется подвод (всасывание) и отвод (нагнетание) жидкости.
Контакт рабочих поверхностей зубьев при прямозубом зацеплении происходит по линии по всей их ширине (длине зуба), в виде чего движение ведомой шестерни становится толчкообразным и наблюдается быстрый износ рабочих поверхностей зубьев [1].
Известна объемная гидравлическая машина, содержащая насос и гидродвигатель, совмещенные в моноблок, выполненные шестеренными, многосекционными с прямым зубом. Данной конструктивной схеме с рабочим органом в виде прямозубых шестерен присущи недостатки: высокое пульсирующее давление жидкости, шумность, а также сложность изготовления каждой шестерни для создания наборного целостного комплекта [2].
Известна гидромашина транспортного средства в виде шестеренного гидравлического двигателя, включающего пару прямозубых шестерен, смонтированных в корпусе, нагнетающую магистраль, связанную с источником подачи под давлением рабочей жидкости, и электронную систему управления подачи рабочей жидкости [3].
Вместе с тем этому двигателю с прямозубыми шестернями и эвольвентным профилем присущи недостатки, как-то: высокое пульсирующее давление рабочей жидкости (компрессия), приводящее к мгновенному увеличению давления в запертом объеме (в зазоре между зубом и впадиной) и, как следствие, естественно к возрастанию радиальных сил в зацеплении выше критически расчетного с последующим разрывом корпуса. В связи с этим приходится снижать расчетное давление рабочей жидкости созданием перепускных каналов, что приводит к снижению к.п.д. передачи.
Другим недостатком является то, что не используется энергия отработанного давления рабочей жидкости, т.к. далее она напрямую поступает в бак.
Анализ уровня техники гидропередач подтверждает, что в зависимости от вида энергии, прилагаемой к ведущему звену, насос превращается в двигатель и наоборот.
Недостатки прямозубых зацеплений практически устранены в гидромашинах с косозубыми шестернями. Известна гидромашина с шестернями внешнего зацепления, состоящая из пары зацепляющихся косозубых шестерен, помещенных в корпус, имеющая каналы подвода и отвода жидкости [7-8].
Вход зубьев в зацепления и выход из него в этих шестернях происходит постепенно, благодаря чему уменьшается влияние погрешностей в профиле зуба, значительно ниже пульсация подачи, но ниже и крутящий момент, создаваемый машиной [4].
При работе гидромашины в режиме гидромотора (гидродвигателя) в приемную ее полость подается под давлением жидкость, энергия которой преобразуется в механическую энергию вращения выходного вала, а также расходуется на преодоление сопротивления сил трения в машине [5].
В приведенных выше шестеренных передачах, используемых в гидромашинах, принят эвольвентный тип зацепления. В этих передачах некоторый объем жидкости может быть заперт (защемлен) во впадинах между зацепляющимися зубьями. Вследствие изменения запертого объема при вращении шестерен в этих впадинах может возникнуть высокое пульсирующее давление (компрессия) жидкости, которое вызовет дополнительную нагрузку подшипников, приведет к нагреванию жидкости и повышению шумности, а также может привести к разрушению корпуса гидромашины [6].
В гидромашинах с косозубыми передачами значительно снижена пульсация, однако они обладают по сравнению с прямозубыми низкой передаваемой мощностью и крутящим моментом.
В основу настоящего изобретения поставлена задача повышения коэффициента полезного действия гидромашины за счет использования остаточного давления выходного потока энергоносителя рабочей жидкости и эллиптического профиля зуба.
Поставленная задача достигается тем, что в известную конструкцию гидромашины, содержащую корпус, смонтированную в нем на валах косозубую шестеренную пару, приемники рабочей жидкости, включена дополнительно, по меньшей мере, одна шестерня, зацепляющаяся с одной из шестерен упомянутой пары. Трехосная система образует спаренный гидроблок. В конструкцию введены гидроаккумулятор, гидромультипликатор и кран-переключатель. Ведущая и промежуточная шестерни образуют двигатель, а ведомая с промежуточной – насос. Кран-переключатель трубопроводом связан с гидроаккумулятором, входным приемником рабочей жидкости насоса, а выходной приемник рабочей жидкости двигателя связан с входным приемником рабочей жидкости насоса.
Другим отличием гидромашины является то, что она снабжена шторками, смонтированными во входном приемнике рабочей жидкости двигателя с возможностью их встречного перемещения от гидроцилиндра, осуществляя перекрытие по высоте сопрягаемых пар зубьев.
Еще одним отличием гидропередачи является то, что зубья косозубой передачи имеют эллиптический профиль в нормальном сечении с радиально расположенной большой осью, а малая ось эллипса равна произведению его большой оси на косинус угла наклона зубьев шестерни.
Заявленная совокупность существенных признаков позволяет получить компактную конструкцию двигателя с повышенным коэффициентом полезного действия, экологическими и экономическими показателями.
Компактность предлагаемой гидромашины расширяет возможность агрегатирования ее с различными типами исполнительных механизмов, допускает установку и обслуживание в труднодоступных местах.
Заявленная конструкция гидромашины представлена в варианте двигателя транспортного средства и поясняется чертежами.
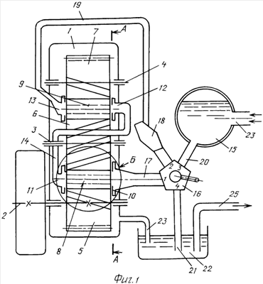
На фиг.1 изображена схема гидромашины с привязкой к транспортному колесу с системой подачи под давлением рабочей жидкости и перераспределения ее потока; на фиг.2 – разрез по А-А на фиг.1; на фиг.3 – вид по стреле «Б», показ в разрезе приемника и шторки с приводом.
Гидромашина содержит корпус 1, в котором на подшипниках смонтированы валы ведущий 2, промежуточный 3, ведомый 4 и закрепленные на них соответственно шестерни ведущая 5, промежуточная 6 и ведомая 7. Шестерни 5, 6 и 7 косозубые, в нормальном сечении профиль зуба эллиптический, обеспечивающий плотное сопряжение зубьев и впадин. Шестерни 5 и 6 образуют двигатель 8, шестерни 7 и 6 образуют насос 9, а в целом создан спаренный гидроблок. Система включает приемники 10, 11, 12 и 13 рабочей жидкости, которые оппозитно расположены по торцам шестерен и сегментарно охватывают зацепляющиеся участки зубчатых звеньев. Приемники 11 и 12 соединены трубопроводом 14. Гидроаккумулятор 15 поддерживает постоянное давление в гидросистеме как во время работы, так и во время остановки гидромашины. Кран-переключатель 16 трубопроводом 17 связан с приемником 10, через мультипликатор 18 и трубопровод 19 с приемником 13, трубопроводом 20 – с гидроаккумулятором 15, трубопроводом 21 – с баком 22. Картер двигателя связан трубопроводом 23 с баком 22. Гидроаккумулятор 15 трубопроводом 23 связан с источником подачи под давлением рабочей жидкости (на чертеже не показан), например с внешним гидронасосом.
В приемнике 10 входа рабочей жидкости смонтированы на оси 24 шторки 25 и 26, выполненные в виде сходящихся и расходящихся лепестков, верхние концы которых связаны со штоком гидроцилиндра 27.
Для уменьшения объемных потерь рабочей жидкости служат башмаки 28, 29, 30 и 31, попарно охватывающие наружную дуговую поверхность шестерен 5, 6 и 7. Регулировка радиального зазора между башмаками 28 и 29, 30 и 31 и шестернями 5 и 6, 6 и 7 осуществляется гидроцилиндрами 32, 33, 34 и 35, которые соединены трубопроводами с гидросистемой питания главного двигателя (на схеме не показано).
Гидромашина работает следующим образом.
От внешнего источника нагнетания рабочей жидкости, создающего избыточное давление, например внешнего гидронасоса (на чертеже не показан), по трубопроводу 23 жидкость под избыточным давлением подается в накопитель энергии – гидроаккумулятор 15, от которого по трубопроводу 20 поступает в кран-переключатель 16, имеющий несколько положений рукоятки, управляемой оператором. Для рабочего хода жидкость (масло) далее по трубопроводу 17 поступает в приемник 10. Жидкость, заполняющая межзубовые впадины шестерен 5 и 6 двигателя 8, заставляет вращаться их в разные стороны с угловыми скоростями 1 и 2, и вал 2 колеса транспортного средства получает вращение. Сдвигая и раздвигая шторки 25 и 26 гидроцилиндром 27, осуществляем регулировку перекрытия по высоте количественно зацепляющихся зубчатых пар, тем самым регулируем воздействие гидростатических сил жидкости на количество находящихся в зацеплении зубчатых пар, увеличивая или уменьшая передаваемый крутящий момент шестерен или их частоту вращения.
Истекающая жидкость имеет на выходе некоторое остаточное давление и через приемник 11, трубопровод 14 поступает в приемник 12 и создает дополнительное нагнетание жидкости парой 6 и 7 насоса 9. Далее по трубопроводу 19 рабочая жидкость поступает в мультипликатор 18, в котором давление масла повышается до определенной величины, и через кран 16 подается в случае необходимости по трубопроводу 17 в двигатель для увеличения частоты вращения ведущего вала 2, или по трубопроводу 20 в гидроаккумулятор 15, или сбрасывается по трубопроводу 21 в бак 22 в зависимости от требуемого цикла управления колесом автомашины.
При режиме торможения происходит рекуперация энергии торможения за счет того, что оператор краном-переключателем 16 устанавливает режим торможения и подача масла высокого давления в трубопровод 17 прекращается, он соединяется с трубопроводом 21 и масло из бака 22 засасывается в двигатель 8, передается по трубопроводу 14 в насос 9 и, создавая высокое давление масла, затрачивает значительную энергию для подзарядки гидроаккумулятора 15, тем самым затормаживая ведущий вал 2 двигателя 8. Регулировка силы торможения посредством крана, переключателя 16 осуществляется оператором вплоть до полной остановки вала 2. Таким образом, энергия торможения превращается в полезную энергию нагнетания давления жидкости, направляемую в гидроаккумулятор 15.
В режиме реверсивного движения транспортного средства гидромашина должна обеспечить обратное вращение ведущего вала 2 двигателя 8. В этом режиме реверса посредством крана-переключателя 16 гидроаккумулятор 15 соединяется с гидромультипликатором 18, а вход двигателя 8 через приемник 10, трубопровод 17, краном 16 соединяется с трубопроводом 21. Рабочая жидкость под высоким давлением из гидроаккумулятора 15 устремляется по трубопроводу 19 в приемник 13, приводит в обратное вращение насос 9 и через шестерню 6 приводит в обратное вращение шестерню 5 ведущего вал 2. Рабочая жидкость по трубопроводам 14, 17 и 21 сбрасывается в бак 22. Реверс ведущего вала 2 и транспортного колеса обеспечен (так называемый задний ход).
Источники информации
1. Т.М.Башта. Объемные насосы и гидравлические двигатели гидросистем. М.: Машиностроение. 1974 г. стр.312, рис.115.
2. Патент РФ №2014531, F16H 39/04, 1992.
3. Патент РФ №2263841, F16H 39/36, 2003 (прототип).
4. Там же, что и в п.1, стр.350, рис.133, А и Б.
5. Там же, что и в п.1, стр.89-90.
6. Там же, что и в п.1, стр.327-328.
7. Патент РФ №2073806, F16H 39/36, 1993.
8. Патент РФ №2057267 (к п.3 формулы).
Формула изобретения
1. Гидромашина, содержащая корпус, смонтированную на валах косозубую шестеренную пару, состоящую из ведущей и промежуточной шестерен, приемники рабочей жидкости, отличающаяся тем, что она снабжена, по меньшей мере, одной дополнительной ведомой шестерней, зацепляющейся с одной из шестерен упомянутой пары, гидроаккумулятором, гидромультипликатором и краном-переключателем, при этом ведущая и промежуточная шестерни образуют двигатель, а ведомая с промежуточной – насос, кран-переключатель трубопроводом связан с гидроаккумулятором и входным приемником рабочей жидкости двигателя, через гидромультипликатор – с выходным приемником рабочей жидкости насоса, а выходной приемник рабочей жидкости двигателя связан с входным приемником рабочей жидкости насоса.
2. Гидромашина по п.1, отличающаяся тем, что она снабжена шторками, смонтированными во входном приемнике рабочей жидкости двигателя, с возможностью их встречного перемещения от гидроцилиндра, осуществляя перекрытие по высоте сопрягаемых пар зубьев.
3. Гидромашина по п.1, отличающаяся тем, что профиль зубьев косозубых шестерен в нормальном сечении эллиптический, с радиально расположенной большой осью, а малая ось эллипса равна произведению его большой оси на косинус угла наклона зубьев.
РИСУНКИ
|
|