|
|
(21), (22) Заявка: 2007125283/11, 05.07.2007
(24) Дата начала отсчета срока действия патента:
05.07.2007
(46) Опубликовано: 20.02.2009
(56) Список документов, цитированных в отчете о поиске:
RU 2298708 С2, 10.05.2007. DE 4001145 А1, 18.07.1991. GB 2329000 А, 10.03.1999. JP 2002168265 А, 14.06.2002.
Адрес для переписки:
111402, Москва, а/я 20, Агентство по патентной информации, пат.пов.И.Л.Кольцову
|
(72) Автор(ы):
Черняк Сергей Вадимович (RU)
(73) Патентообладатель(и):
Черняк Сергей Вадимович (RU)
|
(54) КОМПЕНСИРУЮЩАЯ МУФТА ПРИВОДА
(57) Реферат:
Изобретение относится к конструкции компенсирующей муфты привода. Муфта содержит ведущую и ведомую полумуфты, жестко закрепляемые соответственно на ведущем и ведомом валах привода и соединенные друг с другом посредством пакета кольцевых упругих пластин, и пару зажимных губок. Каждая губка смонтирована на ведомой полумуфте посредством болта-оси, проходящего через соосные отверстия в губке и указанном пакете. По меньшей мере часть отверстия в зажимной губке снабжена резьбовой вставкой, в которую ввинчен резьбовой участок болта-оси. Муфта снабжена также двумя первыми упорными подшипниками, каждый из которых установлен между головкой соответствующего болта-оси и пакетом кольцевых пластин, и двумя вторыми упорными подшипниками, каждый из которых выполнен в виде шариков, размещенных между соседними поверхностями ведомой полумуфты и соответствующей зажимной губки. Изобретение направлено на уменьшение габаритов и металлоемкости муфты с обеспечением снижения износа ее деталей, повышения жесткости и прочности конструкции при более равномерном износе зажимных губок в отсутствие значительных вибраций. 6 ил.
Изобретение относится к конструкции компенсирующей муфты привода, которая допускает некоторое угловое смещение осей этих валов, а также некоторое смещение валов в осевом направлении, и которая может быть использована, например, в приводе топливного насоса высокого давления для дизельного двигателя при его регулировке на испытательном стенде.
В большинстве конструкций испытательных стендов для дизельных двигателей применяются муфты привода с зажимными губками, которые позволяют быстро присоединять и отсоединять испытываемые объекты. Зажимная губка крепится к ведомой полумуфте специальным болтом-осью с гайкой, который может свободно вращаться вокруг своей оси.
Так, известна компенсирующая муфта привода, содержащая ведущую и ведомую полумуфты, жестко закрепляемые соответственно на ведущем и ведомом валах привода и соединенные друг с другом посредством пакета кольцевых упругих пластин, и пару зажимных губок для закрепления ведомой полумуфты на ведомом валу привода, каждая из которых смонтирована на ведомой полумуфте посредством болта-оси, расположенного параллельно оси вращения муфты и проходящего через соосные отверстия в соответствующей губке, ведомой полумуфте и пакете кольцевых пластин (RU 2298708 С2, F16D 3/78, 10.05.2007).
В указанном известном устройстве болт-ось сопряжен с отверстием в зажимной губке по скользящей посадке, головка болта-оси расположена в выемке, выполненной в губке, а крепление болта-оси в указанных соосных отверстиях осуществлено при помощи гайки с шайбой. Такая конструкция монтажа зажимной губки, как будет пояснено ниже, имеет ряд недостатков, заключающихся в увеличенной ширине губки (размер губки в направлении, перпендикулярном оси вращения муфты) и завышенной длине муфты в целом (габаритный размер муфты вдоль оси ее вращения), что приводит к повышенной металлоемкости, а также в подвижности губки относительно ведомой полумуфты в пределах некоторого необходимого осевого зазора между ними, что приводит к снижению жесткости и прочности конструкции и повышенному износу сопрягаемых поверхностей губки, болта-оси и ведомой полумуфты и вызывает нежелательные вибрации при работе муфты. Также имеет место несимметричность зажимной губки вследствие наличия на одном из ее концов выемки для размещения головки болта-оси, что приводит к неравномерному распределению нагрузки по рабочим поверхностям губки и, как следствие, к неравномерному износу ее рабочих поверхностей.
Задачей настоящего изобретения является создание компенсирующей муфты привода, лишенной указанных недостатков, т.е. муфты, имеющей уменьшенные габариты и металлоемкость с обеспечением снижения износа ее деталей, повышения жесткости и прочности конструкции при более равномерном износе зажимных губок в отсутствие значительных вибраций.
Указанная задача достигается тем, что в компенсирующей муфте привода, содержащей ведущую и ведомую полумуфты, жестко закрепляемые соответственно на ведущем и ведомом валах привода и соединенные друг с другом посредством пакета кольцевых упругих пластин, и пару зажимных губок для закрепления ведомой полумуфты на ведомом валу привода, каждая из которых смонтирована на ведомой полумуфте посредством болта-оси, расположенного параллельно оси вращения муфты и проходящего через соосные отверстия в соответствующей губке, ведомой полумуфте и пакете кольцевых пластин, согласно настоящему изобретению по меньшей мере часть отверстия в зажимной губке снабжена резьбовой вставкой, резьбовой участок болта-оси ввинчен в резьбовую вставку, а головка болта-оси расположена со стороны ведущей полумуфты, причем муфта снабжена двумя первыми упорными подшипниками, каждый из которых установлен между головкой соответствующего болта-оси и пакетом кольцевых пластин, и двумя вторыми упорными подшипниками, каждый из которых выполнен в виде шариков, размещенных между соседними поверхностями ведомой полумуфты и соответствующей зажимной губки в кольцевых канавках, выполненных соответственно на этих поверхностях соосно оси соответствующего болта-оси.
Конструкция муфты по настоящему изобретению поясняется чертежами.
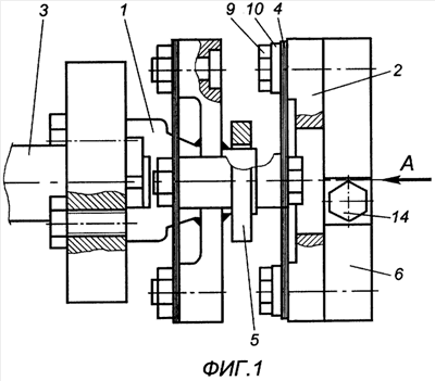
На фиг.1 представлена предложенная муфта, вид сбоку (ведомый вал не показан);
на фиг.2 – вид А фиг.1, т.е. вид на ведомую полумуфту со стороны ведомого вала;
на фиг.3 – разрез Б-Б фиг.2 в увеличенном масштабе;
на фиг.4 – вид В фиг.3;
на фиг.5 – разрез, аналогичный разрезу на фиг.3, для известной муфты;
на фиг.6 – вид, аналогичный виду на фиг.4, для известной муфты.
Муфта по настоящему изобретению содержит ведущую полумуфту 1 и ведомую полумуфту 2, жестко закрепляемые соответственно на ведущем валу 3 и ведомом валу (не показан) привода и соединенные друг с другом посредством пакета 4 кольцевых упругих пластин через проставку 5, а также пару зажимных губок 6 для закрепления ведомой полумуфты 2 на ведомом валу. Каждая губка 6 смонтирована на ведомой полумуфте 2 посредством болта-оси 7, расположенного параллельно оси вращения муфты и проходящего через соосные отверстия в губке 6, ведомой полумуфте 2 и пакете 4. Часть указанного отверстия в зажимной губке 6 снабжена резьбовой вставкой 8, в которую ввинчен резьбовой участок болта-оси 7, а головка 9 болта-оси 7 расположена со стороны ведущей полумуфты 1. Муфта снабжена также двумя первыми упорными подшипниками 10, каждый из которых установлен между головкой 9 соответствующего болта-оси 7 и пакетом 4 кольцевых пластин, и двумя вторыми упорными подшипниками 11, каждый из которых выполнен в виде шариков, размещенных между соседними поверхностями ведомой полумуфты 2 и соответствующей зажимной губки 6 в кольцевых канавках (отдельно не показаны), выполненных соответственно на этих поверхностях соосно оси соответствующего болта-оси 7.
Для пояснения недостатков указанной известной муфты и преимуществ заявленной муфты (муфты по настоящему изобретению) релевантная часть конструкции известной муфты изображена на фиг.5 и 6, представленных в одинаковом масштабе с фиг.3, 4, изображающими соответствующую часть конструкции заявленной муфты. Элементы известной муфты, аналогичные элементам заявленной муфты, обозначены на чертежах одинаковыми позициями. Известная и заявленная ведомые полумуфты 2 практически ничем не отличаются друг от друга и имеют одинаковые отверстия под специальный болт-ось 7, являющийся осью крепления зажимной губки 6. Вследствие необходимости обеспечения некоторого зазора “а” между соседними поверхностями ведомой муфты 2 и зажимной губки 6 (чтобы обеспечить поворот губки 6 относительно ведомой муфты) болт-ось 7 известной муфты имеет увеличенный диаметр в месте его сопряжения с зажимной губкой 6 (фиг.5, 6), что уменьшает размер опасного сечения С, поэтому для сохранения необходимого размера С приходится увеличить ширину В всей губки 6. Болт-ось 7 заявленной муфты имеет постоянный диаметр по всей рабочей длине (фиг.3, 4), равный диаметру отверстия в ведомой полумуфте 2, поэтому опасное сечение С получается большим, чем в известной муфте. Исходя из этого можно несколько уменьшить ширину В губки 6 в заявленной муфте, а значит уменьшить ее вес при условии, что длина и высота губок 6 в обоих вариантах одинаковы. Следующим важным технологическим параметром конструкции является размер А – расстояние от крайней точки болта-оси 7 со стороны ведущей полумуфты 1 до пакета 4. Этот размер влияет на продольный размер муфты, т.е. на длину муфты в целом. Уменьшая размер А, можно уменьшить длину всей муфты. В известной муфте размер А состоит из трех продольных размеров – высоты шайбы 12, высоты гайки 13 и длины свободного резьбового конца болта-оси 7. В заявленной муфте размер А состоит из двух размеров – высоты стандартного первого упорного подшипника 10 и высоты головки 9 болта-оси 7. Стандартный первый упорный подшипник 10 имеет определенную высоту, а высоту головки 9 можно уменьшить до минимального конструктивно необходимого размера, поэтому размер А в заявленной муфте можно получить меньшим, чем в известной муфте.
Кроме того, в известной муфте при затянутой гайке 13 зажимная губка 6 имеет подвижность в пределах зазора “а” для обеспечения возможности ее поворота вокруг оси болта-оси 7. В заявленной муфте зажимная губка 6 при затянутом болте-оси 7 прижата к шарикам второго упорного подшипника 11 и в пределах зазора “а” не имеет подвижности. При таком жестком креплении зажимной губки 6 уменьшается или практически прекращается износ деталей в зоне опасного сечения С. В известной муфте этот износ более интенсивный из-за относительной подвижности деталей в этом месте.
Кроме описанных преимуществ в заявленной муфте зажимная губка 6 практически симметрична относительно своих продольной и поперечной осей симметрии. В известной муфте зажимная губка 6 несимметрична по отношению к своей поперечной оси симметрии из-за наличия выемки под выступающую головку 9 болта-оси 7. Конструкция заявленной муфты с полностью симметричной зажимной губкой 6 обеспечивает более равномерное распределение нагрузки по рабочим поверхностям губки 6 при ее работе, а значит более равномерный износ ее рабочих поверхностей.
В заявленной муфте сборку ведомой полумуфты 2 с пакетом 4 кольцевых упругих пластин и зажимной губкой 6 осуществляют следующим образом. Болт-ось 7, являющийся осью поворота зажимной губки 6, соединяет вместе следующие детали: стандартный первый упорный подшипник 10, пакет 4 кольцевых упругих пластин, ведомую полумуфту 2, шарики второго упорного подшипника 11 и зажимную губку 6. В зажимной губке 6 выполнено ступенчатое сквозное отверстие. Часть поверхности этого отверстия со стороны расположения ведомой полумуфты 2 выполнена с гладкими стенками для ее сопряжения с гладкой цилиндрической поверхностью болта-оси 7. В остальной части этого отверстия нарезается резьба, в которую ввертывается резьбовая вставка 8, изготовленная в соответствии с ТУ 10.16.0001.150-89. Такая резьбовая вставка представляет собой калиброванную проволоку, повторяющую в поперечном сечении профиль метрической резьбы и навитую таким образом, что внешний и внутренний диаметры этой навивки соответствуют диаметрам стандартных метрических резьб, а расположение ребра проволоки – стандартному шагу резьбы. Это позволяет получить резьбовое соединение повышенной надежности из-за большей площади контакта. Внутренний диаметр резьбовой вставки 8 и шаг резьбы соответствуют резьбе болта-оси 7. Гладкий и резьбовой участки указанного отверстия в зажимной губке 6 разделяются кольцевой выточкой (не показана) шириной около 1 мм, в которую заходит крайний виток резьбовой вставки 8 после ее завертывания в отверстие. Болт-ось 7 вставляют в соосные отверстия перечисленных деталей, резьбовой конец болта-оси 7 ввертывают в резьбовую вставку 8 и, после затяжки болта-оси 7, зачеканивают со стороны наружного конца резьбовой вставки 8, чтобы болт-ось 7 не выворачивался. В результате болт-ось 7 и зажимная губка 6 после сборки образуют жесткий Г-образный рычаг, имеющий одну степень свободы – поворот вокруг продольной оси болта-оси 7 на подшипниках 10 и 11. Зажимная губка 6 и ведомая полумуфта 2 выполнены из высокопрочной стали, например ШХ 15, имеющей твердость на поверхности 58-62 HRC, как у подшипников. Это требуется для нормальной работы размещенных в кольцевых канавках шариков подшипника 11. Болт-ось 7 образует с отверстиями деталей, через которые он проходит, посадки скольжения, т.е. посадки, обеспечивающие вращение болта-оси 7 внутри этих отверстий без заеданий и биений. Диаметр шариков второго подшипника 11, а также радиус и диаметр кольцевых канавок для них определяются исходя из ширины В зажимной губки. Шарики второго подшипника 11 могут быть немного меньшего диаметра, чем шарики стандартного первого упорного подшипника 10 для того, чтобы по возможности уменьшить диаметр канавок в губке 6 и ведомой полумуфте 2, в которых эти шарики размещены, и тем самым уменьшить ширину В губки 6. Шарики в оба упорных подшипника 10 и 11 можно устанавливать без сепаратора в максимально возможном количестве для обеспечения более высокой допустимой осевой нагрузки на подшипники. Для прижатия зажимных губок 6 к ведомому валу привода используют стяжной болт 14 с фасонной гайкой 15 (фиг.2).
Формула изобретения
Компенсирующая муфта привода, содержащая ведущую и ведомую полумуфты, жестко закрепляемые соответственно на ведущем и ведомом валах привода и соединенные друг с другом посредством пакета кольцевых упругих пластин, и пару зажимных губок для закрепления ведомой полумуфты на ведомом валу привода, каждая из которых смонтирована на ведомой полумуфте посредством болта-оси, расположенного параллельно оси вращения муфты и проходящего через соосные отверстия в соответствующей губке, ведомой полумуфте и пакете кольцевых пластин, отличающаяся тем, что по меньшей мере часть отверстия в зажимной губке снабжена резьбовой вставкой, резьбовой участок болта-оси ввинчен в резьбовую вставку, а головка болта-оси расположена со стороны ведущей полумуфты, причем муфта снабжена двумя первыми упорными подшипниками, каждый из которых установлен между головкой соответствующего болта-оси и пакетом кольцевых пластин, и двумя вторыми упорными подшипниками, каждый из которых выполнен в виде шариков, размещенных между соседними поверхностями ведомой полумуфты и соответствующей зажимной губки в кольцевых канавках, выполненных соответственно на этих поверхностях соосно оси соответствующего болта-оси.
РИСУНКИ
|
|