|
|
(21), (22) Заявка: 2007127750/06, 19.07.2007
(24) Дата начала отсчета срока действия патента:
19.07.2007
(46) Опубликовано: 20.02.2009
(56) Список документов, цитированных в отчете о поиске:
RU 2286478 С2, 10.07.2006. RU 2184267 С1, 27.06.2002. SU 1231251 А1, 15.05.1986. SU 861715 А1, 07.09.1981. US 3740565 А, 19.06.1973.
Адрес для переписки:
394026, г.Воронеж, Московский пр-кт, 14, ГОУВПО “ВГТУ”, патентный отдел
|
(72) Автор(ы):
Литвиненко Александр Михайлович (RU), Кирколенко Евгений Иванович (RU)
(73) Патентообладатель(и):
Государственное образовательное учреждение высшего профессионального образования “Воронежский государственный технический университет” (RU)
|
(54) ВЕТРОЭЛЕКТРОГЕНЕРАТОР СЕГМЕНТНОГО ТИПА
(57) Реферат:
Изобретение относится к ветроэнергетике, может быть применено для выработки электроэнергии. Ветроэлектрогенератор сегментного типа содержит неподвижное основание, поворотное основание, ветроколесо с роторными элементами, дуговой статор, хвостовой элемент, амортизирующий элемент и шарниры. Роторные элементы выполнены Ш-образной формы, а магнитопровод статорного элемента – в форме Г-образного пакета и имеет воздушный зазор с горизонтальным участком роторного элемента и стержневым пакетом, который имеет воздушный зазор с вертикальным участком роторного элемента. Хвостовой элемент укреплен на оси ветроколеса. Использование ветроэлектрогенератора обеспечивает возможность прохождения буревых порывов без существенного воздействия на силовые конструкции. 2 ил.
Изобретение относится к области ветроэнергетики и может быть применено для выработки электроэнергии.
Известна конструкция генератора с расположением на башне поворотного ветроколеса, снабженного устройством установки на ветер [1], содержащая башню традиционного типа. Ее недостатком являются значительные масса и габариты.
Известен также ветрогенератор [2], который содержит башню, две соединенные под углом рамы, связанные с опорой в местах соединения с центральным поворотным опорным узлом, вращающееся основание ветроколеса с горизонтальной осью, установленные на стойках (башнях) рам, поддерживающие тележки, мультипликаторы, генераторы и поворотные основания, отличающийся тем, что рамы снабжены шарнирами, установленными в центральном опорном узле, и имеют направляющие механизмы и синхронизирующее устройство.
Недостатком данного устройства является наличие ветроколесных стоек с генераторами традиционного классического типа, не обеспечивающими высокие линейные скорости относительно перемещения ротора и статора.
Из известных аналогов наиболее близким к заявленному по совокупности существенных признаков является ветрогенератор [3] сегментного типа, который включает в себя: башню, выполненную в виде пространственной фигуры, которая составлена из стержней, являющихся катетами двух прямоугольных треугольников с общим катетом (стержнем) и гипотенузами (стержнями), при этом дугообразный стержень соединяет вершины данных треугольников. Продолжением верхнего стержня является подшипниковый узел, в котором вращается ступица ветроколеса, имеющего лопасти, которые соединены ферромагнитной роторной пластиной, являющейся одновременно концевой аэродинамической шайбой. Роторные пластины (роторные элементы) входят в периодический магнитный контакт со статорным элементом, укрепленным на криволинейном стержне. Стержни имеют в левой части перемычку, на которой укреплен руль, который также скреплен со стержнем. Дугообразные стержни соединены с опорой, установленной в шарнире, закрепленном на опорной плите.
Недостатком устройства являются большие массогабаритные показатели и отсутствие буревой защиты.
Изобретение направлено на уменьшение зависимости от буревых порывов ветра.
Это достигается тем, что ветроэлектрогенератор сегментного типа, содержащий неподвижное основание (мачту), поворотное основание (стойку – оголовок), ветроколесо с роторными элементами, дуговой статор, хвостовой элемент, амортизирующие элементы и шарниры, имеет согласно изобретению роторные элементы, выполненные Ш-образной формой, а магнитопровод статорного элемента состоит из Г-образного пакета, имеющего воздушный зазор с горизонтальным участком роторного элемента и стержневого пакета, имеющего воздушный зазор с вертикальным участком роторного элемента, при этом крепление хвостового элемента установлено на оси ветроколеса.
Достижение технического результата обусловлено установкой ветроколеса за башней, при этом масса хвостового элемента уравновешивается сегментным статором, имеющим протяженные габариты вдоль центральной осевой линии.
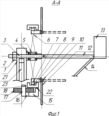
Сущность изобретения иллюстрируется чертежами, где на фиг.1 показан ветроэлектрогенератор (вид сбоку в разрезе), на фиг.2 – вид спереди.
Ветроэлектрогенератор содержит вращающуюся стойку – оголовок 1, на которой с помощью гаек 2 закреплен центральный стержень 3, на котором в подшипниках установлена втулка 5 ветроколеса, на которой, в свою очередь, с помощью спиц 6 укреплены обод 7 с роторными элементами 8 и кронштейном 9, несущие упругие шарниры 10 с лопастями 11. Центральный стержень снабжен планкой 12. Несущий хвостовой элемент 13 связан с подкосом 14. Статор включает в себя однотипные элементы сегментного типа, каждый из которых содержит Г-образный магнитопровод 15, постоянный магнит 16, стержневой пакет 17, катушку 18. Все элементы укреплены на двух крепежных секциях 19 и 20, расположенных симметрично по правую и левую сторону от стойки – оголовка 1, которая вращается в подшипнике, установленном в верхней части мачты 21. Как видно из фиг.1, роторный элемент 8 имеет Ш – образную форму, при этом Г-образный магнитопровод 15 статора имеет воздушный зазор 22 с горизонтальным участком роторного элемента, а стержневой пакет 17 магнитопровода статора имеет воздушный зазор 23 с вертикальным (левым на фиг.1) участком Ш-образного роторного элемента 8. Центральный стержень 3, являющийся осью ветроколеса, имеет соединение с планкой 12, играющей роль, наряду с подкосом 14, крепления хвостового элемента 13. Подкос 14 своим нижним концом установлен на стойке 1 (на фиг.1 не показано из-за отсутствия места).
Работа устройства. При слабых порывах ветра лопасти 11 с помощью упругих шарниров 10 установлены вертикально (фиг.1). Колесо, ориентируясь на ветер с помощью хвостового элемента 13, приходит во вращение, элементы 8 разрывают зазоры 22 и 23, магнит 16 наводит ЭДС в катушках 18. При буревых порывах имеется возможность складывания лопастей, то есть поворот их в шарнирах 10 с деформацией пружин внутри них, вплоть до горизонтального положения (фиг.1, пунктир).
Достоинством данного ветроэлектрогенератора является реализация возможности прохождения буревых порывов без существенного воздействия на силовые конструкции.
Источники информации
1. Шефтер Я.И. Использование энергии ветра, М.: Энергоатомиздат, 1983, с.109-110, рис.5.28; 5.29.
2. Патент РФ №2187019 / А.М.Литвиненко. Ветроэнергетическая установка. Опубл. БИ №22, 2002, F03D 05/04, заявка №2001101581/06 от l6.01.2001.
3. Патент РФ №2286478 / А.М.Литвиненко. Ветроэлектроагрегат сегментного типа. Опубл. БИ №30 от 10.07.2006, F03D 9/00, заявка №2005102247/06 от 31.01.2005.
Формула изобретения
Ветроэлектрогенератор сегментного типа, содержащий неподвижное основание, поворотное основание, ветроколесо с роторными элементами, дуговой статор, хвостовой элемент, амортизирующий элемент и шарниры, отличающийся тем, что роторные элементы выполнены Ш-образной формы, а магнитопровод статорного элемента – в форме Г-образного пакета и имеет воздушный зазор с горизонтальным участком роторного элемента и стержневым пакетом, а последний имеет воздушный зазор с вертикальным участком роторного элемента, а хвостовой элемент укреплен на оси ветроколеса.
РИСУНКИ
|
|