|
|
(21), (22) Заявка: 2007121627/11, 08.06.2007
(24) Дата начала отсчета срока действия патента:
08.06.2007
(46) Опубликовано: 20.02.2009
(56) Список документов, цитированных в отчете о поиске:
RU 2159193 С1, 20.11.2000. SU 1754558 A1, 15.08.1992. SU 1263573 A2, 15.10.1986. US 4564080 A, 14.01.1986.
Адрес для переписки:
393418, Тамбовская обл., Знаменский р-он, село Княжево, ул. Молодежная, 6, кв.2, А.А.Курбакову
|
(72) Автор(ы):
Курбаков Александр Алексеевич (RU)
(73) Патентообладатель(и):
Курбаков Александр Алексеевич (RU)
|
(54) УСТРОЙСТВО ДЛЯ ПОВЫШЕНИЯ ПРОХОДИМОСТИ ТРАНСПОРТНОГО СРЕДСТВА (ВАРИАНТЫ)
(57) Реферат:
Изобретение относится к транспортному машиностроению и предназначено для повышения проходимости колесных транспортных средств любого типа путем преобразования их в транспортное средство на гусеничном ходу. Устройство содержит съемные опорные приспособления, устанавливаемые на колеса (7) транспортного средства, и электромагнитные клапаны, устанавливаемые на тормозные цилиндры. Съемные опорные приспособления выполнены в виде блока, который содержит раму (1), опорные катки (4), резиновую гусеничную ленту (6), натяжные ролики. Во втором варианте исполнения – еще дополнительное колесо. Блок крепится на диск (23) колеса (7) с помощью вала-раструба (8) посредством конусообразной гайки (10). Устройство обеспечивает транспортному средству функцию гусеничного вездехода с возможностью поворота, разворота с радиусом, не превышающим длину транспортного средства, повышает проходимость транспортного средства. Устройство удобно в монтаже, демонтаже и транспортировке. 2 н. и 12 з.п. ф-лы, 116 ил.
Заявляемое изобретение относится к транспортному машиностроению, а именно к устройствам для преобразования колесных транспортных средств в транспортное средство на гусеничном ходу.
Известны транспортные средства со сменными движителями, требующие демонтажа колес, установки транспортного средства на гусеничную тележку, монтажа системы управления поворотом. Например, транспортное средство со сменным движителем (Св-во на полезную модель RU № 19013, B62D 55/04, опубл. 10.08.2001 г.) имеет сменную гусеничную тележку, включающую раму, ведущие колеса, направляющие колеса с натяжными устройствами, гусеничные ленты, ведущие звездочки, соединенные с полуосями заднего ведущего моста, ведомые звездочки, установленные на осях ведущих колес тележки, цепные передачи, соединяющие ведущие и ведомые звездочки, подвеску опорных катков, крепежные элементы для установки базового автомобиля на раму гусеничной тележки, систему управления поворотом транспортного средства на гусеничном движителе, включающую два установленных на кронштейне рамы базового автомобиля гидроцилиндра, сообщенных с тормозными механизмами гусеничной тележки, кулису, установленную на оси кронштейна, и рычаг, соединенный с рулевой тягой базового автомобиля.
Данная конструкция достаточно сложная, процесс смены движителей является трудоемким и требует значительных затрат времени.
Известно устройство для повышения проходимости автомобиля (патент RU № 2196054, В60С 27/00, B62D 55/04, опубл. 10.01.2003 г.), включающее приводное и неприводное съемные опорные приспособления, соединенные с фланцами приводов колес автомобиля. Приводное опорное приспособление содержит устанавливаемую шарнирно на ведущей оси автомобиля тележку с опорными катками и эластичную ленту, охватывающую опорные катки. Неприводное приспособление включает в себя лыжу с опорой для неприводного колеса и с элементами фиксации относительного него. Один из опорных катков тележки соединен с приводом фланца колеса автомобиля с обеспечением передачи крутящего момента, например с помощью карданной или цепной передачи. Фиксацию неприводного опорного приспособления осуществляют к фланцу колеса шарнирно.
Данная конструкция также достаточно сложная, при этом цепной привод гусеничного движителя не обладает надежностью. Опорные приспособления устанавливаются на место каждого из демонтируемых колес. Их монтаж также требует значительных затрат труда и времени. При этом не обеспечивается достаточная проходимость, радиус поворота составляет не менее 6 метров, невозможно пользоваться дорогами общего пользования.
Известны аналогичные устройства компании MATTRACKS, США, преобразующие полноприводные колесные транспортные средства в гусеничные (журнал «Популярная механика. Popular Mechanics». № 3. 2007 г., стр.136-139). Однако установка гусеничных движителей требует демонтажа колес, монтажа дополнительных приспособлений для крепления штанги системы гусеничного хода, наличия достаточного места под крыльями автомобиля для помещения туда гусеницы и ее поворота и предъявляет другие технические ограничения к транспортному средству.
Наиболее близким аналогом заявляемого изобретения является устройство для повышения проходимости автомобиля (патент RU № 2159193, B62D 55/04, В60С 27/02, В62М 29/00, B60F 3/00, опубл. 20.11.2000 г.), содержащее приводное и неприводное съемные опорные приспособления, соединенные с элементами автомобиля. Приводное опорное приспособление содержит устанавливаемую шарнирно на ведущей оси автомобиля тележку с опорными катками и эластичную ленту. Лента охватывает опорные катки и ведущее колесо транспортного средства или устанавливаемые вместо них барабан или звездочку. Неприводное опорное приспособление включает в себя лыжу с опорой для неприводного колеса и с элементами фиксации относительно него.
Известная конструкция также сложна при установке, требует в отдельных вариантах исполнения демонтажа колес, необходимости дополнительных креплений к кузову, не обеспечивает достаточной проходимости автомобиля, возможности поворота, разворота на одном месте.
Заявляемое изобретение решает задачу создания универсального устройства для повышения проходимости всех типов транспортных средств при любых условиях бездорожья, снежной целины, зыбучих песков и прочих непредвиденных дорожных ситуациях, когда ограничены возможности даже внедорожников.
Технический результат, проявляющийся при использовании данного устройства, заключается в получении колесным транспортным средством функции гусеничного вездехода с возможностью поворота, разворота транспортного средства с радиусом, не превышающим длину транспортного средства (поворот на одном месте), а также в простоте и удобстве установки и транспортирования (монтаж и демонтаж устройства осуществляется без снятия колес), в повышении проходимости транспортного средства.
Технический результат достигается тем, что предлагаемое устройство для повышения проходимости транспортного средства имеет съемные опорные приспособления с эластичной лентой, соединенные с элементами транспортного средства, выполненные в виде блока, содержащего раму, по крайней мере одну эластичную ленту, охватывающую основные или меньшего диаметра колеса транспортного средства, опорные катки и натяжные ролики, закрепленные на раме. При этом внутренняя часть рамы по краям крепится на мостах колес или нижних рычагах при независимой подвеске, а наружная часть рамы крепится к валу-раструбу, который выполнен с возможностью его установки на диске колеса посредством конусообразной гайки, жестко закрепляемой на ступице колеса транспортного средства.
Устройство дополнительно имеет электромагнитные клапаны, устанавливаемые на тормозные цилиндры транспортного средства.
Раму выполняют сваренной из профильных труб, разборной для удобства монтажа, демонтажа и транспортировки, с подшипниками на концах наружной части для насадки на вал-раструб и со стремянками на концах внутренней части для крепления к колесным мостам или нижним рычагам при независимой подвеске.
На вал-раструб устанавливаются резиновые вставки, которые предотвращают прокручивание и деформацию диска колеса автомобиля.
В качестве эластичной ленты используется резиновая гусеничная лента.
Для обеспечения функционирования гусеничного хода транспортного средства с возможностью поворота, разворота на одном месте предпочтительно использовать электромагнитные клапаны, имеющие корпус из немагнитного материала с каналом, полостью, ограниченной заглушками с шайбами, в которой расположены стальной шток с пружиной, с перепускной канавкой на входе, для быстрого и легкого перемещения штока, и электромагнитную катушку напряжением 12 или 24 вольт, смонтированную на корпусе. При этом корпус выполнен крестообразной или треугольной формы, а электромагнитная катушка втягивающей или обратного принципа действия.
Во втором варианте исполнения устройство для повышения проходимости транспортного средства имеет съемные опорные приспособления с эластичной лентой, соединенные с элементами транспортного средства, выполненные в виде блока, содержащего раму, закрепленные на ней дополнительные колеса, опорные катки и натяжные ролики, которые охватывает, по крайней мере, одна эластичная лента. Причем дополнительные колеса, внутренняя и наружная часть рамы по краям насажены на вал-раструб, который выполнен с возможностью его установки на диск колеса посредством конусообразной гайки, жестко закрепляемой на ступице колеса транспортного средства.
Устройство дополнительно имеет электромагнитные клапаны, устанавливаемые на тормозные цилиндры транспортного средства.
Раму выполняют сваренной из профильных труб, разборно, для удобства монтажа, демонтажа и транспортировки, с подшипниками на концах наружной и внутренней части для насадки на вал-раструб.
Так же, как и в первом варианте исполнения, на вал-раструб устанавливаются резиновые вставки, в качестве эластичной ленты используют резиновую гусеничную ленту и применяют электромагнитный клапан описанной выше конструкции как наиболее предпочтительный.
Сущность заявляемого изобретения поясняется чертежами.
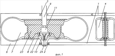
На фиг.1 показан фрагмент блока устройства для повышения проходимости транспортного средства в разрезе по первому варианту исполнения.
На фиг.2 показан фрагмент блока устройства для повышения проходимости транспортного средства в разрезе по второму варианту исполнения (с дополнительным колесом).
На фиг.3 показан блок устройства для повышения проходимости транспортного средства – вид спереди идентичный для первого и второго варианта исполнения.
На фиг.4 изображен электромагнитный клапан крестообразной формы в разрезе.
На фиг.5 изображен электромагнитный клапан треугольной формы в разрезе.
На фиг.6 изображен электромагнитный клапан в разрезе с обратным принципом действия электромагнитной катушки.
На фиг.7 изображен электромагнитный клапан, вид сверху.
На фиг.8-116 изображены 109 компоновочных схем установки блоков на различные транспортные средства.
Устройство для повышения проходимости транспортного средства (по первому варианту) (фиг.1, 3) содержит блок, включающий разборную раму 1, сваренную из профильных труб, с подшипниками 2 на конце наружной части рамы 1 и со стремянкой 3 на конце внутренней части рамы 1; нижние опорные катки 4, верхние автоматически или механически натяжные ролики 5, эластичную ленту 6, например резиновую гусеничную ленту, охватывающую колеса 7 транспортного средства, опорные катки 4, натяжные ролики 5. Наружная часть рамы с подшипником 2 закреплена на валу-раструбе 8, внутренняя часть изготовлена со стремянкой 3 для возможности крепления ее к колесным мостам 9 или нижним рычагам при независимой подвеске. Вал-раструб 8 изготовлен с возможностью его насадки и фиксации на конусообразной гайке 10, которая в свою очередь изготовлена с возможностью ее жесткого крепления на ступице 11 колеса 7 транспортного средства.
Устройство также содержит электромагнитный клапан (далее ЭМК) (фиг.4, 5, 6), который устанавливается на главные или рабочие тормозные цилиндры транспортного средства.
Электромагнитный клапан может быть выполнен следующим образом:
Корпус 12 клапана выполнен крестообразной или треугольной формы из немагнитного материала типа меди, алюминия и т.д. Корпус 12 имеет канал 13 для подачи тормозной жидкости и перпендикулярно ему внутреннею полость, ограниченную заглушками 14 с шайбами 15, в которой расположен шток 16, изготовленный из стали, с пружиной 17. Для более быстрого и легкого перемещения штока 16 в корпусе 12 ЭМК на входе есть перепускная канавка 18, на корпусе 12 смонтирована электромагнитная катушка 19 напряжением 12 или 24 вольт втягивающая или обратного принципа действия.
Устройство для повышения проходимости транспортного средства по второму варианту (фиг.2, 3) содержит блок, включающий разборную раму 1, сваренную из профильных труб, закрепленные на ней дополнительные колеса 20, нижние опорные катки 4, верхние натяжные ролики 5, эластичную ленту 6, например резиновую гусеничную ленту. Лента 6 охватывает дополнительные колеса 20, опорные катки 4, натяжные ролики 5. На каждом конце рамы 1, на внутренней и внешней ее части, установлены подшипники 2, в которых закреплен вал-раструб 8, на котором установлено дополнительное колесо 20. Вал-раструб 8 изготовлен с возможностью его насадки и фиксации на конусообразной гайке 10, которая в свою очередь изготовлена с возможностью ее жесткого крепления на ступице 11 колеса 7 транспортного средства.
Устройство также содержит электромагнитный клапан (далее ЭМК) (фиг.4, 5, 6), который устанавливается на главные или рабочие тормозные цилиндры транспортного средства.
Электромагнитный клапан может быть выполнен следующим образом.
Корпус 12 клапана выполнен крестообразной или треугольной формы из немагнитного материала типа меди, алюминия и т.д. Корпус 12 имеет канал 13 для подачи тормозной жидкости и перпендикулярно ему внутреннюю полость, ограниченную заглушками 14 с шайбами 15, в которой расположен шток 16, изготовленный из стали, с пружиной 17. Для более быстрого и легкого перемещения штока 16 в корпусе 12 ЭМК на входе есть перепускная канавка 18. На корпусе 12 смонтирована электромагнитная катушка 19 напряжением 12 или 24 вольт втягивающая или обратного принципа действия.
Работает устройство следующим образом.
При установке устройства для повышения проходимости транспортного средства по первому варианту на колеса 7 автомобиля, основные или меньшего диаметра, монтируют два блока, например резино-гусеничных блока. Предварительно стандартными гайками или болтами 22 крепления колеса на каждую ступицу 11 крепятся конусообразные гайки 10. На конусообразные гайки 10 устанавливаются с упором в нижнюю часть шины и полку диска 23 колеса 7 валы-раструбы 8 резино-гусеничного блока и фиксируются болтами 24. На вал-раструб 8 устанавливаются резиновые вставки (не показано), которые предотвращают прокручивание и деформацию диска 23 колеса 7 автомобиля. Наружная часть рамы 1 блока закреплена на подшипнике 2 на валу-раструбе 8, а внутренняя часть рамы 1 крепится к колесным мостам 9 или нижним рычагам при независимой подвеске стремянками 3. Натягивается резино-гусеничная лента 6, охватывающая колесо 7, опорные катки 4, натяжные ролики 5.
При установке устройства для повышения проходимости транспортного средства по второму варианту, не снимая основных колес 7 автомобиля, монтируют два блока, например резино-гусеничных блока, с дополнительными колесами 20. Предварительно стандартными гайками или болтами 22 крепления колеса на каждую ступицу 11 крепятся конусообразные гайки 10. На конусообразные гайки 10 устанавливаются с упором в нижнюю часть шины и полку диска 23 колеса 7 валы-раструбы 8 резино-гусеничного блока и фиксируются болтами 24. На вал-раструб 8 устанавливаются резиновые вставки (не показано), которые предотвращают прокручивание и деформацию диска 23 колеса 7 автомобиля. На валу-раструбе 8 закреплены наружная и внутренняя часть рамы 1 блока и дополнительное колесо 8. Натягивается резино-гусеничная лента 6, охватывающая дополнительное колесо 20, опорные катки 4, натяжные ролики 5.
При установке на транспортное средство устройства для повышения проходимости по первому и/или второму варианту для обеспечения их функционирования, поворота, разворота и торможения на главный или рабочие тормозные цилиндры устанавливаются ЭМК. При подаче на клеммы 25 втягивающей электромагнитной катушки напряжения в 12 или 24 вольт шток 16 под воздействием электромагнита поднимается вверх, сжимает пружину 17, перекрывает канал 13. В результате прекращается подача тормозной жидкости или воздуха к рабочим тормозным цилиндрам колес 7 автомобиля, и при нажатии на педаль тормоза этот ряд колес не тормозит (фиг.4, 5).
ЭМК может иметь электромагнитную катушку обратного принципа действия (фиг.6). В этом случае при включении двигателя автомобиля на катушку 19 постоянно подается напряжение 12 или 24 вольт. А шток 16 находится в верхнем положении и канал 13 открыт. Разомкнув электрическую цепь кнопкой управления ЭМК, пружина 17 отжимает шток 16 в нижнее положение, перекрывает канал 13, и ЭМК работает аналогично ЭМК с втягивающей электромагнитной катушкой, описанному выше.
На двухосный автомобиль монтируются четыре ЭМК, соединенных электрически попарно (правая и левая сторона колес), а кнопки управления ЭМК устанавливаются на руль или подрулевые переключатели.
Электрически смонтированная кнопка управления ЭМК правым рядом колес автомобиля устанавливается под левую руку, а кнопка управления левым рядом колес автомобиля устанавливается под правую руку водителя.
Если при движении автомобиля нажать на правую или левую кнопку управления и при этом слабо нажать педаль тормоза, то автомобиль плавно сделает поворот в ту сторону, на какую кнопку нажал водитель.
При резком нажатии на педаль тормоза и заранее на одну из кнопок управления, колеса правой или левой стороны заблокируются, и автомобиль развернется на одном месте как гусеничный вездеход.
Вождение автомобиля с резино-гусеничным блоком сравнимо с вождением гусеничного транспорта, роль рычагов управления поворотных фрикционов на автомобиле заменяют две кнопки управления и педаль тормоза, а руль после установки блока остается неподвижным.
Итак, при монтаже устройства для повышения проходимости транспортное средство получает функцию гусеничного вездехода и дополнительно получает радиус поворота, разворота, не превышающий длину транспортного средства (разворот на одном месте).
Монтаж и демонтаж на двухосное транспортное средство двух блоков устройства, не требует больших трудозатрат, под силу одному человеку, занимает максимум 30 мин.
Автомобили с установленными резино-гусеничными блоками и ЭМК могут пользоваться не только на бездорожье, но дорогами общего пользования.
Резино-гусеничный блок в разобранном виде имеет малые габариты, малый вес и может транспортироваться в багажнике легкового автомобиля. Устройство для повышения проходимости предоставляет возможность эксплуатации с функцией внедорожника заднеприводного или переднеприводного автомобиля малого класса типа ВАЗ.
Установка устройства возможна на все типы транспортных средств с колесной формулой от 4×2 до 8×8. Компоновочных схем резино-гусеничных блоков более 100 вариантов.
Смонтированные на транспортное средство ЭМК при установке устройства для повышения проходимости не требуют снятия при демонтаже резино-гусеничных блоков.
На тракторах и спецмашинах поворотные колеса имеют малый диаметр. При установке колес большего диаметра в повороте колеса упираются в моторный отсек. И радиус поворота становится больше. Используя ЭМК, можно применять колеса большего диаметра, радиус поворота будет равен длине транспортного средства, а моторный отсек получит дополнительный объем.
Компоновочные схемы на фиг.42, 44, 45, 46, 71, 73, 74, 88, 90, 92, 94 предусматривают установку устройств на прицепы и полуприцепы с приводом от автомобиля тягача.
Опорная длина эластичной ленты блока, в зависимости от варианта компоновки, может колебаться от длины базы автомобиля до превышения габаритной длины автомобиля.
В зависимости от количества осей на автомобиле (два или три моста) возможна установка двух, трех кнопок-клавиш управления ЭМК на каждый колесный ряд. Что дает возможность выбора водителю управлять любым колесом или полным рядом колес автомобиля.
На транспортном средстве возможно использование одновременно резино-гусеничного блока по первому варианту в паре с резино-гусеничным блоком по второму варианту или другие комбинированные схемы компоновки (фиг.50, 51, 54, 57, 75, 76, 77, 78, 83, 84, 85, 86, 87, 89, 95, 98, 101, 102, 104, 108, 109, 110, 113, 114, 115, 116).
Формула изобретения
1. Устройство для повышения проходимости транспортного средства, имеющее съемные опорные приспособления с эластичной лентой, соединенные с элементами транспортного средства, отличающееся тем, что устройство имеет дополнительно электромагнитные клапаны, устанавливаемые на тормозные цилиндры, а съемные опорные приспособления выполнены в виде блока, содержащего раму, по крайней мере, одну эластичную ленту, охватывающую основные или меньшего диаметра колеса транспортного средства, опорные катки и натяжные ролики, закрепленные на раме, причем внутренняя часть рамы крепится к колесным мостам или к нижним рычагам при независимой подвеске, а наружная часть рамы крепится к валу-раструбу, который выполнен с возможностью его установки на диск колеса посредством конусообразной гайки, жестко закрепляемой на ступице колеса транспортного средства.
2. Устройство по п.1, отличающееся тем, что рама блока выполнена разборной, с подшипниками на концах наружной части и со стремянками на концах внутренней части для крепления к колесным мостам или нижним рычагам при независимой подвеске.
3. Устройство по п.1, отличающееся тем, что на вал-раструб устанавливаются резиновые вставки.
4. Устройство по п.1, отличающееся тем, что в качестве эластичной ленты используется резиновая гусеничная лента.
5. Устройство по п.1, отличающееся тем, что электромагнитный клапан имеет корпус из немагнитного материала с каналом, перепускной канавкой на входе, полостью, ограниченной заглушками с шайбами, в которой расположен стальной шток с пружиной, и электромагнитную катушку напряжением 12 или 24 В, смонтированную на корпусе.
6. Устройство по п.5, отличающееся тем, что корпус выполнен крестообразной или треугольной формы.
7. Устройство по п.5, отличающееся тем, что электромагнитная катушка может быть втягивающей или обратного принципа действия.
8. Устройство для повышения проходимости транспортного средства, имеющее съемные опорные приспособления с эластичной лентой, соединенные с элементами транспортного средства, отличающееся тем, что устройство имеет дополнительно электромагнитные клапаны, устанавливаемые на тормозные цилиндры, а съемные опорные приспособления выполнены в виде блока, содержащего раму, закрепленные на ней дополнительные колеса, опорные катки и натяжные ролики, которые охватывает, по крайней мере, одна эластичная лента, причем дополнительные колеса, наружная и внутренняя часть рамы насажены на вал-раструб, который выполнен с возможностью его установки на диск колеса транспортного средства посредством конусообразной гайки, жестко закрепляемой на ступице колеса транспортного средства.
9. Устройство по п.8, отличающееся тем, что рама блока выполнена разборной, с подшипниками на концах наружной и внутренней части для насадки на вал-раструб.
10. Устройство по п.8, отличающееся тем, что на вал-раструб устанавливаются резиновые вставки.
11. Устройство по п.8, отличающееся тем, что в качестве эластичной ленты используется резиновая гусеничная лента.
12. Устройство по п.8, отличающееся тем, что электромагнитный клапан имеет корпус из немагнитного материала с каналом, перепускной канавкой на входе, полостью, ограниченной заглушками с шайбами, в которой расположен стальной шток с пружиной, и электромагнитную катушку напряжением 12 или 24 В, смонтированную на корпусе.
13. Устройство по п.12, отличающееся тем, что корпус выполнен крестообразной или треугольной формы.
14. Устройство по п.12, отличающееся тем, что электромагнитная катушка может быть втягивающей или обратного принципа действия.
РИСУНКИ
|
|