|
|
(21), (22) Заявка: 2007117753/12, 14.07.2005
(24) Дата начала отсчета срока действия патента:
14.07.2005
(30) Конвенционный приоритет:
13.10.2004 US 10/965,553
(46) Опубликовано: 20.02.2009
(56) Список документов, цитированных в отчете о поиске:
US 6112921 A, 05.09.2000. US 6296130 B1, 02.10.2001. RU 0097115809 A, 10.07.1999.
(85) Дата перевода заявки PCT на национальную фазу:
14.05.2007
(86) Заявка PCT:
US 2005/025057 (14.07.2005)
(87) Публикация PCT:
WO 2006/044003 (27.04.2006)
Адрес для переписки:
103735, Москва, ул. Ильинка, 5/2, ООО “Союзпатент”, пат.пов. Л.С.Кишкиной
|
(72) Автор(ы):
РОБИНСОН Филип Дж. (US)
(73) Патентообладатель(и):
РИКСЭМ КЛОУЖУР СИСТЕМЗ ИНК. (US)
|
(54) УПАКОВКА ИЗ КОНТЕЙНЕРА И ЗАЩИЩЕННОГО ОТ ОТКРЫВАНИЯ ДЕТЬМИ УКУПОРОЧНОГО УСТРОЙСТВА С ФИКСАЦИЕЙ ОТКРУЧИВАНИЯ
(57) Реферат:
Упаковка, защищенная от открытия детьми, состоит из контейнера, имеющего горло с, по меньшей мере, одним участком внешней резьбы, по меньшей мере, одного осевого выступа на фланце, расположенного на некотором расстоянии от резьбы, и внешнего упора, выполненного на горле в радиальном направлении рядом с вышеупомянутым выступом. Укупорочное устройство состоит из оболочки цельнолитой пластиковой конструкции, содержащей основание, периферическую внешнюю стенку, внутреннюю стенку, расположенную на некотором расстоянии от внешней стенки и имеющую, по меньшей мере, один участок с внутренней резьбой для навинчивания на горло контейнера. Внешняя стенка имеет диаметрально противоположные круговые разрывы. Внутренняя стенка повторяет контуры зазоров в радиальном направлении и выполнена с возможностью обеспечения упора в окружном направлении в выступы. Ребра расположены вдоль оси на внешней поверхности внутренней стенки в пределах зазоров. Внутренняя стенка выполнена с возможностью упругого отклонения внутрь для обхода выступа между выступом и внешним упором для снятия укупорочного устройства с горла контейнера. Предусмотрены: вариант выполнения упаковки, а также контейнер для упаковки и укупорочное устройство для контейнера. Изобретение обеспечивает получение новой защитной упаковки, недоступной для открывания детьми. 4 н. и 13 з.п. ф-лы, 11 ил.
Область техники, к которой относится изобретение
Настоящее изобретение относится к укупорочным устройствам, защищенным от открывания детьми, контейнерам и упаковкам, в которых для откручивания и снятия укупорочного устройства с контейнера необходимо приложить сдавливающее усилие к противоположным сторонам укупорочного устройства. Такие укупорочные устройства и упаковки обычно называются укупорочными устройствами и упаковками с фиксацией откручивания.
Уровень техники
В патенте US 6112921 приводится описание укупорочного устройства, защищенного от открывания детьми, контейнера и упаковки, где укупорочное устройство представляет собой крышку с двойными стенками, на внутренней стенке которой выполнена внутренняя резьба для ввинчивания горла контейнера. В наружной стенке имеются диаметрально противоположные зазоры, а нажимные лапки, выступающие из внутренней стенки, расположены в районе зазоров. При навинчивании укупорочного устройства на горло контейнера по часовой стрелке нажимные лапки вводятся внутрь выступов на фланце контейнера. Упорные поверхности выступов препятствуют отвинчиванию крышки в направлении против часовой стрелки, если к нажимным лапкам не приложено радиальное сдавливающее усилие в направлении внутрь, в результате которого лапки выходят из контакта с внутренней частью выступов.
Сущность изобретения
Основной задачей настоящего изобретения является создание укупорочного устройства, защищенного от открывания детьми, контейнера и упаковки, в которых реализованы одно или большее число усовершенствований укупорочного устройства, контейнера и упаковки, описанных в упомянутом патенте.
В соответствии с одним аспектом настоящего изобретения упаковка, защищенная от открывания детьми, включает в себя контейнер с горлом, имеющим по меньшей мере один внешний резьбовой участок (или резьбовой сегмент), по меньшей мере один выполненный в осевом направлении выступ на фланце, находящийся на некотором расстоянии от резьбы, и внешний упор, расположенный на фланце рядом с выступом. Укупорочное устройство, являющееся целиком отлитой из пластика конструкцией, включает в себя основание, внешнюю периферийную стенку и внутреннюю стенку, находящуюся на некотором расстоянии от внешней стенки и имеющую по меньшей мере внутреннюю резьбу (или резьбовой сегмент) для крепления к горлу контейнера. Во внешней стенке имеются диаметрально противоположные зазоры, а внутренняя стенка простирается в осевом направлении с зазорами для обеспечения упора в окружном направлении в по меньшей мере один выступ на контейнере. Внутренняя стенка может упруго отклоняться внутрь между выступом и внешним упором для обхода выступа и для обеспечения снятия укупорочного устройства с горла контейнера. Внешний упор выполняется предпочтительно в форме внешнего буртика, идущего вокруг горла и центрированного относительно кромки выступа.
В соответствии с другим аспектом настоящего изобретения на нажимных лапках укупорочного устройства, защищенного от открывания детьми, имеются внешние ребра, выступающие из внутренней стенки укупорочного устройства. Ребра не доходят до нижних частей нажимных лапок для того, чтобы части лапок, расположенные ниже ребер, имели возможность обходить выступы на фланце контейнера, в то время как ребра предохраняют пальцы человека, открывающего упаковку, от удара о выступы на контейнере. Также ребра повышают выигрыш в силе при прижимании нажимных лапок в радиальном направлении для обхода выступов, что может облегчить снятие укупорочного устройства для пожилых людей. Дополнительным достоинством использования ребер является возможность повышать жесткость нажимных лапок для разных размеров и материалов укупорочного устройства за счет увеличения длины ребер в верхнем направлении вдоль внешней поверхности нажимных лапок и внутренней стенки. Торцы ребер связаны между собой выступающей наружу в радиальном направлении дугообразной полкой, предохраняющей пальцы человека, открывающего упаковку, от зацепления за торцы ребер.
В соответствии с третьим аспектом настоящего изобретения упаковка, защищенная от открывания детьми, включает в себя корпус с горлом, снабженным по меньшей мере одним участком с внешней резьбой, по меньшей мере один осевой выступ на фланце, расположенный на некотором расстоянии от резьбы, и внешний упор, выполненный на горле рядом с выступом. Внешний упор в предпочтительном осуществлении изобретения включает в себя кольцевой буртик, центрированный относительно внутренней кромки выступа.
Для более полного объяснения настоящего изобретения с его дополнительными объектами, деталями, преимуществами и аспектами ниже приводится его подробное описание, формула и чертежи.
Краткое описание чертежей
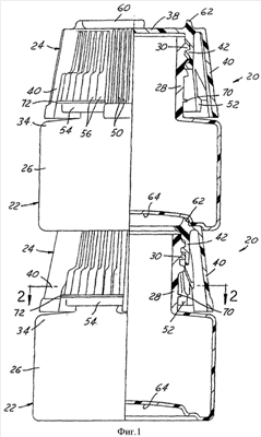
Фиг.1 – вид сбоку с частичным разрезом двух упаковок, защищенных от открывания детьми, соответствующих являющемуся в настоящее время предпочтительным варианту осуществления изобретения;
фиг.2 – вид в сечении 2-2, обозначенном на фиг.1;
фиг.3 – увеличенный вид в соответствии с выноской 3 фиг.2;
фиг.4 – вид в сечении 4-4 фиг.2;
фиг.5 – вид сбоку с частичным разрезом контейнера упаковки, показанной на фиг 1;
фиг.6 – вид сверху контейнера, показанного на фиг.5;
фиг.7 – вид сверху укупорочного устройства упаковки, показанной на фиг.1;
фиг.8 – вид в сечении 8-8 фиг.7;
фиг.9 – вид в сечении 9-9 фиг.7;
фиг.10 – вид по стрелке 10 фиг.9;
фиг.11 – вид сбоку с частично показанным видом в сечении 11-11, обозначенном на фиг.7.
Подробное описание изобретения
На фиг.1 показаны две упаковки 20, состоящие из контейнера и укупорочного устройства, соответствующие приведенному в качестве примера и в настоящее время являющемуся предпочтительным осуществлению изобретения, установленные одна на другой. Каждая упаковка 20 включает в себя контейнер 22 и укупорочное устройство 24. Контейнер 22 (фиг.1, 5, 6) состоит из корпуса 26, из которого выступает горло 28. Горло 28 обычно представляет собой цилиндрическую конструкцию и имеет один или большее количество участков с внешней резьбой (или резьбовых сегментов) 30 для крепления укупорочного устройства 24. На фланце 34 контейнера 22 выполнены два диаметрально противоположных выступа 32, ориентированных вдоль оси. Каждый из выступов 32 имеет упорную поверхность 35, ориентированную в направлении против часовой стрелки (фиг.6), и профилированные грани 36, ориентированные против часовой стрелки. Выступы 32 выполнены со смещением в радиальном направлении наружу от горла 28 из соображений, которые будут изложены ниже. Внешний упор 70 расположен на горле 28 рядом с каждым выступом 32. Внешний упор 70 предпочтительно выполнен в форме кольцевого буртика на горле 28. Буртик 70 является предпочтительно непрерывным по всей окружности и предпочтительно центрированным относительно верхних кромок выступов 32, как показано на фиг.5. Буртик 70 предпочтительно расположен в плоскости, перпендикулярной оси горла 28.
Укупорочное устройство 24 (см. фиг.1, 7-11) состоит из основания 38, от которого в осевом направлении отходит периферийная стенка или юбка 40. В осуществлении изобретения, показанном на чертежах, основание 38 имеет круговую периферию, а стенка 40 выполнена в виде усеченного конуса. В других вариантах осуществления изобретения стенка 40 может иметь отличное от кругового поперечное сечение для сопряжения с геометрией корпуса контейнера. Внутренняя стенка или юбка 42 отходит в осевом направлении от нижней стороны основания 38 и расположена внутри внешней юбки 40.
Внутренняя стенка 42 имеет один или большее количество резьбовых участков (или резьбовых сегментов) 44 для крепления укупорочного устройства 24 к внешним резьбовым участкам 30 горла 28 контейнера. Внешняя стенка 40 не является непрерывной в окружном направлении, а имеет противоположные кромки, образующие два диаметрально противоположных зазора 46, 48 (см. фиг.2 и 7). На внешней поверхности внешней стенки 40 могут быть выполнены декоративные элементы в форме расположенных вдоль оси ребер.
Как показано на фиг.2 и 9, две диаметрально противоположных нажимных лапки или площадки 52 и 54 отходят от внутренней стенки 42 в осевом направлении параллельно внешней стенке 40 и смещены внутрь от внешней стенки 40 в радиальном направлении. Как показано на фиг.7, 8 и 11, эти нажимные лапки 52 и 54 ориентированы в радиальном направлении так же, как и разрывы 46, 48 во внешней стенке 40. На каждой нажимной лапке 52, 54 выполнен ряд расположенных по окружности внешних ребер 56, ориентированных вдоль оси. В предпочтительной реализации изобретения ребра 56 идут от точки рядом с основанием 38 укупорочного устройства до точки, находящейся рядом с нижними гранями нажимных лапок и отстоящей от них на некоторое расстояние, причем наибольшую толщину в радиальном направлении (см. фиг.9) они имеют в тех частях лапок 52, 54, которые выходят из внутренней стенки 42. Плоская дугообразная полка 72, выполненная в наружном радиальном направлении, соединяет нижние торцы ребер 56 между собой. Полки 72 лежат в общей плоскости, перпендикулярной оси внутренней стенки 42.
Для установки укупорочного устройства 24 на горло контейнера 28 его располагают так, чтобы внутренняя стенка 42 находилась над горлом контейнера, и поворачивают укупорочное устройство относительно горла контейнера в направлении часовой стрелки (или поворачивают контейнер относительно укупорочного устройства в направлении против часовой стрелки). Нижние торцы нажимных лапок 56 располагают на окружности с центром на оси вращения (на осях горла 28 и стенки 42) для введения их в зацепление с профилированными гранями 36 выступов 32. Внутренняя поверхность 58 каждого из выступов 32 скруглена таким образом, чтобы выталкивать нажимные лапки 52, 54 внутрь в радиальном направлении при навинчивании укупорочного устройства по часовой стрелке на горло контейнера, в результате чего нажимные лапки обходят выступы. При попытке снятия укупорочного устройства путем его вращения относительно горла контейнера в направлении против часовой стрелки (или вращения контейнера относительно укупорочного устройства в направлении по часовой стрелке) нажимные лапки 52, 54 входят в зацепление с упорными поверхностями 35 упорных выступов 32 (см. фиг.2-4). Нажимные лапки 52, 54 должны быть вручную введены в промежутки между выступами 32 и внешней поверхностью горла 28 контейнера. Наличие углубления или впадины на упорной поверхности 35 каждого из выступов 32 обеспечивает самоцентрирование нажимных лапок относительно выступов, что позволяет предотвратить случайное перемещение нажимной лапки в случае вращения укупорочного устройства относительно горла контейнера с применением большого усилия, не допуская открывания упаковки ребенком.
Наличие ребер 56 в сочетании с тем фактом, что ребра заканчиваются немного не доходя до нижней грани нажимных лапок 52, 54, позволяет предотвратить удар пальцев человека, открывающего упаковку, о выступы 32 при снятии укупорочного устройства с контейнера. Кроме того, ребра 56 повышают выигрыш в силе при прижимании нажимных лапок в радиальном направлении для обхода выступов, что может облегчить снятие укупорочного устройства для пожилых людей. Из чертежей видно, что ребра 56 имеют наибольшую толщину в районе гибких частей нажимных лапок 52, 54 и относительно небольшую толщину вдоль внешней поверхности внутренней стенки 42. Для разных размеров и материалов укупорочного устройства более толстые в радиальном направлении участки ребер 56 могут выполняться более протяженными в направлении вверх вдоль стенки 42 для повышения жесткости нажимных лапок 52, 54. Упорный буртик 70 ограничивает радиальное перемещение нажимных лапок 52, 54 при их прижимании, что в сочетании с полками 72 является дополнительной защитой от ударов пальцев человека о выступы 32.
На верхней поверхности основания 38 укупорочного устройства выполнены два дугообразных ребра 60 и 62, идущие в осевом направлении вверх. В окружном направлении ребра 60 и 62 занимают на основании сектора в основном соответствующие сегментными участкам внешней стенки 40, как показано на фиг.7. Ребра 60 и 62, имеющие общую ось с центральной осью укупорочного устройства, образуют выступы, которые могут входить в углубления 64 на дне корпуса 26 контейнера, что позволяет устанавливать упаковки одна на другую, как это показано на фиг.1.
Таким образом, приведено раскрытие сущности укупорочного устройства с фиксацией откручивания, защищенного от открытия детьми, контейнера и упаковки, полностью удовлетворяющих всем целям и задачам поставленным выше. Сущность настоящего изобретения раскрыта в соответствии с являющимся в настоящее время предпочтительным вариантом осуществлением изобретения, а также была проведена проработка ряда усовершенствований и изменений. Прочие модификации и изменения могут быть легко внесены специалистами, имеющими среднюю квалификацию в данной области. Настоящее изобретение предназначено охватить все подобные модификации и изменения, не выходящие за рамки существа и объема изобретения, изложенных в прилагаемой формуле.
Формула изобретения
1. Упаковка, защищенная от открытия детьми, включающая
контейнер 22, имеющий горло 28 с по меньшей мере одним участком внешней резьбы 30, по меньшей мере один осевой выступ 32 на фланце 34, расположенный на некотором расстоянии от резьбы, и внешний упор 70, выполненный на горле в радиальном направлении рядом с вышеупомянутым выступом;
укупорочное устройство 24, состоящее из оболочки, являющейся цельно литой пластиковой конструкцией, включающей
основание 38, периферическую внешнюю стенку 40, внутреннюю стенку 42, расположенную на некотором расстоянии от внешней стенки и имеющую по меньшей мере один участок с внутренней резьбой 44 для навинчивания на горло контейнера,
внешнюю стенку, имеющую диаметрально противоположные круговые разрывы 46 и 48;
внутреннюю стенку, повторяющую контуры зазоров в радиальном направлении, выполненную с возможностью обеспечения упора в окружном направлении в выступы и имеющую ребра 56, расположенные вдоль оси на внешней поверхности внутренней стенки в пределах зазоров,
внутреннюю стенку, выполненную с возможностью упругого отклонения внутрь для обхода выступа между выступом и внешним упором для снятия укупорочного устройства с горла контейнера.
2. Упаковка по п.1, в которой внешний упор 70 включает в себя внешний кольцевой буртик, выполненный вокруг горла между резьбовым участком и фланцем.
3. Упаковка по п.2, в которой ребра 56 оканчиваются не доходя до кромки внутренней стенки, а укупорочное устройство включает в себя полку 72, соединяющую торцы ребер, расположенных на некотором расстоянии относительно основания.
4. Упаковка по п.1, в которой выступ 32 имеет упорную вогнутую поверхность 35 для зацепления с внутренней стенкой при отсутствии отклонения внутренней стенки внутрь для обхода выступа.
5. Упаковка по п.1, в которой внешний упор 70 центрирован относительно выступа.
6. Упаковка по п.5, в которой внешний упор 70 центрирован относительно верхней кромки выступа 32.
7. Упаковка по п.6, в которой внешний упор 70 включает в себя кольцевой буртик, выполненный вокруг горла.
8. Упаковка, защищенная от открытия детьми, включающая
контейнер 22, имеющий горло 28 с по меньшей мере одним участком внешней резьбы 30, по меньшей мере один осевой выступ 32 на фланце 34, расположенный на некотором расстоянии от резьбы;
укупорочное устройство 24, состоящее из оболочки, являющейся цельно литой пластиковой конструкцией, включающей
основание 38, периферическую внешнюю стенку 40, внутреннюю стенку 42, расположенную на некотором расстоянии от внешней стенки и имеющую по меньшей мере один участок с внутренней резьбой 44 для навинчивания на горло контейнера;
внешнюю стенку, имеющую диаметрально противоположные круговые зазоры 46 и 48;
внутреннюю стенку, повторяющую контуры зазоров в радиальном направлении, выполненную с возможностью обеспечения упора в окружном направлении в выступы и имеющую ребра 56, расположенные вдоль оси на внешней поверхности внутренней стенки в пределах зазоров;
ребра, торцы которых расположены на некотором расстоянии от кромки внутренней стенки и соединены посредством дугообразной полки 72, выступающей наружу в радиальном направлении;
внутреннюю стенку, выполненную с возможностью упругого отклонения внутрь для обхода вышеупомянутого выступа между выступом и внешним упором для снятия укупорочного устройства с горла контейнера.
9. Упаковка по п.8, в которой горло контейнера имеет внешний упор 70 рядом с выступом 32, а внутренняя стенка выполнена с возможностью упругого отклонения внутрь для обхода выступа между выступом и внешним упором.
10. Упаковка по п.9, в которой упор 70 включает в себя внешний кольцевой буртик, выполненный вокруг горла между внешней резьбой и фланцем.
11. Контейнер 22 для упаковки, защищенной от открытия детьми, включающий
корпус 26 и горло 28 с по меньшей мере одним участком внешней резьбы 30, по меньшей мере один осевой выступ 32 на фланце 34, отстоящий на некоторое расстояние от резьбы и внешний упор 70 на горле, находящийся в радиальном направлении рядом, но на некотором расстоянии от выступа.
12. Контейнер по п.11, в котором внешний упор 70 включает в себя внешний кольцевой буртик, выполненный вокруг горла между внешней резьбой и фланцем.
13. Контейнер по п.11, в котором выступ 32 имеет упорную вогнутую поверхность 35 для зацепления с внутренней стенкой при отсутствии отклонения внутренней стенки внутрь для обхода выступа.
14. Контейнер по п.11, в котором внешний упор 70 центрирован относительно выступа 32.
15. Контейнер по п.14, в котором внешний упор 70 центрирован относительно верхней кромки выступа 32.
16. Контейнер по пп.14 и 15, в котором внешний упор 70 включает в себя внешний кольцевой буртик, выполненный вокруг горла.
17. Укупорочное устройство 24 для контейнера 22, имеющего горло 28 с внешней резьбой 30 и осевым выступом 32 на фланце 34, отстоящим на некоторое расстояние от резьбы, являющееся цельно литой пластиковой конструкцией и включающее
основание 38;
периферическую внешнюю стенку 40;
внутреннюю стенку 42, расположенную на некотором расстоянии от внешней стенки и имеющую по меньшей мере один участок внутренней резьбы 44 для навинчивания на горло контейнера;
внутреннюю стенку, имеющую диаметрально противоположные окружные зазоры 46, 48;
внутреннюю стенку, повторяющую контуры зазоров в радиальном направлении, выполненную с возможностью обеспечения упора в окружном направлении в выступ контейнера;
внутреннюю стенку, выполненную с возможностью упругого отклонения внутрь для обхода выступа и обеспечения возможности снятия укупорочного устройства с горла контейнера;
внутреннюю стенку, имеющую ребра 56, расположенные вдоль оси на внешней поверхности внутренней стенки в пределах зазоров, торцы которых расположены на некотором расстоянии от кромки внутренней стенки и соединены посредством дугообразной полки 72, выступающей наружу в радиальном направлении.
РИСУНКИ
|
|