|
|
(21), (22) Заявка: 2007131265/12, 17.01.2005
(24) Дата начала отсчета срока действия патента:
17.01.2005
(46) Опубликовано: 20.02.2009
(56) Список документов, цитированных в отчете о поиске:
ES 2080646 А2, 01.02.1996. US 2004/0026464 A1, 12.02.2004. RU 13482 U1, 20.04.2000.
(85) Дата перевода заявки PCT на национальную фазу:
17.08.2007
(86) Заявка PCT:
ES 2005/070007 (17.01.2005)
(87) Публикация PCT:
WO 2006/077271 (27.07.2006)
Адрес для переписки:
129090, Москва, ул. Б.Спасская, 25, стр. 3, ООО “Юридическая фирма Городисский и Партнеры”, пат.пов. С.Р.Абубакирову, рег.№ 931
|
(72) Автор(ы):
БАСТЕРО ЛОПЕС Хесус Мария (ES)
(73) Патентообладатель(и):
БАРАНГУА, С.Л. (ES)
|
(54) ИСКЛЮЧАЮЩИЙ ПОВТОРНОЕ ЗАПОЛНЕНИЕ КОЛПАЧОК
(57) Реферат:
Исключающий повторное заполнение колпачок содержит выливную систему, включающую первый цилиндрический корпус, который герметично входит внутрь горлышка сосуда, и закупоривающую систему, которую можно вставлять внутрь выливной системы. Дно выливной системы содержит секцию в виде усеченного конуса, которая сужается в поперечном сечении, так, что соединение между сужающейся секцией в виде усеченного конуса и первым цилиндрическим корпусом осуществляется с помощью соединительной системы шарнирного типа с двумя устойчивыми состояниями. В качестве второго объекта изобретения предусмотрена система автоматического уплотнения с описанным исключающим повторное заполнение колпачком. Изобретение обеспечивает получение нового исключающего повторное заполнение колпачка, который в свою очередь имеет простую конструкцию и позволяет снизить стоимость изготовления. 2 н. и 4 з.п. ф-лы, 4 ил.
Область техники, к которой относится изобретение
Изобретение относится к уплотнительной системе, которая предотвращает последующее повторное заполнение сосуда.
В частности, данное изобретение относится к колпачку с исключающим повторное заполнение выливным отверстием для сосуда типа бутылки, включающему систему для регулирования по желанию выливаемого потока содержащейся в нем жидкости и предотвращающему повторное заполнение бутылки посредством введения жидкости из внешнего источника.
Уровень техники
Уже известны различные колпачки с исключающими повторное заполнение выливными отверстиями, которые закрепляются на горлышке бутылки, в которых различные части взаимодействуют друг с другом для определения достаточного выливаемого потока жидкости, содержащейся в бутылке, и которые действуют в качестве защитного устройства для предотвращения повторного заполнения бутылки.
Обычно исключающий повторное заполнение колпачок состоит из различных собранных вместе частей, каждая из которых выполнена в литейной форме из разного пластмассового материала; например, исключающий повторное заполнение колпачок состоит из выливной части, внутри которой перемещается под действием силы тяжести закупоривающая система или автоматический клапан, и каких-нибудь направляющих систем, которые служат для направления перемещения клапана и одновременно для ограничения открытого положения устройства.
Следовательно, необходимо выполнять несколько операций для завершения сборки исключающего повторное заполнение колпачка, при этом весь узел образует полную конструкцию, которую относительно трудно собирать, которая требует дорогостоящих литейных форм, что увеличивает общую стоимость исключающего повторное заполнение колпачка.
Поэтому необходимо разработать колпачок с исключающей повторно заполнение выливной частью, которая содержит уменьшенное число элементов простой конструкции с целью упрощения сборки всего узла и снижения стоимости изготовления.
Сущность изобретения
В основу данного изобретения положена задача устранения или уменьшения одного или нескольких указанных выше недостатков с помощью улучшенного колпачка с исключающей повторное заполнение выливной частью, содержащей выливную систему, которая включает первый цилиндрический корпус, который герметично входит в горлышко сосуда, и закупоривающую систему, вставленную внутрь выливной системы, при этом дно выливной системы содержит секцию с сужающимся сечением, так, что соединение между сужающейся секцией и первым цилиндрическим корпусом осуществляется с помощью соединительной системы шарнирного типа с двумя устойчивыми состояниями.
Одной целью изобретения является создание исключающего повторное заполнение колпачка, который содержит уменьшенное число относительно просто изготавливаемых и собираемых частей с обеспечением изготовления указанного исключающего повторное заполнение колпачка с использованием минимального количества материала и трудовых затрат для получения исключающего повторное заполнение колпачка с уменьшенной стоимостью.
Другой целью изобретения является исключение последующего несанкционированного повторного заполнения бутылки. Эта функция основана на вертикальном перемещении закупоривающей системы или дросселирующего клапана в зависимости от нахождения бутылки в вертикальном или наклоненном положении.
Еще одной целью данного изобретения является упрощение процесса изготовления с помощью отливки в формы и сборки различных частей, образующих исключающий повторное заполнение колпачок.
Поэтому изобретение обеспечивает упрощение и удешевление изготовления исключающего повторное заполнение колпачка за счет повышения производственной эффективности.
Краткое описание чертежей
Ниже приводится подробное описание устройства согласно изобретению, исключительно лишь в качестве примера, со ссылками на прилагаемые чертежи, на которых изображено:
фиг. 1 – вертикальный разрез колпачка с исключающей повторное заполнение выливной частью согласно изобретению;
фиг. 2 – частичный вертикальный разрез закупоривающей системы согласно изобретению;
фиг. 3 – вид в перспективе выливной системы согласно изобретению; и
фиг. 4 – частичный вертикальный разрез системы с исключающей повторное заполнение выливной частью согласно изобретению.
Подробное описание изобретения
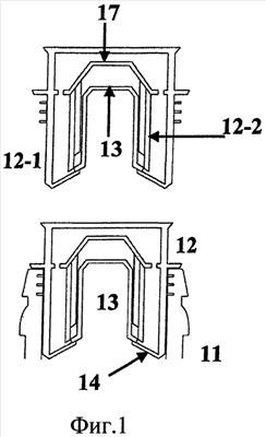
На фиг.1 показан исключающий повторное заполнение колпачок, содержащий выливную систему 12, выполненную с использованием литейных форм из трубчатой цилиндрической секции для герметичной вставки внутрь горлышка сосуда, такого как бутылка 11, и закупоривающую систему 13, которая перемещается между закрытым положением при нахождении бутылки 11 в вертикальном положении с опорой на свое основание, предотвращающее вливание жидкости внутрь бутылки, и положением выливания, когда бутылка перевернута так, что закупоривающая система 13 выходит из закрытого положения, обеспечивая прохождение содержимого бутылки 11 наружу.
Диаметр нижней части первого цилиндрического корпуса 12-1 постепенно уменьшается с образованием конической секции 14 в виде усеченного конуса, наподобие заслонки, прогрессивно сужающегося в направлении центральной оси выливной части 12. Центральный зазор позволяет выливать жидкость из внутреннего пространства бутылки 11 наружу.
На фиг.3 показано, что соединение между сужающейся заслонкой в виде усеченного конуса и первым трубчатым корпусом 12-1 выполнено с помощью соединительной системы наподобие шарнира или соединения с двумя устойчивыми состояниями. Другими словами, сужающаяся заслонка имеет первое или исходное положение, как описано выше, и второе, конечное или опорное положение, когда пробка 13 или клапан расположен внутри выливной части 12. Два положения заслонки 14 показаны на фиг.1 и 3.
Наверху внутреннего пространства выливной части 12, т.е. в конце, противоположном сужающейся заслонке 14 в виде усеченного конуса, имеются различные периферийные радиальные выступы 16 на одном или двух уровнях, в последнем случае друг над другом, а именно распорки или ребра, которые достаточно выступают из внутренней стороны стенки выливной части 12 в направлении центра выливной части с целью соединения и опоры купола 17, который ограничивает продольное перемещение пробки 13.
Следует отметить, что эти радиальные выступы 16 обеспечивают прохождение содержимого бутылки, когда бутылка находится в положении выливания, и одновременно образуют кожух для защиты от возможного манипулирования с закупоривающим средством 13 или клапаном.
Внизу этого купола 17 имеется также второй цилиндрический корпус 12-2, концентричный или коаксиальный первому корпусу 12-1 выливной части 12; аналогичным образом второй корпус 12-2 имеет цилиндрическую трубчатую секцию более короткой длины, чем трубчатая секция первого цилиндрического корпуса 12-1, т.е. второй трубчатый корпус 12-2, который проходит в направлении внутреннего пространства первого трубчатого корпуса 12-1 выливной части.
Второй цилиндрический корпус 12-2 имеет несколько ребер, равномерно распределенных на внутренней поверхности цилиндра, которые направляют перемещение закупоривающей системы 13 между закрытым или опорным положением, когда бутылка находится в вертикальном положении, и противоположным положением, в котором она позволяет содержимому бутылки 11 свободно вытекать, когда бутылка перевернута.
Следовательно, закупоривающая система 13 или клапан должна размещаться в седле, образованном между куполом 17, вторым трубчатым цилиндром 12-2 и сужающейся заслонкой 14 в виде усеченного конуса выливной части 12. Поэтому закупоривающая система 13 должна иметь любую форму, подходящую для введения под давлением в указанное седло, образованное в выливной части 12, через зазор в сужающейся заслонке 14 в виде усеченного конуса, так, что, когда закупоривающая система 13 введена в выливную часть 12, то сужающаяся заслонка 14 в виде усеченного конуса переворачивается в направлении внутреннего пространства выливной части 12 в опорное или закрытое положение, показанное на фиг. 3, которое предотвращает наливание жидкости в бутылку 11.
Поэтому после размещения закупоривающей системы 13 во внутреннем пространстве выливной части 12 сужающаяся заслонка 14 в виде усеченного конуса ориентирована торцевой поверхностью вверх, т.е. в направлении купола 17 выливной части 12, показанной на фиг. 1, 3 и 4, так, что, когда бутылка 11 находится в вертикальном положении, то закупоривающая система 13 опирается по меньшей мере на кромку наименьшего диаметра сужающейся заслонки 14 в виде усеченного конуса.
После принятия сужающейся заслонкой 14 в виде усеченного конуса опорного положения нет возможности извлечения закупоривающей системы 13 без разрушения указанной сужающейся заслонки 14 в виде усеченного конуса.
Кроме того, как показано на фиг. 4, исключающий повторное заполнение колпачок дополнен наружным колпачком 41, который может быть соединен при изготовлении с первым корпусом 12-1 выливной части 12 с помощью отрывной линии, так, что весь узел закрывается указанным колпачком 41.
Следует отметить, что исключающий повторное заполнение колпачок выполнен из различных частей, из которых одна или несколько частей, которые образуют выливную часть 12, которая должна оставаться прикрепленной к горлышку бутылки 11, образованы лишь двумя собираемыми частями, а именно выливной частью 12 как таковой и закупоривающей системой 13.
Закупоривающая система 13 может иметь различные формы, такие как шар или другие, так, что когда сосуд находится в своем нормальном вертикальном положении, то указанная закупоривающая система опирается на свое седло и предотвращает повторное заполнение сосуда 11, а когда сосуд 11 наклонен, то закупоривающая система 13 сдвигается с места, позволяя жидкости, содержащейся в сосуде 11, вытекать наружу.
Как показано на фиг. 2, закупоривающая система 13 может иметь форму перевернутой буквы U или форму наперстка, край которого расширен с помощью периферийного расширения наподобие кольцеобразного обруча 13-1, ориентированного в противоположном направлении от оси симметрии наперстка, т.е. его диаметр прогрессивно увеличивается для создания секции, которая сужается в поперечном сечении. Таким образом, в исходном положении бутылки 11 закупоривающая система 13 опирается на седло, образованное у основания выливной части 12, с образованием закрытого положения на сужающейся плоскости, показанной на фиг. 1 и 4, образованной заслонкой 14 выливной части 12, что делает практически невозможным повторное заполнение бутылки 11.
Как показано на фиг. 1, колпачок с исключающей повторное заполнение выливной частью 12 расположен в горлышке бутылки 11 и состоит из двух частей, а именно выливной части 12 и закупоривающей системы или клапана 13. Жидкость выливается через отверстия и проходы, образованные между первым цилиндрическим корпусом 12-1, вторым цилиндрическим корпусом 12-2, куполом 17 и распорками или ребрами 16, на которые он опирается.
Как показано на фиг. 4, на наружной стороне горлышка бутылки 11 имеется наружное кольцо или наружная заслонка, физически соединенная с выливной частью 12 через плоское кольцо, которое выступает из наружной поверхности указанной выливной части 12. Следовательно, указанная заслонка снаружи горлышка бутылки 11 дополнительно удерживает и закрепляет выливную часть 12 в горлышке бутылки 11 еще больше.
Указанная наружная заслонка может быть соединена постоянно с корпусом выливной части 12 в случае изготовления обеих частей в виде одной части посредством отливки. Следовательно, создается выливная часть 12 с наружной заслонкой и закрепляется на горлышке бутылки виде одной детали.
Формула изобретения
1. Исключающий повторное заполнение колпачок, содержащий выливную систему (12), которая включает первый цилиндрический корпус (12-1), который герметично входит внутрь горлышка сосуда (11), закупоривающую систему (13), которую можно вставлять внутрь выливной системы (12), отличающийся тем, что дно выливной системы (12) содержит секцию (14) в виде усеченного конуса, которая сужается в поперечном сечении так, что соединение между сужающейся секцией (14) в виде усеченного конуса и первым цилиндрическим корпусом (12-1) осуществляется с помощью соединительной системы шарнирного типа с двумя устойчивыми состояниями.
2. Колпачок по п.1, отличающийся тем, что закупоривающая система (13) выполнена в форме перевернутой буквы U, и окружена у своего основания кольцеобразным ободом (13-1) с сужающейся секцией.
3. Колпачок по п.2, отличающийся тем, что закрытое положение закупоривающей системы (13) получается на наклонной плоскости, образованной сужающейся секцией (14) в виде усеченного конуса, когда она находится в опорном положении, в котором она опирается на запирающую систему для уплотнения входа в сосуд (11).
4. Колпачок по любому из пп.1-3, отличающийся тем, что исключающий повторное заполнение колпачок содержит две собираемые части: выливную систему (12) и запирающую систему (13), которая может быть размещена в выливной системе.
5. Колпачок по п.4, отличающийся тем, что к плоскому, по существу горизонтальному кольцу, которое выступает из корпуса выливной части (12), прикреплена постоянно наружная заслонка, приспособленная для удерживания и фиксации указанной выливной части (12) на горлышке сосуда (11).
6. Система автоматического уплотнения, которая может быть герметично установлена внутри горлышка сосуда (11), отличающаяся тем, что она содержит исключающий повторное заполнение колпачок по п.4, который может быть закрыт с помощью наружной уплотнительной системы (41), которая может быть соединена при изготовлении с помощью отрывной линии с первым корпусом (12-1) исключающего повторное заполнение колпачка.
РИСУНКИ
|
|