|
|
(21), (22) Заявка: 2007108159/11, 05.03.2007
(24) Дата начала отсчета срока действия патента:
05.03.2007
(43) Дата публикации заявки: 10.09.2008
(46) Опубликовано: 20.02.2009
(56) Список документов, цитированных в отчете о поиске:
RU 2237600 С2, 10.10.2004. RU 2227108 C1, 20.04.2004. RU 2151720 C1, 27.06.2000. US 5206655 A, 27.04.1993. US 5823477 A, 20.10.1998.
Адрес для переписки:
662972, Красноярский край, ЗАТО Железногорск, г. Железногорск, ул. Ленина, 52, ФГУП НПОПМ, Р.П. Туркеничу
|
(72) Автор(ы):
Тестоедов Николай Алексеевич (RU), Косенко Виктор Евгеньевич (RU), Бартенев Владимир Афанасьевич (RU), Кесельман Геннадий Давыдович (RU), Близневский Александр Сергеевич (RU), Халиманович Владимир Иванович (RU), Акчурин Владимир Петрович (RU), Загар Олег Вячеславович (RU), Томчук Альберт Владимирович (RU), Туркенич Роман Петрович (RU), Юровских Андрей Петрович (RU), Шилкин Олег Валентинович (RU), Сергеев Юрий Дмитриевич (RU), Голованов Юрий Матвеевич (RU), Басынин Виктор Владимирович (RU), Воловиков Виталий Гавриилович (RU), Дмитриев Геннадий Валерьевич (RU)
(73) Патентообладатель(и):
Федеральное государственное унитарное предприятие “Научно-производственное объединение прикладной механики им. академика М.Ф. Решетнева” (RU)
|
(54) СОТОВАЯ ПАНЕЛЬ
(57) Реферат:
Изобретение относится к конструкции систем терморегулирования космических аппаратов, преимущественно телекоммуникационных спутников с длительным сроком эксплуатации. Панель содержит два независимых встроенных параллельных тракта теплоносителя, приклеенных своими полками к параллельно расположенным обшивкам панели. Тракты соединены соседними концами своих участков, расположенных между входом и выходом каждого тракта, посредством U-образных переходников. При этом оба указанных тракта выполнены из одинаковых профильных трубопроводов и от входа до выхода полностью проложены, включая U-образные переходники, внутри панели рядом друг с другом. Тракты размещены с чередующимися величинами шага между ними, различающимися не менее чем на две ширины полки. Панель обеспечивает комфортные условия работы установленных на ней приборов при циркуляции по встроенным трактам как жидкого, так и двухфазного теплоносителя. Технический результат изобретения состоит в повышении функциональной надежности панели при обеспечении минимально возможной ее массы. 2 ил.
Изобретение относится к космической технике, в частности может быть использовано при создании телекоммуникационных спутников с длительным сроком эксплуатации на орбите.
Известны сотовые панели с встроенным трактом теплоносителя по патентам Российской Федерации №2237600 (прототип), №2227108, которые содержат размещенные вне контура панелей U-образные переходники между соседними концами параллельных встроенных трактов.
Анализ показал, что указанные панели, в особенности панели раскрываемого радиатора с двухсторонним излучением тепла, при использовании в тракте как жидкого теплоносителя, так и двухфазного теплоносителя, обладают недостаточно высокой функциональной надежностью в условиях работы в течение длительного (15 лет и более) срока эксплуатации на орбите, где существует определенная, хотя и достаточно низкая, вероятность пробоя тракта (с потерей герметичности) техногенными частицами или микрометеоритами, в особенности размещенных вне контура панелей вышеуказанных U-образных переходников (в настоящее время, как показал анализ, нигде не регламентировано размещение вышеуказанных U-образных переходников, и исходя из относительной простоты технологии изготовления их размещают вне контура панели, что также увеличивает массу панели).
В настоящее время нашим предприятием с целью существенного повышения надежности космических аппаратов с длительным (15 лет и более) сроком эксплуатации на орбите разработано техническое решение, предполагающее, в частности, размещение в сотовых панелях двух независимых встроенных трактов.
Авторами при разработке таких панелей были проанализированы различные возможные варианты размещения в сотовой панели двух независимых трактов и установлено: максимально возможную функциональную надежность работы панели и одновременно минимально возможную массу ее обеспечивает сотовая панель, выполненная таким образом, что оба параллельных тракта выполнены из одинаковых профильных трубопроводов и от соответствующих входа и выхода проложены полностью, в том числе U-образные переходники, внутри панели рядом друг с другом с чередующимися величинами шагов, отличающимися не менее чем на две ширины полки, что и является, по мнению авторов, существенными отличительными признаками предлагаемого технического решения.
В результате анализа, проведенного авторами известной патентной и научно-технической литературы, предложенное сочетание существенных отличительных признаков заявляемого технического решения в известных источниках информации не обнаружено, и, следовательно, известные технические решения не проявляют тех же свойств, что в заявляемой сотовой панели.
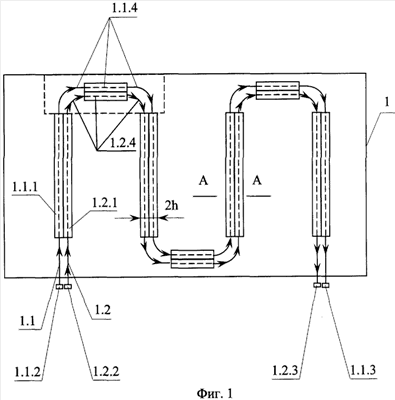
Предлагаемая сотовая панель (см. фиг.1 и 2, где изображена ее принципиальная схема) включает в себя следующие элементы:
– встроенные в панель 1 (например, в раскрываемую панель радиатора с двухсторонним излучением избыточного тепла) два независимых тракта теплоносителя – выполненные из одинаковых профильных трубопроводов 1.1 и 1.2 (1.1.1 и 1.2.1 полки указанных трубопроводов; 1.1.2, 1.2.2 – входы в независимые тракты, 1.1.3, 1.2.3 – выходы из названных трактов);
– обшивки 1.3 и 1.4;
– наполнитель 1.5;
– U-образные переходники 1.1.4 и 1.2.4 между соседними параллельными трактами.
Все элементы профильных трубопроводов 1.1 и 1.2 проложены внутри сотовой панели 1, и независимые тракты теплоносителя надежно защищены от возможного воздействия техногенных частиц или микрометеоритов не только собственными стенками профильных трубопроводов, но дополнительно защищены сотами 1.5 и обшивками 1.3 и 1.4.
Выполнение трактов из двух одинаковых профильных трубопроводов и размещение их в панели согласно предложенному техническому решению, как показал всесторонний анализ различных вариантов размещения, предложенная схема – это единственный вариант, обеспечивающий как повышение функциональной надежности каждого тракта, так и минимально возможную массу при создании панелей с встроенными двумя независимыми трактами теплоносителя.
Таким образом, предложенное техническое решение повышает функциональную надежность панели не только от выполнения в ней двух независимых трактов, но и от оригинального размещения выполненных из одинаковых профильных трубопроводов трактов полностью внутри панели рядом друг с другом с заранее определенными величинами шагов между параллельными трактами; кроме того, в результате такого выполнения двух независимых трактов обеспечивается минимально возможная масса панели, т.е. тем самым достигаются цели изобретения.
В настоящее время предложенная авторами конструкция сотовой панели предусмотрена в технической документации на вновь разрабатываемый телекоммуникационный спутник с длительным (15 и более лет) сроком эксплуатации на орбите.
Формула изобретения
Сотовая панель, содержащая два независимых встроенных параллельных тракта теплоносителя, приклеенных своими полками к параллельно расположенным обшивкам панели, размещенных с определенными величинами шага между указанными независимыми трактами и соединенных соседними концами, расположенными между входом и выходом каждого тракта, посредством U-образных переходников, отличающаяся тем, что оба указанных независимых тракта выполнены из одинаковых профильных трубопроводов и от входа до выхода полностью проложены, включая указанные U-образные переходники, внутри сотовой панели рядом друг с другом, причем указанные величины шага чередуются, различаясь не менее чем на две ширины полки.
РИСУНКИ
|
|