|
|
(21), (22) Заявка: 2007123190/11, 20.06.2007
(24) Дата начала отсчета срока действия патента:
20.06.2007
(46) Опубликовано: 20.02.2009
(56) Список документов, цитированных в отчете о поиске:
DE 4210001 A1, 23.09.1993. JP 1223084 A, 06.09.1989. JP 59140174 A1, 11.08.1984. FR 2645492 A1, 12.10.1990. EP 0710601 A1, 08.05.1996. DE 3402442 A1, 25.07.1985. SU 933528 A, 07.06.1982.
Адрес для переписки:
394613, г.Воронеж, ул. Тимирязева, 8, ВГЛТА, патентный отдел
|
(72) Автор(ы):
Белозоров Виктор Васильевич (RU), Репринцев Дмитрий Дмитриевич (RU), Ожерельев Сергей Вадимович (RU)
(73) Патентообладатель(и):
Государственное образовательное учреждение высшего профессионального образования “Воронежская государственная лесотехническая академия” (ВЛГТА) (RU)
|
(54) УСТРОЙСТВО ДЛЯ УПРАВЛЕНИЯ КОЛЕСАМИ ПРИЦЕПА АВТОПОЕЗДА
(57) Реферат:
Изобретение относится к транспортному машиностроению, в частности к устройствам для управления колесами прицепов автопоездов. Устройство для управления колесами прицепа автопоезда содержит исполнительный силовой цилиндр, соединенный с рамой прицепа. Устройство дополнительно снабжено электрическим реостатом, установленным на валу рулевой колонки тягача и соединенным электрической цепью с одной стороны с положительной клеммой источника питания, а с другой – с первым входом компьютера. Компьютер вторым входом соединен с электрическим спидометром с одной стороны и с электропневматическим клапаном, установленным на раме прицепа, с другой стороны. Электропневматический клапан соединен пневмолиниями с ресивером с одной стороны и с другой стороны – с жестко закрепленным одним концом на раме прицепа исполнительным силовым цилиндром, который имеет пневматический привод и шарнирно соединен с рулевой трапецией управляемых колес прицепа. Достигается повышение эксплуатационных возможностей за счет совпадения колеи тягача и прицепа при повороте. 2 ил.
Изобретение относится к транспортному машиностроению, в частности к устройствам для управления колесами прицепов автопоездов.
Известно устройство для управления колесами прицепа, содержащее дышло, связанное с механическим приводом управления колесами одной из осей прицепа, другая ось которого выполнена с гидравлическим приводом управления колесами, содержащим рулевой механизм с распределительным устройством, взаимодействующий с управляемыми колесами обеих осей (А.с. СССР №691336, B62D 13/04, 15.10.79. Бюл. №38).
Недостаток этого устройства заключается в том, что угол поворота колес прицепа задается только углом поворота дышла, что из-за ограничения пространства затрудняет маневрирование прицепа, входящего в состав автопоезда.
Наиболее близким по технической сущности к изобретению является устройство для управления управляемой осью полуприцепа автопоезда. Это устройство содержит исполнительный гидроцилиндр, шарнирно связанный с управляемой осью и рамой полуприцепа, и механизм запаздывания, кинематически связанный с рамой полуприцепа (А.с. №1421595, А1 B62D 13/02, 07.09.88. Бюл. №33).
Недостатками этого устройства являются его низкая надежность и громоздкость конструкции.
Изобретение решает задачу повышения надежности и эксплуатационных возможностей устройства для управления колесами прицепа автопоезда.
Поставленная цель достигается тем, что устройство для управления колесами прицепа автопоезда, содержащее исполнительный силовой цилиндр, соединенный с рамой прицепа, дополнительно снабжено электрическим реостатом, установленным на валу рулевой колонки тягача и соединенным электрической цепью с одной стороны с положительной клеммой источника питания, а с другой – с входом №1 компьютера, соединенного входом №2 с электрическим спидометром с одной стороны и электропневматическим клапаном с другой, соединенного пневмолиниями с ресивером с одной стороны и с другой стороны с исполнительным силовым цилиндром, который имеет пневматический привод, шарнирно соединенным с рулевой трапецией управляемых колес прицепа.
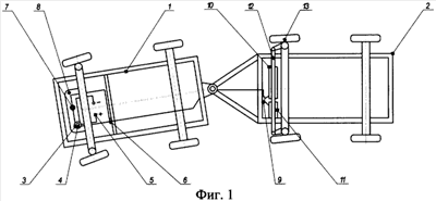
На фиг.1 представлена конструктивная схема устройства для управления поворотными колесами прицепа автопоезда (вид сверху), на фиг.2 – алгоритм работы устройства для управления колесами прицепа автопоезда.
Устройство для управления колесами прицепа автопоезда, состоящего из тягача 1 и прицепа 2, снабжено электрическим реостатом 3, установленным на валу рулевой колонки 4. Электрический реостат 3 электрической цепью соединен с одной стороны с положительной клеммой источника питания 5, а с другой – с входом №1 компьютера 6, расположенного на раме тягача 1. Компьютер 6 входом №2 соединен электрической цепью с электрическим спидометром 7, расположенным на приборной панели 8 тягача 1 с одной стороны и с электропневматическим клапаном 9, установленным на раме прицепа 2 с другой стороны. Электропневматический клапан 9 с одной стороны соединен пневмолиниями с ресивером 10 и с исполнительным силовым цилиндром 11 с другой стороны. Исполнительный силовой цилиндр 11 одним концом жестко закреплен на раме прицепа 2 и вторым концом шарнирно соединен с рулевой трапецией 12. Рулевая трапеция 12 соединена с управляемыми колесами 13 прицепа 2.
Устройство работает следующим образом. При входе автопоезда в поворот (например, левый) реостатом 3 подается управляющий электрический сигнал (его величина зависит от значения угла поворота рулевого колеса) на вход №1 компьютера 6. Одновременно на вход №2 компьютера 6 подается следующий управляющий электрический сигнал от электрического спидометра 7 (его величина зависит от скорости движения тягача). В компьютер 6 встроен алгоритм, позволяющий определять с задержкой во времени и по расстоянию (от передней оси тягача до передней оси прицепа) начало подачи управляющего электрического сигнала, включающего электропневматический клапан 9. В зависимости от величины этого сигнала электропневматический клапан 9 осуществляет пропорциональную подачу (в зависимости от угла поворота рулевого колеса) определенного объема воздуха на силовой исполнительный цилиндр 11. После этого шток силового исполнительного цилиндра 11, выдвигаясь на определенную величину, перемещает рулевую трапецию 12, которая в месте срабатывания реостата поворачивает управляемые колеса прицепа 13 на угол, равный углу поворота управляемых колес тягача 1.
Формула изобретения
Устройство для управления колесами прицепа автопоезда, содержащее исполнительный силовой цилиндр, соединенный с рамой прицепа, отличающееся тем, что оно дополнительно снабжено электрическим реостатом, установленным на валу рулевой колонки тягача и соединенным электрической цепью с одной стороны с положительной клеммой источника питания, а с другой – с первым входом компьютера, соединенного вторым входом с электрическим спидометром с одной стороны и с электропневматическим клапаном, установленным на раме прицепа, с другой, при этом электропневматический клапан соединен пневмолиниями с ресивером с одной стороны и с другой стороны – с жестко закрепленным одним концом на раме прицепа исполнительным силовым цилиндром, который имеет пневматический привод и шарнирно соединен с рулевой трапецией управляемых колес прицепа.
РИСУНКИ
|
|