|
|
(21), (22) Заявка: 2006125469/11, 11.07.2006
(24) Дата начала отсчета срока действия патента:
11.07.2006
(43) Дата публикации заявки: 27.01.2008
(46) Опубликовано: 20.02.2009
(56) Список документов, цитированных в отчете о поиске:
SU 502780, 15.02.1976. SU 1437264 A1, 15.11.1988. RU 2235651 C1, 10.09.2004. US 4698462 06.10.1987.
Адрес для переписки:
196105, Санкт-Петербург, ул. Краснопутиловская, 104, кв.52, В.Б. Лебедеву
|
(72) Автор(ы):
Лебедев Виктор Борисович (RU)
(73) Патентообладатель(и):
Лебедев Виктор Борисович (RU)
|
(54) УПРАВЛЯЕМЫЙ ТОКОПРИЕМНИК ТРОЛЛЕЙБУСА И КОНТАКТНАЯ СЕТЬ
(57) Реферат:
Изобретение относится к устройствам передачи электроэнергии к безрельсовым транспортным средствам, в частности троллейбусам. Токоприемник содержит электрически изолированные планки каркаса с тремя токосъемными элементами, установленными по габаритной ширине троллейбуса, причем средний токосъемный элемент электрически соединен с двумя крайними элементами через полупроводниковые вентили. Токоприемник снабжен пневмоприводом, который осуществляет его спуск и подъем, а также обеспечивает необходимое постоянное усилие нажатия на провода контактной сети. Пневмопривод имеет дистанционную систему управления. Техническим результатом является повышение надежности токосъема, а также упрощение контактной сети. 2 н. и 2 з.п. ф-лы, 3 ил.
Изобретение относится к устройствам электроснабжения безрельсовых транспортных средств и может найти применение на городском электротранспорте – троллейбусах.
Известен штанговый токоприемник, установленный на троллейбусах, например, РТ 6И, содержащий две штанги с горизонтальными шарнирами, помещенными на поворотных по вертикальной оси основаниях. Токосъем с проводов контактной сети осуществляется контактными головками, шарнирно закрепленными на верхних концах штанг, причем провода проходят между щек головок, благодаря чему производится пространственная ориентация штанг токоприемника относительно проводов сети и троллейбуса при его движении, а необходимое усилие нажатия токосъемных головок на провода контактной сети обеспечивают пружины, установленные на нижних концах штанг.
Известна также контактная сеть, с которой производится токосъем описанным выше токоприемником. В контактную сеть входят разнополярные провода, расположенные на расстоянии около 500 мм друг от друга, а также спецчасти, которые осуществляют переход токосъемных головок на разные трассы контактных линий, а также проход головок по криволинейным участкам сети и на пересечениях контактных линий. Однако известная конструкция токоприемника и существующая контактная сеть не обеспечивают надежного токосъема из-за частого схода контактных головок с проводов сети, приводящего к обесточиванию машины и повреждению контактной линии. В любом случае сход головок требует ручных операций со штангами токоприемника. Наличие спецчастей усложняет и загромождает контактную сеть, требует дополнительных затрат на их обслуживание, а также ограничивает скорость движения троллейбуса при проходе спецчастей. Кроме того, необходимость постоянного контакта токопремника с проводами сети не дает возможности троллейбусу, в случае необходимости, расширить границы маневрирования.
В качестве прототипа изобретения использована конструкция токоприемника по а.с. №502780 /класс B60L, Капчерин/. Токоприемник выполнен в виде полозообразного каркаса из изолирующего материала с установленными на нем по всей длине токосъемными элементами, каждый из которых имеет длину контактной поверхности меньше, чем расстояние между разнополярными проводами.
Токосъемные элементы расположены в шахматном порядке с перекрытием друг друга, причем каждый из них соединен с электрической нагрузкой через полупроводниковые вентили. Главное достоинство этой конструкции – надежность токосъема. Однако она ограничивает диапазон маневрирования троллейбуса пределом длины токосъемной части, равной габаритной ширине машины. Кроме того, в конструкции задействовано значительное количество полупроводниковых вентилей большой мощности, работающих не постоянно, а периодически.
Задача изобретения – получить надежный токосъем с использованием минимального количества полупроводниковых вентилей, осуществить кратковременную периодическую независимость троллейбуса от проводов контактной сети для расширения диапазона маневрирования и упростить контактную сеть.
Указанная задача решается тем, что на электрически изолированном каркасе по всей габаритной ширине троллейбуса устанавливаются только три токосъемных элемента, причем два из них помещены на концах каркаса и электрически изолированы друг от друга, а третий токосъемный элемент помещен в средней части каркаса со смещением по продольной оси машины относительно крайних элементов и электрически связан с каждым из них через полупроводниковой вентиль. Подъем-спуск, а также необходимое нажатие токосъемных элементов на провода сети осуществляют штанги, снабженные пневмоприводом с дистанционным управлением, в контактной сети устраняются спецчасти, а расстояние между разнополярными проводами сети устанавливают в соответствии с длиной контактных элементов.
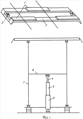
На фиг.1 изображен токоприемник и его отдельные узлы, на фиг.2 – позиции токоприемника, соответствующие режимам работы троллейбуса, а на фиг.3 приведена принципиальная схема управления токоприемником. Токоприемник /ТП/ состоит из диэлектрических планок 2 каркаса с установленными на них тремя токосъемными элементами 1, причем два из них помещены на концах планок и электрически изолированы друг от друга, а третий помещен в средней части планок и смещен по продольной оси троллейбуса относительно первых двух элементов, с каждым из которых он электрически соединен через полупроводниковый вентиль 9 /фиг.3/ Все токосъемные элементы с помощью кабеля подключены к входным клеммам линейного контактора 11. В крайних точках каркаса по габаритной ширине машины установлены конечные включатели 3 с электрически изолированными нажимными элементами. Каркас шарнирно соединен со штангами 7, которые также шарнирно установлены на основании, закрепленному на крыше троллейбуса через изоляторы. Между штангами помещен двухштоковый телескопический пневмоцилиндр 6, верхний шток 4 которого с помощью шарнира прикреплен к поперечине 8 штанг. Величина хода верхнего штока составляет 25-30% от величины хода нижнего штока 5. К рабочим полостям пневмоцилиндра подводится сжатый воздух из общей пневмосистемы троллейбуса. В воздушную магистраль каждой пневмополости включены регуляторы давления воздуха 17 и 18, состоящие из золотника, нагруженного пружиной с регулируемым затягом. Система управления /фиг.3/ содержит пульт управления с переключателями 13 и 14, реле 12 выключения линейного контактора 11 с дополнительными контактами 10, конечные включатели 3 и клапана 15 и 16 управления подачей воздуха в пневмополости. Система управления получает электропитание от источников тока напряжением 24 В /аккумулятора и генератора/. Клапана управления подачей воздуха установлены в магистрали подвода сжатого воздуха перед регуляторами давления 17 и 18, электромагниты привода клапанов подключены к источникам электропитания через трехпозиционный переключатель 13 и выключатель 14. Главные контакты линейного контактора механически связаны с дополнительными контактами 10, которые помещены в цепь питания электромагнита привода клапана управления подачей воздуха в верхнюю пневмополость. Электромагнит включения линейного контактора получает питание от контактной сети через контакты реле 12, обмотка которого подключена к цепи электропитания низкого напряжения через контакты трехпозиционного переключателя, а также и конечные включатели. Исходя из габаритной ширины троллейбуса, длина токосъемного элемента равна 800-850 мм, соответственно расстояние между разнополярными проводами контактной сети устанавливают в 950-1000 мм. Переходные участки контактных линий других направлений движения /маршрутов/ не имеют в своем составе стрелочных узлов, провода сети таких участков монтируют в непосредственной близости от линии первоначального направления с выходом на линию другого направления без использования кривых держателей. Места пересечений контактных линий также не имеют спецчастей, их выполняют с простыми разрывами контактных проводов одной из линий. Из эксплутационной практики известно, что прямолинейное движение троллейбусов на городских улицах с однорядным /в одном направлении/ и двухрядным движением производится в основном в пределах правого крайнего ряда, а на улицах с числом рядов более двух – во втором правом ряду. Учитывая эти особенности, линии контактной сети для одно- и двухрядных улиц монтируют в левой части правого ряда движения, а для многорядных улиц – в правой части второго правого ряда. В местах остановок провода контактных линий на улицах с многорядным движением переводят в первый ряд, обеспечивая возможность контакта ТП троллейбуса с проводами сети при его отходе от остановки после высадки-посадки пассажиров.
Работа управляемого ТП троллейбуса происходит следующим образом. Во время длительной стоянки троллейбуса ТП полностью опущен /фиг.2в/. В этой позиции контакты переключателей 13 и 14 пульта управления в разомкнутом положении. Вследствие этого контакты реле 12 замкнуты, главные и дополнительные контакты линейного контактора 11 из-за отсутствия электропитания на элетромагнитном приводе разомкнуты, золотники клапанов управления подачей воздуха в полости пневмоцилиндра усилием пружин смещены и сообщают полости пневмоцилиндра с атмосферой. Для подъема ТП и установления контакта токосъемных элементов с проводами сети выключателем 14 замыкают цепь питания электропривода клапана 16 управления подачей воздуха в нижнюю пневмополость. Золотник клапана перемещается, перекрывая каналы сообщения полости с атмосферой и открывая доступ воздуха в нее из пневмосистемы. Золотник регулятора 18, ввиду отсутствия заданного затягом пружины давления воздуха в пневмополости, усилием пружины смещен и через каналы сообщает пневмополость с напорной магистралью сжатого воздуха. Под давлением сжатого воздуха шток 5 пневмоцилиндра перемещается, поднимая ТП на величину хода штока /позиция “а” фиг.2/ Затем, при соответствующем положении контактов трехпозиционного переключателя, замыкается цепь питания электропривода клапана 15 управления подачей воздуха в верхнюю пневмополость. Золотник клапана таким же, как и в клапане 16, образом открывает доступ воздуха из напорной магистрали к регулятору давления 17, в котором в результате смещения золотника каналы сообщают напорный трубопровод сжатого воздуха с верхней пневмополостью, в результате чего шток 4 перемещается до контакта токосъемных элементов с проводами сети. Необходимое усилие нажатия на провода обеспечивает регулятор давления, в котором при достижении в пневмополости заданного затягом пружины давления золотник под давлением воздуха перемещается и перекрывает доступ воздуха из напорной магистрали в пневмополость. После установления контакта токосъемника с проводами сети через замкнутые контакты реле 12 получает питание электромагнит включения линейного контактора, его главные контакты, а также дополнительные контакты 10 замыкаются, вследствие чего подается ток высокого напряжения к соответствующим потребителям, а ток низкого напряжения к электроприводу клапана 15, после этого трехпозиционный переключатель устанавливают в нейтральное положение и ТП принимает рабочее положение. При движении троллейбуса по маршруту изменяется высота подвеса проводов контактной сети, из-за чего происходит перемещение ТП вниз или вверх. В любом случае это приводит к нарушению равновесия между усилием затяга пружины регулятора 17 и давлением воздуха на лобовую поверхность его золотника. Перемещение золотника регулятора поддерживает необходимое давление в пневмополости путем впуска-выпуска воздуха из нее, что в конечном итоге обеспечивает постоянное усилие нажатия контактных элементов на провода сети. При значительном изменении высоты подвеса проводов сети, например при проходе контактной линии под искусственными сооружениями, величины хода верхнего штока недостаточно для нормального прохода токоприемника. В этом случае, повышается давление в нижней пневмополости, что приводит к нарушению равновесия давлений в регуляторе 18, восстановлению этого равновесия аналогичным в регуляторе 17 образом, перемещению нижнего штока и сохранению постоянного усилия нажатия ТП на провода сети. Диапазон маневрирования троллейбуса без прерывания токосъема на прямолинейных участках контактных линий находится в пределах 1.5 метров. При приближении любого провода контактной сети к крайней точке токосъема по длине каркаса провод, воздействуя на нажимной элемент одного из конечных выключателей 3, замыкает его контакты. В результате этого, получает питание обмотка реле 12, контакты его размыкаются, обесточивая электропривод линейного контактора, главные и дополнительные контакты размыкаются. При этом отключаются потребители высокого напряжения, а также разрывается цепь питания электропривода клапана управления подачей воздуха к верхней полости пневмоцилиндра. Золотник клапана усилием пружины перемещается, перекрывая доступ воздуха из напорной магистрали в пневмополость и одновременно сообщая ее с атмосферой. Под действием собственного веса ТП опускается на величину хода верхнего штока /фиг.2а/. Кроме того, опускание ТП в эту позицию можно произвести с пульта управления при установке трехпозиционного переключателя в соответствующее положение, в котором обмотка реле 12 также получает электропитание, после чего происходит аналогичное вышеописанному взаимодействие электромеханизмов. Полное опускание токоприемника осуществляют размыканием контактов выключателя 14, после чего обесточивается цепь питания электропривода клапана управления подачей воздуха в нижнюю полость пневмоцилиндра. В результате, золотник клапана 16 таким же, как и в клапане 15, образом перекрывает напорный трубопровод сжатого воздуха и сообщает пневмополость с атмосферой. После этого ТП опускается на величину хода нижнего штока пневмоцилиндра. Таким образом, конструкция исключает повреждение контактной сети и токоприемника, а также возникновение электродуги между проводами сети и токосъемными элементами при прерывании-возобновлении контакта проводов с последними. При необходимости, расширение границ маневра троллейбуса осуществляют без контакта с проводами сети при частично опущенном /позиция а, фиг.2/ ТП, используя инерцию движения машины, с последующим подъемом ТП для возобновления контакта с сетью. Подобным образом можно проходить участки пересечений контактных линий, места искусственных сооружений, а также осуществляют переход на контактные линии других направлений движения. Еще большую независимость от контактной сети троллейбусу даст использование в составе силовой установки накопителей энергии, например инерционных маховиков. В этом случае отпадает необходимость наличия проводов сети в местах остановок для высадки-посадки пассажиров и, кроме того, появляется возможность включения в маршрут троллейбуса участков улиц, необорудованных контактными линиями.
Формула изобретения
1. Управляемый токоприемник троллейбуса, содержащий каркас из изолирующего материала, токосъемные элементы, которые установлены на каркасе по габаритной ширине троллейбуса и электрически изолированы друг от друга, полупроводниковые вентили, отличающийся тем, что имеет три токосъемных элемента, из которых один установлен в средней части каркасных планок и соединен с потребителями электрической энергии через полупроводниковые вентили, а два других токосъемных элемента, помещенные на концах каркасных планок по габаритной ширине троллейбуса и со смещением по его продольной оси, подключены к потребителям электроэнергии напрямую, причем каркас шарнирно соединен со штангами, которые также шарнирно установлены на основании и имеют возможность перемещения в вертикальной плоскости относительно проводов контактной сети с помощью двухштокового цилиндра пневмопривода, верхний шток которого через шарнир скреплен с поперечиной штанг, причем пневмопривод выполнен с возможностью двухпозиционного спуска и подъема токоприемника при необходимом усилии нажатия контактных элементов на провода сети, и для управления подъемом и спуском токоприемника он снабжен системой дистанционного управления.
2. Управляемый токоприемник по п.1, отличающийся тем, что верхний шток двухштокового цилиндра пневмопривода имеет величину хода, составляющую 25-30% от величины хода нижнего штока, а в магистрали подвода воздуха к рабочим пневмополостям для обеспечения необходимого давления воздуха в них путем его впуска-выпуска установлены регуляторы давления, содержащие золотник, нагруженный пружиной с регулируемым затягом.
3. Управляемый токоприемник по п.1, отличающийся тем, что система дистанционного управления токоприемником содержит два клапана, связанные с электроприводом, которые установлены в магистрали подвода сжатого воздуха к регуляторам давления верхней и нижней пневмополости, реле выключения линейного контактора, контакты которого установлены в цепи питания электропривода линейного контактора, снабженного дополнительными контактами, помещенными в цепь питания электропривода клапана управления подачей воздуха в верхнюю пневмополость, дополнительные контакты механически связаны с главными контактами, конечные выключатели, установленные в цепи электропитания обмотки реле выключения линейного контактора, пульт управления с трех и двухпозиционными переключателями, контакты которых помещены в цепь электропитания обмотки упомянутого реле, а также электроприводов клапанов управления подачей воздуха в пневмополости.
4. Контактная сеть, содержащая два разнополярных провода, отличающаяся тем, что расстояние между проводами установлено в пределах 950-1000 мм, трассы контактных линий смонтированы для улиц с числом рядов движения в одном направлении не более двух на расстоянии до 2 м от границы проезжей части до крайнего правого (по ходу) провода, а для улиц с числом рядов более двух – на расстоянии до 3,5 м, причем в местах остановок для высадки-посадки пассажиров расстояние до крайнего правого провода от границы проезжей части не более 1,5 м.
РИСУНКИ
|
|