|
|
(21), (22) Заявка: 2007111116/11, 26.05.2005
(24) Дата начала отсчета срока действия патента:
26.05.2005
(30) Конвенционный приоритет:
27.08.2004 JP 2004-248800
(43) Дата публикации заявки: 10.10.2008
(46) Опубликовано: 20.02.2009
(56) Список документов, цитированных в отчете о поиске:
JP 11170963 А, 29.06.1999. JP 7096815 А, 11.04.1995. JP 2003009303 A, 10.10.2003. RU 2208534 C1, 20.07.2003. SU 1699833 A1, 23.12.1991.
(85) Дата перевода заявки PCT на национальную фазу:
27.03.2007
(86) Заявка PCT:
JP 2005/010106 (26.05.2005)
(87) Публикация PCT:
WO 2006/022061 (02.03.2006)
Адрес для переписки:
129090, Москва, ул.Б.Спасская, 25, строение 3, ООО “Юридическая фирма Городисский и Партнеры”, пат.пов. А.В.Миц, рег.№ 364
|
(72) Автор(ы):
УТИДА Кендзи (JP)
(73) Патентообладатель(и):
ТОЙОТА ДЗИДОСЯ КАБУСИКИ КАЙСЯ (JP)
|
(54) АВТОТРАНСПОРТНОЕ СРЕДСТВО, СПОСОБНОЕ ПРЕДОТВРАЩАТЬ НЕИСПРАВНОСТИ И ОТКЛЮЧАТЬ СИСТЕМУ ВЫСОКОГО НАПРЯЖЕНИЯ ПРИ АВАРИИ
(57) Реферат:
Изобретение относится к автотранспортному средству, имеющему электрическую систему высокого напряжения. По первому варианту автотранспортное средство содержит устройство запуска подушки безопасности, первый блок управления, первый узел управления, второй блок управления. По второму варианту автотранспортное средство содержит источник питания высокого напряжения, узел отключения, устройство запуска подушки безопасности, первый блок управления, первый узел управления. По третьему варианту автотранспортное средство содержит источник питания высокого напряжения, узел отключения, устройство запуска подушки безопасности, первый блок управления, первый узел управления, датчик столкновения, второй блок управления. Технический результат заключается в повышении безопасности. 3 н. и 4 з.п. ф-лы, 4 ил.
ОБЛАСТЬ ТЕХНИКИ
Настоящее изобретение относится к автотранспортному средству и, в частности, к автотранспортному средству, имеющему электрическую систему высокого напряжения.
УРОВЕНЬ ТЕХНИКИ
В последние годы было разработано электрическое транспортное средство, гибридное транспортное средство и транспортное средство на топливных элементах, в которых транспортное средство приводится в движение двигателем, приводимым в действие источником питания значительно более высокого напряжения по сравнению с аккумулятором напряжением около 12 В, который установлен на обычном автотранспортном средстве. Для каждого из этих транспортных средств, имеющих электрическую систему высокого напряжения, необходимо быстро отключить систему подачи питания к нему, чтобы не допустить возгорания транспортного средства и поражения электрическим током в случае столкновения. Однако когда система высокого напряжения отключена, транспортное средство невозможно привести в движение и тем самым можно предотвратить неисправности.
Например, в японской патентной публикации №2002-354602 раскрыт способ использования датчика столкновения, предназначенного для наполнения подушки безопасности и для отключения системы высокого напряжения, когда датчик столкновения обнаруживает столкновение.
Возможно, однако, когда отключения системы высокого напряжения по выходному сигналу датчика столкновения подушки безопасности, предназначенного для включения подушки безопасности, недостаточно. Иными словами, датчик столкновения подушки безопасности настроен таким образом, чтобы наполнять подушку безопасности только в том случае, когда только ремень безопасности может нанести пассажиру травму, поскольку, например, велики расходы на ремонт сработавшей подушки безопасности.
Вместо этого требуется отключить систему источника питания высокого напряжения, когда электрическая система высокого напряжения, находящаяся в отсеке двигателя в передней или задней части транспортного средства, может получить повреждение в результате столкновения. Соответственно предпочтительно определить, требуется ли отключить систему источника питания высокого напряжения на основе критерия, отличного от критерия, в соответствии с которым наполняется подушка безопасности.
В альтернативном варианте можно предусмотреть датчик столкновения, специально предназначенный для того, чтобы определить, требуется ли отключение системы источника питания высокого напряжения. В этом случае необходимо предотвратить неправильное срабатывание датчика столкновения в случае постороннего вмешательства, например в случае удара молотком вблизи датчика. В качестве предупредительной меры против неправильного срабатывания можно принять следующие критерии (1) и (2), чтобы исключить случай, когда может произойти такое постороннее вмешательство:
(1) когда положение рычага находится в положении “парковка” или в положении “нейтраль”, высокое напряжение для создания движущей силы не подается. Следовательно, определение того, повреждено транспортное средство или нет, не проводится;
(2) когда транспортное средство движется на низкой скорости, определение того, повреждено транспортное средство или нет, не проводится.
Однако, если приняты критерии типа критериев (1) и (2), может оказаться, что, хотя предпочтительно отключить систему источника питания высокого напряжения, источник питания высокого напряжения не может быть отключен в случае пассивной аварии, т.е. аварии, вызванной столкновением с другим автомобилем, например, во время временной остановки или аварии, вызванной при переключении рычага в положение “нейтраль” во время движения.
В качестве предупредительной меры от постороннего вмешательства типа удара молотком по транспортному средству можно узел, обнаруживающий столкновение, выполнить в виде системы с резервированием. Однако в этом случае требуется дополнительный датчик столкновения, который увеличивает стоимость и требует места для размещения. Соответственно это трудно реализовать.
КРАТКОЕ ИЗЛОЖЕНИЕ СУЩЕСТВА ИЗОБРЕТЕНИЯ
Технической задачей настоящего изобретения является создание автотранспортного средства, способного предотвращать неисправную работу и отключать систему источника питания высокого напряжения в случае аварии.
Настоящее изобретение представляет собой автотранспортное средство, имеющее подушку безопасности, содержащее устройство запуска подушки безопасности и первый блок управления для определения столкновения с транспортным средством и для выдачи команды на запуск устройства запуска подушки безопасности. Первый блок управления содержит полупроводниковый датчик столкновения и первый узел управления для выдачи сигнала на отключение источника питания высокого напряжения и аварийного сигнала на отключение источника питания высокого напряжения в ответ на выходной сигнал полупроводникового датчика столкновения. Кроме того, автотранспортное средство содержит источник питания высокого напряжения, узел отключения для немедленного отключения выхода источника питания высокого напряжения и второй блок управления для управления узлом отключения. Второй блок управления вызывает немедленное отключение выхода источника питания высокого напряжения узлом отключения, когда выдается сигнал на отключение источника питания высокого напряжения, и вызывает отключение выхода источника питания высокого напряжения узлом отключения, когда выдается аварийный сигнал на отключение источника питания высокого напряжения и когда выполнен определенный критерий.
Предпочтительно, чтобы первый блок управления дополнительно содержал аварийный датчик для обнаружения столкновения независимо от полупроводникового датчика столкновения. Первый узел управления выдает сигнал на отключение источника питания высокого напряжения, когда аварийный датчик обнаруживает столкновение и когда выходной сигнал полупроводникового датчика столкновения удовлетворяет определенному критерию.
Предпочтительно, чтобы автотранспортное средство дополнительно содержало датчик столкновения для обнаружения столкновения, приводящего к выходу из строя источника питания высокого напряжения, независимо от полупроводникового датчика столкновения. Второй блок управления содержит второй узел управления для отключения выхода источника питания высокого напряжения узлом отключения, когда выводится аварийный сигнал на отключение источника питания высокого напряжения и когда датчик столкновения обнаруживает столкновение.
Более предпочтительно, чтобы первый узел управления оценивал выходной сигнал полупроводникового датчика столкновения с точки зрения критерия, соответствующего датчику столкновения, и выдавал на выходе аварийный сигнал на отключение источника питания высокого напряжения.
Предпочтительно, чтобы первый блок управления дополнительно содержал аварийный датчик. Первый узел управления принимает выходной сигнал полупроводникового датчика столкновения и определяет, удовлетворяет ли выходной сигнал первому критерию, в соответствии с которым должна наполняться подушка безопасности, второму критерию, в соответствии с которым цепь источника питания высокого напряжения считается разорванной, и третьему критерию, в соответствии с которым считается, что произошло некое столкновение, хотя первый критерий не выполнен. Первый узел управления выдает на выходе сигнал на отключение источника питания высокого напряжения, когда определяет, что выходной сигнал удовлетворяет первому критерию или второму критерию, и когда аварийный датчик обнаруживает столкновение, и выдает на выходе аварийный сигнал на отключение источника питания высокого напряжения, когда определяет, что выходной сигнал удовлетворяет третьему критерию.
Согласно другому аспекту настоящее изобретение представляет собой автотранспортное средство, имеющее подушку безопасности, содержащее источник питания высокого напряжения, узел отключения для отключения выхода источника питания высокого напряжения в ответ на сигнал на отключение источника высокого напряжения, устройство запуска подушки безопасности и первый блок управления. Первый блок управления содержит полупроводниковый датчик столкновения для обнаружения столкновения с транспортным средством, аварийный датчик для определения столкновения независимо от полупроводникового датчика столкновения и первый узел управления для выдачи команды запуска на устройство запуска подушки безопасности, когда аварийный датчик обнаруживает столкновение и когда выходной сигнал полупроводникового датчика столкновения удовлетворяет определенному первому критерию, и для выдачи сигнала на отключение источника питания высокого напряжения, когда аварийный датчик обнаруживает столкновение и когда выходной сигнал полупроводникового датчика столкновения удовлетворяет определенному второму критерию.
Согласно еще одному аспекту настоящее изобретение представляет собой автотранспортное средство, имеющее подушку безопасности, содержащее источник питания высокого напряжения, узел отключения для отключения выхода источника питания высокого напряжения в ответ на сигнал определения отключения источника питания высокого напряжения, устройство запуска подушки безопасности и первый блок управления. Первый блок управления содержит полупроводниковый датчик столкновения для определения столкновения с транспортным средством, аварийный датчик для обнаружения столкновения независимо от полупроводникового датчика столкновения и первый узел управления для выдачи команды запуска на устройство запуска подушки безопасности, когда аварийный датчик обнаруживает столкновение и когда выходной сигнал полупроводникового датчика столкновения удовлетворяет определенному первому критерию, и выдачи аварийного сигнала, когда выходной сигнал полупроводникового датчика столкновения удовлетворяет определенному второму критерию. Автотранспортное средство дополнительно содержит датчик столкновения для обнаружения столкновения независимо от полупроводникового датчика столкновения и второй блок управления для выдачи сигнала на определение отключения источника питания высокого напряжения, когда датчик столкновения обнаруживает столкновение и когда выводится аварийный сигнал.
Соответственно основной результат настоящего изобретения заключается в том, что источник питания высокого напряжения может быть отключен и при отсутствии дополнительного нового датчика, когда предпочтительно отключить источник питания высокого напряжения и когда не требуется наполнять подушку безопасности.
Другой результат настоящего изобретения состоит в том, что можно предотвратить неисправность, которая может отключить источник питания высокого напряжения в случае постороннего вмешательства, например удара молотком.
КРАТКОЕ ОПИСАНИЕ ЧЕРТЕЖЕЙ
Вышеуказанные и другие характеристики, аспекты и преимущества настоящего изобретения станут более понятны из нижеследующего подробного описания изобретения со ссылками на прилагаемые чертежи, на которых:
фиг.1 изображает принципиальную схему системы источника питания высокого напряжения транспортного средства согласно изобретению;
фиг.2 – блок-схему электронного блока управления подушкой безопасности и блока управления питанием высокого напряжения согласно изобретению;
фиг.3 – блок-схему последовательности операций, выполняемых в узле управления электронного блока управления подушкой безопасности, согласно изобретению;
фиг.4 – блок-схему последовательности операций, выполняемых в узле управления блока управления питанием высокого напряжения, согласно изобретению.
ОПИСАНИЕ ПРЕДПОЧТИТЕЛЬНЫХ ВАРИАНТОВ ОСУЩЕСТВЛЕНИЯ ИЗОБРЕТЕНИЯ
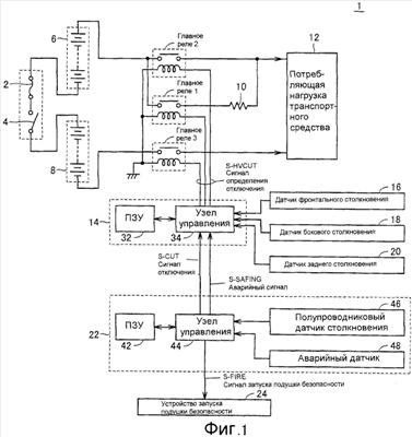
На фиг.1 приведена принципиальная схема системы источника питания высокого напряжения автотранспортного средства 1 согласно настоящему изобретению.
Автотранспортное средство содержит модули 6 и 8 аккумуляторной батареи, подключенные последовательно, потребляющую нагрузку 12 автотранспортного средства для потребления энергии от модулей 6 и 8 аккумуляторной батареи и главные реле SMR1-SMR3 системы для замыкания или размыкания цепи подачи питания от модулей 6 и 8 аккумуляторной батареи к потребляющей нагрузке 12 автотранспортного средства.
Модули 6 и 8 аккумуляторной батареи имеют более высокое напряжение, чем обычная аккумуляторная батарея с напряжением 12 В, и имеют конфигурацию, в которой 14 модулей аккумуляторной батареи, например, по 7,2 В каждый, соединены последовательно. Служебный разъем 4 обнаруживает, что узел высокого напряжения находится без защитной оболочки, например, во время технического обслуживания и размыкает цепь протекания тока к потребляющей нагрузке 12 транспортного средства.
Основное реле SMR2 системы подключено между положительным электродом модуля 6 аккумуляторной батареи и потребляющей нагрузкой 12 транспортного средства. Основное реле SMR1 системы подключено между положительным электродом модуля 6 аккумуляторной батареи и потребляющей нагрузкой 12 транспортного средства через резистор 10. Основное реле SMR3 системы подключено между отрицательным электродом модуля 8 аккумуляторной батареи и потребляющей нагрузкой 12 транспортного средства.
Кроме того, автотранспортное средство 1 содержит устройство 24 запуска подушки безопасности и электронный блок 22 управления подушкой безопасности для определения столкновения с другим транспортным средством и выдачи команды запуска устройству 24 запуска подушки безопасности.
Электронный блок 22 управления подушкой безопасности содержит полупроводниковый датчик 46 столкновения, аварийный датчик 48 для определения столкновения независимо от полупроводникового датчика 46 столкновения, узел 44 управления для подачи команды на запуск устройству 24 запуска подушки безопасности в ответ на выходной сигнал от полупроводникового датчика 46 столкновения и аварийного датчика 48 и выдачи блоку 14 управления источником питания высокого напряжения сигнала на отключение S-CUT и аварийного сигнала S-SAFING и постоянное запоминающее устройство (ПЗУ) 42 для хранения программы, работающей в узле 44 управления. Аварийный датчик 48 является дублирующим датчиком, предусмотренным на случай ошибочного срабатывания полупроводникового датчика 46 столкновения. Когда эти два датчика одновременно обнаруживают столкновение, устройство 24 запуска подушки безопасности получает команду на запуск подушки безопасности. Постоянное запоминающее устройство 42 может быть не только постоянным запоминающим устройством, но может быть стираемым запоминающим устройством, таким как флэш-память.
Автотранспортное средство 1 дополнительно содержит 3 датчика, предназначенных специально для гибридных транспортных средств для обнаружения столкновения, которое может привести к повреждению системы высокого напряжения, в том числе потребляющей нагрузки 12 транспортного средства и модулей 6 и 8 аккумуляторной батареи, – датчик 16 фронтального столкновения, датчик 18 бокового столкновения и датчик 20 заднего столкновения.
Автотранспортное средство 1 дополнительно содержит блок 14 управления источником питания высокого напряжения для отключения главных реле системы SMR1-SMR3 в ответ на сигнал отключения S-CUT и аварийный сигнал S-SAFING, подаваемые электронным блоком 22 управления подушкой безопасности, и выходной сигнал датчика 16 фронтального столкновения, датчика 18 бокового столкновения и датчика 20 заднего столкновения. Блок 14 управления источником питания высокого напряжения выдает сигнал определения отключения S-HVCUT, чтобы управлять главными реле системы SMR1-SMR3, замыкая или размыкая их.
Блок 14 управления источником питания высокого напряжения содержит узел 34 управления для выдачи сигнала определения отключения S-HVCUT, чтобы управлять главными реле системы в ответ на выходной сигнал от датчика 16 переднего столкновения, датчика 18 бокового столкновения и датчика 20 заднего столкновения, а также сигнала отключения S-CUT и аварийного сигнала S-SAFING, подаваемого узлом 44 управления, и постоянное запоминающее устройство (ПЗУ) 32, предназначенное для хранения программы, действующей в узле 34 управления. Постоянное запоминающее устройство 32 может быть стираемым запоминающим устройством типа флэш-памяти.
Когда на потребляющую нагрузку 12 транспортного средства требуется подать высокое напряжение, блок 14 управления источником питания высокого напряжения первоначально приводит в замкнутое состояние главные реле системы SMR1 и SMR3, а затем приводит в замкнутое состояние главное реле системы SMR2, после чего переводит главное реле системы SMR1 в разомкнутое состояние. В результате управляющий ток первоначально проходит через резистор 10, что защищает потребляющую нагрузку 12 транспортного средства от резкого скачка тока высокого напряжения.
Когда требуется отключить ток источника питания, то первоначально размыкают главное реле системы SMR2, а затем главное реле системы SMR3, а блок 14 управления источником питания высокого напряжения проверяет надежность отключения главных реле системы SMR2 и SMR3.
На фиг.2 приведена блок-схема электронного блока 22 управления подушкой безопасности и блока 14 управления источником питания высокого напряжения.
Электронный блок 22 управления подушкой безопасности содержит полупроводниковый датчик 46 столкновения, аварийный датчик 48 для обнаружения столкновения независимо от полупроводникового датчика 46 столкновения и узла 44 управления для выдачи сигнала отключения S-CUT и аварийного сигнала S-SAFING в ответ на выходной сигнал с аварийного датчика 48 и полупроводникового датчика 46 столкновения.
Сигнал отключения S-CUT является сигналом, подающим команду на немедленное отключение высокого напряжения. Аварийный сигнал является сигналом, указывающим, что происходит некое столкновение, хотя подушка безопасности не срабатывает.
Узел 44 управления содержит определяющий узел для оценки выходного сигнала полупроводникового датчика 46 столкновения с точки зрения различных критериев. Конкретнее узел 44 управления содержит определяющий узел 50 для наполнения подушки безопасности, который определяет необходимость наполнения подушки безопасности, в случае, если пассажир может получить травму, определяющий узел 52 для отключения источника питания высокого напряжения, который обнаруживает столкновение, которое может привести к повреждению или оголению системы источника питания высокого напряжения, определяющий узел 54 для определения аварийной ситуации при фронтальном столкновении, определяющий узел 56 для определения аварийной ситуации с боковым столкновением и определяющий узел 58 для определения аварийной ситуации при заднем столкновении, которые определяют, что произошло некое столкновение соответственно спереди, сбоку или сзади, хотя подушка безопасности не наполняется.
Кроме того, узел 44 управления содержит логический узел 60 “И” для приема выходного сигнала с аварийного датчика 48 и определяющего узла 50 для наполнения подушки безопасности, логический узел 62 “И” для приема выходного сигнала с аварийного датчика 48 и определяющего узла 52 для отключения источника питания высокого напряжения, логический узел 64 “ИЛИ” для приема выходного сигнала с логических узлов 60 и 62 “И” и выдачи отключающего сигнала S-CUT и логический узел 66 “ИЛИ” для принятия выходного сигнала от определяющего узла 54 для определения аварийной ситуации при фронтальном столкновении, определяющего узла 56 для определения аварийной ситуации при боковом столкновении и определяющего узла 58 для определения аварийной ситуации при заднем столкновении и выдачи аварийного сигнала S-SAFING.
Блок 14 управления источником питания высокого напряжения содержит удерживающие узлы 77, 78 и 79 для удержания выходных сигналов соответственно датчика 16 фронтального столкновения, датчика 18 бокового столкновения и датчика 20 заднего столкновения в течение заданного периода времени, логический узел 70 “ИЛИ” для получения логической суммы выходных сигналов удерживающих узлов 77, 78 и 79, логический узел 72 “И” для приема аварийного сигнала S-SAFING и выходного сигнала с логического узла 70 “ИЛИ” и логический узел 74 “ИЛИ” для приема выходного сигнала с логического узла 72 “И” и сигнала отключения S-CUT с целью выдачи сигнала определения отключения S-HVCUT для определения необходимости отключения системы источника питания высокого напряжения.
Поскольку требуется около 1 секунды на то, чтобы электронный блок 22 управления подушкой безопасности оценил выходной сигнал полупроводникового датчика 46 столкновения и выдал аварийный сигнал S-SAFING, необходимо иметь удерживающие узлы 77-79 с тем, чтобы в них удерживались выходные сигналы датчиков 16, 18 и 20 в течение достаточно длительного промежутка времени, который включает вышеуказанный промежуток времени (например, около 5 секунд).
Как правило, полупроводниковый датчик столкновения является дублирующим, и его устанавливают в дополнение к аварийному датчику, чтобы не допустить неправильного срабатывания системы подушки безопасности.
Во-первых, настоящее изобретение предотвращает случайное отключение системы источника питания высокого напряжения посредством того, что помимо недопущения неправильного срабатывания подушки безопасности традиционным образом применяется критерий отключения источника питания высокого напряжения, независимый от критерия, применяемого для наполнения подушки безопасности, и используется также аварийный датчик 48.
Во-вторых, определяющие узлы 54, 56 и 58 используют выходной сигнал полупроводникового датчика 46 столкновения для обнаружения некоего столкновения, несмотря на то что подушка безопасности не наполняется. Соответственно электронный блок 22 управления подушкой безопасности может служить в качестве аварийного датчика для датчиков 16, 18 и 20 столкновения.
Таким образом, можно предотвратить неправильное срабатывание датчиков 16, 18 и 20 столкновения в случае такого постороннего вмешательства, как удар молотком.
Выходной сигнал полупроводникового датчика 46 столкновения показывает значение ускорения, которое характеризует величину энергии удара. Колебания значения ускорения сравнивают с различными критериями, полученными заранее в ходе экспериментов на столкновение, чтобы выходной сигнал можно было также использовать для определения необходимости отключения блока питания высокого напряжения и определения наличия некоего столкновения в дополнение к определению необходимости наполнения подушки безопасности.
Для того чтобы определить необходимость подачи аварийного сигнала, в ходе экспериментов на столкновение устанавливают типы ударов, которые фактически вызывают срабатывание датчика, специально предназначенного для гибридного транспортного средства, а выходные сигналы, соответствующие этим типам ударов, сохраняют в виде карты в каждом определяющем узле.
Иными словами, в ходе экспериментов на столкновение устанавливают типы ударов, которые фактически вызывают срабатывание датчика 16 фронтального столкновения, и соответствующие им выходные сигналы полупроводникового датчика 46 столкновения сохраняют в виде карты в определяющем узле 54 для определения аварийной ситуации с фронтальным столкновением.
Кроме того, в ходе экспериментов на столкновение были установлены типы ударов, которые фактически вызывают срабатывания датчика 18 бокового столкновения, а соответствующие им выходные сигналы полупроводникового датчика 46 столкновения сохраняют в виде карты в определяющем узле 56 для определения аварийной ситуации при боковом столкновении.
Также в ходе экспериментов на столкновение были установлены типы ударов, которые фактически вызывают срабатывания датчика 20 заднего столкновения, и соответствующие им выходные сигналы полупроводникового датчика 46 столкновения сохраняют в виде карты в определяющем узле 58 для определения аварийной ситуации при заднем столкновении.
Затем карту в каждом определяющем узле сравнивают с выходным сигналом, подаваемым полупроводниковым датчиком 46 столкновения в случае столкновения, и определяющий узел вырабатывает аварийный сигнал S-SAFING.
На фиг.3 приведена блок-схема последовательности операций процесса управления, выполняемых узлом 44 управления электронного блока 22 управления подушкой безопасности, изображенного на фиг.1.
На этапе S1 определяют, обнаружил ли столкновение аварийный датчик 48 и сработал ли он. Если аварийный датчик 48 обнаруживает столкновение, процесс переходит к этапу S2. Если датчик 48 не обнаруживает столкновения, процесс переходит к этапу S6.
На этапе S2 определяют, удовлетворяет ли выходной сигнал полупроводникового датчика 46 столкновения критерию для наполнения подушки безопасности. Если на этапе S2 определяют, что выходной сигнал полупроводникового датчика 46 столкновения удовлетворяет критерию для наполнения подушки безопасности, то на этапе S3 подается команда на запуск подушки безопасности, и процесс переходит к этапу S5.
Если на этапе S2 определяют, что выходной сигнал полупроводникового датчика 46 столкновения не удовлетворяет критерию для наполнения подушки безопасности, то процесс переходит к этапу S4. На этапе S4 определяют, удовлетворяет ли выходной сигнал полупроводникового датчика 46 столкновения критерию для отключения источника питания высокого напряжения.
Если на этапе S4 определяют, что выходной сигнал полупроводникового датчика 46 столкновения удовлетворяет критерию для отключения источника питания высокого напряжения, процесс переходит к этапу S5, где на блок 14 управления источником питания высокого напряжения подается сигнал отключения S-CUT.
Если на этапе S4 определяют, что выходной сигнал полупроводникового датчика 46 столкновения не удовлетворяет критерию для отключения источника питания высокого напряжения, процесс переходит к этапу S6. На этапе S6 определяют, удовлетворяет ли выходной сигнал полупроводникового датчика 46 столкновения критерию фронтального столкновения. Если на этапе S6 выходной сигнал полупроводникового датчика 46 столкновения удовлетворяет критерию фронтального столкновения, процесс переходит к этапу S9. Если на этапе S6 выходной сигнал полупроводникового датчика 46 столкновения не удовлетворяет критерию фронтального столкновения, процесс переходит к этапу S7.
На этапе S7 определяют, удовлетворяет ли выходной сигнал полупроводникового датчика 46 столкновения критерию бокового столкновения. Если на этапе S7 выходной сигнал полупроводникового датчика 46 столкновения удовлетворяет критерию бокового столкновения, процесс переходит к этапу S9. Если на этапе S7 выходной сигнал полупроводникового датчика 46 столкновения не удовлетворяет критерию бокового столкновения, процесс переходит к этапу S8.
На этапе S8 определяют, удовлетворяет ли выходной сигнал полупроводникового датчика 46 столкновения критерию заднего столкновения. Если на этапе S8 выходной сигнал полупроводникового датчика 46 столкновения удовлетворяет критерию заднего столкновения, процесс переходит к этапу S9. Если на этапе S8 выходной сигнал полупроводникового датчика 46 столкновения не удовлетворяет критерию заднего столкновения, процесс завершается.
На этапе S9 на блок 14 управления источником питания высокого напряжения подают аварийный сигнал S-SAFING, указывающий на наличие некоего столкновения, хотя подушка безопасности не наполняется. С окончанием этапа S9 процесс завершается.
Программа для выполнения управления, изображенного на фиг.3, хранится в ПЗУ 42 (фиг.1), которое представляет собой носитель записи, и считывается для выполнения узлом 44 управления, который представляет собой компьютер.
На фиг.4 приведена блок-схема последовательности операций процесса управления, выполняемых в узле 34 управления блока 14 управления источником питания высокого напряжения.
Процесс начинается с того, что на этапе S1l определяют наличие сигнала отключения S-CUT от электронного блока 22 управления подушкой безопасности. Если сигнал отключения S-CUT подан, процесс переходит к этапу S16. Если сигнал отключения S-CUT не подан, процесс переходит к этапу S12.
На этапе S12 определяют наличие аварийного сигнала S-SAFING от электронного блока 22 управления подушкой безопасности. Если аварийный сигнал S-SAFING подан, процесс переходит к этапу S13. Если аварийный сигнал S-SAFING не подан, процесс завершается.
На этапе S13 определяют, обнаружил ли столкновение датчик 16 фронтального столкновения. Следует отметить, что результат обнаружения столкновения удерживается в узле 34 управления в течение 5 секунд после момента обнаружения посредством выставления метки на узле 34 управления. Если на этапе S13 датчик 16 фронтального столкновения обнаруживает столкновение, процесс переходит к этапу S16. Если на этапе S13 датчик 16 фронтального столкновения не обнаруживает столкновения, процесс переходит к этапу S14.
На этапе S14 определяют, обнаружил ли столкновение датчик 18 бокового столкновения. Если столкновение обнаружено, выходной сигнал датчика 18 бокового столкновения также удерживается в узле 34 управления в течение 5 секунд после момента обнаружения посредством выставления метки на узле 34 управления.
Если на этапе S14 датчик 18 бокового столкновения обнаруживает столкновение, процесс переходит к этапу S16. Если на этапе S14 датчик 18 бокового столкновения не обнаруживает столкновения, процесс переходит к этапу S15.
На этапе S15 определяют, обнаружил ли столкновение датчик 20 заднего столкновения. Выходной сигнал датчика 20 заднего столкновения также удерживают в узле 34 управления в течение 5 секунд после момента обнаружения посредством выставления метки на узле 34 управления.
Если на этапе S15 датчик 20 заднего столкновения обнаруживает столкновение, процесс переходит к этапу S16. Если на этапе S15 датчик 20 заднего столкновения не обнаруживает столкновения, процесс завершается.
Если на любом из этапов S1l, S13, S14 и S15 имеется выходной сигнал на каждом из датчиков, на этапе S16 выдается сигнал определения отключения S-HVCUT, который указывает на необходимость отключения системы источника питания высокого напряжения. По окончании этапа S16 процесс завершается.
Программа для выполнения управления, изображенного на фиг.4, хранится в ПЗУ 32 (фиг.1), которое представляет собой носитель записи, и считывается для выполнения узлом 34 управления, который представляет собой компьютер.
Как было описано выше, во-первых, в настоящем варианте осуществления используется выходной сигнал полупроводникового датчика столкновения, имеющегося в электронном блоке управления подушкой безопасности, в отношении которого выносится решение с точки зрения критерия для отключения источника питания высокого напряжения, который отличен от критерия для наполнения подушки безопасности, так что полупроводниковый датчик столкновения, наряду с традиционным аварийным датчиком, образует избыточную систему, предотвращающую неправильную работу. Следовательно, источник питания высокого напряжения может быть отключен, когда предпочтительно отключить источник питания высокого напряжения и когда не требуется наполнять подушку безопасности.
Во-вторых, используется выходной сигнал полупроводникового датчика столкновения, имеющегося в электронном блоке управления подушкой безопасности, для определения аварийной ситуации и подачи им аварийного сигнала, так что может быть образована избыточная система для датчика 16 фронтального столкновения, датчика 18 бокового столкновения и датчика 20 заднего столкновения, специально предназначенных для гибридного транспортного средства. Соответственно может быть предотвращено неправильное срабатывание, когда имеет место постороннее вмешательство, например удар молотком.
В альтернативном варианте выходной сигнал аварийного датчика в электронном блоке управления подушкой безопасности можно использовать в качестве аварийного сигнала для датчика, специально предназначенного для гибридного транспортного средства.
Хотя настоящее изобретение было подробно описано и проиллюстрировано, следует ясно понимать, что это сделано лишь в иллюстративных целях и не носит ограничивающий характер, дух и объем настоящего изобретения ограничены лишь признаками прилагаемой формулы изобретения.
Формула изобретения
1. Автотранспортное средство (1), имеющее подушку безопасности, содержащее устройство (24) запуска подушки безопасности; первый блок (22) управления, предназначенный для определения столкновения транспортного средства и выдачи команды на запуск устройства запуска подушки безопасности, при этом первый блок управления содержит полупроводниковый датчик (46) столкновения и первый узел (44) управления для выдачи сигнала на отключение источника питания высокого напряжения и аварийного сигнала на отключение источника питания высокого напряжения в ответ на выходной сигнал полупроводникового датчика столкновения, источник питания (6, 8) высокого напряжения, узел (SMR1-SMR3) отключения, предназначенный для отключения выхода источника питания высокого напряжения; второй блок (14) управления для управления узлом отключения, причем второй блок управления вызывает немедленное отключение выхода источника питания высокого напряжения узлом отключения, когда выдается сигнал на отключение источника питания высокого напряжения, и вызывает немедленное отключение выхода источника питания высокого напряжения узлом отключения, когда выдается аварийный сигнал на отключение источника питания высокого напряжения и когда выполнен определенный критерий.
2. Автотранспортное средство по п.1, отличающееся тем, что первый блок (22) управления дополнительно содержит аварийный датчик (48) для обнаружения столкновения независимо от полупроводникового датчика столкновения, и первый узел (44) управления, предназначенный для формирования сигнала на отключение источника питания высокого напряжения, когда аварийный датчик (48) обнаруживает столкновение и когда выходной сигнал полупроводникового датчика (46) столкновения удовлетворяет определенному критерию.
3. Автотранспортное средство по п.1, отличающееся тем, что дополнительно содержит датчик (16, 18, 20) столкновения, предназначенный для обнаружения столкновения, приводящего к выходу из строя источника питания высокого напряжения, независимо от полупроводникового датчика столкновения, при этом второй блок (14) управления содержит второй узел (34) управления для отключения выхода источника питания высокого напряжения узлом отключения, когда поступает аварийный сигнал на отключение источника питания высокого напряжения и когда датчик столкновения обнаруживает столкновение.
4. Автотранспортное средство по п.3, отличающееся тем, что первый узел (44) управления предназначен для оценивания выходного сигнала полупроводникового датчика (46) столкновения с точки зрения критерия, соответствующего датчику (16, 18, 20) столкновения, и выдачи на выходе аварийного сигнала на отключение источника питания высокого напряжения.
5. Автотранспортное средство по п.1, отличающееся тем, что первый блок (22) управления дополнительно содержит аварийный датчик (48), первый узел управления предназначен для приема выходного сигнала полупроводникового датчика (46) столкновения и определения, удовлетворяет ли выходной сигнал первому критерию, в соответствии с которым должна наполняться подушка безопасности, второму критерию, в соответствии с которым цепь источника питания высокого напряжения считается разорванной, и третьему критерию, в соответствии с которым считается, что произошло некое столкновение, хотя первый критерий не выполнен, и первый узел управления предназначен для формирования на выходе сигнала на отключение источника питания высокого напряжения, когда определяет, что выходной сигнал удовлетворяет первому критерию или второму критерию и когда аварийный датчик обнаруживает столкновение, и формирования на выходе аварийного сигнала на отключение источника питания высокого напряжения, когда определено, что выходной сигнал удовлетворяет третьему критерию.
6. Автотранспортное средство (1), имеющее подушку безопасности, содержащее источник питания (6, 8) высокого напряжения, узел (SMR1-SMR3) отключения, предназначенный для отключения выхода источника питания высокого напряжения в ответ на сигнал на отключение источника высокого напряжения, устройство (24) запуска подушки безопасности, первый блок (22) управления, содержащий полупроводниковый датчик (46) столкновения, предназначенный для определения столкновения с транспортным средством, аварийный датчик (48) для определения столкновения независимо от полупроводникового датчика столкновения, первый узел (44) управления, предназначенный для формирования команды запуска на устройство запуска подушки безопасности, когда аварийный датчик обнаруживает столкновение и когда выходной сигнал полупроводникового датчика столкновения удовлетворяет определенному первому критерию, и для формирования сигнала на отключение источника питания высокого напряжения, когда аварийный датчик обнаруживает столкновение и когда выходной сигнал полупроводникового датчика столкновения удовлетворяет определенному второму критерию.
7. Автотранспортное средство (1), имеющее подушку безопасности, содержащее источник питания (6, 8) высокого напряжения, узел (SMR1-SMR3) отключения, предназначенный для отключения выхода источника питания высокого напряжения в ответ на сигнал определения отключения источника питания высокого напряжения, устройство (24) запуска подушки безопасности, первый блок (22) управления, содержащий полупроводниковый датчик (46) столкновения, предназначенный для определения столкновения с транспортным средством, аварийный датчик (48) для обнаружения столкновения независимо от полупроводникового датчика столкновения, первый узел (44) управления, предназначенный для формирования команды запуска на устройство запуска подушки безопасности, когда аварийный датчик обнаруживает столкновение и когда выходной сигнал полупроводникового датчика столкновения удовлетворяет определенному первому критерию, и выдачи аварийного сигнала, когда выходной сигнал полупроводникового датчика столкновения удовлетворяет определенному второму критерию, датчик (16, 18, 20) столкновения, предназначенный для обнаружения столкновения независимо от полупроводникового датчика столкновения, второй блок (14) управления, предназначенный для формирования сигнала на определение отключения источника питания высокого напряжения, когда датчик столкновения обнаруживает столкновение и выводится аварийный сигнал.
РИСУНКИ
|
|