|
(21), (22) Заявка: 2006133922/11, 17.09.2004
(24) Дата начала отсчета срока действия патента:
17.09.2004
(43) Дата публикации заявки: 27.03.2008
(46) Опубликовано: 20.02.2009
(56) Список документов, цитированных в отчете о поиске:
ЕР 1291162 А2, 12.03.2003. RU 2141437 C1, 20.11.1999. US 2003216235 A1, 20.11.2003. JP 2003340941 A, 02.12.2003. GB 1040978 A, 01.09.1966. ЕР 1167011 А2, 02.01.2002. US 6098785 A, 08.08.2000.
(85) Дата перевода заявки PCT на национальную фазу:
22.09.2006
(86) Заявка PCT:
IT 2004/000506 (17.09.2004)
(87) Публикация PCT:
WO 2006/030464 (23.03.2006)
Адрес для переписки:
190068, Санкт-Петербург, ул. Садовая, 51, офис 303, ООО”ПАТЕНТИКА”, пат.пов. М.А.Можайскому, рег.№ 488
|
(72) Автор(ы):
ФУРЛОТТИ Филиппо (IT)
(73) Патентообладатель(и):
ИНДАГ ГЕСЕЛШАФТ ФЮР ИНДУСТРИБЕДАРФ МБХ ЭНД КО. БЕТРИБС КГ. (DE)
|
(54) УСТРОЙСТВО ДЛЯ ПОДАЧИ ПАКЕТОВ И ГОРЛОВИН ДЛЯ НИХ НА КАРУСЕЛЬНЫЙ МЕХАНИЗМ ДЛЯ ОБРАБОТКИ И СООТВЕТСТВУЮЩИЙ СПОСОБ
(57) Реферат:
Изобретение относится к устройствам для производства пакетов с горловинами. Устройство состоит из накопителя пакетов, накопителя горловин и манипулятора. Манипулятор содержит средства для приема пакетов и горловин и подвижную опору для перемещения пакетов и горловин на карусельный механизм. Манипулятор выполнен с возможностью приема пакетов и горловин из соответствующих накопителей и их одновременной подачи на карусельный механизм для обработки. Причем подачу пакетов и горловин осуществляют перемещением по гипоциклоиде. Решение направлено на обеспечение непрерывной подачи на карусельный механизм как пакетов, так и горловин и на обеспечение безопасного манипулирования пакетами и горловинами без их повреждения. 2 н. и 8 з.п. ф-лы, 2 ил.
ОБЛАСТЬ ТЕХНИЧЕСКОГО ПРИМЕНЕНИЯ И УРОВЕНЬ ТЕХНИКИ
Настоящее изобретение относится к устройству для подачи пакетов и горловин для них на карусельный механизм для обработки и к соответствующему способу.
Как хорошо известно, все больше напитков, в особенности фруктовых соков и спортивных напитков, продают и хранят в мягких контейнерах, общеизвестных как «пакеты».
Как правило, эти контейнеры содержат пакет, обычно выполненный из полиэтилена, и горловину, выполненную с возможностью обеспечения вытекания находящегося в контейнере продукта.
Вытекание продукта особенно облегчено благодаря возможности оказания давления на напиток путем сдавливания пакета.
Мягкие контейнеры или пакеты выполнены из двух полиэтиленовых листов, кромки которых сварены друг с другом с образованием отверстия.
Часть горловины вставлена в это отверстие и закреплена внутри пакета сваркой. Следует отметить, что при такой сварке на кромки указанного отверстия воздействуют теплом для их частичного расплавления, благодаря чему они прилипают к части горловины, вставленной в пакет.
Как правило, в отверстие горловину вставляют до наполнения контейнера.
Хорошо известны комплексы для обработки пакетов, содержащие карусельные механизмы со звездообразными колесами для приема пакетов с последующим их перемещением, которые работают совместно с одним или несколькими звездообразными колесами для наполнения и герметизации пакетов.
Важной характеристикой комплексов с карусельным механизмом является возможность их функционирования в режиме непрерывной работы, что обеспечивает их высокую производительность.
Чтобы в полной мере воспользоваться такой возможностью весьма важно обеспечить непрерывную подачу пакетов на обрабатывающее звездообразное колесо.
При этом на обрабатывающее звездообразное колесо необходимо подать как пакеты, так и горловины, т.к. сами пакеты собирают непосредственно на сваривающих звездообразных колесах, для чего в этих пакетах выполняют отверстие, вставляют в него горловину, а затем приваривают кромки пакета.
Нерешенной остается проблема обеспечения непрерывной подачи на карусельный механизм как пакетов, так и горловин.
РАСКРЫТИЕ СУЩНОСТИ ИЗОБРЕТЕНИЯ
Задачей настоящего изобретения является решение вышеупомянутой проблемы путем создания устройства, в котором обеспечена возможность гарантированной непрерывной подачи как пакетов, так и горловин для них на карусельный механизм для обработки.
Еще одной задачей настоящего изобретения является создание устройства для одновременной подачи пакетов и горловин на карусельный механизм для обработки.
Следующей задачей настоящего изобретения является создание устройства для подачи пакетов и горловин для них, которое выполнено с возможностью обеспечения высокой производительности.
Следующей задачей настоящего изобретения является создание надежного устройства для подачи пакетов и горловин для них, которое несложно изготовить.
Следующей задачей настоящего изобретения является разработка простого способа подачи пакетов и горловин на карусельный механизм для обработки.
Указанные задачи полностью решены благодаря созданию устройства для подачи пакетов и горловин для них на карусельный механизм для обработки и разработке соответствующего способа, которые охарактеризованы изложенной далее формулой изобретения.
ЛУЧШИЙ ВАРИАНТ ОСУЩЕСТВЛЕНИЯ ИЗОБРЕТЕНИЯ
Эти и другие задачи подробно изложены далее в описании предпочтительного варианта осуществления изобретения и не ограничены примерами, приведенными со ссылками на прилагаемые чертежи, на которых:
фиг.1 изображает фронтальный вид с частичным разрезом устройства для подачи пакетов и горловин для них на карусельный механизм для обработки;
фиг.2 представляет собой схематический вид сверху, иллюстрирующий работу устройства, изображенного на фиг.1.
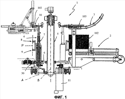
На фиг.1, 2 устройство для подачи пакетов и горловин для них на карусельный механизм для обработки в целом обозначено номером 1. При этом карусельный механизм может быть выполнен, к примеру, в виде пакетоформовочного звездообразного колеса, оборудованного сваривающими захватами для сварки горловин с пакетами.
Устройство 1 содержит первый накопитель 2, выполненный с возможностью размещения в нем комплекта пакетов 102 и второй накопитель 3, выполненный с возможностью удержания некоторого количества горловин 103.
Абсолютно новым и оригинальным признаком изобретения является наличие в устройстве 1 манипулятора 4, выполненного с возможностью приема из соответствующих накопителей пакета 102 и горловины 103 и одновременной их подачи в режиме непрерывной работы на карусельный механизм.
В рассматриваемом примере манипулятор 4 прикреплен к вращающейся платформе 6, установленной на шпонке на первом опорном валу 5.
При этом манипулятор 4 также содержит подвижную опорную конструкцию 7 в виде второго опорного вала 7, выполненного подвижным, а именно с возможностью поворота вокруг первой вертикальной оси А из рабочего положения, в котором происходит прием пакета 102 и горловины 103, в рабочее положение, в котором происходит их передача на карусельный механизм. Средства приема пакета и горловины установлены на валу 7.
В рассматриваемом примере указанные средства приема пакета содержат две присоски 8, 9, которые вертикально выровнены и расположены в одной вертикальной плоскости P (на фиг.1 плоскость P представлена в виде сбоку).
В рассматриваемом предпочтительном варианте осуществления изобретения средства приема горловины представляют собой захват 10.
Как показано на фиг.1, вал 7 прикреплен к периметру платформы 6, вращающейся вокруг оси В, которая расположена по существу вертикально и проходит через вал 5. Строго говоря, происходит одновременное вращение вала 7 вокруг оси А и платформы 6 вокруг оси В, так что перемещение присосок 8, 9 и захвата 10 от накопителей 2 и 3 к карусельному механизму для обработки пакетов и горловин происходит по гипоциклоиде.
Согласно варианту, представленному на фиг.1, платформу 6 приводят в движение непосредственно рассматриваемым карусельным механизмом, например, посредством механического соединения зубчатых колес 30, выполненных за одно целое с карусельным механизмом, и соответствующих зубчатых колес 31, выполненных за одно целое с платформой 6.
В рассматриваемом примере вал 7 приводится в движение предпочтительно электродвигателем 11, жестко присоединенным к платформе 6.
В рассматриваемом предпочтительном варианте осуществления изобретения устройство 1 включает одну вращающуюся платформу и несколько валов 7, каждый из которых оборудован по меньшей мере двумя присосками для приема и удержания пакета и по меньшей мере одним захватом, служащим для приема горловины.
Способ подачи пакетов и горловин на карусельный механизм для обработки включает следующие этапы:
– подготовка накопителя пакетов;
– подготовка накопителя горловин;
– прием пакета (102) из соответствующего накопителя (2); и
– прием горловины (103) из соответствующего накопителя (3).
Абсолютно новым и оригинальным отличием этого способа является операция одновременной непрерывной подачи пакетов и горловин на карусельный механизм для обработки.
В предпочтительном варианте осуществления изобретения подачу пакетов и горловин от накопителей к месту разгрузки на карусельном механизме осуществляют по гипоциклоидной траектории.
Далее описана работа изобретения.
Платформу 6 приводят в движение непосредственно рассматриваемым карусельным механизмом путем соединения зубчатых колес 30, выполненных за одно целое с карусельным механизмом, и зубчатых колес 31, выполненных за одно целое с платформой 6.
Вместе с тем вал 7, являющийся частью манипулятора 4, выполнен с возможностью вращения вокруг оси А электродвигателем 11, соединенным за одно целое с платформой 6.
Таким образом, присоски 8, 9 и захват 10 перемещают по гипоциклоиде из области приема пакетов 102 и горловин 103 из соответствующих накопителей 2, 3 в область передачи пакетов и горловин на карусельный механизм для обработки (обозначена буквой R на фиг.2).
Как показано на фиг.2, траектория перемещения присосок 8, 9 и захвата 10 содержит точку Q. Эта точка соответствует точке перегиба гипоциклоиды у накопителей 2, 3, содержащих пакеты и горловины (на фиг.2 изображен только накопитель с пакетами), в которой абсолютная скорость перемещения присосок и захвата сведена к нулю. Таким образом, присоски и захват могут без «выдергивания» принять неподвижные пакеты 102 и горловины 103 из соответствующих накопителей.
Затем точка Q, изображенная на фиг.2, следует, по существу, по дуге окружности, так что относительная скорость присосок 8, 9 и захвата 10 по отношению к карусельному механизму R равна нулю. При этом указанными присосками и захватом можно точно переместить пакеты 102 и горловины 103 на карусельный механизм R.
Хотя выше описан принцип действия устройства с одним манипулятором 4, такие устройства с несколькими манипуляторами работают аналогично.
Это изобретение имеет ряд важных преимуществ.
Прежде всего, устройство в соответствии с настоящим изобретением позволяет непрерывно подавать и пакеты и горловины и таким образом гарантирует высокую производительность.
Другим важным преимуществом настоящего изобретения является возможность одновременной подачи пакетов и горловин.
Еще одним преимуществом является тот факт, что устройство в соответствии с настоящим изобретением компактно и чрезвычайно надежно.
Еще одним преимуществом настоящего изобретения является возможность безопасно манипулировать пакетами и горловинами без их повреждения при обеспечении высокой производительности.
Формула изобретения
1. Устройство (1) для подачи пакетов (102) и горловин (103) для них на карусельный механизм (R) для обработки, содержащее
по меньшей мере накопитель (2) для пакетов (102) и
по меньшей мере накопитель (3) для горловин (103), отличающееся тем, что оно содержит по меньшей мере манипулятор (4), выполненный с возможностью приема пакета (102) и горловины (103) из соответствующих накопителей (2, 3) и одновременной их подачи в режиме непрерывной работы по гипоциклоиде на карусельный механизм (R) для обработки, при этом указанную подачу пакетов и горловин на карусельный механизм для обработки осуществляют перемещением по гипоциклоиде самих пакетов и горловин из соответствующих накопителей в зону разгрузки на указанном карусельном механизме.
2. Устройство по п.1, в котором указанный манипулятор (4) содержит
средства приема пакета (102) и
средства приема горловины (103),
прикрепленные к подвижной опоре (7) с возможностью перемещения по меньшей мере из одного рабочего положения, предназначенного для приема пакета (102) и горловины (103), по меньшей мере в одно рабочее положение, предназначенное для передачи указанных пакета (102) и горловины (103) на карусельный механизм (R).
3. Устройство по п.2, в котором указанные средства приема пакета (102) содержат по меньшей мере присоску.
4. Устройство по п.2 или 3, в котором указанные средства приема пакета (102) содержат по меньшей мере две присоски (8, 9), которые вертикально выровнены и расположены в одной вертикальной плоскости (Р).
5. Устройство по любому из пп.2-4, в котором указанные средства приема горловины (103) содержат по меньшей мере захват (10).
6. Устройство по любому из пп.2-5, в котором указанная опора (7) вращается вокруг первой по существу вертикальной оси (А).
7. Устройство по п.6, в котором указанная опора (7) прикреплена к периметральной зоне вращающейся платформы (6), которая вращается вокруг второй по существу вертикальной оси (В), причем вращение опоры (7) вокруг первой оси (А) и платформы (6) вокруг второй оси (В) происходит одновременно, так что перемещение средств приема пакета (102) и средств приема горловины (103) от накопителей (2, 3) к карусельному механизму (R) происходит по гипоциклоиде.
8. Устройство по п.7, отличающееся тем, что оно содержит
первый привод, жестко прикрепленный к вращающейся платформе (6) и воздействующий на опору (7), и
второй привод, воздействующий на вращающуюся платформу (6).
9. Устройство по п.8, в котором указанный первый привод содержит по меньшей мере электродвигатель (11).
10. Способ подачи пакетов (102) и горловин (103) на карусельный механизм (R) для обработки, согласно которому
подготавливают накопитель (2) пакетов (102),
подготавливают накопитель (3) горловин (103),
принимают пакет (102) из соответствующего накопителя (2), и
принимают горловину (103) из соответствующего накопителя (3),
отличающийся тем, что, кроме того, указанные пакеты (102) и указанные горловины (103) одновременно и непрерывно подают по гипоциклоиде на карусельный механизм (R) для обработки, при этом указанную подачу пакетов и горловин на карусельный механизм для обработки осуществляют перемещением по гипоциклоиде самих пакетов и горловин из соответствующих накопителей в зону разгрузки на указанном карусельном механизме.
РИСУНКИ
|