|
|
(21), (22) Заявка: 2006130664/12, 25.08.2006
(24) Дата начала отсчета срока действия патента:
25.08.2006
(43) Дата публикации заявки: 27.02.2008
(46) Опубликовано: 20.02.2009
(56) Список документов, цитированных в отчете о поиске:
SU 1349051 A1, 30.01.1984. SU 659157 A, 25.09.1979. US 355739 A, 26.01.1971. US 5041039 A, 20.08.1991. EP 1389483 A1, 18.02.2004.
Адрес для переписки:
105425, Москва, Сиреневый б-р, 29, к.2, кв.2, Н.Я. Лепилову
|
(72) Автор(ы):
Лепилов Николай Яковлевич (RU)
(73) Патентообладатель(и):
Лепилов Николай Яковлевич (RU)
|
(54) ПЛАВАТЕЛЬНЫЕ СНАРЯДЫ “ЛЕПСЫ”
(57) Реферат:
Плавательные снаряды, каждый из которых включает основание, боковины, лопатки, подпятники, поплавок, стяжки, элементы фиксации и крепежные детали, по длине основания, соответствующей размеру ноги пловца, к его буртикам с обеих сторон жестко закреплены параллельно расположенные между собой плоские прямоугольные боковины с отгибом коротких кромок во внешнюю сторону под углом не более 30°. Между боковинами с зазором по торцам шарнирно закреплены с возможностью вращения плоские прямоугольные лопатки, снабженные осями, расположенными вблизи одной из длинных параллельных плоскости основания кромок, два упора для ограничения поворота каждой лопатки, которые жестко закреплены на боковинах и образуют углы атаки, равные 16°±4°, при этом нижние свободные стороны боковин зафиксированы двумя или тремя стяжками, причем сверху основания закреплены подпятники, а снизу коробка, которая удерживает поплавок, при этом шарниры лопаток расположены по наклонной к плоскости основания прямой с возможностью исключения затенения одной лопатки другой, а элементами фиксации снаряда на ноге пловца являются преимущественно ремни, продетые в проушины основания и подпятников. Использование данного изобретения обеспечивает повышение скорости плавания. 2 ил.
Изобретение относится к области плавания человека по воде и под водой. Из уровня техники известны плавательные снаряды (SU №1349051, А63В 31/11, 1984), содержащие основание, боковины, лопатки, упоры для ограничения угла поворота каждой лопатки (наиболее близкий аналог). Недостатком известного из уровня техники изобретения является небольшая скорость плавания.
Задачей заявленного изобретения является повышение скорости плавания.
Технический результат, заключающийся в устранении указанных недостатков в плавательных снарядах, достигается за счет того, что каждый из снарядов включает основание, боковины, лопатки, подпятники, поплавок, стяжки, элементы фиксации и крепежные детали, по длине основания, соответствующей размеру ноги пловца, к его буртикам с обеих сторон жестко закреплены параллельно расположенные между собой плоские прямоугольные боковины с отгибом коротких кромок во внешнюю сторону под углом не более 30°, при этом между боковинами с зазором по торцам шарнирно закреплены с возможностью вращения плоские прямоугольные лопатки, снабженные осями, расположенными вблизи одной из длинных параллельных плоскости основания кромок, два упора для ограничения поворота каждой лопатки, жестко закрепленные на боковинах, и образуют углы атаки, равные 16°±4°, при этом нижние свободные стороны боковин зафиксированы двумя или тремя стяжками, причем сверху основания закреплены подпятники, а снизу коробка, удерживающая поплавок, при этом шарниры лопаток расположены по наклонной к плоскости основания прямой с возможностью исключения затенения одной лопатки другой, а элементами фиксации снаряда на ноге пловца являются преимущественно ремни, продетые в проушины основания и подпятников.
Устройство поясняется чертежами.
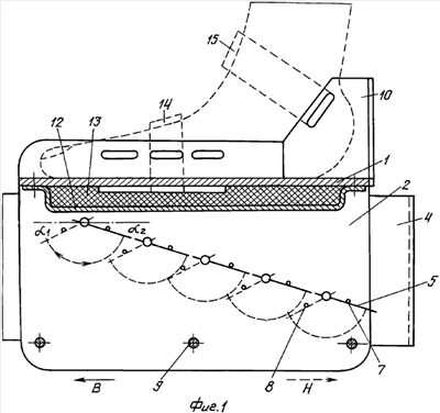
На фиг.1 – вид устройства в сборе;
на фиг.2 – то же, вид сверху.
Устройство содержит основание 1, по длине которого к его буртикам жестко закреплены две плоские параллельные между собой боковины 2 и 3 с отгибами 4 во внешнюю сторону под углом кромок не более 30°, при этом между боковинами с зазором по торцам шарнирно закреплены с возможностью вращения плоские прямоугольные лопатки 5, длинные кромки которых параллельны плоскости основания и снабжены осями 6 вблизи одной из кромок, при этом поворот лопаток ограничен упорами 7 и 8, жестко закрепленными на боковинах, и образующими углы атаки лопаток, равные 16°±4°, при этом боковины зафиксированы по нижним кромкам стяжками 9, при этом сверху к основанию прикреплены подпятники 10 и 11, а снизу коробка 12, удерживающая поплавок 13, при этом фиксация снаряда на ноге пловца осуществляется, преимущественно, посредством ремней 14, 15 с быстродействующими застежками, продеваемых через проушины в основании и подпятниках, при этом шарниры лопаток расположены по наклонной к плоскости основания прямой с исключением затенения одной лопатки другой.
Действие снаряда основано на использовании подъемной силы пластины, наклоненной под углом атаки к вектору набегающего на нее потока воды, что достигается поворотом лопаток 5 в шарнирах боковин 2 и 3 под действием набегающего потока воды, вызванного движением ног пловца вверх-вниз, между упором 7, создающим угол атаки 1 между плоскостями лопаток и плоскостью основания 1 при движении снаряда вниз, и упором 8, создающим угол атаки 2 при движении снаряда вверх, при этом возникающие импульсы подъемной силы, пропорциональные квадрату скорости набегающего потока, через пространство боковин 2 и 3 прикладываются к основанию, создавая тягу в направлении плавания, при этом для увеличения захватываемого снарядом объема воды и, следовательно, скорости набегающего на лопатки потока короткие кромки 4 боковин отогнуты во внешние стороны, а для уравновешивания массы снаряда в воде к нижней плоскости основания крепится посредством коробки 12 поплавок 13.
Материалом для изготовления деталей снаряда является пластмасса, пенопласт для поплавка и тканые ремни для фиксации снарядов на ногах пловца.
Формула изобретения
Плавательные снаряды, каждый из которых включает основание, боковины, лопатки, подпятники, поплавок, стяжки, элементы фиксации и крепежные детали по длине основания, соответствующей размеру ноги пловца, к его буртикам с обеих сторон жестко закреплены параллельно расположенные между собой плоские прямоугольные боковины с отгибом коротких кромок во внешнюю сторону под углом не более 30°, при этом между боковинами с зазором по торцам шарнирно закреплены с возможностью вращения плоские прямоугольные лопатки, снабженные осями, расположенными вблизи одной из длинных параллельных плоскости основания кромок, два упора для ограничения поворота каждой лопатки жестко закреплены на боковинах и образуют углы атаки, равные 16°±4°, при этом нижние свободные стороны боковин зафиксированы двумя или тремя стяжками, причем сверху основания закреплены подпятники, а снизу коробка, удерживающая поплавок, при этом шарниры лопаток расположены по наклонной к плоскости основания прямой с возможностью исключения затенения одной лопатки другой, а элементами фиксации снаряда на ноге пловца являются преимущественно ремни, продетые в проушины основания и подпятников.
РИСУНКИ
|
|