|
|
(21), (22) Заявка: 2006111357/14, 09.10.2003
(24) Дата начала отсчета срока действия патента:
09.10.2003
(43) Дата публикации заявки: 20.11.2007
(46) Опубликовано: 20.02.2009
(56) Список документов, цитированных в отчете о поиске:
JP 2003154006 А, 27.05.2003. JP 9276405 А, 28.10.1997. RU 2077893 С1, 27.04.1997.
(85) Дата перевода заявки PCT на национальную фазу:
10.05.2006
(86) Заявка PCT:
JP 03/12958 (09.10.2003)
(87) Публикация PCT:
WO 2005/035034 (21.04.2005)
Адрес для переписки:
117393, Москва, а/я 279, “Константин Шилан и Ко.”, пат.пов. К.А.Шилану, рег.№ 367
|
(72) Автор(ы):
ЦУТЗУИ Татсуо (JP)
(73) Патентообладатель(и):
БИОАКТИЗ ЛИМИТЕД (JP)
|
(54) УСТРОЙСТВО ДЛЯ ВВЕДЕНИЯ ПОРОШКООБРАЗНОГО ЛЕКАРСТВА В ПОЛОСТЬ НОСА
(57) Реферат:
В устройстве доставки порошкообразного лекарственного средства в носовую полость по настоящему изобретению установочные направляющие, по которым капсула задвигается до заданного положения, размещаются со стороны режущих лезвий, обеспечивающих выполнение отверстия с обоих концов капсулы, установленной между переходным каналом со стороны сопла для распыления порошкообразного лекарственного средства в носовую полость и переходным каналом со стороны насоса для подачи распыляемого воздуха к соплу. При этом отверстия с обоих концов капсулы выполняются постоянного размера и расстояние L между переходными каналами выполнено короче расстояния М между остриями режущих лезвий для того, чтобы предотвратить рассеивание порошкообразного лекарственного средства капсулы с обоих концов капсулы, установленной между переходными каналами так, что оба конца капсулы, установленной между переходными каналами, прижимаются периферийными участками обоих переходных каналов. 2 н. и 3 з.п. ф-лы, 5 ил.
Область техники изобретения
Настоящее изобретение относится к устройству доставки порошкообразного лекарственного средства в носовую полость, которое доставляет в носовую полость порошкообразное лекарственное средство, заправленное в капсулу.
Предпосылки создания изобретения
Существующее устройство доставки порошкообразного лекарственного средства в носовую полость пациента, страдающего от астмы или аллергического ринита (например, JP-А №46-49094), работает следующим образом: снимается сопло в виде колпачка, установленное с возможностью отделения на верхнем конце цилиндрического элемента, снабженного воздушным выпускным каналом насоса для отвода воздуха путем нажатия на резиновую грушу рукой, в цилиндрический элемент устанавливается капсула, заправленная порошкообразным лекарственным средством, на верхний конец цилиндрического элемента устанавливается сопло, затем в сторону сопла надавливается насос в виде резиновой груши, при этом выдвигается верхний конец иглы, находящейся в насосе, игла проходит сквозь капсулу, установленную в цилиндрическом элементе, выходит из воздушного выпускного канала насоса и доходит до сопла, таким образом с обоих концов капсулы протыкается отверстие и подается воздух, выходящий из воздушного выпускного канала насоса, воздух проходит через капсулу к соплу, и из сопла распыляется порошкообразное лекарственное средство, находящееся в капсуле.
Однако чрезвычайно неудобно обращаться с описанным выше устройством, так как требуется отделить сопло в виде колпачка от верхнего конца цилиндрического элемента или присоединить сопло к нему после установки капсулы в цилиндрический корпус или после извлечения использованной капсулы из цилиндрического элемента, или нажать насос в направлении сопла и выдвинуть иглу, находящуюся в насосе, после установки капсулы в цилиндрический элемент для выполнения отверстия с обоих концов капсулы.
Кроме того, после нажатия на насос в направлении сопла для выполнения отверстия с обоих концов капсулы, установленной в цилиндрическом элементе, с помощью иглы, выходящей из насоса, когда насос выходит из нажатого состояния, чтобы задвинуть выступающую иглу в насос, порошкообразное лекарственное средство капсулы засасывается из отверстий, проткнутых с концов капсулы со стороны насоса при всасывании, возникающем после восстановления насосом первоначальной формы, и может при всасывании поступить во внутреннюю часть насоса из воздушного выпускного канала насоса.
Кроме того, при протыкании капсулы с обоих концов отверстия на концах капсулы не всегда получаются со стороны сопла, так как насос не нажат до положения, в котором заостренная игла, находящаяся в насосе, протыкает капсулу и, когда насос срабатывает в таком состоянии, это может вызывать опасение не только потому, что порошкообразное лекарственное средство капсулы не распыляется из сопла, но также и потому, что часть порошкообразного лекарственного средства при всасывании может попасть в насос.
Кроме того, после прокалывания иглой отверстия с одного до другого конца капсулы, установленной в цилиндрическом элементе между воздушным выпускным каналом насоса и соплом, ввиду того, что конец капсулы вогнут внутрь под давлением иглы с образованием зазора между отверстием, выполненным на конце капсулы и воздушным выпускным каналом насоса или между отверстием и соплом, порошкообразное лекарственное средство капсулы нельзя распылить эффективно через сопло, и часть порошкообразного лекарственного средства рассеивается внутри цилиндрического элемента, что может вызвать обеспокоенность, так как в носовую полость не может попасть нужное количество порошкообразного лекарственного средства.
Кроме того, когда игла протыкает капсулу с двух сторон, то остатки капсулы, образованные по краям отверстий, которую насквозь прошла игла, препятствуют выходу потока воздуха, что мешает подавать порошкообразное лекарственное средство капсулы к соплу; это является недостатком, так как не дает выпустить все количество порошкообразного лекарственного средства капсулы, которое остается в капсуле.
Автор усовершенствовал устройство, обеспечив не только простоту установки капсулы одним нажатием, но и автоматическое выполнение отверстий в капсуле с двух концов после установки, не опасаясь при этом прогиба по концам капсулы внутрь, или рассеивания порошкообразного лекарственного средства капсулы после выполнения отверстий, а также не опасаясь того, что остатки капсулы, образованные по краям отверстий, перекроют отверстия и будут препятствовать прохождению воздуха (см., например, JP-A №2003-154006).
В данном устройстве капсула с отверстиями с обоих концов, сообщающимися с переходным каналом со стороны сопла для распыления порошкообразного лекарственного средства в носовую полость, и переходным каналом со стороны насоса для подачи распыляемого воздуха к соплу, устанавливается между обоими переходными каналами, и распыляющий воздух подается от насоса через капсулу к соплу, распыляя, таким образом, порошкообразное лекарственное средство, заправленное в капсулу, при этом между переходным каналом со стороны сопла и переходным каналом со стороны насоса с возможностью перемещения вперед и назад относительно капсулы располагается держатель капсулы для установки капсулы, и капсула своими концами крепится на держателе капсулы, задвигается в положение установки между переходным каналом со стороны насоса и переходным каналом со стороны сопла, при этом концы капсулы автоматически частично обрезаются режущим лезвием, при этом с двух концов выполняются отверстия. Соответственно, можно быстро выполнить операцию установки капсулы, операцию выполнения отверстий и операцию извлечения отработанной капсулы одним движением.
Кроме того, при обрезании капсулы режущим лезвием с двух концов для выполнения отверстий по краям отверстий не образуются остатки, которые препятствуют прохождению воздуха, и порошкообразное лекарственное средство капсулы может распыляться до конца. Кроме того, так как оба конца капсулы не вогнуты внутрь, то нет опасений, что между концами капсулы и переходным каналом со стороны сопла и переходным каналом со стороны насоса образуются зазоры, через которые порошкообразное лекарственное средство капсулы будет рассеиваться.
Однако при испытании описанного выше устройства на возможность практического использования было обнаружено, что отверстия по обоим концам имеют разный диаметр и в случае, если диаметр этого отверстия меньше диаметра отверстия переходного канала со стороны сопла или переходного канала со стороны насоса, то трудно за однократное срабатывание насоса выпустить из капсулы должное количество порошкообразного лекарственного средства. Кроме того, в случае, если диаметр отверстий, выполненных с обоих концов капсулы, равен диаметру переходного канала со стороны сопла и переходного канала со стороны насоса или больше этого диаметра, то порошкообразное лекарственное средство капсулы выпускается не самым эффективным способом, так как было обнаружено, что если при сильном надавливании на насос в капсулу мгновенно подается большое количество воздуха для распыления, то распыляющий воздух частично вытекает с обоих концов капсулы, которая примыкает к переходному каналу со стороны сопла и к переходному каналу со стороны насоса, и порошкообразное лекарственное средство капсулы рассеивается.
Раскрытие сущности изобретения
Цель настоящего изобретения состоит в том, чтобы отверстия с обоих концов капсулы выполнялись не разного диаметра, а выполнялись определенного диаметра с высокой точностью, а также в том, чтобы предотвратить утечку распыляемого воздуха, подаваемого насосом через оба конца капсулы, которые примыкают к обоим переходными каналами, чтобы рассеять порошкообразное лекарственное средство капсулы даже в случае, если диаметр отверстий, выполненных с обоих концов капсулы, равен диаметру переходного канала со стороны сопла и переходного канала со стороны насоса или больше этого диаметра, что позволяет эффективно распылять порошкообразное лекарственное средство капсулы.
Для достижения поставленной цели в пункте 1 настоящего изобретения предлагается устройство доставки и дозирования порошкообразного лекарственного средства в носовую полость для распыления порошкообразного лекарственного средства, заправленного в капсулу, путем установки капсулы между переходным каналом со стороны сопла для распыления порошкообразного лекарственного средства в носовую полость и переходным каналом со стороны насоса для подачи распыляемого воздуха к соплу, при этом в капсуле с обоих концов выполняются отверстия, и капсула сообщается с обоими переходными каналами и распыляющий воздух подается от насоса через капсулу к соплу, отличающееся тем, что держатель капсулы, удерживающий капсулу, заправленную порошкообразным лекарственным средством, с возможностью перемещения в осевом направлении, и обеспечивающий установку капсулы между переходным каналом со стороны сопла и переходным каналом со стороны насоса, размещается с возможностью перемещения вперед и назад относительно положения установки капсулы; для частичного отсечения обоих концов капсулы, которая продвигается вперед в положение установки, будучи удерживаемой держателем капсулы для выполнения отверстий с обоих концов капсулы, размещается режущее лезвие, и на стороне режущего лезвия расположена установочная направляющая, которая направляет оба конца капсулы, которая продвигается вперед в положение установки, будучи удерживаемой держателем капсулы, и которая обеспечивает скольжение капсулы до заданного положения.
Кроме того, в пункте 4 формулы изобретения предлагается устройство доставки и дозирования порошкообразного лекарственного средства в носовую полость для распыления порошкообразного лекарственного средства, заправленного в капсулу, путем установки капсулы между переходным каналом со стороны сопла для распыления порошкообразного лекарственного средства в носовую полость и переходным каналом со стороны насоса для подачи распыляемого воздуха к соплу, при этом в капсуле с обоих концов выполняются отверстия, которые сообщаются с обоими переходными каналами, и распыляющий воздух подается от насоса через капсулу к соплу, отличающееся тем, что держатель капсулы для установки капсулы, заправленной порошкообразным лекарственным средством, размещается между переходным каналом со стороны сопла и переходным каналом со стороны насоса с возможностью перемещения вперед и назад относительно положения установки капсулы; для частичного отсечения обоих концов капсулы, которая продвигается вперед в положение установки, будучи удерживаемой держателем капсулы для выполнения отверстий с обоих концов капсулы, размещается режущее лезвие; и расстояние между переходным каналом со стороны сопла и переходным каналом со стороны насоса короче длины капсулы, оба конца которой отсекаются режущими лезвиями, когда оба конца капсулы испытывают давление со стороны периферийных участков обоих переходных каналов, между которыми установлена капсула.
В устройстве доставки и дозирования порошкообразного лекарственного средства в носовую полость по пункту 1 настоящего изобретения при удержании капсулы, заправленной порошкообразным лекарственным средством, держателем капсулы с возможностью перемещения в осевом направлении и при перемещении капсулы вперед на позицию установки между переходным каналом со стороны сопла и переходным каналом со стороны насоса, капсула задвигается до заданного положения, направляемая по обоим концам установочной направляющей, и оба конца капсулы всегда отсекаются в заданном положении с выполнением отверстий с обоих концов капсулы. Соответственно, диаметр отверстий на концах капсулы выполняется без отклонения размеров, и отверстия, каждое определенного размера, наиболее эффективно выпускают порошкообразное лекарственное средство капсулы, и могут выполняться с высокой точностью.
В устройстве доставки и дозирования порошкообразного лекарственного средства в носовую полость по пункту 4 настоящего изобретения, так как оба конца капсулы, установленной между переходным каналом со стороны сопла и переходным каналом со стороны насоса, входят с усилием в контакт с периферийными участками обоих переходных каналов, преодолевая отталкивание после нажима на периферийные участки обоих переходных каналов, то нет опасений по поводу того, что подаваемый насосом распыляющий воздух будет протекать с обоих концов капсулы при рассеянии порошкообразного лекарственного средства капсулы даже в случае, если диаметр отверстий, выполненных с обоих концов капсулы, равен диаметру переходного канала со стороны сопла и переходного канала со стороны насоса или больше этого диаметра.
Краткое описание чертежей
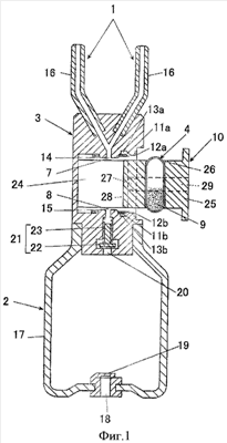
На фиг.1 представлено сечение варианта устройства по настоящему изобретению. На фиг.2 в увеличенном масштабе показан фрагмент устройства по фиг.1. На фиг.3 представлен разрез устройства по настоящему изобретению в момент установки капсулы. На фиг.4 представлено сечение устройства по настоящему изобретению в момент распыления порошкообразного лекарственного средства капсулы. На фиг.5 в увеличенном масштабе показан фрагмент устройства по фиг.4.
Наилучший способ осуществления настоящего изобретения
В соответствии с наилучшим вариантом устройства доставки порошкообразного лекарственного средства в носовую полость по настоящему изобретению держатель капсулы, удерживающий капсулу, заправленную порошкообразным лекарственным средством, с возможностью перемещения капсулы в осевом направлении и устанавливающий капсулу между переходным каналом со стороны сопла распыления порошкообразного лекарственного средства в носовую полость и переходным каналом со стороны насоса для подачи распыляемого воздуха к соплу, размещается с возможностью перемещения вперед и назад в положение установки капсулы; для частичного отсечения обоих концов капсулы, которая продвигается вперед в положение установки, будучи удерживаемой держателем капсулы для выполнения отверстий с обоих концов капсулы, размещается режущее лезвие; на стороне режущего лезвия расположена установочная направляющая, которая направляет оба конца капсулы, которая продвигается вперед в положение установки, будучи удерживаемой держателем капсулы, и которая обеспечивает скольжение капсулы до заданного положения; расстояние между переходным каналом со стороны сопла и переходным каналом со стороны насоса короче длины капсулы, оба конца которой отсекаются режущими лезвиями, когда оба конца капсулы испытывают давление со стороны периферийных участков обоих переходных каналов, между которыми установлена капсула.
Наилучший способ осуществления настоящего изобретения описывается со ссылкой на прилагаемые чертежи.
Согласно данному варианту осуществления настоящего изобретения в устройстве доставки порошкообразного лекарственного средства в носовую полость разветвленное сопло 1 для распыления порошкообразного лекарственного средства в правую и левую полости носа одновременно и насос 2 для доставки распыляемого воздуха в сопло 1 соединены с основным корпусом 3, в котором выполнен переходный канал 7 со стороны сопла и переходный канал 8 со стороны насоса, которые соединяют сопло 1 и насос 2 через капсулу с отверстиями 5, 6, выполненными с обоих концов капсулы, а держатель капсулы 10 для установки капсулы 4, заправленной порошкообразным лекарственным средством 9, между переходным каналом 7 со стороны сопла и переходным каналом 8 со стороны насоса, перемещаемый в осевом направлении, расположен с возможностью перемещения капсулы вперед и назад относительно положения установки капсулы.
Кроме того, на корпусе 3 установлены режущие лезвия 11а, 11b для частичного отсечения обоих концов капсулы 4, которая перемещается вперед, будучи удерживаемой держателем капсулы 10, до положения установки капсулы между переходным каналом 7 со стороны сопла и переходным каналом 8 со стороны насоса, обеспечивая, таким образом, сообщение отверстий 5, 6 с переходными каналами 7, 8 с обоих концов капсулы, и установочные направляющие 12а, 12b предусмотрены с этой стороны режущих лезвий 11а, 11b для задания направления движения обоим концам капсулы 4, которая продвигается вперед при удержании капсулы держателем капсулы 10 до положения установки и задвигается (капсула 4) до заданного положения.
В состав режущих лезвий 11а, 11b входит пара лезвий, закрепленных параллельно друг другу, с остриями лезвий, повернутыми навстречу движения держателя капсулы 10, а установочные направляющие 12а и 12b выполнены в виде пары выступов, расположенных напротив друг друга. Кроме того, между лезвиями, образующими режущие лезвия 11a, 11b, и выступами, образующими установочные направляющие 12а, 12b, расположенные на этой стороне капсулы, выполнены хранилища 13а, 13b для удаления отсеченных концов капсулы, отрезанных режущими лезвиями 11а, 11b.
Расстояние между установочными направляющими 12а и 12b соответствует самой короткой капсуле с учетом размерных отклонений при изготовлении. Кроме того, режущие лезвия 11а, 11b установлены в положение, в котором с двух концов капсулы 4, установленной с помощью установочных направляющих 12а, 12b в заданное положение, отсекаются сферические верхушки заданного размера так, что с обоих концов капсулы 4 образуются отверстия 5, 6, диаметр которых равен диаметру переходных каналов 7, 8 или немного больше этого диаметра. Это значит, что диаметр отверстий 5, 6, выполненных с обоих концов капсулы 4 режущими лезвиями 11а, 11b, равен диаметру переходных каналов 7, 8, сообщающихся с отверстиями 5, 6, или больше этого диаметра.
Кроме того, расстояние L между переходным каналом 7 со стороны сопла и переходным каналом 8 со стороны насоса, служащее для установки капсулы 4 с отверстиями 5, 6, каждое из которых выполняется заданного диаметра путем отсечения обоих концов капсулы режущими лезвиями 11а, 11b, меньше расстояния М между остриями режущих лезвий 11а и 11b, служащих для отсечения обоих концов капсулы 4. То есть расстояние L между переходными каналами 7 и 8 короче капсулы 4 после отсечения обоих концов капсулы режущими лезвиями 11а, 11b, так что оба конца капсулы 4, установленной между переходными каналами 7 и 8, прижимаются периферийными участками 14 и 15 обоих переходных каналов 7 и 8.
Чтобы не повредить внутреннюю часть носовой полости сопло 1 выполняется из мягкой и эластичной трубки 16. Кроме того, напротив открытого конца главного корпуса насоса 17 расположен открытый конец главного корпуса насоса 17 насоса 2, изготовленный из эластичной резины или пластика и соединенный с полым корпусом, который может деформироваться при сжатии, образует воздухонепроницаемое соединение с одним концом корпуса 3, выполненного с переходным каналом 8 со стороны насоса, и с каналом подвода воздуха 18, снабженного обратным клапаном 19 для контроля потока воздуха из насоса 17.
Кроме того, на одном конце корпуса 3, с которым соединяется открытый конец главного корпуса насоса 17, выполнен воздушный выпускной канал 20 насоса 2, соединяющий главный корпус насоса 17 с переходным каналом 8, и для задержки притока воздуха со стороны переходного канала 8 в главный корпус насоса 17, когда главный корпус насоса 17, деформируемый при сжатии, принимает свою первоначальную форму, в воздушном выпускном канале 20 установлен обратный клапан 21. Обратный клапан 21 выполнен таким образом, что корпус клапана 22 для открытия/закрытия воздушного выпускного канала 20 упруго смещается в направлении закрытия клапана, осуществляемого пружиной 23, и корпус клапана 22 подается в направлении открытия, преодолевая упругую силу пружины 23, под давлением воздуха в главном корпусе насоса 17, действующего на торец корпуса клапана 22, который закрывает воздушный выпускной канал 20 при надавливании рукой на главный корпус насоса 17.
Держатель капсулы 10 имеет главный корпус 25 выдвижного типа, вставляемый в область 24 и выдвигаемый между переходными каналами 7 и 8 из области 24 корпуса 3, на поверхности которого для удержания капсулы 4, заправленной порошкообразным лекарственным средством 9, с возможностью перемещения в осевом направлении выполнен паз 26, обеспечивающий скольжение обоих концов капсулы, а на задней стенке главного корпуса 25 выполнен стопор 28, который входит в зацепление с выступом 27, выполненным на входе в область 24 корпуса 3 и для удержания главного корпуса 25 с возможностью перемещения в направлении вставки в область 24 и выдвижения и из области 24 корпуса 3, выполнен паз 29, находящийся в зацеплении с выступом 27.
Устройство в соответствии с предпочтительным вариантом осуществления настоящего изобретения описано выше, а ниже приводится описание способа применения и принцип действия. Сначала из области 24 корпуса 3 выдвигается главный корпус 25 держателя капсулы 10, и капсула 4 удерживается в пазу 26, выполненном на поверхности главного корпуса 25, как показано на фиг.1, и затем главный корпус 25 вставляется в область 24 корпуса 3, как показано на фиг.3.
Затем капсула 4, удерживаемая в держателе капсулы 10, задвигается до заданного положения, будучи направляемой по обоим концам установочными направляющими 12а, 12b, оба конца частично отсекаются в заданном положении режущими лезвиями 11а, 11b, выполняющими отверстия 5 и 6, диаметр каждого из которых равен или немного больше диаметра отверстий переходных каналов 7 и 8, затем капсула устанавливается между переходными каналами 7 и 8. Затем капсула 4, установленная между переходными каналами 7 и 8, сообщается с отверстиями 5 и 6 с обоих концов переходных каналов 7 и 8, при этом оба конца капсулы входят с усилием в тесный контакт с периферийными участками 14 и 15 обоих переходных каналов 7 и 8, между которыми установлена капсула.
В этом состоянии, когда сопло 1 вставлено в полость носа, и главный корпус насоса 17 сжимается от состояния, изображенного пунктирной линией на фиг.4, до состояния, изображенного сплошной линией на чертеже, давление воздуха в главном корпусе насоса 17 увеличивается, и обратный клапан 21, который закрывает воздушный выпускной канал 20 насоса 2, открывается, распыляющий воздух, выходящий из главного корпуса насоса 17, поступает из отверстия 6, расположенного на одном конце капсулы 4, и сообщающегося с переходным каналом 8, в капсулу 4, проходит через внутреннюю часть капсулы 4, и доставляется из отверстия 5 в другой конец капсулы 4 посредством переходного канала 7, сообщающегося с отверстием 5, к соплу 1, а порошкообразное лекарственное средство 9, заправленное в капсулу 4, распыляется распыляющим воздухом с верхнего конца сопла 1 и дозируется в полость носа.
В этом процессе, так как распыляющий воздух, доставляемый насосом 2 к соплу 1, плавно проходит от переходного канала 8 со стороны насоса 2 через капсулу 4 в переходный канал 7 со стороны сопла, не испытывая застоя в случае, если диаметр отверстий 5, 6 капсулы 4 для сообщения с переходным каналом 7 со стороны сопла и переходным каналом 8 со стороны насоса равен или большие диаметра переходных каналов 7, 8, то порошкообразное лекарственное средство 9 капсулы 4 может доставляться распыляющим воздухом к соплу 1 без образования остатков.
Кроме того, так как оба конца капсулы 4, установленной между переходным каналом 7 со стороны сопла и переходным каналом 8 со стороны насоса, испытывают давление со стороны периферийных участков 14 и 15 обоих переходных каналов 7 и 8, и входят с усилием в тесный контакт с периферийными участками 14 и 15, даже когда в капсулу 4 мгновенно подается большое количество распыляющего воздуха, нет опасений в том, что порошкообразное лекарственное средство 9 вытечет и будет рассеяно с обоих концов капсулы 4, сообщающейся с переходными каналами 7 и 8. Кроме того, когда в капсулу 4 мгновенно подается большое количество распыляющего воздуха и внутреннее давление капсулы 4 повышается, это обеспечивает давление обоих концов капсулы 4 изнутри капсулы на периферийные участки 14 и 15 переходных каналов 7 и 8, и тесный контакт между периферийными участками 14 и 15 и обоими концами капсулы 4 усиливается еще больше с обеспечением воздухонепроницаемого состояния между ними, протечки и рассеивание порошкообразного лекарственного средства 9 с обоих концов капсулы 4 может быть надежно предотвращено, и порошкообразное лекарственное средство можно доставлять и дозировать в необходимом количестве точно в полость носа. В данном варианте осуществления настоящего изобретения сопло 1 выполнено разветвленным, однако, сопло, используемое в данном изобретении, не ограничивается соплом разветвленного типа, а может быть выполнено в виде однотрубчатого сопла.
Промышленное применение
Как описано выше, устройство доставки порошкообразного лекарственного средства в носовую полость по настоящему изобретению обеспечивает доставку путем распыления порошкообразного лекарственного средства, заправленного в капсулу, в полость носа просто и надежно.
Формула изобретения
1. Устройство доставки порошкообразного лекарственного средства в носовую полость для распыления порошкообразного лекарственного средства, заправленного в капсулу, путем установки капсулы между переходным каналом со стороны сопла для распыления порошкообразного лекарственного средства в носовую полость и переходным каналом со стороны насоса для подачи распыляемого воздуха к соплу, путем выполнения отверстий в капсуле с обоих концов для сообщения капсулы с обоими переходными каналами и подачи распыляющего воздуха от насоса через капсулу к соплу, отличающееся тем, что устройство содержит держатель капсулы, удерживающий капсулу и выполненный с возможностью перемещения в осевом направлении капсулы и обеспечения установки капсулы между переходным каналом со стороны сопла и переходным каналом со стороны насоса, при этом держатель капсулы размещен с возможностью перемещения вперед и назад относительно положения установки капсулы; для частичного отсечения обоих концов капсулы при ее продвижении вперед в положение установки и для выполнения отверстий с обоих концов капсулы в устройстве размещены режущие лезвия и на стороне каждого режущего лезвия расположена установочная направляющая, выполненная с возможностью направления обоих концов капсулы, будучи удерживаемой указанным держателем при продвижении ее вперед в положение установки, и обеспечения скольжения капсулы до заданного положения.
2. Устройство доставки порошкообразного лекарственного средства в носовую полость по п.1, отличающееся тем, что в состав режущих лезвий входит пара лезвий, закрепленных параллельно друг другу, с остриями лезвий, повернутыми навстречу движению держателя капсулы, а установочные направляющие выполнены в виде пары выступов, расположенных напротив друг друга, а между лезвиями и выступами, расположенными на этой стороне капсулы, выполнены хранилища для удаления отсеченных концов капсулы, отрезанных режущими лезвиями.
3. Устройство доставки порошкообразного лекарственного средства в носовую полость по п.1 или 2, отличающееся тем, что расстояние между переходным каналом со стороны сопла и переходным каналом со стороны насоса короче длины капсулы, оба конца которой отсекаются режущими лезвиями, когда оба конца капсулы испытывают давление со стороны периферийных участков обоих переходных каналов, между которыми установлена капсула.
4. Устройство доставки порошкообразного лекарственного средства в носовую полость для распыления порошкообразного лекарственного средства, заправленного в капсулу, путем установки капсулы между переходным каналом со стороны сопла для распыления порошкообразного лекарственного средства в носовую полость и переходным каналом со стороны насоса для подачи распыляемого воздуха к соплу, путем выполнения отверстий в капсуле с обоих концов для сообщения капсулы с обоими переходными каналами и подачи распыляющего воздуха от насоса через капсулу к соплу, отличающееся тем, что устройство содержит держатель, удерживающий капсулу и выполненный с возможностью перемещения в осевом направлении капсулы и обеспечения установки капсулы между переходным каналом со стороны сопла и переходным каналом со стороны насоса, при этом держатель капсулы размещен с возможностью перемещения вперед и назад относительно положения установки капсулы; для частичного отсечения обоих концов капсулы при ее продвижении вперед в положение установки и для выполнения отверстий с обоих концов капсулы в устройстве размещены режущие лезвия; причем расстояние между переходным каналом со стороны сопла и переходным каналом со стороны насоса короче длины капсулы, оба конца которой отсекаются режущими лезвиями, когда оба конца капсулы испытывают давление со стороны периферийных участков обоих переходных каналов, между которыми установлена капсула.
5. Устройство доставки порошкообразного лекарственного средства в носовую полость по п.4, отличающееся тем, что диаметр отверстий, выполненных с обоих концов капсулы режущим лезвием, равен диаметру переходного канала со стороны сопла и переходного канала со стороны насоса, соединенных с этими отверстиями, или больше этого диаметра.
РИСУНКИ
|
|