|
|
(21), (22) Заявка: 2006102137/11, 08.06.2004
(24) Дата начала отсчета срока действия патента:
08.06.2004
(30) Конвенционный приоритет:
26.06.2003 IT GE2003A000045
(43) Дата публикации заявки: 10.06.2006
(46) Опубликовано: 20.02.2009
(56) Список документов, цитированных в отчете о поиске:
WO 0115582 A1, 08.03.2001. EP 1219217 A1, 03.07.2002. RU 2129830 C1, 10.05.1999. RU 2141214 C1, 20.11.1999. US 2002002913 A1, 10.01.2002. EP 0549887 A2, 07.07.1993.
(85) Дата перевода заявки PCT на национальную фазу:
26.01.2006
(86) Заявка PCT:
EP 2004/006178 (08.06.2004)
(87) Публикация PCT:
WO 2005/002405 (13.01.2005)
Адрес для переписки:
129090, Москва, ул. Б.Спасская, 25, стр.3, ООО “Юридическая фирма Городисский и Партнеры”, пат.пов. С.А.Дорофееву
|
(72) Автор(ы):
БАРДАЦЦИ Бруно (IT)
(73) Патентообладатель(и):
ЭСПРЕССОКАП С.р.л. (IT)
|
(54) УСТРОЙСТВО ДЛЯ ПРИГОТОВЛЕНИЯ КОФЕ ЭСПРЕССО
(57) Реферат:
Изобретение относится к устройствам для приготовления кофе. Устройство для приготовления кофе эспрессо содержит резервуар для воды, насос для доставки упомянутой воды к кипятильнику, элемент подачи горячей воды, средство держателя фильтра для размещения порции молотого кофе и средство разлива кофе. Упомянутый элемент подачи и упомянутые средства держателя фильтра соединены вместе с уплотнением, а их обращенные друг к другу поверхности приходят в контакт только во время их соединения. Упомянутое средство держателя фильтра содержит заслонку, шарнирно прикрепленную к одному концу корпуса упомянутого устройства, а противоположный конец заслонки имеет съемное соединительное средство, выполненное с возможностью соединения с соединительным средством, размещенным на стенке корпуса упомянутого устройства. Решение направлено на облегчение введения и извлечения фильтрующего пакетика. 10 з.п. ф-лы, 8 ил.
Настоящее изобретение относится к устройствам для приготовления кофе эспрессо, и в особенности оно относится к устройствам, в которые кофе вводится в форме заранее заполненных картриджей, известных как фильтрующиеся пакетики, или тому подобного.
Устройства для приготовления кофе эспрессо, которые до более или менее недавнего времени в основном разрабатывались для профессионального использования, теперь также широко используются в домашней обстановке. Чтобы пользоваться этими устройствами проще и удобнее и гарантировать единообразие стандартов качества продукта, другими словами приготавливаемого кофе, в течение нескольких лет производились заранее заполняемые порции молотого кофе, эти порции помещались в водопроницаемые контейнеры, сделанные из бумаги, пластмассы, алюминия или тому подобного и общеизвестны как “фильтрующиеся пакетики”.
Устройства для приготовления кофе эспрессо, использующие этот вид продукта, являются определенно много проще в использовании и обеспечивают настой кофе, характеристики которого зависят исключительно от количества использованной воды; на практике такие этапы, как заполнение и утрамбовывание фильтра исключаются, а число вариантов, вовлеченных в эти стадии является слишком высоким, чтобы сделать продукт широко доступным. Более того, устройства в общем и целом много чище, и их обслуживание не представляет особых проблем.
С другой стороны, следует отметить, что более традиционные виды устройств для приготовления кофе эспрессо не легко приспособить к использованию таких фильтрующихся пакетиков, как потому что фильтрующиеся пакетики редко производятся таким способом, чтобы предоставить хорошее уплотнение и, следовательно настой кофе удовлетворительного качества, так и потому что, даже если уплотнение может быть обеспечено, относительное смещение частей, обеспечивающих уплотнение, а именно держателя фильтра и элемента, подающего горячую воду под давлением, имеет место со скольжением соответствующих контактных поверхностей; это легко может вызывать деформацию фильтрующегося пакетика и, следовательно, потерю эффективности работы устройства.
Следовательно, это оказывается тем случаем, когда использование заранее заполненных картриджей или фильтрующихся пакетиков ограничено автоматическими или полуавтоматическими машинами, сконструированными для работы с этой формой подачи молотого кофе; эти устройства, с одной стороны, несколько сложнее в своей конструкции из-за механизмов, ответственных за введение и извлечение фильтрующихся пакетиков, и являются, следовательно, значительно более дорогостоящими, чем традиционные устройства для приготовления кофе эспрессо. Должно также быть принято во внимание, что различные устройства зачастую разрабатываются для размещения специфических видов картриджей и могут принимать только эти виды, таким образом, очевидно, ограничивая выбор потребителя.
Задачей настоящего изобретения, следовательно, является создание устройства для приготовления кофе эспрессо, выполненного с возможностью использования заранее заполненных картриджей, известных как фильтрующиеся пакетики, сконструированные чрезвычайно простым способом и пользующиеся прочным уплотнением, при котором поверхностям контакта не нужно скользить одна относительно другой и при котором введение и извлечение картриджа выполняется в основном ручным способом, но значительно облегчается с помощью формы конструкции.
Такая задача решается за счет того, что в устройстве для приготовления кофе эспрессо, содержащем резервуар для воды, насос для доставки упомянутой воды к кипятильнику, элемент подачи горячей воды и средства держателя фильтра для размещения порции молотого кофе, предпочтительно заранее упакованного, и имеющем средство разлива кофе, причем элемент подачи горячей воды и средства держателя фильтра соединены вместе с уплотнением, и траектория соединяющего движения лежит на плоскости, по существу, перпендикулярной к серединной плоскости соединения упомянутого элемента подачи и упомянутых средств держателя фильтра, и обращенные друг к другу поверхности упомянутого элемента подачи и упомянутых средств держателя фильтра приходят в контакт только во время их соединения, согласно изобретению упомянутое средство держателя фильтра содержит заслонку, шарнирно прикрепленную к одному концу корпуса упомянутого устройства, а противоположный конец заслонки имеет съемное соединительное средство, выполненное с возможностью соединения с подходящим соединительным средством, помещенным на стенке корпуса упомянутого устройства.
Предпочтительно, серединная плоскость соединения упомянутого элемента подачи и упомянутых средств держателя фильтра является перпендикулярной к основной плоскости корпуса устройства.
Предпочтительно, серединная плоскость соединения упомянутого элемента подачи и упомянутых средств держателя фильтра наклонена на угол в диапазоне от 10° до 30° по отношению к продольной оси упомянутого устройства.
Предпочтительно, средства переключателя, взаимодействующие с упомянутым съемным соединительным средством упомянутой заслонки, установлены поблизости от соединительного средства, помещенного на стенке корпуса упомянутого устройства.
Предпочтительно, упомянутая заслонка шарнирно прикреплена с возможностью открепления на корпусе упомянутого устройства.
Предпочтительно, упомянутые средства держателя фильтра содержат держатель фильтра, содержащий в основном цилиндрическую полость, имеющую радиальное отверстие, сообщающееся со средством разлива кофе.
Предпочтительно, держатель фильтра имеет средство обеспечения извлечения упомянутого картриджа с молотым кофе.
Предпочтительно, упомянутый держатель фильтра имеет средство для очистки средства разлива кофе.
Предпочтительно, упомянутый держатель фильтра является постоянно присоединенным и предпочтительно выполненным за одно целое с упомянутой заслонкой.
Предпочтительно, упомянутый держатель фильтра подвижно вставляется в упомянутую заслонку по двум трубчатым направляющим, каждая из которых имеет наклонную поверхность, взаимодействующую с двумя щелями, сформированными в основании полости упомянутого держателя фильтра, при этом упомянутый держатель фильтра передвигается по упомянутым направляющим средством, связанным со стенкой корпуса упомянутого устройства.
Предпочтительно, стержень, параллельный упомянутым направляющим, вставляется в упомянутую заслонку и проходит с уплотнением в упомянутый держатель фильтра через отверстие, которое является радиальным по отношению к полости держателя фильтра, и выходит через отверстие для сообщения со средством подачи.
Дополнительные преимущества и характеристики устройства в соответствии с настоящим изобретением будут прояснены последующим подробным описанием некоторых вариантов осуществления изобретения, обеспеченным посредством примера и без ограничительного намерения со ссылками на прилагаемые листы чертежей, на которых:
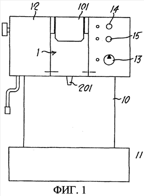
фиг.1 – вид спереди первого варианта осуществления устройства для приготовления кофе эспрессо в соответствии с настоящим изобретением;
фиг.2 – схематическая диаграмма, показывающая работу устройства в соответствии с настоящим изобретением;
фиг.3 – вид в разрезе, взятый по линии III-III фиг.1, части устройства в соответствии с изобретением;
фиг.4 – вид сверху части устройства в соответствии с настоящим изобретением;
фиг.5 – вид в разрезе, аналогичный виду на фиг.3, кроме того, что изображенные детали находятся в другой конфигурации;
фиг.6 и 7 – два вида в разрезе, взятые по линии VI-VI фиг.5, в двух разных конфигурациях; и
фиг.8 – поэлементный вид с пространственным разнесением деталей второго варианта осуществления устройства в соответствии с изобретением.
Фиг.1 показывает устройство для приготовления кофе эспрессо в соответствии с настоящим изобретением; позиция 11 обозначает основание устройства, от которого проходит стойка 10, которая оканчивается на противоположном конце в головной части 12. Заслонка держателя фильтра 1, выполненная с рычагом 101 и носиком 201 разлива настоя кофе, присоединяется посредством шарнира к головной части 12; средство управления и регулировки, содержащее ручку 13 и переключатели 14 и 15, также располагается на головной части. Устройство, как показано на фиг.2, имеет внутри себя резервуар 20, присоединенный к кипятильнику 24 через насос 21; кипятильник 24, насос 21 и таймер 23, связанный с ручкой 13, все вместе присоединены к управляющему элементу 22, который, в свою очередь, присоединен к переключателю 25.
Фиг.3 показывает сечение через часть устройства в соответствии с изобретением. Заслонка 1 присоединена к головной части 12 устройства в положении плиты 2, которая сообщается через проход 202, сформированный в ней, с кипятильником 24, к которому упомянутая плита прикреплена соответствующим средством 222, причем между кипятильником 24 и плитой 2 имеется уплотняющее средство 212. В конце прохода 202, который открывается на стороне плиты, обращенной к заслонке 1, есть сформированный цилиндрический выступ 102, имеющий общую ось с упомянутым проходом, на верху которого помещено и обеспечено уплотняющим средством 112 выходное отверстие 122 подачи; фланец 17 заранее заполненного картриджа 16 находится в контакте с уплотняющим средством 112. Держатель 301 фильтра размещает картридж 16 в своей полости 311, которая имеет поблизости от своего основания радиальное отверстие 321, через которое она сообщается с разливным носиком 201. Дополнительное отверстие 331, обеспеченное уплотняющим средством 421, образовано диаметрально противоположно отверстию 321. Через оба отверстия вставляется стержень 401, свободный конец которого располагается в носике 201, в то время как его другой конец 421 вставляется в глухое отверстие 601, сформированное в заслонке 1, и фиксируется там посредством фиксатора 431. Держатель 301 фильтра имеет на своем конце, который несет носик 201, ось 371, с которой соединен один конец рычага 422, другой конец соединен с кронштейном 402 плиты 2 посредством оси 412. Заслонка 1 шарнирно прикрепляется посредством своей оси 501 к отверстию 512, сформированному в проушине 502 плиты 2, которая показывается пунктирными линиями на чертеже и более полно описана ниже.
На своем противоположном конце, заслонка 1 имеет рычаг 101, который может поворачиваться вокруг оси 111 и который имеет на своем противоположном конце зубец 121 и углубление 131, которое может взаимодействовать с осью 312, выступающей из проушины 302 плиты 2. Рычаг приводится в положение взаимодействия с осью 312 посредством пружины 141, помещенной ниже рычага, другой конец этой пружины опирается на держатель фильтра 301. Когда заслонка 1 закрыта на плите 2, головка зубца 121 опирается на кнопку 26 переключателя 25.
Фиг.4 является видом сверху заслонки 1 устройства в соответствии с изобретением; те же самые позиции обозначают те же самые детали. Как показано на фигуре, держатель 301 фильтра устанавливается с возможностью скольжения на двух трубчатых направляющих 701, прикрепленных к заслонке 1; направляющие вставляются в две цилиндрические полости 341, сформированные по более длинным сторонам держателя 301 фильтра, и снабжены на обоих своих концах уплотняющим средством 351. Каждая из двух направляющих имеет углубление 711, которое обращено в направлении полости 311 держателя 301 фильтра и имеет форму, подходящую этой полости. Наклонная поверхность 721 проходит от этого углубления 711 в направлении, противоположном направлению разливного носика 201.
На фиг.5 заслонка 1 показана в открытой конфигурации с картриджем 16, извлеченным из полости 311 держателя 301 фильтра. Две щели 361, только одна из которых видна на фиг.5, образованы в полости 311 вдоль ее сторон и параллельно боковым стенкам держателя 301 фильтра. Наклонная поверхность 721 одной из упомянутых направляющих 701 может быть видна через упомянутые щели, которые пересекают цилиндрические полости 341, в которых скользят направляющие 701 (см. фиг.4). В этом открытом состоянии рычаг 422 полностью выпущен, и держатель 301 фильтра движется в направлении конца заслонки 1, который несет закрывающийся рычаг 101.
Фиг.6 и 7 более ясно показывают взаимодействие между картриджем 16 и направляющими 701; в положении, показанном на фиг.6, которое соответствует фиг.3, держатель фильтра помещается в углубления 711, выполненные в направляющих, и фланец картриджа опирается на край выходного отверстия полости 311 держателя 301 фильтра. С другой стороны, на фиг.7 держатель 301 фильтра помещен на вершину наклонных стенок 721, и картридж 16, следовательно, в основном извлечен из полости 311 упомянутого держателя 301 фильтра.
Наконец, фиг.8 показывает альтернативный вариант осуществления настоящего изобретения. В головной части 18 устройства, показанного на фигуре, сформирована полость 4, в которой размещается элемент 304 подачи, окруженный осевым уплотняющим фланцем 314. Углубления 114 сформированы по существу в форме буквы “Г” (верхний вариант гаммы) и выполнены в боковых стенках 104 упомянутой полости 4. Ось 204, перпендикулярная к упомянутым боковым стенкам 104, помещается на конце полости 4, противоположном тому, в котором расположены упомянутые углубления, на концевой стенке упомянутой полости.
Заслонка 3 имеет углубление 403 в своей внутренней стенке, в которой по существу цилиндрический держатель 103 фильтра, предназначенный для размещения картриджа 16, имеющего радиальный фланец 17, помещается так, чтобы он выступал в осевом направлении, и выполнен за одно целое с упомянутой заслонкой 3; однако, конечный край 113 держателя фильтра является заметно коническим в направлении наверх. Радиальное отверстие 133 для сообщения с разливным носиком 203 формируется на дне полости 123 держателя 103 фильтра. Две выемки 413 образованы диаметрально противоположно одна к другой на боковых сторонах упомянутого углубления 403. На конце заслонки 3, имеющем носик 203, две оси 303 выступают наружу из боковых стенок упомянутой заслонки, эти оси имеют уплощения 313 и могут взаимодействовать с углублениями 114, сформированными в боковых стенках 104 полости 4 головной части 18.
Работа устройства для приготовления кофе эспрессо в соответствии с настоящим изобретением будет ясна из следующего описания. Когда устройство приготовлено к работе, иначе говоря когда групповой переключатель 14 включается, следующий этап заключается в установке заранее заполненного молотым кофе картриджа в устройство. С этой целью заслонка 1 открывается, и устройство тогда в основном выглядит в состоянии, изображенном на фиг.5. Картридж 16 вставляется в полость 311 держателя 301 фильтра, и заслонка опять закрывается на плиту 2, таким образом приводя поверхность картриджа 16 в контакт с поверхностью выходного отверстия 122 подачи, как показано на фиг.3. Средство подачи воды под давлением, иначе говоря выходное отверстие 122 и фильтр и узел держателя фильтра соединены вместе с уплотнением благодаря средству 112, и контакт между обращенными друг к другу поверхностями не предшествует завершению соединения; заслонка фиксируется в закрытом положении посредством взаимодействия зубца 121 и углубления 131 с осью 312 плиты 2, таким образом гарантируя устойчивость упомянутого соединения. Возможность предотвращения контакта между двумя упомянутыми поверхностями перед завершением соединения сама по себе является достаточной, чтобы предотвратить любую деформацию оболочки, которая обычно используется неэффективно в обыкновенных устройствах для приготовления кофе эспрессо ручной загрузки. Это так, потому что большинство этих устройств имеют байонетную соединительную систему, требующую вращения держателя фильтра по отношению к узлу питания; это вращение может повредить фильтрующийся пакетик или картридж, вставленный в держатель фильтра, таким образом делая его фактически непригодным.
Когда заслонка 1 закрыта, свободный конец зубца 121 рычага 101 действует на кнопку 26 переключателя 25, который действует как согласующий переключатель; на практике устройство может работать только в этом состоянии, таким образом предотвращая возможность подачи горячей воды под давлением, пока заслонка открыта. В этот момент насос 21 схемы, показанный на фиг.2, может быть запущен посредством дополнительной активизации и, следовательно, горячая вода подается через выходное отверстие 122, и получающийся кофе разливается из носика 201.
Предпочтительно, как в изображенном здесь варианте осуществления, переключатель 25 действует как пусковой переключатель, и дозирование кофе, иными словами количество воды для прохождения через картридж 16, определяется установкой таймера 23, которая может выполняться посредством ручки 13. Когда кофе разлит, заслонка 1 открывается снова, и рычаг 422, присоединенный к кронштейну 402 плиты 2, вызывает скольжение держателя 301 фильтра по трубчатым направляющим 701 заслонки 1. Следовательно, наклонные поверхности 721 направляющих 701 вызывают выход картриджа из полости 311 держателя 301 фильтра, как показано на фиг.7. В то же время стержень 401, вставленный в носик 201, получает возможность скользить на определенное расстояние внутрь упомянутого носика 201, таким образом очищая его и предотвращая любое засорение.
Устройство в соответствии с вариантом осуществления, показанным на фиг.8, является значительно упрощенным в своей конструкции, в то же время сохраняя большинство преимуществ, описанных выше. В этом варианте также картридж 16 и средство 304 для подачи горячей воды под давлением приходят в контакт только по завершении уплотненного соединения и, следовательно, без скольжения обращенных друг к другу поверхностей одна по отношению к другой.
Держатель фильтра, в который вставляется картридж, закреплен относительно заслонки 3 и является предпочтительно сделанным за одно целое с ней. Конусообразность конечного края 113 держателя 103 фильтра обеспечивает держателю легкую установку в осевой фланец 314 и также позволяет пользователю легко вынимать картридж 16, так как радиальный фланец 17 картриджа разработан, чтобы выступать снаружи упомянутого края 113. Эта операция вынимания дополнительно облегчается присутствием выемок 413 в стенках углубления 403.
Заслонка, которая шарнирно укреплена на полости 4 головной части 18 установкой осей 303 в Г-образные углубления 114 боковых стенок 104 упомянутой полости, может быть легко высвобождена из этого присоединения, делая особенно легким мытье заслонки.
Устройство в соответствии с изобретением было показано на примерах осуществления, описанных здесь со средством держателя фильтра, состоящим из опоры в виде заслонки и самого действующего держателя фильтра, шарнирно укрепленного на корпусе упомянутого устройства. Однако можно считать подходящим для этого назначения любой вид присоединения, который допускает контакт между обращенными друг к другу поверхностями только в момент уплотненного соединения.
Предпочтительно серединная плоскость соединения элемента подачи и средства держателя фильтра является перпендикулярной к основной плоскости упомянутого устройства, и шарнирные средства располагаются сбоку заслонки, обращенной к основной плоскости устройства таким способом, чтобы облегчить установку и извлечение картриджа молотого кофе.
Держатель фильтра устройства в соответствии с настоящим изобретением показывается как подходящий для специфического вида заранее заполненных картриджей, но могут быть выполнены взаимозаменяемые держатели фильтра, подходящие для любого вида картриджей. Кроме того, в изображенных вариантах осуществления использованный картридж является жесткого или полужесткого вида, но также могут использоваться фильтрующиеся пакетики из гибкого материала, такого как бумага и тому подобного. В этом варианте они могли бы принимать форму элемента подачи и средства держателя фильтра таким способом, чтобы предотвращать фильтрующийся пакетик от стремления скользить вниз; соответственно, серединной плоскости соединения упомянутого элемента подачи и средству держателя фильтра может даваться определенный наклон; этот наклон может быть порядка угла в диапазоне от 10° до 30° по отношению к продольной оси устройства кофеварки.
Формула изобретения
1. Устройство для приготовления кофе эспрессо, содержащее резервуар для воды (20), насос (21) для доставки упомянутой воды к кипятильнику (24), элемент (2, 102, 122, 4, 304) подачи горячей воды и средства (1, 301, 3, 103) держателя фильтра для размещения порции молотого кофе (16), предпочтительно заранее упакованного, и имеющее средство (201, 203) разлива кофе, причем элемент (2, 102, 122, 4, 304) подачи горячей воды и средства (1, 301, 3, 103) держателя фильтра соединены вместе с уплотнением, и траектория соединяющего движения лежит на плоскости, по существу перпендикулярной к серединной плоскости соединения упомянутого элемента (2, 102, 122, 4, 304) подачи и упомянутых средств (1, 301, 3, 103) держателя фильтра, и обращенные друг к другу поверхности упомянутого элемента (2, 102, 122, 4, 304) подачи и упомянутых средств (1, 301, 3, 103) держателя фильтра приходят в контакт только во время их соединения, отличающееся тем, что упомянутое средство держателя фильтра содержит заслонку (1, 3), шарнирно прикрепленную к одному концу корпуса упомянутого устройства, а противоположный конец заслонки имеет съемное соединительное средство (101, 121, 131), выполненное с возможностью соединения с подходящим соединительным средством (302, 312, 204), помещенным на стенке корпуса упомянутого устройства.
2. Устройство по п.1, отличающееся тем, что серединная плоскость соединения упомянутого элемента (2, 102, 122) подачи и упомянутых средств (1, 301, 3, 103) держателя фильтра является перпендикулярной к основной плоскости корпуса устройства.
3. Устройство по п.1, отличающееся тем, что серединная плоскость соединения упомянутого элемента (2, 102, 122) подачи и упомянутых средств (1, 301, 3, 103) держателя фильтра наклонена на угол в диапазоне от 10 до 30° по отношению к продольной оси упомянутого устройства.
4. Устройство по п.1, отличающееся тем, что средства (25, 26) переключателя, взаимодействующие с упомянутым съемным соединительным средством (101, 121, 131) упомянутой заслонки (1, 3), установлены поблизости от соединительного средства (302, 312, 204), помещенного на стенке корпуса упомянутого устройства.
5. Устройство по любому из пп.1-4, отличающееся тем, что упомянутая заслонка (3) шарнирно прикреплена с возможностью открепления на корпусе упомянутого устройства.
6. Устройство по п.5, отличающееся тем, что упомянутые средства держателя фильтра содержат держатель фильтра (103, 301), содержащий в основном цилиндрическую полость (123, 311), имеющую радиальное отверстие (321, 133), сообщающееся со средством (201, 203) разлива кофе.
7. Устройство по п.6, отличающееся тем, что держатель фильтра имеет средство (361, 721, 113) обеспечения извлечения упомянутого картриджа (16) с молотым кофе.
8. Устройство по п.6 или 7, отличающееся тем, что упомянутый держатель фильтра (301) имеет средство (401) для очистки средства (201) разлива кофе.
9. Устройство по п.8, отличающееся тем, что упомянутый держатель (103) фильтра является постоянно присоединенным и предпочтительно выполненным за одно целое с упомянутой заслонкой (3).
10. Устройство по п.8, отличающееся тем, что упомянутый держатель фильтра (301) подвижно вставляется в упомянутую заслонку (1) по двум трубчатым направляющим (701), каждая из которых имеет наклонную поверхность (721), взаимодействующую с двумя щелями (361), сформированными в основании полости (311) упомянутого держателя фильтра (301), при этом упомянутый держатель фильтра передвигается по упомянутым направляющим (701) средством (422), связанным со стенкой корпуса упомянутого устройства.
11. Устройство по п.10, отличающееся тем, что стержень (401), параллельный упомянутым направляющим (701), вставляется в упомянутую заслонку (1) и проходит с уплотнением в упомянутый держатель (301) фильтра через отверстие (331), которое является радиальным по отношению к полости (311) держателя фильтра, и выходит через отверстие (321) для сообщения со средством (201) подачи.
РИСУНКИ
|
|