|
|
(21), (22) Заявка: 2004124074/12, 06.08.2004
(24) Дата начала отсчета срока действия патента:
06.08.2004
(30) Конвенционный приоритет:
08.08.2003 IT BO2003A000491
(43) Дата публикации заявки: 27.01.2006
(46) Опубликовано: 20.02.2009
(56) Список документов, цитированных в отчете о поиске:
ЕР 0689775 А1, 03.01.1996. US 5161663 А, 10.11.1992. ЕР 0682881 A2, 22.11.1995. SU 849981 A3, 23.07.1981. SU 638240 A3, 15.12.1978. SU 294290 А1, 01.01.1971. RU 2048781 C1, 27.11.1995. RU 2054275 С1, 20.02.1996.
Адрес для переписки:
129090, Москва, ул. Б.Спасская, 25, стр. 3, ООО “Юридическая фирма Городисский и Партнеры”, пат.пов. С.Р.Абубакирову, рег.№ 931
|
(72) Автор(ы):
ДРАГЕТТИ Фьоренцо (IT), МОНТАНАРИ Андреа (IT)
(73) Патентообладатель(и):
Г.Д СОЧИЕТА’ ПЕР АЦИОНИ (IT)
|
(54) УСТРОЙСТВО ДЛЯ ПОДАЧИ ФИЛЬТРОВ В МАШИНУ ДЛЯ УСТАНОВКИ ФИЛЬТРОВ
(57) Реферат:
Изобретение относится к изготовлению сигарет. Устройство содержит, по меньшей мере, одно отклоняющее устройство, которое принимает соответствующий непрерывный ряд отдельных частей фильтров в осевом направлении и подает отдельные части фильтров в машину для установки фильтров в поперечном направлении поперек отдельных частей фильтров. Отклоняющее устройство состоит из неподвижной опоры, поддерживающей входную часть и выходную часть, и отводимой коробки, подвижно установленной на неподвижной опоре и поддерживающей первое перемещающее устройство для перемещения отдельных частей фильтров в осевом направлении, второе перемещающее устройство для перемещения отдельных частей фильтров в поперечном направлении и отклоняющий элемент для отклонения отдельных частей фильтров в поперечном направлении. Техническим результатом изобретения является создание несложного по конструкции устройства для подачи фильтров и обеспечение возможности быстрого технического обслуживания. 20 з.п. ф-лы, 15 ил.
Настоящее изобретение относится к устройству для подачи фильтров в машину для установки фильтров.
Конкретнее, настоящее изобретение относится к устройству для подачи фильтров в машину для установки фильтров, которое включает, по меньшей мере, один непрерывный ряд отдельных частей фильтров, перемещающихся в первом осевом направлении, и подает отдельные части фильтров в машину для установки фильтров во втором направлении, поперечном к отдельным частям фильтров; при этом устройство относится к типу, содержащему отклоняющее устройство, имеющее входную часть для приема непрерывного ряда отдельных частей фильтров, перемещающихся в осевом направлении, и выходную часть для отдельных частей фильтров, перемещающихся во втором направлении, и подающее средство для подачи непрерывного ряда отдельных частей фильтров к входной части в первом направлении.
В известном устройстве вышеописанного типа резкое изменение направления подачи отдельных частей фильтров иногда приводит к их застреваниям, частота которых прямо пропорциональна производительности машины для установки фильтров, соединенной с этим устройством. Очевидно, что застревания подобного рода приводят не только к немедленной остановке устройства для подачи фильтров, но и через сравнительно короткое время к остановке машины для установки фильтров, соединенной с этим устройством.
С другой стороны, известные устройства вышеописанного типа обычно являются настолько сложными по конструкции, что затрудняется быстрое вмешательство оператора, так что застревание неизменно влечет за собой значительный простой и очень часто к остановке соответствующих машин для установки фильтров.
Задачей настоящего изобретения является создание устройства для подачи фильтров, предназначенного устранить вышеописанные недостатки и обеспечить возможность быстрого технического обслуживания.
Согласно настоящему изобретению предлагается устройство для подачи фильтров в машину для установки фильтров, заявленное в пункте 1 формулы изобретения и предпочтительно в любом из последующих пунктов, прямо или косвенно зависимых от пункта 1 формулы изобретения.
В качестве примера будет описан ряд неограничительных вариантов осуществления настоящего изобретения со ссылкой на сопровождающие чертежи, на которых:
фиг.1 – схематический вид спереди первого предпочтительного варианта выполнения устройства для подачи фильтров согласно настоящему изобретению,
фиг.2 – схематический увеличенный вид сверху части устройства на фиг.1,
фиг.3, 4 и 5 – увеличенные виды соответственно сверху, сбоку и снизу части устройства на фиг.2 в разомкнутом положении, при этом для ясности удалены некоторые детали,
фиг.6 и 7 – увеличенные виды соответственно сбоку и спереди части устройства на фиг.3-5 в сомкнутом рабочем положении, при этом для ясности удалены некоторые детали,
фиг.8 – разрез по линии VIII-VIII на фиг.7,
фиг.9 – разрез по линии IX-IX на фиг.8,
фиг.10, 11 и 12 – увеличенные виды соответственно сбоку, сверху и спереди схем действия части устройства на фиг.3-5,
фиг.13 и 14 – те же виды, что и на фиг.3 и 5, но с изменением,
фиг.15 – схематический вид спереди второго предпочтительного варианта выполнения устройства для подачи фильтров согласно настоящему изобретению.
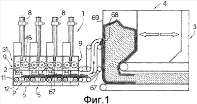
На фиг.1 позицией 1 обозначено в целом устройство для подачи отдельных частей 2 фильтров к входному накопителю 3 машины для установки фильтров, обозначенной в целом позицией 4.
Устройство 1 является модульным устройством и содержит ряд одинаковых, расположенных бок о бок модулей 5, каждый из которых служит для приема соответствующего непрерывного ряда отдельных частей 2 фильтров, перемещающихся в осевом направлении 6 (фиг.10), и для подачи отдельных частей 2 фильтров в машину для установки фильтров 4 в поперечном направлении 7 (фиг.10) поперек отдельных частей 2 фильтров.
Следует отметить, что здесь и далее направления 6 и 7 не являются абсолютными, а относятся к положению, принимаемому продольной осью каждой отдельной части 2 фильтра в каждой точке на пути его перемещения вдоль соответствующего модуля 5.
В показанном примере бок о бок расположены четыре модуля 5. Однако в вариантах осуществления изобретения (не показаны) может быть другое количество модулей 5 и даже только один модуль 5.
Каждый модуль 5 содержит трубопровод 8 для пневмотранспорта отдельных частей 2 фильтров в осевом направлении 6 и отклоняющее устройство 9, которое содержит входную часть 10, через которую отдельные части 2 фильтров перемещаются в направлении 6 и которая соединена с выходом трубопровода 8, и выходную часть 11 для подачи отдельных частей 2 фильтров в поперечном направлении 7 в накопитель 3.
Как яснее показано на фиг.3 и 8, каждое отклоняющее устройство 9 содержит неподвижную, по существу L-образную опору 12, которая, в свою очередь, содержит полую опорную часть 13 в форме прямоугольного параллелепипеда, имеющую горизонтальную продольную ось, параллельную осевому направлению 6, в котором отдельные части 2 фильтров перемещаются через входную часть 10, и торцевую пластину 14, проходящую вверх от одного конца опорной части 13. Опорная часть 13 содержит продольную боковую стенку 15, переднюю стенку 16 и заднюю стенку 17, перпендикулярную к боковой стенке 15 и выступающую вбок от нее, а также промежуточную перегородку 18, параллельную стенкам 16 и 17 и выступающую от боковой стенки 15 для разделения пространства между стенками 16 и 17 на открытую сбоку переднюю камеру 19 и открытую сбоку заднюю камеру 20, из которых передняя камера 19 закрыта снизу нижней стенкой 21, в то время как задняя камера 20 открыта также и снизу.
Торцевая пластина 14 копланарна и выполнена за одно целое с задней стенкой 17, а также снабжена сквозным отверстием 22 (фиг.8), имеющим ось 23, которая вместе с продольной осью опорной части 13 определяет вертикальную плоскость Р (фиг.3 и 5), параллельную боковой стенке 15. В отверстии 22 размещен фитинг 24 для соединения соответствующего трубопровода 8 с опорой 12 и вместе с фитингом 24 образует входную часть 10 отклоняющего устройства 9. Передняя стенка 16 поддерживает два выступающих ролика 25, которые расположены впереди передней стенки 16, имеют соответствующие оси вращения 26, параллельные оси 23, расположенные по противоположным сторонам плоскости P и лежащие в плоскости, перпендикулярной к плоскости Р, и поддерживают две бесконечные ленты 27, которые вместе с роликами 25 образуют конвейер 28, образующий выходную часть 11 и приводимый в действие двигателем 29, который установлен на опоре 12 внутри задней камеры 20 и приводит в действие конвейер 28 через передачу 30, установленную на опоре 12 внутри передней камеры 19.
Над соответствующей опорой 12 каждое отклоняющее устройство 9 содержит коробку 31, рамка 32 которой соединена с опорой 12 посредством известного устройства 33, предпочтительно обеспечивающего возвратно-поступательное движение и состоящего из подвижной части и направляющей, которое проходит параллельно оси 23 и в направлении 6, расположено сбоку относительно плоскости Р и содержит направляющую 34, выполненную за одно целое с верхними краями передней стенки 16 и промежуточной перегородки 18 опоры 12, и подвижную часть 35, расположенную под рамкой 32 и установленную с возможностью скольжения в направляющей 34.
Рамка 32 содержит продольную боковую стенку 36, переднюю стенку 37 и промежуточную перегородку 38, параллельную передней стенке 37 и выступающую от боковой стенки 36 для разделения пространства между передней стенкой 37 и задним краем боковой стенки 36 на открытую сбоку переднюю камеру 39 и открытую сбоку заднюю камеру 40, из которых передняя камера 39 открыта сверху и снизу, в то время как задняя камера 40 открыта сверху и закрыта снизу нижней стенкой 41, с нижней поверхностью которой за одно целое соединен продольный стержень, образующий подвижную часть 35.
В верхней части задней камеры 40 расположен чашеобразный корпус 42, содержащий заднюю стенку 43, перпендикулярную к оси 23 и расположенную у заднего края боковой стенки 36, и нижнюю стенку 44, параллельную нижней стенке 41 и расположенную над осью 23.
В камерах 39 и 40 находятся соответственно перемещающее устройство 45 и перемещающее устройство 46. Перемещающее устройство 46 принимает один за другим отдельные части 2 фильтров от входной части 10 и перемещает их параллельно плоскости Р в направлении 6, а перемещающее устройство 45 принимает один за другим отдельные части 2 фильтров от перемещающего устройства 46 и подает их в направлении 7 к выходной части 11.
Перемещающее устройство 46 содержит направляющую пластину 47, которая расположена внутри задней камеры 40, подвешена под нижней стенкой 44 чашеобразного корпуса 42 и содержит центральный продольный паз 48, соосный с осью 23 и с отверстием 49 (фиг.8), образованным через промежуточную перегородку 38, и служащий для направления отдельных частей 2 фильтров, перемещающихся в направлении 6.
Кроме того, перемещающее устройство 46 содержит два вращающихся в противоположных направлениях ролика 50 в виде снабженных канавкой подающих роликов, которые расположены между пластиной 47 и стенкой 44 по противоположным сторонам плоскости Р и в разрыве паза 48, образуя между собой проход вровень с пазом 48 и с поперечным сечением, приблизительно равным поперечному сечению отдельных частей 2 фильтров, но не больше его. Ролики 50 установлены на соответствующих валах 51, которые перпендикулярны к нижней стенке 44 и проходят через нее и которые внутри чашеобразного корпуса 42, соединены с соответствующими шкивами 52.
Кроме того, перемещающее устройство 46 содержит два вращающихся в противоположных направлениях ролика 53 в виде снабженных канавкой ускоряющих роликов, которые расположены после роликов 50 по направлению технологического потока, между пластиной 47 и стенкой 44, по противоположным сторонам плоскости Р и в другом разрыве паза, образуя между собой проход вровень с пазом 48 и с поперечным сечением, приблизительно равным поперечному сечению отдельных частей 2 фильтров, но не больше его. Ролики 53 установлены на соответствующих валах 54, которые перпендикулярны к нижней стенке 44 и проходят через нее и которые внутри чашеобразного корпуса 42 снабжены соответствующими шкивами 55 с диаметром меньшим, чем у шкивов 52.
Кроме того, перемещающее устройство 46 содержит приводное устройство 56, которое размещено внутри чашеобразного корпуса 42 и содержит ремень 37, приводимый в движение обычно электрическим двигателем 58, поддерживаемым чашеобразным корпусом 42. Ремень 57 обегает шкивы 52 и шкивы 55, придавая роликам 50 окружную скорость V1, по существу равную скорости перемещения отдельных частей 2 фильтров через входную часть 10, а роликам 53 – окружную скорость V2 больше, чем V1.
Перемещающее устройство 45 содержит два расположенных бок о бок ролика 59, вращающихся в противоположных направлениях, по меньшей мере, один из которых непосредственно соединен с выходом обычно электрического двигателя 60, поддерживаемого чашеобразным корпусом 42. Ролики 59 установлены между передней стенкой 37 и промежуточной перегородкой рамки 32 коробки 31 для вращения вокруг соответствующих осей 61, расположенных по противоположным сторонам плоскости P параллельно направлению 6 и определяющих горизонтальную плоскость, перпендикулярную к плоскости Р. Ролики 59 имеют, по меньшей мере, такую же длину, как и у части 2 фильтра, и образуют между собой проход 62, который является подающим проходом для подачи отдельных частей 2 фильтров в направлении 7 к выходной части 11, имеет минимальную ширину, приблизительно равную диаметру отдельной части 2 фильтра, но не больше его, и содержит широкую входную часть, образующую гнездо 63 (фиг.12), расположенное вровень с отверстием 49 и служащее для приема отдельной части 2 фильтра, перемещающейся в направлении 6 через отверстие 49.
Отклоняющий элемент 64, лежащий в плоскости Р, связан с перемещающим устройством 45 и содержит рычаг 65, имеющий изогнутый нижний край 66 и шарнирно соединенный с верхней частью передней стенки 37 рамки 32 коробки 31 для поворота в плоскости Р и вокруг оси, перпендикулярной к плоскости Р, между по существу вертикальным поднятым исходным положением (фиг.8) и опущенным рабочим положением, в котором рычаг 65 расположен над гнездом 63 и вдоль него, при этом край 66 находится в соприкосновении с передней частью гнезда 63.
В замкнутом рабочем положении, показанном на фиг.6 и 8, коробка 31 расположена таким образом, что задний край нижней стенки 41 соприкасается с торцевой пластиной 14 опоры 12, входной конец паза 48 расположен вблизи входной части 10 так, чтобы отдельные части 2 фильтров, перемещающиеся один за другим по трубопроводу 8 в направлении 6 и со скоростью V1, могли один за другим входить в паз 48 и захватываться роликами 50, промежуточная перегородка 38 находится в одной плоскости с передней стенкой 16 опоры 12, и перемещающее устройство 45 расположено непосредственно над роликами 25 конвейера 28.
После принятия отдельной части 2 фильтра ролики 50 подают ее – все еще в направлении 6 и со скоростью V1 – к зазору между роликами 53, которые благодаря их большей окружной скорости V2 ускоряют отдельную часть 2 фильтра в направлении 6, отделяют ее от последующей отдельной части 2 фильтра и подают ее полностью через отверстие 49 в гнездо 63 до того, как следующая отдельная часть 2 фильтра войдет в контакт с роликами 53.
При вхождении в гнездо 63 каждая отдельная часть 2 фильтра отклоняется в поперечном направлении при соприкосновении с краем 66 отклоняющего элемента 64, который, как очевидно, находится в опущенном рабочем положении, далее постепенно движется в направлении 7, проталкивается роликами 59 в проход 62 и затем под действием силы тяжести падает в направлении 7, т.е. поперек своей собственной оси на конвейер 28, который продолжает перемещать ее в направлении 7 для подачи в накопитель 3 машины для установки фильтров 4.
При использовании ряда модулей 5, расположенных бок о бок, как в примере на фиг.1, конвейеры 28 модулей 5 расположены вблизи друг друга и действуют последовательно, образуя подвижную нижнюю стенку входной части транспортного канала 67, который соединен с внутренним пространством накопителя 3 через отверстие 68, образованное в боковой стенке 69 накопителя 3, и служит для подачи множества отдельных частей 2 фильтров по направлению 7 в накопитель 3.
Всякий раз, когда по какой-либо причине, например из-за застревания, необходимо выполнять работу на модуле 5, отводят коробку 31 отклоняющего устройства 9 модуля 5 в разомкнутое положение, показанное на фиг.3-5. Благодаря срабатыванию автоматического выключателя (не показан) или разъединению известного быстродействующего соединения (не показано), расположенных между опорой 12 и рамкой 32, отвод коробки 31 приводит к автоматическому выключению соответствующих двигателей 58 и 60 и к превращению подачи воздуха по соответствующему трубопроводу 8. В этой связи следует отметить, что в тех случаях, когда используют ряд модулей 5, модули 5, с которыми не проводится вышеуказанная операция, продолжают все нормально работать вместе с конвейером 28 обслуживаемого модуля 5.
Как показано на фиг.4, стержень, образующий подвижную часть 35, имеет такую длину, что когда коробка 31 полностью отодвинута, задний конец коробки 31 расположен впереди передней стороны конвейера 28, так что благодаря тому, что отклоняющий элемент 64 может быть поднят без удаления каких-либо частей, а также благодаря тому, что соединение 33 из подвижной части и направляющей смещено вбок относительно плоскости P, все части перемещающих устройств 45 и 46 являются непосредственно доступными снаружи, и, следовательно, любое вмешательство оператора является сравнительно простым и быстрым и, прежде всего, не влечет за собой полной остановки устройства 1 в случае, если используют более чем один модуль 5.
В варианте выполнения устройства 1, показанном на фиг.13 и 14, коробка 31 содержит разъединительное устройство 70 для отделения каждого ролика 50, 53 от другого ролика 50, 53, что упрощает техническое обслуживание при отводе в сторону коробки 31.
С этой целью образована по существу прямоугольная продольная прорезь 71 на нижней стенке 44 чашеобразного корпуса 24 со стороны плоскости Р, противоположной стороне размещения подвижной части 35, и эта прорезь 71 содержит широкую переднюю часть 72 и узкую заднюю часть 73, которая проходит под задней стенкой 43 чашеобразного корпуса 42, открыта сзади и соединена с широкой частью 72 у внутреннего заплечика 74. Внутри прорези 71 расположена подвижная пластина 75, которая по существу имеет такую же длину, как и прорезь 71, и содержит широкую переднюю часть 76, которая поддерживает валы 51 и 54 роликов 50 и 53 со стороны плоскости Р, противоположной стороне размещения подвижной части 35, и соединена скользящим образом с широкой частью 72, будучи короче по длине, чем широкая часть 72, и способной перемещаться к заплечику 74 под действием двух пружин 77, и узкую часть 78, соединенную скользящим образом с узкой частью 73 и при сжатых пружинах 77 оканчивающуюся заподлицо с наружной задней поверхностью задней стенки 43 чашеобразного корпуса 42.
Подобным же образом пластина 47 продольно разделена вдоль плоскости Р на две части 47а и 47b, из которых часть 47а является неподвижной, в то время как часть 47b выполнена за одно целое с пластиной 75.
При использовании, когда коробка 31 замкнута, контакт между задним концом узкой части 78 и торцевой пластиной 14 опоры 12 обеспечивает сохранение роликов 50 и 53 и частей пластины 47 при их взаимном расположении, показанном на фиг.3 и 5. И наоборот, при отводе коробки 31 пластина 75 движется назад к заплечику 74 под действием пружин 77, что приводит к смещению роликов в каждой паре роликов 50 и 53, так что можно легко извлечь любые отдельные части 2 фильтров и ослабить ремень 57 для его замены.
В варианте выполнения устройства 1, показанном на фиг.15, модули 5, обозначенные далее позицией 5а, расположены один над другим и повернуты на 90° относительно положения модулей 5 на фиг.1, при этом модули 5а по отдельности соединены с накопителем 3 соответствующими выходными каналами 79, которые соединены с внутренним пространством накопителя 3 через соответствующие отверстия 68, образованные в боковой стенке 69 накопителя 3.
Единственное различие между модулем 5 на фиг.1 и модулем 5а на фиг.15 по существу заключается в том, что выходной канал 79 модуля 5а является горизонтальным каналом, у которого входная часть непосредственно соединена с выходом прохода 62, образуемого двумя роликами 59, выходная часть соединена с соответствующим отверстием 68 и промежуточная часть образована двумя роликами 25, которые по существу одинаковы с роликами 59, имеют привод от двигателя 29 для вращения в противоположных направлениях и расположены по противоположным сторонам выходного канала 79, при этом их оси 26 лежат в вертикальной плоскости, параллельной вертикальной плоскости, определяемой осями роликов 59.
Формула изобретения
1. Устройство для подачи фильтров в машину для установки фильтров, которое принимает, по меньшей мере, один непрерывный ряд отдельных частей фильтров, перемещающихся в осевом первом направлении, и подает отдельные части фильтров в машину для установки фильтров в поперечном втором направлении поперек отдельных частей фильтров, содержащее отклоняющее устройство, имеющее входную часть, через которую подается непрерывный ряд отдельных частей фильтров, перемещающихся в первом направлении, и выходную часть для отдельных частей фильтров, перемещающихся во втором направлении, и подающее средство для подачи непрерывного ряда отдельных частей фильтров через входную часть в первом направлении, отличающееся тем, что отклоняющее средство содержит неподвижную опору, поддерживающую входную часть и выходную часть, и отводимую коробку, соединенную с опорой и поддерживающую первое перемещающее средство для перемещения отдельных частей фильтров в первом направлении, второе перемещающее средство для перемещения отдельных частей фильтров во втором направлении и отклоняющее средство, расположенное между первым и вторым перемещающими средствами для отклонения отдельных частей фильтров во втором направлении, при этом коробка выполнена с возможностью перемещения на опоре между замкнутым рабочим положением, в котором первое перемещающее средство соединено с входной частью, а второе перемещающее средство соединено с выходной частью, и разомкнутым положением.
2. Устройство по п.1, в котором коробка при нахождении в разомкнутом положении полностью отведена от опоры.
3. Устройство по п.1 или 2, в котором коробка выполнена с возможностью перемещения на опоре между разомкнутым и замкнутым положениями в первом направлении, в котором отдельные части фильтров подаются через входную часть.
4. Устройство по п.1 или 2, содержащее соединение из подвижной части и направляющей, проходящее в первом направлении, в котором отдельные части фильтров подаются через входную часть, при этом соединение из подвижной части и направляющей расположено между опорой и коробкой и вбок относительно первого и второго перемещающих средств.
5. Устройство по п.4, в котором соединение из подвижной части и направляющей выполнено в виде соединения, обеспечивающего возвратно-поступательное движение.
6. Устройство по п.1, в котором первое перемещающее средство содержит направляющую пластину для обеспечения возможности перемещения отдельных частей фильтров в первом направлении, подающее средство для подачи отдельных частей фильтров вдоль направляющей пластины с первой скоростью и ускоряющее средство для подачи отдельных частей фильтров ко второму перемещающему средству в первом направлении и со второй скоростью, большей, чем первая скорость.
7. Устройство по п.6, в котором подающее средство содержит пару первых роликов, вращающихся в противоположных направлениях и поддерживаемых направляющей пластиной, ускоряющее средство содержит пару вторых роликов, вращающихся в противоположных направлениях и поддерживаемых направляющей пластиной, при этом приводное средство установлено на коробке для придания первым и вторым роликам окружных скоростей, равных соответственно первой скорости и второй скорости.
8. Устройство по п.7, в котором первые и вторые ролики расположены между направляющей пластиной и приводным средством, а направляющая пластина расположена вровень с входной частью и между первыми и вторыми роликами и выходной частью.
9. Устройство по п.7 или 8, в котором приводное средство содержит первые шкивы, каждый из которых соединен с соответствующим первым роликом, вторые шкивы, каждый из которых соединен с соответствующим вторым роликом, и приводимый в движение ремень, обегающий вокруг первых и вторых шкивов, при этом вторые шкивы меньше по диаметру, чем первые шкивы.
10. Устройство по п.8, в котором в коробке установлено разъединительное устройство для отделения одного первого ролика и одного второго ролика от соответственно другого первого ролика и другого второго ролика.
11. Устройство по п.10, в котором разъединительное средство содержит подвижное средство, способное перемещаться вдоль коробки между первым положением, в котором первые ролики расположены бок о бок и вторые ролики расположены бок о бок, и вторым положением, в котором первые ролики смещены относительно друг друга и вторые ролики смещены относительно друг друга.
12. Устройство по п.11, которое содержит упругое средство для отжатия подвижного средства во второе положение, когда коробка находится в замкнутом рабочем положении, опора взаимодействует с подвижным средством для удержания подвижного средства в первом положении при противодействии упругому средству.
13. Устройство по п.1, в котором второе перемещающее средство содержит два третьих ролика, по меньшей мере, один из которых приводится в действие, которые вращаются в противоположных направлениях вокруг соответствующих осей, параллельных первому направлению, причем отдельные части фильтров подаются через входную часть, третьи ролики образуют между собой подающий проход для подачи отдельных частей фильтров к выходной части во втором направлении, а подающий проход имеет входную часть, расположенную вровень с входной частью и служащую для приема отдельной части фильтра, расположенной параллельно оси.
14. Устройство по п.13, в котором отклоняющее средство содержит рычаг, лежащий в плоскости, параллельной осям третьих роликов, частично расположенный в подающем проходе и наклоненный к выходной части.
15. Устройство по п.14, в котором рычаг установлен на коробке с возможностью поворота относительно коробки и в плоскости к исходному положению и от этого положения, в котором рычаг полностью отсоединен от подающего прохода.
16. Устройство по п.1, в котором первое и второе перемещающие средства содержат соответственно первый и второй двигатели, поддерживаемые коробкой, при этом двигатели приводятся в действие в тех случаях, когда коробка находится в замкнутом положении, и отключаются, когда коробка отведена из замкнутого положения.
17. Устройство по любому из пп.13-16, в котором выходная часть образована двумя четвертыми роликами, установленными на опоре, параллельными третьим роликам и обращенными к ним, при этом приводное средство, поддерживаемое опорой, соединено с, по меньшей мере, одним из четвертых роликов.
18. Устройство по п.17, в котором оси третьих роликов лежат в горизонтальной плоскости, четвертые ролики вращаются в одинаковом направлении и расположены под третьими роликами, по меньшей мере, один бесконечный ремень обегает четвертые ролики, образуя выходной конвейер для отдельных частей фильтров, который приводится в действие приводным средством.
19. Устройство по п.17, в котором оси третьих роликов лежат в вертикальной плоскости, при этом горизонтальный выходной проход, поддерживаемый рамкой и служащий для приема отдельных фильтров, перемещающихся во втором направлении, сообщается с подающим проходом для приема отдельных частей фильтров, а четвертые ролики расположены по противоположным сторонам выходного прохода, определяя часть выходного прохода, и приводятся в действие приводным средством для вращения в противоположных направлениях относительно друг друга.
20. Устройство по п.18, которое выполнено модульным и содержит ряд одинаковых, расположенных бок о бок модулей, каждый модуль содержит соответствующее отклоняющее устройство, при этом выходные конвейеры отклоняющих устройств расположены последовательно, образуя под вторыми перемещающими средствами отклоняющих устройств единый транспортный канал для подачи отдельных частей фильтров во втором направлении к входному накопителю машины для установки фильтров.
21. Устройство по п.19, которое выполнено модульным и содержит ряд одинаковых, расположенных один над другим модулей, каждый модуль содержит соответствующее отклоняющее устройство, при этом выходные проходы отклоняющих устройств расположены один над другим, и каждый из них служит для подачи соответствующих отдельных частей фильтров во втором направлении к входному накопителю машины для установки фильтров.
РИСУНКИ
|
|