|
|
(21), (22) Заявка: 2007124207/13, 27.06.2007
(24) Дата начала отсчета срока действия патента:
27.06.2007
(46) Опубликовано: 20.02.2009
(56) Список документов, цитированных в отчете о поиске:
ВЫШЕМИРСКИИ Ф.А. Производство сливочного масла. – М.: Агропромиздат, 1987, с.94-109. RU 17897, 30.09.1930. RU 2063127 С, 10.07.1996.
Адрес для переписки:
355029, г.Ставрополь, пр-кт Кулакова, 2, СевКавГТУ
|
(72) Автор(ы):
Чеботарев Евгений Алексеевич (RU), Малсугенов Александр Владимирович (RU)
(73) Патентообладатель(и):
Государственное образовательное учреждение высшего профессионального образования “Северо-Кавказский государственный технический университет” (RU)
|
(54) УСТРОЙСТВО ДЛЯ ПОЛУЧЕНИЯ МАСЛА
(57) Реферат:
В устройстве для сбивания масла, состоящем из горизонтально установленного цилиндрического корпуса с вращающейся в нем лопастной мешалкой, двух торцевых крышек, лопасть мешалки выполнена спиральной и расположена параллельно оси вращения. Вращение лопасти осуществляется в направлении развертывания спирали, а край лопасти, находящийся вблизи внутренней поверхности корпуса, выполнен перфорированным. Это позволяет получить результат, заключающийся в снижении жирности пахты, получаемой при сбивании масла из сливок, при создании интенсивного перемешивания сливок с воздухом. 2 ил.
Изобретение относится к оборудованию для приготовления пищи и может быть использовано для сбивания масла из сливок.
Известны устройства для сбивания масла, в которых процесс получения масляного зерна и дальнейшее получение из масляного зерна пласта осуществляется за счет вращательного движения рабочего органа (Вышемирский Ф.А. Производство сливочного масла. – М.: Агропромиздат, 1987. – С.94-109).
Недостатком данных устройств является достаточно большие удельные энергозатраты на получение масляного зерна.
Наиболее близким аналогом по назначению и совокупности существенных признаков является устройство для сбивания молочного сырья и обработки масляного пласта, содержащее корпус с неподвижным баком, в подшипнико-сальниковых узлах которого горизонтально размещен вал вихревой лопастной мешалки с неподвижно закрепленной на ней ступицей с изогнутыми бильными лопастями, имеющими выступы и впадины (RU №2063127, A01J 15/00, опубл. 10.07.1996 г.).
Причиной, препятствующей получению указанного ниже технического результата при использовании известной конструкции устройства для получения масла, является большое ударное воздействие вращающихся лопастей на жировые шарики сливок, обеспечивающее интенсивное перемешивание сливок с воздухом, но приводящее к повышению отхода жира в пахту.
Технический результат, достигаемый при реализации заявленного изобретения, заключается в снижении жирности пахты, получаемой при сбивании масла из сливок при создании интенсивного перемешивания сливок с воздухом.
Указанный технический результат обеспечивается тем, что в известном устройстве для производства масла лопасть мешалки выполнена спиральной и расположена параллельно оси вращения, вращение лопасти осуществляется в направлении развертывания спирали, а край лопасти, находящийся вблизи внутренней поверхности корпуса, выполнен перфорированным.
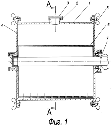
На фиг.1 показано устройство для сбивания сливок в разрезе; на фиг.2 – разрез по А-А.
Устройство для сбивания масла состоит из цилиндрического корпуса 1, ось которого расположена горизонтально. На корпусе имеется люк 2 с крышкой 3 для заполнения корпуса сливками и слива пахты. С двух сторон корпус закрыт торцевыми крышками 4 и 5. Внутри корпуса установлена мешалка в виде спиральной лопасти 6, закрепленной на валу 7, причем край лопасти 8 вблизи внутренней поверхности корпуса выполнен перфорированным.
Устройство для сбивания масла работает следующим образом. В корпус 1 через люк 2 после снятия крышки 3 заливаются сливки в количестве около 30…50% от внутреннего объема устройства. Крышка 3 закрывается, осуществляется вращение вала мешалки 7 в направлении развертывания спирали. За счет вращения лопасти 6 сливки поднимаются на некоторую высоту, откуда за счет наличия на краю лопасти перфорации тонкими струйками стекают вниз. Происходит интенсивное механическое воздействие на сливки, а деление на тонкие струйки позволяет усилить перемешивание с воздухом и ускорить процесс сбивания, т.е. получения масляного зерна. После образования масляного зерна открывают крышку 3 и через люк 2 сливают пахту и осуществляют дальнейшее вращение мешалки. Происходит образование масляного пласта, причем спиральная поверхность лопасти 6 с перфорированным краем позволяет интенсифицировать процесс маслообработки. После завершения процесса получения масла открываются торцевые крышки 4 и 5 и масло выгружается.
Как следует из вышеизложенного, достижение технического результата – снижение жирности пахты, получаемой при сбивании масла из сливок при создании интенсивного перемешивания сливок с воздухом, обеспечивается только при строгом неразрывном и взаимосвязанном выполнении условий всех существенных признаков заявляемого устройства для сбивания масла.
Формула изобретения
Устройство для получения масла, состоящее из горизонтально установленного цилиндрического корпуса с вращающейся в нем лопастной мешалкой, двух торцевых крышек, отличающееся тем, что лопасть мешалки выполнена спиральной, расположена параллельно оси вращения и установлена с возможностью вращения в направлении развертывания спирали, при этом край лопасти, расположенный вблизи внутренней поверхности корпуса, выполнен перфорированным.
РИСУНКИ
|
|