|
(21), (22) Заявка: 2007128532/12, 24.07.2007
(24) Дата начала отсчета срока действия патента:
24.07.2007
(46) Опубликовано: 20.02.2009
(56) Список документов, цитированных в отчете о поиске:
ЗАЙДЕЛЬМАН Ф.Р. Мелиорация почв. – МГУ, 1996, с.78-84. SU 1588331 A2, 30.08.1990. SU 1500205 A1, 15.08.1989. FR 2706240 А, 23.12.1994. US 2004089748 А, 13.05.2004. SU 1389730 A1, 23.04.1988. SU 1085570 A, 15.04.1984.
Адрес для переписки:
400059, г.Волгоград, 59, ул. Изоляторная, 2, кв.89, А.М. Салдаеву
|
(72) Автор(ы):
Овчинников Алексей Семенович (RU), Салдаев Александр Макарович (RU), Мещеряков Максим Павлович (RU), Бочарников Виктор Сергеевич (RU), Бородычев Виктор Владимирович (RU)
(73) Патентообладатель(и):
Федеральное государственное учреждение высшего профессионального образования “Волгоградская государственная сельскохозяйственная академия” (RU)
|
(54) ОРОСИТЕЛЬНАЯ СИСТЕМА
(57) Реферат:
Изобретение относится к сельскому хозяйству и может быть использовано для внутрипочвенного и капельного орошения. Оросительная система включает водоисточник, насосную станцию с запорной арматурой и манометром, магистральный трубопровод, последовательно установленные распределительные трубопроводы внутрипочвенного и капельного орошения, параллельно распределенные по длине распределительных трубопроводов оросительные трубопроводы и перпендикулярно к ним с заданным шагом увлажнители в виде труб с перфорациями внутрипочвенного орошения и гибкие поливные трубопроводы с капельными водовыпусками капельного орошения. В магистральном трубопроводе капельного орошения в гидравлической сети смонтированы гидроциклон, песчано-гравийный фильтр и сетчатый фильтр, а также манометр и запорная арматура. Между двумя вентилями смонтирован напорный резервуар для подачи воды под давлением на орошаемый участок внутрипочвенного орошения. В каждом переходнике между распределительным трубопроводом и оросительным трубопроводом последовательно установлены запорная арматура, фильтр тонкой очистки, счетчик расхода очищенной поливной воды и напорно-регулирующее устройство. Напорный резервуар снабжен гидропневмоаккумулятором. Под каждым увлажнителем в виде полиэтиленовой трубы с перфорациями размещен водонепроницаемый экран. Над трубой увлажнителя установлен выравниватель потока воды в виде полиэтиленовой пленки, армированной газонаполненным пластиком. Оросительная система обеспечит снижение энергозатрат на привод насосной станции, повышение эффективности внутрипочвенного и капельного орошения. 1 з.п. ф-лы, 3 ил.
Изобретение относится к сельскому хозяйству и может быть использовано для внутрипочвенного и капельного орошения.
Известна оросительная система, включающая насосный агрегат, магистральный, распределительные и соединенные с ними одним концом поливные трубопроводы с капельницами и дождевальными аппаратами с переключателями, в которой, с целью повышения надежности, система снабжена дополнительными распределительными трубопроводами, соединенными поливными трубопроводами, а переключатели капельниц и дождевальных аппаратов выполнены в виде клапанов прямого и обратного тока, при этом поливные трубопроводы соединены с распределительными трубопроводами через обратные клапаны (SU, авторское свидетельство №1389730. А1. М.кл.4
К недостаткам описанной оросительной системы относятся ограниченные функциональные возможности, сложность конструкции, большой непроизводительный расход поливной воды и низкая эксплуатационная надежность всей оросительной системы.
Известна система капельного орошения, включающая магистральный трубопровод, соединенный с распределителями, и водовыпуски с тензиометрическими датчиками, каждый из которых содержит полый керамический пористый фильтр, в которой, с целью повышения надежности работы, тензиометрические датчики снабжены каждый воздухоотводящей трубкой с запорным элементом, один из концов которой размещен внутри полого керамического пористого фильтра, а другой сообщен через запорный элемент с атмосферой (SU, авторское свидетельство №1500205. А1. М.кл.4
К недостаткам описанной системы капельного орошения, применительно к решаемой нами технической задаче, относятся низкая эксплуатационная надежность, сложность конструкции и большие затраты ручного труда на установку водовыпусков с тензиометрическими датчиками.
Известен водовыпуск поливного трубопровода, включающий корпус с водоотводящими патрубками, в котором, с целью повышения надежности работы и расширения функциональных возможностей, водовыпуск снабжен тройником – делителем, входной патрубок которого снабжен эластичной заслонкой, а выходные патрубки выполнены с зубчатыми выступами и снабжены направляющими, в которых установлен с возможностью перемещения и взаимодействия с зубчатыми выступами шаровой поплавковый клапан (SU, авторское свидетельство №1588331. А2. М.кл.5
К недостаткам описанных водовыпусков внутрипочвенного орошения относятся низкая эксплуатационная надежность из-за низкого качества шаровых поплавковых клапанов и высокий непроизводительный расход поливной воды.
Известна система внутрипочвенного орошения, содержащая участковый водораспределитель, распределительные и оросительные трубопроводы, колодцы с запорной арматурой и увлажнители, в которой, с целью снижения потерь на инфильтрацию, каждый увлажнитель в виде оросительного трубопровода с перфорацией размещен на дне канавы с почвенной засыпкой на глубину до 0,6 м, при этом между дном канавы и засыпкой послойно размещены слои глины, древесных отходов, щебенки и полиэтиленовой пленки, а засыпка из древесных отходов связана с кротовинами (см. Милиорация и водное хозяйство. Орошение: Справочник / Под ред. Б.Б. Шумакова. – М.: Колос, 1999. – 432 с.: ил. – С.151-160, рис.5.3 и 5.4).
Эта оросительная система нами принята в качестве наиближайшего аналога.
К недостаткам описанной системы внутрипочвенного орошения относятся ее низкая надежность, большой расход оросительной воды и засоление оросительного участка.
Сущность заявленного изобретения заключается в следующем.
Задача, на решение которой направлено заявленное изобретение, – повышение эффективности внутрипочвенного и капельного орошения.
Технический результат – повышение надежности работы оросительной системы и расширение ее функциональных возможностей.
Указанный технический результат достигается тем, что в известной оросительной системе, включающей водоисточник, насосную станцию с запорной арматурой и манометрами, магистральный трубопровод, последовательно установленные распределительные трубопроводы внутрипочвенного и капельного орошения, параллельно установленные по длине распределительных трубопроводов оросительные трубопроводы и перпендикулярно к ним с заданным шагом увлажнители в виде полиэтиленовых труб с перфорациями внутрипочвенного орошения и гибкие поливные трубопроводы с капельными водовыпусками капельного орошения, гидроциклон, песчано-гравийный и сетчатый фильтр в магистральном трубопроводе капельного орошения, напорный резервуар в магистральном трубопроводе внутрипочвенного орошения, запорную арматуру, фильтр тонкой очистки, счетчик расхода очищенной поливной воды и напорно-регулирующее устройство в каждом переходнике между распределительным трубопроводом и оросительным трубопроводом, согласно изобретению напорный резервуар снабжен гидропневмоаккумулятором, под каждым увлажнителем в виде полиэтиленовой трубы с перфорациями размещен водонепроницаемый экран, а над трубой установлен выравниватель потока воды в виде полиэтиленовой пленки, армированной газонаполненным пластиком; увлажнители и гибкие поливные трубопроводы внутрипочвенного орошения и капельного орошения размещены вдоль горизонталей рельефа местности.
Изобретение поясняется чертежами.
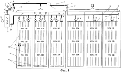
На фиг.1 схематично представлена оросительная система с последовательным размещением опытно-полевого участка внутрипочвенного (I) и капельного (II) орошения.
На фиг.2 – сечение А-А на фиг.1, поперечно-вертикальный разрез увлажнителя в виде полиэтиленовой трубы с перфорациями, водонепроницаемого экрана под увлажнителем и выравнивателя потока воды над трубой.
На фиг.3 – сечение Б-Б на фиг.2, диаметральные сечения увлажнителя и выравнивателя потока воды.
Сведения, подтверждающие возможность реализации заявленного изобретения, заключаются в следующем.
Оросительная система (фиг.1) включает водоисточник 1, насосную станцию 2 с запорной арматурой 3 и 4 и манометром 5, магистральный трубопровод 6, последовательно установленные распределительные трубопроводы 7 и 8 внутрипочвенного орошения (I) и капельного орошения (II), параллельно установленные по длине распределительных трубопроводов 7 и 8 оросительные трубопроводы 9. Перпендикулярно оросительным трубопроводам 9 внутрипочвенно и поверхностно с заданным шагом размещены увлажнители 10 в виде полиэтиленовых труб с перфорациями 11 (см. фиг.3) внутрипочвенного орошения и гибкие поливные трубопроводы 12 с капельными водовыпусками капельного орошения.
В магистральном трубопроводе 6 капельного орошения смонтированы гидроциклон 13, песчано-гравийный фильтр 14, сетчатый фильтр 15, вентиль 16 и манометр 17.
Напорный резервуар 18 с магистральным трубопроводом 6 соединен посредством запорной арматуры 3, а с распределительным трубопроводом 7 внутрипочвенного орошения – посредством вентиля 19.
В каждом переходнике 20 между распределительным трубопроводом 7 (8) и оросительным трубопроводом 9 последовательно смонтированы запорная арматура 21, фильтр тонкой очистки 22, счетчик 23 расхода очищенной поливной воды и напорно-регулирующее устройство 24, а также манометр 25.
Напорный резервуар 18 снабжен гидропневмоаккумулятором 26, который поддерживает рабочее давление воды в резервуаре 18. Гидропневмоаккумулятор 26 электрически связан с насосной станцией 2 и поддерживает требуемый объем воды в напорном резервуаре 18 и рабочее давление в распределительном трубопроводе 7.
Под каждым увлажнителем 10 (см. фиг.1-3) размещен водонепроницаемый экран 27. Экран 27 шириной В выполнен из полиэтиленовой пленки толщиной 1,2-1,6 мм и шириной до 400 мм. Экран 27 уложен на дне канавы на глубине до 0,6 м от дневной поверхности. Над трубой увлажнителя 10 установлен выравниватель 28 потока воды в виде полиэтиленовой пленки той же толщины, но армированной газонаполненным пластиком 29. Толщина слоя пластика 29 – 30… 50 мм. Внутренний диаметр трубы увлажнителя 10 равен 35 мм, а внешний диаметр 40 мм. Шаг t между перфорациями 11 равен 150 мм.
Увлажнители 10 и гибкие поливные трубопроводы 12 внутрипочвенного орошения и капельного орошения размещены вдоль горизонталей рельефа 30 рельефа местности прямолинейно вдоль полевой дороги при ведении механизированных технологических операций или по эквидистантным линиям в фермерских хозяйствах.
Увлажнители 10 на участке внутрипочвенного орошения заканчиваются колодцами для осуществления промывки 31.
Концы гибких поливных трубопроводов 12 закрыты водовыпусками.
Оросительная система функционирует следующим образом.
Опытно-производственный участок площадью 1 га был поделен на две части: на одной части исследовалась система внутрипочвенного орошения (ВПО) (блок-система «I»), а на второй – капельное орошение (блок-система «II»).
Всего на опытно-экспериментальном участке внутрипочвенного орошения рассматривалось две блок-системы («I» и «II») с тремя вариантами поддержания влажности почвы на уровне не ниже 70% НВ; 80% НВ; 90% НВ в сторону уклона опытного участка.
Расстояния между увлажнителями 10 на каждом оросительном трубопроводе составило 1,5 м и было одинаковым на каждом варианте опыта. Межвариантное расстояние, разделенное горизонталями 30, составило 4 м, что полностью исключает влияние крайних увлажнителей 10 на соседние.
Вода для полива в исследуемых системах подается из водоисточника 1 артезианской скважины с помощью погружного насосного агрегата марки 1ЭЦВП6-10-50 производительностью 10 м3/час и напором 50 м с электродвигателем типа 7ПЭДВ-2,8 мощностью 2,8 кВт.
На основании ранее изученных объектов орошения нами принят к исследованию следующий тип конструкции ВПО (фиг.2 и 3).
Как показано на фиг.2, увлажнители 10 выполнены из полиэтиленовых труб с внешним диаметром 40 мм. Этот материал увеличивает их прочность, долговечность и устойчивость к воздействию воды. Глубина закладки увлажнителей 10 составляет 0,50…0,52 м от дневной поверхности. Это позволяет избежать их повреждения при основной обработке почвы существующими почвообрабатывающими орудиями при сельскохозяйственных работах. Длина увлажнителей 10 оросительной сети составила 100 м. Наружный диаметр трубы равен 40 мм, а его внутренний – 36 мм.
Диаметр перфорации 11 равен 1,5 мм. Расположение отверстий – в боковой стенке выполнено в шахматном порядке с шагом 150 мм. Общая площадь перфорации 11 составляет 0,0124 м2 на 1 погонный метр увлажнителя 10.
Исследования влияния диаметров отверстий перфорации 11 на изменение площади увлажнения при прочих равных условиях показали, что эта зависимость незначительна. Так, при увеличении диаметра перфорации с 0,7 до 2,0 мм разница в изменении площадей увлажнения не превышает 2%. Но увеличение общей площади перфорации 11 на 1 погонный метр влияет на равномерность рапределения влаги и напора по всей длине внутрипочвенных увлажнителей 10. Технологический процесс по строительству увлажнительной сети был значительно сокращен в результате применения полиэтиленовых труб с промышленной перфорацией 11 в качестве внутрипочвенных увлажнителей 10 и дополнительное перфорирование в полевых условиях с приобретением для этих целей специального оборудования и устройств не проводилось.
Укладка увлажнителей 10 проводилась в траншеи шириной 0,45…0,50 м и глубиной 0,5 м, разработанных экскаватором ЭТЦ-141.
Контроль за глубиной траншеи осуществлялся с помощью нивелира.
В блок-системе «I» (фиг.2 и 3) каждый из увлажнителей 10 имеет противофильтрационный водонепроницаемый экран 27 из полиэтиленовой пленки. Снизу трубы они уложены в виде лотка, при этом ширина пленки составляла 0,4 м.
Применение противофильтрационных водонепроницаемых экранов 27 способствует аккумулированию влаги в активном слое почвы, увеличивает влажность в зоне насыщения, уменьшает потери на фильтрацию. Сверху увлажнителей 10 также выполнены экраны и горизонтальный пластик из полиэтиленовой пленки шириной 0,25 м с выравнивателем потока воды 28. Экран огибают увлажнитель 10, его края совмещаются с нижним противофильтрационным водонепроницаемым экраном 27. Через образовавшуюся щель оросительная вода равномерно поступает в почву. Описанные экраны способствуют предотвращению заиления и равномерному распределению воды по всей длине увлажнителя 10. После чего производилась обратная засыпка траншеи.
При работающей насосной станции 2 оросительная вода из водоисточника 1 при открытом вентиле 3 поступает в напорный резервуар 18. Вентиль 19 на распределительном трубопроводе 7 закрыт. Далее гидропневмоаккумулятор 26 приводят в рабочее состояние. В воздушном колпаке создают давление воздуха, позволяющее выдерживать рабочее давление воды в напорном резервуаре 18 в пределах 0,02 МПа при полностью заполненном и при опорожнении резервуара 18 до 90%. Гидропневмоаккумулятор 26 электрически соединен с насосной станцией 2 и при опорожнении емкости 18 до 90% синхронно открываются вентиль 3 и включается в работу насосная станция 2.
При открытии вентиля 19 вода заполняет полость распределительного трубопровода 7, при открытии запорной арматуры 21 на переходниках 20 вода поступает в увлажнители 10. В колодцах 31 открывают водовыпуски на концах увлажнителей 10. Сор, взвеси, шлам из увлажнителей 10, трубопроводов 7 и переходников 20, запорной арматуры 21, фильтра 22, счетчика 23 и устройства 24 сливается в колодцы 31. Далее водовыпуски на концах увлажнителей 10 закрывают.
После высадки в открытый грунт либо семян лука, либо лука-севка, семян редиса и корнеплодов включают в работу увлажнители 10, при поступлении оросительной воды в полость каждого увлажнителя 10 она через перфорации 11 поступает в слой газонаполненного пластика выравнивателя 28 потока воды под пленкой на полиэтиленовой трубе. Вода заполняет поры газонаполненного пластика выравнивателя 28 и равномерно между перфорациями 11 за счет гравитационной силы опускается на водонепроницаемый экран 27. Прослойкой газонаполненного пластика вода с экрана 27 выводится на полосу шириной В (см. фиг.2). За счет капилляров в пахотном слое вода пронизывает корнеобитаемый горизонт снизу вверх, доставляя воду или к семенам овощных культур, или к рассаде. Для полива в период вегетации овощных культур на участке I внутрипочвенного орошения достаточно отслеживать показания счетчика 23 расхода очищенной поливной воды и при необходимости запорной арматурой 21 вносить соответствующие коррективы.
В то же время на участке II проводят раскладку гибких поливных трубопроводов 12 от оросительных трубопроводов 9. Концы трубопроводов 12 фиксируют цанговыми захватами на ниппелях оросительного трубопровода 9.
Оросительная вода из насосной станции 2 через запорную арматуру поступает в гидроциклон 13. Им удаляются из воды взвеси и сор. После первой ступени очистки вода направляется в магистральный трубопровод 6 и поступает в полость песчано-гравийного фильтра 14. Из воды удаляются сор с частицами до 0,5 м. При открытом вентиле 16 вода поступает в третью ступень очистки – в сетчатый фильтр 15. После очистки оросительной воды в ней остаются взвеси размером менее 200 мкм. Из распределительного трубопровода 8 поток воды по переходникам 20 направляется в оросительные трубопроводы 9 и соответственно в гибкие поливные трубопроводы 12. Равномерно поступая из водовыпусков трубопроводов 12, оросительная вода увлажняет верхний слой почвы, и производят высадку рассады в открытый грунт.
Увлажнители 10 и гибкие поливные трубопроводы 12, работая в разное время суток, исключают пиковые нагрузки на насосную станцию 2.
Размещение овощных культур по группам увлажнения 70% НВ, 80% НВ, 90% НВ сокращает непроизводительные затраты воды.
В условиях Нижнего Поволжья, как правило, ранней весной, конец марта – апрель – начало мая, климат характеризуется неустойчивой погодой: резкими перепадами температуры воздуха и ветрами. Скорость ветров достигает 25-30 м/с. В это время очень трудно распределить (уложить) гибкие поливные трубопроводы 12 на орошаемом массиве. Присыпка трубопроводов 12 и их фиксация скобами из-за большой парусности не дает желаемого результата. Агротехнические сроки высадки рассады овощей нарушаются. Это приводит к потере урожая.
Для получения наибольшей урожайности овощных культур орошаемый участок разделен на две части: ранние холодостойкие овощные культуры размещаются в системе внутрипочвенного орошения для высадки и посева в сроки апрель – май. При снижении скорости ветров менее 5 м/с производят раскладку гибких поливных трубопроводов 12 для капельного орошения теплолюбивых овощных культур.
Таким образом, описанная оросительная система позволяет проводить весь цикл механизированных операций в заданные агротехнические сроки и получать гарантированный урожай сельскохозяйственных культур.
Формула изобретения
1. Оросительная система, включающая водоисточник, насосную станцию с запорной арматурой и манометром, магистральный трубопровод, последовательно установленные распределительные трубопроводы внутрипочвенного и капельного орошения, параллельно распределенные по длине распределительных трубопроводов оросительные трубопроводы и перпендикулярно к ним с заданным шагом увлажнители в виде полиэтиленовых труб с перфорациями внутрипочвенного орошения и гибкие поливные трубопроводы с капельными водовыпусками капельного орошения, гидроциклон, песчано-гравийный фильтр и сетчатый фильтр в магистральном трубопроводе капельного орошения, напорный резервуар в магистральном трубопроводе внутрипочвенного орошения, запорную арматуру, фильтр тонкой очистки, счетчик расхода очищенной поливной воды и напорно-регулирующее устройство в каждом переходнике между распределительным трубопроводом и оросительным трубопроводом, отличающаяся тем, что напорный резервуар снабжен гидропневмоаккумулятором, под каждым увлажнителем в виде полиэтиленовой трубы с перфорациями размещен водонепроницаемый экран, а над трубой установлен выравниватель потока воды в виде полиэтиленовой пленки, армированной газонаполненным пластиком.
2. Система по п.1, отличающаяся тем, что увлажнители и гибкие поливные трубопроводы внутрипочвенного орошения и капельного орошения размещены вдоль горизонталей рельефа местности.
РИСУНКИ
|