|
(21), (22) Заявка: 2006122933/28, 02.12.2004
(24) Дата начала отсчета срока действия патента:
02.12.2004
(30) Конвенционный приоритет:
05.12.2003 KR 10-2003-0088157
(43) Дата публикации заявки: 10.01.2008
(46) Опубликовано: 10.02.2009
(56) Список документов, цитированных в отчете о поиске:
JP 8265895 А, 11.10.1996. US 4544805 А, 01.10.1985. JP 59230397 А, 24.12.1984. JP 63155997 А, 29.06.1988. JP 59210795 A, 29.11.1984. SU 1753625 А1, 07.08.1992.
(85) Дата перевода заявки PCT на национальную фазу:
05.07.2006
(86) Заявка PCT:
KR 2004/003156 (02.12.2004)
(87) Публикация PCT:
WO 2005/055648 (16.06.2005)
Адрес для переписки:
690035, г.Владивосток, а/я 35-94, ООО “Первое частное Приморское патентное агентство”, пат.пов. А.Г.Ермолинскому, рег.№ 626
|
(72) Автор(ы):
ШИН Джоунг-Ёул (KR), ХАН Бюнг-Уан (KR)
(73) Патентообладатель(и):
ШИН Джоунг-Ёул (KR)
|
(54) ПЛОСКИЙ ДИНАМИК, ИМЕЮЩИЙ НАПРАВЛЯЮЩЕЕ УСТРОЙСТВО ПЛАТЫ КАТУШКИ
(57) Реферат:
Настоящее изобретение относится к динамику пластинчатого типа с плоской мембраной. Динамик пластинчатого типа по настоящему изобретению включает базовую рамку, по крайней мере одно тело магнита, присоединенное к базовой рамке так, что обеспечено смежное боковое положение противоположных полюсов и их обособленное размещение на определенном расстоянии друг от друга, мембрану, по крайней мере одну плату катушки, которая выполнена со звуковой катушкой, намотанной на одну или обе ее стороны, вставлена вертикально в зазор между противоположными полюсами тела магнита и соединена с мембраной; и направляющее средство платы катушки, присоединенное к плате катушки так, чтобы направить ее положение и направление колебаний платы катушки таким образом, чтобы плата катушки была раздельной от тела магнита и колебалась вертикально. При этом базовая рамка выполнена с открытыми верхней и нижней частями, мембрана присоединена к верхнему концу платы катушки, а направляющее средство платы катушки присоединено к нижнему концу платы катушки так, чтобы выполнять функцию другой мембраны. 9 з.п. ф-лы, 20 ил.
Область техники
Настоящее изобретение относится к пластинчатому динамику с плоской мембраной, в частности к плоскому динамику, сконструированному для направления колебаний платы катушки таким образом, чтобы плата катушки не входила в контакт с постоянными магнитами верхней и нижней плат.
Предшествующий уровень техники
Обычный динамик пластинчатого типа будет описан со ссылками на сопровождающие чертежи.
На фиг.1 представлен схематичный вид в поперечном разрезе обычного динамика пластинчатого типа, а на фиг.2 представлен монтажный вид в перспективе конструкции соединения звуковой катушки, постоянных магнитов и плат, используемой в обычном динамике пластинчатого типа.
Как показано на фиг.1 и фиг.2, плоская плата катушки 36, верхний конец которой вертикально соединен с плоской мембраной 30, вставлена в узел, включающий верхние платы 31а, 31b, 31с, 31d, 32а, 32b, 32с и 32d, нижние платы 33а, 33b, 33с, 33d, 34а, 34b, 34с и 34d и постоянные магниты 37, закрепленные между ними. Узел постоянных магнитов и верхних и нижних плат установлен в базовой рамке 35. Далее, борт 39 соединен с периферией плоской мембраны 30 и закреплен с помощью направляющего кольца.
Электрический ток, сгенерированный схемой управления динамиком, подается на звуковую катушку 38, смонтированную на плате катушки 36, для создания магнитного поля у звуковой катушки 38. Это магнитное поле взаимодействует с обращенным к нему магнитным полем, созданным узлом платы постоянных магнитов, за счет чего генерируется усилие, приводящее к колебаниям платы катушки 36 и соединенной с ней плоской мембраны 30. Вследствие этого, колебания мембраны 30 создают звук, исходящий наружу.
В то же время, плата катушки 36 удерживается без контакта с верхними и нижними платами 31-34, чтобы не мешать колебаниям плоской мембраны 30, и размещена рядом с постоянными магнитами 37 так близко, насколько это возможно, чтобы плата катушки была максимально подвержена влиянию магнитного поля.
Однако в динамике пластинчатого типа, сконструированном, как описано выше, имеется трудность при производстве, связанная с тем, что плата катушки 36 должна быть изогнута в соответствии с формами зазоров между верхними платами 31 и 32 и между нижними платами 33 и 34.
Далее, если направление соединений или форма платы катушки 36 изменяется из-за длительного использования динамика, существует проблема, связанная с тем, что плата катушки 36 входит в контакт с верхними и нижними платами 31-34, что приводит к неправильным колебаниям мембраны 30.
Раскрытие изобретения
Техническая задача
Настоящее изобретение предлагается для решения вышеуказанных проблем. Технической задачей настоящего изобретения является создание динамика пластинчатого типа с направляющим средством платы катушки для ограничения направления колебаний и положения платы катушки таким образом, чтобы плата катушки не входила в контакт с постоянными магнитами и/или верхними и нижними платами.
Техническое решение
Для достижения поставленной технической задачи согласно настоящему изобретению предлагается динамик пластинчатого типа, включающий базовую рамку; по крайней мере одно тело магнита, присоединенное к базовой рамке так, что обеспечено смежное боковое положение противоположных полюсов и их обособленное размещение на определенном расстоянии друг от друга; мембрану; по крайней мере одну плату катушки, которая выполнена со звуковой катушкой, намотанной на одну или обе ее стороны, вставлена вертикально в зазор между противоположными полюсами тела магнита и соединена с мембраной; и направляющее средство платы катушки, присоединенное к плате катушки так, чтобы направить ее положение и направление колебаний платы катушки таким образом, чтобы плата катушки была раздельной от тела магнита и колебалась вертикально.
Базовая рамка может быть выполнена с открытыми верхней и нижней частями, мембрана может присоединяться к верхнему концу платы катушки, а направляющее средство платы катушки может присоединяться к нижнему концу платы катушки так, чтобы выполнять функцию другой мембраны.
Альтернативно, базовая рамка может иметь по крайней мере одно отверстие, выполненное по крайней мере в части ее дна и соответствующее форме нижнего конца платы катушки так, чтобы нижний конец платы катушки проходил через дно базовой рамки, и направляющее средство платы катушки может включать фиксирующий элемент, выполненный гибким, который присоединен к нижнему концу платы катушки и к нижней поверхности базовой рамки. При этом предпочтительней, когда фиксирующий элемент выполнен гофрированным с выступами и впадинами гофрирования, направленными вдоль продольного направления платы катушки. Также фиксирующий элемент может выполняться со сквозными отверстиями.
Предпочтительно использование нескольких тел магнитов, имеющих противоположную полярность их верхних и нижних концов, которые размещают раздельно на определенном расстоянии один от другого. При этом предпочтительно, когда каждое из тел магнитов включает: постоянный магнит с противоположной полярностью его верхнего и нижнего концов; верхнюю пластину, присоединенную к верхнему концу постоянного магнита; и нижнюю пластину, присоединенную к нижнему концу постоянного магнита и к поверхности дна базовой рамки. В этом случае, оба противоположных конца звуковой катушки, намотанной с одной или обеих сторон платы катушки, могут быть расположены соответственно на уровнях верхних и нижних концов тел магнитов.
Базовая рамка может иметь хотя бы одно отверстие сквозь ее стенку.
Тело магнита может быть выполнено в форме гребенки так, чтобы соответствующие участки тела магнита с противоположными полярностями имели выступы и впадины в горизонтальном направлении, выступы были вставлены в соответствующие впадины с определенным зазором между ними, а плата катушки выполнена в форме изогнутой пластины, выполненной с возможностью ее вертикальной вставки в зазоры.
Может иметься несколько плат катушек, выполненных в форме плоских пластин, расположенных параллельно друг другу.
Краткое описание фигур чертежей
Фиг.1 – схематичный вид в поперечном разрезе обычного динамика пластинчатого типа.
Фиг.2 – монтажный вид в перспективе конструкции соединения звуковой катушки, постоянных магнитов и плат, используемой в обычном динамике пластинчатого типа.
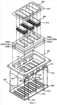
Фиг.3 – монтажный вид в перспективе динамика пластинчатого типа в соответствии с первым вариантом осуществления настоящего изобретения.
Фиг.4 – вид снизу базовой рамки, с которой соединяются плата катушки и магниты, показанные на фиг.3.
Фиг.5 – вид в плане фиксирующего элемента, показанного на фиг.3.
Фиг.6 – вид снизу динамика пластинчатого типа в соответствии с первым вариантом осуществления настоящего изобретения.
Фиг.7 – вид динамика пластинчатого типа в поперечном разрезе А-А с фиг.6.
Фиг.8 – иллюстрация состояния, когда звуковая катушка присоединена к передней и задней поверхностям платы катушки.
Фиг.9 – вид в поперечном разрезе В-В с фиг.8.
Фиг.10 – иллюстрация состояния, когда передняя и задняя звуковые катушки присоединены соответственно к передней и задней поверхностям платы катушки.
Фиг.11 – вид в поперечном разрезе С-С с фиг.10.
Фиг.12 – вид в поперечном разрезе динамика пластинчатого типа, имеющего переднюю и заднюю звуковые катушки, присоединенные соответственно к передней и задней поверхностям платы катушки, в соответствии с настоящим изобретением.
Фиг.13 – монтажный вид в перспективе динамика пластинчатого типа в соответствии со вторым вариантом осуществления настоящего изобретения.
Фиг.14 – вид снизу базовой рамки, с которой соединяются плата катушки и магниты, показанные на фиг.13.
Фиг.15 – вид в плане фиксирующего элемента, показанного на фиг.13.
Фиг.16 – вид снизу динамика пластинчатого типа в соответствии со вторым вариантом осуществления настоящего изобретения.
Фиг.17 – вид динамика пластинчатого типа в поперечном разрезе В-В с фиг.16.
Фиг.18 – иллюстрация использования гофрированного соединительного элемента.
Фиг.19 – вид в поперечном разрезе динамика пластинчатого типа, в котором плоские передняя и задняя звуковые катушки присоединены соответственно к передней и задней поверхностям платы катушки, в соответствии с настоящим изобретением.
Фиг.20 – иллюстрация состояния, когда направляющее средство платы катушки служит в качестве другой мембраны.
Лучший вариант осуществления изобретения
Далее, предпочтительные варианты конструкции динамика пластинчатого типа с направляющим средством платы катушки согласно настоящему изобретению будут описаны со ссылкой на сопровождающие чертежи.
На фиг.3 представлен монтажный вид в перспективе динамика пластинчатого типа в соответствии с первым вариантом осуществления настоящего изобретения.
Как показано на фиг.3, динамик пластинчатого типа с направляющим средством платы катушки согласно настоящему изобретению включает вогнутую базовую рамку 100 с открытой верхней частью; тела первого и второго магнитов 200а и 200b, присоединенные к базовой рамке 100 так, что имеют разноименные полюса у их верхнего и нижнего торцов и размещены на определенном расстоянии друг от друга в чередующемся порядке; мембрану 300 в виде плоской пластины с размерами, позволяющими вставить ее в базовую рамку 100, снабженную соединительным элементом 310 по внешнему краю мембраны для присоединения к верхней части базовой рамки 100; плату катушки 400, которая выполнена в виде плоской платы со звуковой катушкой 410 электрического тока, установленную в продольном направлении зазоров между телами магнитов 200а и 200b и соединенную с нижней поверхностью мембраны 300 под углом, позволяющим вставку платы катушки 400 в зазоры между телами магнитов 200а и 200b; и фиксирующий элемент 500, расположенный раздельно от тел магнитов 200а и 200b, для направления положения и направления колебаний платы катушки 400 с возможностью осуществления вертикальных колебаний платы катушки.
Соответствующие тела магнитов 200а и 200b включают постоянные магниты 210а и 210b с размерами, позволяющими их вставку в базовую рамку 100, с противоположными полярностями их верхнего и нижнего торцов, верхние пластины 220а и 220b, присоединенные к верхним торцам постоянных магнитов 210а и 210b, и нижние пластины 230а и 230b, присоединенные к нижним торцам постоянных магнитов 210а и 210b и соединенные с поверхностью дна базовой рамки 100. В то же время, как показано на этой фигуре, каждое из тел магнитов 200а и 200b выполнено в форме гребенки с выступами и впадинами. Выступы одного из тел магнитов установлены во впадины другого. В то же время, что предпочтительно, по крайней мере верхние и нижние пластины 220а, 220b, 230а и 230b тел магнитов 200а и 200b также выполнены в форме гребенки.
Звуковая катушка 410 намотана и закреплена на плате катушки 400. Плата катушки 400 вставлена в зазоры между двумя телами магнитов 200а и 200b так, что верхние и нижние концы звуковой катушки 410 располагаются между верхними пластинами 220а и 220b и между нижними пластинами 230а и 230b соответственно.
Так как конфигурация и конструкция соединений тел магнитов 200а и 200b и платы катушки 400, используемые в настоящем изобретении, подобны используемым для тел магнитов и платы катушки в обычном динамике пластинчатого типа, то их дальнейшее подробное описание будет опущено.
Далее, базовая рамка 100 выполнена с нижним отверстием 120 в части дна базовой рамки, соответствующим нижнему концу платы катушки 400 так, чтобы нижний конец платы катушки 400 мог выступать через это отверстие наружу. Фиксирующий элемент 500 выполнен из упругого материала или сформирован как упругая конструкция и сцепляется с нижним концом платы катушки 400 и присоединен к нижней поверхности базовой рамки 100. В то же время, форма нижнего отверстия 120 зависит от изогнутости платы катушки 400.
Соответственно, нижний конец платы катушки 400 вставляется в зазоры между первым и вторым телами магнитов 200а и 200b и сцепляется с фиксирующим элементом 500, присоединенным к нижней поверхности базовой рамки 100 так, чтобы ее горизонтальное перемещение было ограничено. Таким образом, горизонтальное положение платы катушки 400, используемой в настоящем изобретении, не изменяется даже от того, что плата катушка 400 подвержена колебаниям в течение долгого времени или от изменения величины и направления сил магнитного поля, создаваемого телами магнитов 200а и 200b. Таким образом плата катушки 400 не контактирует с телами магнитов 200а и 200b.
Далее, базовая рамка 100 выполнена хотя бы с одним боковым отверстием 110, проделанным в ее стенке так, чтобы поток воздуха мог поступать внутрь или выходить наружу, когда верхняя открытая часть базовой рамки закрыта мембраной 300. Если боковое отверстие 110 не будет выполнено в базовой рамке 100, то давление внутри базовой рамки 100 увеличится, когда мембрана 300, которая соединена с верхней частью базовой рамки 100 и закрывает ее герметично, колеблется вертикально. Соответственно, мембрана 300 не может нормально колебаться только под действием электрического тока и магнитного потока из-за воздействия давления воздуха внутри базовой рамки 100. Однако, если боковые отверстия 110 сформированы в базовой рамке 100, как в варианте конструкции, показанном на фиг.3, то давление внутри базовой рамки 100 не меняется и поэтому мембрана 300 нормально колеблется под действием электрического тока и магнитного потока.
На фиг.4 показан вид снизу базовой рамки, с которой соединяются плата катушки и магниты, показанные на фиг.3.
Как показано на фиг.4, когда плата катушки 400 и тела магнитов 200а и 200b прикреплены к базовой рамке 100, то весь нижний конец платы катушки 400 и некоторые нижние части первой и второй нижних пластин 230а и 230b выступают наружу сквозь нижнее отверстие 120 в базовой рамке 100. Далее, хотя первые и вторые нижние пластины 230а и 230b не могут перемещаться вертикально, т.к. они неподвижно соединены с базовой рамкой 100, то плата катушки 400 не сталкивается с базовой рамкой 100 при ее вертикальном перемещении, так как плата катушки 400 не соединена непосредственно с базовой рамкой 100.
На фиг.5 представлен вид в плане фиксирующего элемента, показанного на фиг.3.
Как показано на фиг.5, фиксирующий элемент 500, используемый в настоящем изобретении, выполнен со сквозными отверстиями 510 на участках, соответствующими нижнему отверстию в базовой рамке 100. В то же время, эти сквозные отверстия 510 выполнены так, что участки зацепления платы катушки 520 для сцепления с платой катушки 400 остаются на участках, соответствующих нижнему концу платы катушки 400.
Благодаря тому, что фиксирующий элемент 500, используемый в настоящем изобретении, выполнен со сквозными отверстиями 510, появляется возможность избежать изменения давления внутри базовой рамки 100 из-за вертикальных колебаний мембраны 300 и улучшить гибкость участков зацепления платы катушки 520, сцепленных с платой катушки 400. Соответственно, плата катушки 400 может колебаться вертикально, не подвергаясь влиянию от сцепления с фиксирующим элементом 500.
На фиг.6 представлен вид снизу динамика пластинчатого типа в соответствии с первым вариантом осуществления настоящего изобретения.
Когда фиксирующий элемент 500, показанный на фиг.5, соединен с поверхностью дна базовой рамки, в которой смонтированы плата катушки 400 и тела магнитов 200а и 200b, показанные на фиг.4, то несколько участков платы катушки 400, а также первой и второй нижних пластин 230а и 230b выступают наружу через сквозные отверстия 510, как показано на фиг.6
Хотя только нижний конец платы катушки 400 сцепляется с фиксирующим элементом 500 в вертикальном направлении так, что плата катушки 400 колеблется более свободно по этому варианту, позиция и расположение зацепления между платой катушки 400 и фиксирующим элементом 500 не ограничиваются и могут различно изменяться.
На фиг.7 представлен вид динамика пластинчатого типа в поперечном разрезе по линии А-А с фиг.6.
Как показано на фиг.7, плата катушки 400 с присоединенной к ней звуковой катушкой 410 соединяется с фиксирующим элементом 500 таким образом, что плата катушки 400 удерживается от контакта с телом первого магнита 200а или с телом второго магнита 200b.
Соответственно, использование динамика пластинчатого типа с направляющим средством в соответствии в настоящим изобретением предохраняет плату катушки 400 от контакта с телами магнитов 200а и 200b, который мог бы возникнуть из-за деформации длительно эксплуатируемой платы катушки 400, тем самым продлевая срок службы такого динамика и предотвращая ухудшение качества звучания.
Далее, базовая рамка 100 имеет направленные вниз базовые выступы 130, выполненные на ее нижней поверхности. Формирование базовых выступов 130 не позволяет нижнему отверстию 120 входить в контакт с дном и также предотвращает плату катушки 400 от входа в контакт с дном при вертикальных колебаниях платы катушки. Соответственно, плата катушки 400 может нормально колебаться и мембрана 300 может выводить нормальное звучание.
Фиг.8 иллюстрирует состояние, когда звуковая катушка присоединена к передней и задней поверхностям платы катушки, а на фиг.9 представлен вид в поперечном разрезе по линии В-В с фиг.8.
Если необходимо увеличить поперечное сечение катушки, соединенной с платой катушки 400, для увеличения усилия, прикладываемого к плате катушки 400, то звуковую катушку 410 можно присоединить с обеих сторон платы катушки 400, как показано на фиг.8 и 9.
В случае, когда звуковая катушка 410 присоединена к обеим сторонам платы катушки 400, плата катушки 400 имеет соединительное отверстие 402, выполненное насквозь платы катушки 400 в ее центральной части, а звуковая катушка 410 намотана и присоединена к одной стороне платы катушки 400, а затем последовательно намотана и присоединена к другой стороне платы катушки 400 после прохода через соединительной отверстие 402. В то же время, даже при том, что положение соединения звуковой катушки 410 изменяется вместо одной стороны платы катушки 400 к обеим сторонам платы катушки 400, направление намотки звуковой катушки 410 сохраняется одинаковым. Соответственно, сила магнитного потока от тела магнита 200 и электрического тока, протекающего через звуковую катушку 410, прикладываемая к плате катушки 400, не меняется по направлению.
Фиг.10 иллюстрирует состояние, когда передняя и задняя звуковые катушки присоединены соответственно к передней и задней поверхностям платы катушки, а на фиг.11 представлен вид в поперечном разрезе по линии С-С с фиг.10.
Как показано на фиг.10 и 11, в случае, когда звуковая катушка 410, присоединяемая к обеим сторонам платы катушки 400, разделена на две части, а затем присоединена к обеим сторонам, звуковая катушка 410 включает переднюю звуковую катушку 412, намотанную и присоединенную к передней поверхности платы катушки 400, и заднюю звуковую катушку 414, намотанную и присоединенную к задней поверхности платы катушки 400.
Кроме того, плата катушки 400 дополнительно включает соединительное отверстие 402, выполненное насквозь в ее центральной части, и соединительное средство 404 для электрического соединения передний и задней звуковых катушек 412 и 414 друг с другом через соединительное отверстие 402.
В то же время, соединительное средство 404 для соединения передней и задней звуковых катушек 412 и 414 друг с другом через соединительное отверстие 402 используется как проводник, который контактирует с передней и задней звуковыми катушками 412 и 414. Далее, что касается способов соединения передней и задней звуковых катушек 412 и 414 друг с другом, то могут использоваться различные способы соединения, включая сварку и пайку, поскольку они позволяют электрическому току протекать через переднюю и заднюю звуковые катушки 412 и 414.
На фиг.12 представлен поперечный разрез динамика пластинчатого типа, имеющего переднюю и заднюю звуковые катушки, присоединенные соответственно к передней и задней поверхностям платы катушки, в соответствии с настоящим изобретением.
Когда передняя и задняя звуковые катушки 412 и 414 присоединены к передней и задней поверхностям платы катушки 400 соответственно, как показано на фиг.12, поперечное сечение звуковой катушки 410 увеличивается в два раза по сравнению с динамиком пластинчатого типа, показанным на фиг.7. Соответственно, сила, перемещающая вверх пластину катушки 400, также увеличивается.
Далее, несмотря на то, что конструкция звуковой катушки 410, присоединенной к плате звуковой катушки 400, изменена, все же форма и структура соединений тел магнитов 200 и мембраны 300, присоединенных к базовой рамке 100, остаются такими же, как в динамике пластинчатого типа, показанном на фиг.3.
На фиг.13 представлен монтажный вид в перспективе динамика пластинчатого типа в соответствии со вторым вариантом осуществления настоящего изобретения.
Второй вариант осуществления соответствует варианту осуществления, заявленному этим же заявителем, при котором фиксирующий элемент 500 используется для динамика пластинчатого типа с множеством плат катушек. В этом варианте осуществления используются плоские тела магнитов 200 , плоские платы катушек 400 и плоский фиксирующий элемент 500 , которые отличаются по форме от тел магнитов 200, платы катушки 400 и фиксирующего элемента 500, используемых в первом варианте осуществления.
Каждое из плоских тел магнитов 200 , которое используется во втором варианте осуществления, сконструировано так, что верхние и нижние плоские пластины 220 и 230 присоединены соответственно к верхним и нижним торцам плоских постоянных магнитов 210 в форме пластинок. Плоские тела магнитов 200 присоединены к базовой рамке 100 на определенном расстоянии друг от друга так, что противоположные полюса верхних плоских пластин 220 и нижних плоских пластин 230′ тел магнитов чередуются.
Далее, плоские платы катушек 400 сконструированы раздельными для их вставки в зазоры между плоскими телами магнитов 200 . Плоские звуковые катушки 410 намотаны и присоединены к плоским платам катушек 400 . В то же время, плоские платы катушек 400 вставлены в зазоры между плоскими телами магнитов 200 так, что верхние и нижние края плоских звуковых катушек 410 размещены между верхними плоскими пластинами 220 и между нижними плоскими пластинами 230 соответственно.
Соответственно, нижние плоские отверстия 120 , используемые во втором варианте осуществления, сформированы так, что имеют форму такой пластинки, в которую могут быть вставлены нижние концы плоских плат катушек 400 , выступая за пределы нижней поверхности базовой рамки. Плоские сквозные отверстия 510 и участки зацепления плоских плат катушек 520 плоского фиксирующего элемента 500 также выполнены в форме пластинок.
Так как плоский фиксирующий элемент 500 , используемый во втором варианте осуществления, отличается от фиксирующего элемента 500, используемого в первом варианте осуществления, только по форме, но все же имеет ту же самую функцию и выполняет ту же роль, что и фиксирующий элемент 500, используемый в первом варианте осуществления, то его детальное описание будет опущено.
На фиг.14 представлен вид снизу базовой рамки, с которой соединяются плата катушки и магниты, показанные на фиг.13.
Если плоские платы катушки 400 и плоские тела магнитов 200 установлены в базовой рамке 100, все нижние концы плоских плат катушек 400 и некоторые части нижних поверхностей нижних плоских пластин 230 выставляются наружу через нижние плоские отверстия 120 базовой рамки 100. Хотя нижние плоские пластины 230 не могут перемещаться вертикально, так как они неподвижно присоединены к базовой рамке 100, то платы катушек 400 не сталкиваются с базовой рамкой 100 при их вертикальном движении, благодаря тому, что платы катушек 400 не соединены непосредственно с базовой рамкой 100.
На фиг.15 показан вид в плане фиксирующего элемента, показанного на фиг.13.
Подобно первому варианту осуществления, плоский фиксирующий элемент 500 , используемый во втором варианте осуществления, также имеет плоские сквозные отверстия 510 , выполненные на его участках, соответствующих нижним плоским отверстиям 120 , а участки зацепления плоских плат катушек 520 , сформированные на нем, соответствуют нижним концам плоских плат катушек 400 .
В то же время, поскольку нижние плоские отверстия 120 и плоские платы катушек 400 выполнены прямоугольной формы, то плоские сквозные отверстия 510 и участки зацепления плоских плат катушек 520 также выполнены прямоугольными.
На фиг.16 представлен вид снизу динамика пластинчатого типа в соответствии со вторым вариантом осуществления настоящего изобретения.
Когда плоский фиксирующий элемент 500 , показанный на фиг.15, присоединен к нижней поверхности базовой рамки 100, в которой смонтированы плоские платы катушек 400 и плоские тела магнитов 200 , показанные на фиг.14, то некоторые части нижних поверхностей нижних плоских пластин 230 выступают наружу через плоские сквозные отверстия 510 , а плоские платы катушек 400 не выступают наружу, так как все их нижние концы связаны с плоским фиксирующим элементом 500 , как показано на фиг.16.
В этом варианте осуществления, хотя плоский фиксирующий элемент 500 и присоединен ко всем нижним концам плоских плат катушек 400 , все же положение и характер зацепления между плоскими платами катушек 400 и плоским фиксирующим элементом 500 не ограничены и могут различно изменяться.
На фиг.17 представлен вид динамика пластинчатого типа в поперечном разрезе по линии В-В с фиг.16.
Как показано на фиг.17, так как плоские платы катушек 400 с присоединенными к ним плоскими звуковыми катушками 410 присоединены к плоскому фиксирующему элементу 500 , то плоские платы катушек 400 удерживаются от контакта с плоскими телами магнитов 200 и плоские платы катушек 400 не входят в контакт с плоскими телами магнитов 200 .
Далее, так как плоские платы катушек 400 , используемые во втором варианте осуществления, могут индивидуально поперечно изгибаться, в отличие от платы катушки 400, используемой в первом варианте осуществления, то более важно иметь именно плоский фиксирующий элемент 500 .
Фиг.18 иллюстрирует использование гофрированного соединительного элемента.
Плоский фиксирующий элемент 500 , используемый в настоящем изобретении, может быть сформирован гофрированным так, чтобы выступы и впадины простирались в продольном направлении нижних концов плоских плат катушек 400 . Если плоский фиксирующий элемент 500 гофрирован, то его горизонтальное удлинение улучшается так, что плоские платы катушек 400 могут колебаться без существенного воздействия со стороны фиксирующего элемента 500 .
На фиг.19 представлен вид в поперечном разрезе динамика пластинчатого типа, в котором плоские передняя и задняя звуковые катушки присоединены соответственно к передней и задней поверхностям платы катушки, в соответствии с настоящим изобретением.
Как показано на фиг.19, каждая из плоских плат катушек 400 может иметь плоскую звуковую катушку 410 , присоединенную к передней и задней поверхностям плоской платы катушки 400 .
Поскольку конструкция соединений плоских звуковых катушек 410 с передними и задними поверхностями каждой из плоских плат катушек 400 является такой же, как конструкция присоединения звуковой катушки 410 к плате катушки 400, показанная на фиг.8-12, то их детальное описание будет опущено.
Далее, если колебания плоской платы катушки 400 не воздействует на изменение давления внутри базовой рамки 100, то фиксирующий элемент 500 может быть выполнен, как показано на фиг.19, так, что он не имеет плоских сквозных отверстий 510 (см. фиг.18).
Фиг.20 иллюстрирует состояние, когда направляющее средство платы катушки служит в качестве другой мембраны.
Когда направляющее средство платы катушки используют в настоящем изобретении в качестве другой диафрагмы, то верхние и нижние части базовой рамки 100 выполняют открытыми, а соответствующие мембраны 300 присоединены к верхним и нижним концам плат катушек 400 так, чтобы динамик пластинчатого типа был симметричным относительно его средней линии, как показано на фиг.20.
Когда мембраны 300 присоединены к верхней и нижней частям базовой рамки 100, пара мембран 300, присоединенных к верхней и нижней частям базовой рамки 100, служит для направления колебаний плат катушек 400 и одновременно выводит звук соответственно вверх и вниз от базовой рамки 100.
Конструкция, в которой направляющее средство используют в качестве другой мембраны 300, может использоваться в различных осуществлениях независимо от формы плат катушек 400 .
Хотя настоящее изобретение было описано подробно на базе предпочтительных вариантов осуществления, объем настоящего изобретения не ограничен отдельными осуществлениями, а определяется приложенной формулой изобретения. Далее, понятно, что специалист в этой области техники может осуществить различные модификации и изменения, не отступая от объема правовой охраны настоящего изобретения.
Например, динамик пластинчатого типа по настоящему изобретению может включить только один магнит. В этом случае, тело магнита может быть сконструировано по разному так, что два различных полюса магнита располагаются один напротив другого с определенным зазором между ними. В то же время, в противоположность проиллюстрированным вариантам осуществления, полюса магнита могут быть размещены горизонтально только в один ряд. Далее, только часть платы звуковой катушки, которая соответствует одному из двух концов платы звуковой катушки, когда звуковая катушка выполнена горизонтальной, может быть вставлена между обращенными друг к другу противоположными полюсами тела магнита.
Промышленная применимость
Использование динамика пластинчатого типа с направляющим средством платы катушки согласно настоящему изобретению позволяет направлять положение платы катушки таким образом, чтобы плата катушки не входила в контакт с постоянным магнитом или верхними и нижними пластинами, когда плата катушки колеблется вертикально, таким образом предотвращая искажение выходного звукового сигнала из-за взаимодействия платы катушки с внутренними элементами.
Далее, в динамике пластинчатого типа с направляющим средством платы катушки согласно настоящему изобретению имеется то преимущество, что внутренние элементы не контактируют друг с другом, что увеличивает срок службы динамика пластинчатого типа.
Формула изобретения
1. Динамик пластинчатого типа, включающий:
базовую рамку;
по крайней мере одно тело магнита, присоединенное к базовой рамке так, что обеспечено смежное боковое положение противоположных полюсов и их обособленное размещение на определенном расстоянии друг от друга;
мембрану;
по крайней мере одну плату катушки, которая выполнена со звуковой катушкой, намотанной на одну или обе ее стороны, вставлена вертикально в зазор между противоположными полюсами тела магнита и соединена с мембраной; и
направляющее средство платы катушки, присоединенное к плате катушки так, чтобы направить ее положение и направление колебаний платы катушки таким образом, чтобы плата катушки была раздельной от тела магнита и колебалась вертикально,
отличающийся тем, что базовая рамка выполнена с открытыми верхней и нижней частями, мембрана присоединена к верхнему концу платы катушки, а направляющее средство платы катушки присоединено к нижнему концу платы катушки так, чтобы выполнять функцию другой мембраны.
2. Динамик по п.1, отличающийся тем, что базовая рамка имеет по крайней мере одно отверстие, выполненное по крайней мере в части ее дна и соответствующее форме нижнего конца платы катушки так, чтобы нижний конец платы катушки проходил через дно базовой рамки, и
направляющее средство платы катушки включает фиксирующий элемент, выполненный гибким, который присоединен к нижнему концу платы катушки и к нижней поверхности базовой рамки.
3. Динамик по п.2, отличающийся тем, что фиксирующий элемент выполнен гофрированным с выступами и впадинами гофрирования, направленными вдоль продольного направления платы катушки.
4. Динамик по п.2 или 3, отличающийся тем, что фиксирующий элемент выполнен со сквозными отверстиями.
5. Динамик по любому из пп.1-3, отличающийся тем, что выполнен с несколькими телами магнитов, имеющими противоположную полярность их верхних и нижних концов, которые размещены раздельно на определенном расстоянии один от другого.
6. Динамик по п.5, отличающийся тем, что каждое из тел магнитов включает:
постоянный магнит с противоположной полярностью его верхнего и нижнего концов;
верхнюю пластину, присоединенную к верхнему концу постоянного магнита; и
нижнюю пластину, присоединенную к нижнему концу постоянного магнита и к поверхности дна базовой рамки.
7. Динамик по п.5, отличающийся тем, что оба противоположных конца звуковой катушки, намотанной с одной или обеих сторон платы катушки, расположены соответственно на уровнях верхних и нижних концов тел магнитов.
8. Динамик по любому из пп.1-3, отличающийся тем, что базовая рамка имеет по крайней мере одно отверстие, выполненное сквозь ее стенку.
9. Динамик по любому из пп.1-3, отличающийся тем, что по крайней мере одно тело магнита выполнено в форме гребенки так, чтобы соответствующие участки тела магнита с противоположными полярностями имели выступы и впадины в горизонтальном направлении, выступы были вставлены в соответствующие впадины с определенным зазором между ними, а плата катушки выполнена в форме изогнутой пластины, выполненной с возможностью ее вертикальной вставки в зазоры.
10. Динамик по любому из пп.1-3, отличающийся тем, что имеется несколько плат катушек, выполненных в форме плоских пластин, расположенных параллельно друг другу.
РИСУНКИ
|