|
|
(21), (22) Заявка: 2007101287/09, 15.06.2005
(24) Дата начала отсчета срока действия патента:
15.06.2005
(30) Конвенционный приоритет:
15.06.2004 US 10/866,812
(43) Дата публикации заявки: 20.07.2008
(46) Опубликовано: 10.02.2009
(56) Список документов, цитированных в отчете о поиске:
US 6460010 В1, 01.10.2002. US 2002/0141342 A1, 03.10.2002. US 2002/105911 A1, 08.08.2002. RU 2189072 C2, 10.09.2002. RU 2107396 C1, 20.03.1998.
(85) Дата перевода заявки PCT на национальную фазу:
15.01.2007
(86) Заявка PCT:
EP 2005/010050 (15.06.2005)
(87) Публикация PCT:
WO 2005/125098 (29.12.2005)
Адрес для переписки:
129090, Москва, ул. Б.Спасская, 25, стр.3, ООО “Юридическая фирма Городисский и Партнеры”, пат.пов. Ю.Д.Кузнецову, рег.№ 595
|
(72) Автор(ы):
САБРИ Чарли (CA), ХЭЙНС Гордон (CA), ДЖОНСОН Роберт Джон (CA)
(73) Патентообладатель(и):
АЛЬКАТЕЛЬ (FR)
|
(54) УСОВЕРШЕНСТВОВАННОЕ УСТРОЙСТВО ОБРАБОТКИ СЕТЕВОЙ СТАТИСТИКИ
(57) Реферат:
Изобретение относится к устройствам обработки сетевой статистики. Техническим результатом является обеспечение быстрой обработки статистических данных. Устройство содержит блок обработки портов для определения обновления из прямого показателя статистики, передаваемого входным PDU, блок разрешения конфликтов для помещения обновлений в запланированный поток обновлений и блок памяти для хранения статистических итогов, относящихся к операционным параметрам сети. Блок обработки портов также обрабатывает статистические результаты, извлеченные из памяти для получения обратных показателей статистики, которые помещаются в выходной PDU. Блок контроля и обработки статистики дает возможность выполнения высокоуровневой статистической обработки над выбранными обновлениями и результатами. 13 з.п. ф-лы, 3 ил.
Область техники, к которой относится изобретение
Изобретение направлено на сети связи и, в частности, на усовершенствованный сбор и обработку статистики в таких сетях.
Уровень техники изобретения
Современные сети связи состоят из разнородных сетевых устройств, физических аппаратных соединений между этими устройствами и программного обеспечения, используемого для передачи, приема и коммутирования/маршрутизации данных. В соответствии с потребностями пользователя сеть связи получает беспрецедентное развитие, которое охватывает, по меньшей мере, три широких аспекта. Первый и наиболее существенный аспект связан с увеличением размера сетей связи с ростом количества клиентов и сопряжением подсетей различных технологий, чтобы сделать возможной связь между клиентами, находящимися в удаленных друг от друга географических областях. Вторым аспектом развития сети является развитие новых, более сложных услуг, основанных на требующих широкой полосы и вычислительно интенсивных приложениях, таких как передача голоса по IP, видеоприложения, одноранговые приложения, виртуальные частные сети и т.д. Третьим аспектом этого развития является постоянно меняющаяся конфигурация сетей, когда новые более производительные технологии и оборудование становятся доступны для замены существующего оборудования, или когда существующее оборудование перемещено.
В дополнение, в большинстве случаев характер сетевого трафика радикально изменяется с этапа проектирования сети до этапа развертывания, так что возможности маршрутизации определенных соединений могут быстро становиться устаревшими, что имеет результатом неэффективное использование оборудования. Характер трафика в сети связи изменяется не только через длительные периоды времени (месяцы и годы) вследствие добавления новых абонентов или/и служб, но также через более короткие периоды (дни) во время периодических событий (например, представлений, спортивных событий), и/или в течение 24-часового промежутка времени (например, снижается в ночное время).
Для предоставления возможности управления этим быстрым развитием является желательным собирать оперативные данные о параметрах работы сети, генерировать из этих данных статистику о событиях и состояниях, которые распространяются на сетевые элементы и подсети, и устанавливать соотношения между этими событиями и состояниями для получения лучшего представления работы сети как единого целого. Статистика может быть, в конечном счете, использована, например, для оптимизации относительного распределения нагрузок трафика между выбранными маршрутами в сети, или для определения дефектных сетевых устройств или групп, или для предоставления возможности регулирования пределов предупредительной сигнализации, обнаружения атак на целостность сетей и т.д.
С развитием сети узлы все больше нуждаются в подсчете многих различных видов статистики на потенциальных тысячах потоков трафика, так что обработка и сопровождение статистики может становиться сложной задачей. Таким образом, сбор и обработка статистики включает в себя контроль различных интересующих параметров, выполнение расчетов над собранными данными для получения статистики, хранение этой статистики в структуре памяти, где данные организованы осмысленным способом, так что они могут быть быстро обновлены, извлечены и проанализированы. Каждый раз, когда определенная статистика нуждается в обновлении в памяти, должно быть считано текущее хранящееся значение, выполнено изменение значения и результирующее значение сохранено обратно в память. Сбор статистики, обработка и сопровождение могут потреблять существенную производительность обработки и пропускную способность системной шины, обе из которых должны разумно использоваться в любой системе.
Вместе с тем технологии интегральных схем и обработки полупроводников продолжают развиваться, что приводит к уменьшению размеров и повышению плотности компоновки интегральных схем, в то время как их возможности обработки и/или хранения значительно увеличиваются. Дополнительные возможности обработки становятся доступными с реализацией сложных аппаратных устройств, таких как программируемые вентильные матрицы (FPGA) для низкоуровневой обработки данных и процессоры общего применения (GPP) для обработки более высокого уровня. Недавно разработаны сетевые процессоры (NP), которые являются ориентированными на приложения процессорами инструкций, программируемыми для отдельных сетевых приложений (например, процессоры ATM-элементов, процессоры IP-пакетов и т.д.).
Однако если обработка статистики выполняется посредством NP трафика, это может снизить эффективность реализации процессором функции, для которой он предназначен, а именно, транспортировки трафика через сеть. В дополнение, во многих случаях имеется недостаточно или вообще отсутствует свободное пространство на плате NP трафика для размещения схем обработки статистики, особенно для схем памяти, необходимых для сопровождения статистики.
Специализированные устройства обработки статистики разрабатываются с целью сбора, обработки и хранения статистических данных от некоторого количества источников, чтобы облегчить задачу соответствующих NP трафика. Если устройство обработки статистики собирает данные от внешних источников, это действие использует пропускную способность шины, которая могла в других условиях использоваться для исполнения самого приложения. Поэтому полезно предоставить внешнее устройство обработки статистики, которое использует данные от встроенных NP трафика с целью устранения трафика шины, связанного с вычислениями статистики.
Например, патент США 6,460,101, озаглавленный “Способ и аппарат для сбора статистики” (Хейнес и др.), выданный 5 декабря 2002 года и переуступленный Alcatel Inc., и выделенная из него патентная заявка США № 10/201,766 описывают статистическое устройство, которое использует память, содержащую различные банки памяти для хранения статистики. Статистическое устройство “разделяет” статистические данные, относящиеся к рассматриваемым сетевым параметрам, и хранит часть во множестве банков памяти для улучшения производительности посредством преодоления конфликтов чтения/записи памяти. Таким способом статистика может быть изменена посредством добавления/вычитания к части статистики в банке памяти, таким образом, увеличивая скорость выполнения изменений. Когда требуется извлечь статистику, каждая часть считывается из соответствующего банка и части суммируются для компоновки статистики. Предмет изобретения патента США 6,460,101 и патентной заявки США № 10/201,766 включены в данный документ посредством ссылки.
Тем не менее, по-прежнему является желательным предоставить дополнительную функциональность такому устройству обработки статистики, чтобы сделать его более пригодным для быстрой обработки разнородных статистических данных, полученных в разных форматах от различных пунктов сбора статистики в сети связи.
Сущность изобретения
Целью изобретения является предоставление улучшенного устройства обработки сетевой статистики, которое преодолевает полностью или частично недостатки устройств предшествующего уровня техники.
Другой целью изобретения является предоставление устройства обработки сетевой статистики, которое делает возможным встроенное форматирование статистических данных в соответствии со средой транспортировки или интерпретации посредством другой системы, такой как система управления сетью.
Соответственно изобретение предоставляет сеть связи с устройством обработки сетевой статистики, содержащую: средство для определения обновления информации из прямого показателя статистики, переносимого входным PDU, обновление, относящееся к операционному параметру сети; блок разрешения конфликтов для помещения обновления в запланированный поток обновлений; и блок памяти для хранения итога статистики, относящейся к операционному параметру сети, и обновления итога статистики посредством упомянутого обновлением.
В дополнение, изобретение предоставляет сеть связи со способом генерирования и поддержки итогов статистики по множеству операционных параметров сети, содержащим шаги, на которых: a) определяют обновление из прямого показателя статистики, переносимого входным PDU, причем обновление относится к операционному параметру сети; b) сохраняют итог статистики для операционного параметра сети, и обновляют итог статистики, используя упомянутое обновление; и c) помещают обновление в запланированный поток обновлений статистики для ускорения выполнения шага b).
Преимущественно встроенное устройство обработки статистики, соответствующее изобретению, позволяет уменьшить трафик шины вычисления статистики, так как сбор данных и обработка выполняются на одной и той же карте. Вместе с тем устройство, соответствующее изобретению, использует недорогие микропроцессоры для выполнения большого количества статистических расчетов, что приводит к экономичной реализации при обеспечении большей обозримости в отношении транзакций, которые могут иметь место в сети или системы для предоставления информации данных отладки/потока/загрузки.
Еще одним преимуществом изобретения является то, что оно позволяет обеспечивать дополнительные приложения; например, оно предоставляет возможность выявления несанкционированного доступа или выявления потерь трафика из-за внутренних ошибок и т.д.
Краткое описание чертежей
Вышеупомянутые и другие объекты, признаки и преимущества изобретения будут очевидны из последующего более подробного описания предпочтительных вариантов осуществления, как проиллюстрировано на прилагаемых чертежах, где:
Фиг.1 – структурная схема контура сбора статистики (предшествующий уровень техники);
Фиг.2 – структурная схема устройства обработки сетевой статистики согласно варианту осуществления изобретения; и
Фиг.3 – иллюстрация функционирования устройства обработки статистики изобретения в контексте сети.
Подробное описание
На фиг.1 показана структурная схема контура 100 сбора статистики, как описано в вышеупомянутом патенте США 6,460,010; последующее описание этого чертежа предоставлено для лучшего понимания преимуществ решения, предлагаемого настоящим изобретением. В последующем термин “прямой” используется для определения направления обновления статистики (операции записи), а термин “обратный” используется для определения направления для предоставления статистических данных запрашивающей стороне (направление считывания). Следует отметить, что это относительные термины и они не должны толковаться как ограничивающие объем изобретения.
Статистическое устройство 100 на фиг.1 предназначено для минимизации ресурсов обработки, потребляемых в течение операций обновления статистики процессорами канала данных (или трафика), посредством обработки статистических обновлений 2, полученных от множества процессоров трафика (не показаны). По существу, статистическое устройство 100 может разгружать процессоры канала данных от всех операций чтения, модификации и записи, требуемых для обновления статистики. Также, поскольку каждый процессор трафика выдает единственную команду для статистического устройства, чтобы адекватным образом поддерживать различную статистику для сети, архитектура, показанная на фиг.1, приводит к дальнейшей разгрузке от некоторых функций управления процессоров пути данных.
Предпочтительно формат каждого обновления статистики стандартизирован для включения идентификатора статистики и операнда обновления, представляющего изменение в определенной статистике. Например, некоторое статистическое обновление может соответствовать биллинговой статистике для конкретного пользователя определенной сети. В этом случае один из процессоров трафика будет выдавать статистическое обновление, которое включает в себя идентификатор статистики, который определяет, что статистика биллинга для этого пользователя должна быть обновлена, и операнд обновления, который определяет изменение для этой статистики биллинга. В этом примере изменения могут увеличивать статистику биллинга на определенную величину.
Поскольку статистическое устройство обычно обрабатывает большое количество статистических обновлений, память, используемая для хранения статистики, предпочтительно является многобанковой памятью 5, 5′. Банки памяти управляются с использованием соответствующих контроллеров 4, 4′ памяти, чтобы сделать возможным параллельную обработку данных. Эта архитектура позволяет выполнять некоторое количество операций обновления в быстрой последовательности, в то же время обеспечивая то, что различные обновления одной статистики не создают помех друг другу.
Использование многобанковой памяти позволяет поддерживать множество составляющих частей для каждой статистики в различных банках в памяти, что обеспечивает эффективный доступ к памяти и значительно более высокие операционные скорости.
В дополнение, каждая многобанковая память 5, 5′ может быть использована в различных временных интервалах. Например, многобанковая память 5 используется для обработки текущих обновлений статистики, в то время как многобанковая память 5′ хранит результаты обновления статистики для предшествующих временных интервалов. В других вариантах осуществления различная многобанковая память может быть использована для хранения статистики, собранной в различные временные периоды; например, многобанковая память 5 хранит статистику на почасовой основе, тогда как многобанковая память 5′ хранит статистику для 24-часового периода; очевидно, другие интервалы времени могут подходить для других приложений.
Блок 3 управления выполняет операцию чтения для каждого запланированного обновления, для извлечения из одного из банков памяти 5, 5′ значения компонента одной из составляющих частей статистики для определенной статистики. Блок 3 управления затем объединяет операнд для определенного запланированного обновления со значением извлеченного компонента для создания обновленного значения компонента. Блок 3 управления также выполняет операцию записи для перезаписи значений компонентов, выбранных соответствующей операцией чтения, посредством сохранения обновленного значения компонента, созданного посредством операций объединения. Более того, блок 3 управления принимает и обрабатывает запросы на статистические результаты от блока 1 обработки.
Дополнительная эффективность обеспечивается упорядочением множества обновлений статистики, в результате время простоя, ассоциированное с переключением между операциями чтения и записи в многобанковой памяти 5, 5′, снижается. Соответственно блок 7 разрешения конфликтов на входной стороне статистического устройства предоставляет возможность назначения приоритета обработки статистики. Блок разрешения конфликтов включает в себя буфер 10 обновлений, устройство 11 разрешения конфликтов и блок 12 выбора. Буфер 10 обновлений может содержать индивидуальные буферы потоков, как показано, и может также включать блок запросов статистики для запросов, выданных блоком 1 обработки, так что запросы статистики также обслуживаются в соответствии с той же самой схемой разрешения конфликтов.
Устройство 11 разрешения конфликтов управляет последовательным исполнением статистических обновлений, основываясь на методе организации очередей или некоторой другой схеме назначения приоритета, и назначает приоритет данным в потоках с помощью блока 12 выбора для создания потока запланированных обновлений. Поток запланированных обновлений может быть буферизирован посредством буфера 6, который соединен с блоком 12 выбора, с целью улучшения общей пропускной способности статистического устройства.
Блок 1 обработки обеспечивает пользователя статистикой по запросу от внешнего процессора через соответствующий интерфейс. Запрашивающая сторона группирует отсчеты из множества блоков 5 памяти посредством блока 3 управления для вывода из блока 1 обработки. Для обеспечения возможности блоку 1 обработки действовать более эффективно буфер 8 результатов и блок 9 переполнения могут быть включены в статистическое устройство.
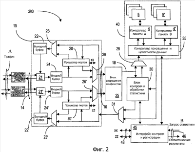
Фиг.2 иллюстрирует вариант осуществления устройства 200 обработки статистики с улучшенными функциональными возможностями согласно изобретению. В общих чертах устройство 200 обработки статистики включает в себя блок 15 обработки портов, блок 25 разрешения конфликтов, блок 30 контроля и обработки статистики, и блок 40 памяти, работа которых описана ниже. В дальнейшем формат данных, принимаемых блоком 15 обработки портов через интерфейсы 14, определяется как блок протокола данных (PDU), причем этот термин включает в себя любые форматы данных. В варианте реализации по фиг.2 входящий (входной) PDU содержит входящие показатели, которые обрабатываются устройством 200 для определения конкретного обновления для определенных статистических данных, которые должны обновляться в определенное время. Исходящий PDU на интерфейсе 14 содержит выходные показатели (обновленный статистический результат) для одного или более отслеживаемых параметров. Также термин “статистический результат” используется для данных, хранимых в блоке памяти, представляющих текущий подсчет статистики (итог), который корректируется через заданные интервалы времени приращениями, получаемыми от блока 30 контроля и обработки статистики.
Одним из главных отличий по отношению к устройству 100 обработки статистики предшествующего уровня техники, описанному выше, является то, что порты статистики (в дальнейшем называемые портами для краткости) устройства 200 снабжены развитыми логическими возможностями. А именно, устройство 200 выполняет обработку статистических показателей, принимаемых от множества источников разнородной статистики, и имеет возможность передавать статистические результаты на одну или более сторон, запрашивающих разнородную статистику.
Вариант осуществления на фиг.2 иллюстрирует блок 15 обработки портов с двумя портами, обозначенными 21 и соответственно 21′; следует отметить, что изобретение не ограничено этой конфигурацией и что устройство 200 может иметь другое количество портов. Каждый порт 21, 21′ оснащен соответствующим процессором порта 20, 20′. Каждый порт 21, 21′ передает поток входных (входящих) PDU на соответствующий процессор порта или напрямую на блок 25 разрешения конфликтов и принимает поток выходных (исходящих) PDU от процессора порта или напрямую от блока 30 контроля обработки статистики или контроллера 35 приращения и целостности данных. Как указано выше и рассмотрено более подробно в связи с действием процессоров портов, каждый порт может поддерживать различный формат PDU. Таким образом, NP1 и NP2 могут быть устройствами одного типа (например, FPGA, или NP, или GPP) или могут быть устройствами разных типов (например, NP1 может представлять собой FPGA, а NP2 может представлять собой NP или GPP и т.д.).
Обеспечение блока 15 обработки портов полезно в случае ограничений, накладываемых на ширину полосы для порта, поэтому может быть использована некоторая разновидность сжатия или кодирования данных для компоновки обновлений во входных показателях, содержащихся во входящих PDU. Эта особенность также полезна, когда источник обновлений (например, процессор трафика) не является в достаточной степени сложным для идентификации конкретной группы счетчиков, когда генерируется статистическое приращение. Следовательно, важным преимуществом является, когда входной PDU передает определенный показатель вместо получения обновлений по шине, как в решении предшествующего уровня техники, показанном на фиг.1. Эта особенность существенно уменьшает ширину полосы шины, т.к. показатели занимают меньшую ширину полосы, чем сами данные.
По тем же линиям входной PDU может передавать более одного показателя, причем каждый показатель относится к различной статистике или к той же статистике, но получаемой через хронологические промежутки времени, причем процессоры порта конфигурированы для обработки каждого показателя согласно соответствующему плану обработки. Сходная конфигурация PDU используется для выходного PDU, который может передавать один или более показателей, относящихся к статистическим результатам.
Обеспечение блока 15 обработки портов не только реализует двунаправленность, но и дает возможность обработки различных типов входных и выходных PDU. Таким образом, каждый порт (интерфейс 14) может конфигурироваться для работы с конкретным типом и интерфейсом в соответствии с сетевым процессором, который они обслуживают. Процессоры 20 и 20′ портов также могут выполнять простые статистические операции над входными показателями, принимаемыми от соответствующего порта, и над статистическим результатом, получаемым от блока 30 контроля и статистики. К тому же процессоры 20, 20′ добавляют возможность изменять формат и интерпретацию статистического приращения до его объединения с другими отсчетами в памяти.
Порты предпочтительно обеспечены входными буферами 24, 24′ и выходными буферами 22, 22′ для оптимизации работы процессоров портов. Входные буферы 24, 24′ временно хранят входные PDU до обработки процессорами 20, 20′ портов, и выходные буферы 22, 22′ временно хранят выходные PDU до предоставления их запрашивающей стороне. Размер буферов выбирается для временного хранения предопределенного количества PDU, и они разработаны для соответствующего типа интерфейса/PDU.
Поскольку устройство 200 допускает различные протоколы данных, возможно, чтобы входящие PDU не требовали интерпретации процессорами портов 20, 20′. Когда входной PDU идентифицируется как формат или протокол, который может быть передан напрямую устройству 25 разрешения конфликтов, прямой мультиплексор 26, 26′ позволяет этим обновлениям обходить соответствующие процессоры 20, 20′ портов, в свою очередь позволяя процессорам портов работать над другими задачами. Сходным образом обратные мультиплексоры 23 и 23′ позволяют передавать статистические результаты с форматом и протоколом, которые не требует интерпретации процессорами портов, напрямую в процессоры NP1 и NP2 сетевого трафика. Для удобства поток данных на интерфейсах 16 на выходе блока 15 обработки портов (то есть предварительно обработанные или не обработанные процессорами портов обновления статистики) упоминается как “обновления статистики”.
Блок 25 разрешения конфликтов управляет последовательным выполнением предварительно обработанных статистических обновлений и назначает приоритет данным для предоставления потока запланированных обновлений, обозначенного как 18, для уменьшения времени простоя, ассоциированного с переключением между операциями чтения и записи в блок 40 памяти. Поток запланированных обновлений может быть буферизирован (явно не показано) для улучшения общей пропускной способности устройства 200 обработки статистики. Процесс разрешения конфликтов может использовать циклическую схему, взвешенную схему равноправной организации очереди или некоторую другую схему назначения приоритета. Взвешенная схема равноправной организации очереди может планировать обновления на основе уровня приоритета каждого потока статистических обновлений, уровня загрузки каждого буфера потока статистических обновлений или некоторого сочетания этих двух факторов. Блок 25 разрешения конфликтов может в качестве альтернативы включать в себя кодер приоритета последовательности приема, такой, что статистические обновления выполняются во временном порядке, основанном на порядке приема, как описано в патенте 6,460,010.
Блок 30 контроля и обработки статистики обеспечивает возможность более сложного контроля и управления операциями чтения и записи, связанными с блоком 40 памяти. В прямом направлении блок 30 контроля и обработки статистики обеспечивает сложное форматирование, группировку, чтение, обновление и статистические функции над приращениями, получаемыми от блока 25 разрешения конфликтов в потоке 18 запланированных обновлений. В обратном направлении, после извлечения определенного статистического результата, блок 30 сжимает, кодирует или даже дублирует статистические результаты, предназначенные для передачи через любой из портов 21, 21′ или через локальный интерфейс 45 процессора. Некоторые статистические результаты могут быть маркированы как тип запроса только тем, что они не передаются, если только специально не запрошены, и фильтруются и отбрасываются без передачи в противном случае.
Блок 30 контроля и обработки статистики предусматривает генерацию событий реального времени, основанных на внезапных или переходных статистических состояниях. Это обеспечивает то, что сложные и трудные приложения имеют очень быстрый низкоуровневый доступ к статистическому режиму и вызывают действие на основе статистики. Блок 30 может также контролировать закономерность статистических приращений и, основываясь на сочетании статистических событий, генерировать статистические события для сохранения в статистической памяти. Эти статистические события могут проявлять краткосрочное, среднесрочное или долговременное возникновение определенных состояний в сети, которые в противном случае было бы невозможно обнаружить.
В дополнение, блок 30 контроля и обработки статистики может обеспечивать физические и связанные с защитой приложений функции, основанные на конфигурируемых пользователем порогах. Например, попытка неавторизированного использования сети может быть обнаружена, если обработка статистики, полученной, например, на порту 21, указывает на количество попыток авторизации, которые превышают порог. В этом случае блок 30 будет выпускать сигнал тревоги, который определяет порт, источник статистики и тип нарушения. Функциональность блока 30 контроля и обработки статистики может быть выполнена с использованием процессора общего применения (GPP).
Блок 40 памяти структурирован в виде блоков 5, 5′ памяти для предоставления возможности выполнения одновременно множества операций с памятью. Каждый банк 5, 5′ памяти управляется с использованием соответствующего контроллера 4, 4′ памяти; контроллеры памяти управляются контроллером 35 приращения и целостности данных, который принимает статистические приращения от блока 25.
Контроллер 35 приращения и целостности данных используется для управления обработанными статистическими приращениями в присоединенных устройствах памяти и контроля схем защиты данных. Когда статистика увеличивается, контроллер извлекает текущее статистическое значение, объединяет его соответствующим образом со статистическим приращением и вновь сохраняет новое значение в памяти, создавая новые требуемые данные защиты. Когда статистические итоги (результаты) запрашиваются, контроллер извлекает значения из памяти и передает их к соответствующей цели, если она является блоком 30 для дополнительной обработки, интерфейсом 45 контроля и регистрации для передачи через порт 46 локального процессора, или напрямую к процессору 20, 20′ порта для передачи как PDU.
Устройство 200 обработки статистики по фиг.2 имеет возможность выполнения сбора статистики, используя различные интервалы времени для различных источников показателей и различных типов статистики по мере необходимости. Например, некоторые данные могут собираться каждую секунду, другие данные – каждые 15 минут и каждую минуту. Контроллер 35 управляет банком памяти согласно этой информации. Более точно, он находит банк памяти, который доступен для хранения части обработанного статистического приращения, и отслеживает то, где части одной и той же статистики хранятся для последующего восстановления. Он также распределяет части между банками памяти согласно частоте сбора статистики (временному распределению). Эта гибкость является большим преимуществом сетевого провайдера, поскольку она не ограничена одним фиксированным интервалом, как ранее.
Устройство 200 обработки статистики, соответствующее изобретению, может также содержать интерфейс 45 контроля и регистрации, используемый для установки и контроля общего функционирования статистического процессора 30. Интерфейс 45 может быть использован для преобразования команд от интерфейса внешнего обслуживающего процессора (не показан) во внутренний формат. Он содержит регистры, которые содержат биты, которые конфигурируют или дают возможность работы компонентов (например, бит сброса, который или сбрасывает статистическое устройство или разрешает ему работать). Дополнительно статистические результаты могут быть переданы из блока 45 интерфейса процессора через порт 46, а также он предоставляет один путь (xx, zz) для процессоров 20, 20′ портов и программ блока обработки, которые должны загружаться в соответствующие хранилища памяти.
Процессоры 20, 20′ портов и блок 30 обработки могут быть использованы для дополнительных функций, таких как переадресация статистического признака и/или дублирование. Также все процессоры расположены так, что элементы памяти и пути данных могут быть протестированы на уровне приложения для проверки физической целостности. Целостность данных становится более критичной, когда статистика используется для вычисления биллинговых записей.
Устройство 200 обработки статистики, соответствующее изобретению, может также быть реализовано на ASIC или FPGA, в последнем случае процессоры портов могут обеспечивать более базовые функциональные возможности по критерию стоимость-эффективность.
Фиг.3 иллюстрирует функционирование устройства 200 обработки статистики, соответствующего изобретению, в контексте сети 50 связи. Как показано, процессоры 20, 20′ портов и блок 30 контроля и обработки статистики могут конфигурироваться через сеть 50 из станции 51 конфигурирования, присоединенной к сетевому узлу N1, используемый, например, через сервисный канал (OAM). Устройство 200 может также передавать через сеть 50 некоторую существенную статистику или предупредительные сигналы/предупреждения в процесс 50 обслуживания на узле Nn.
Формула изобретения
1. Устройство обработки сетевой статистики для сети связи, содержащее:
средство для определения обновления из прямого показателя статистики, представляющего собой показатель статистики, используемый в направлении для обновления статистики, и представляющего собой переносимый входной протокольный блок данных (PDU), причем упомянутое обновление относится к операционному параметру сети;
блок разрешения конфликтов для помещения упомянутого обновления в запланированный поток обновлений;
блок памяти для хранения статистического итога, относящегося к упомянутому операционному параметру сети, и обновления упомянутого статистического итога посредством упомянутого обновления;
средство для выполнения статистической обработки над выбранными обновлениями в упомянутом потоке обновлений для получения статистического приращения, относящегося к заданному операционному параметру сети;
средство для подачи на упомянутый блок памяти одного или обоих из упомянутого обновления и упомянутого статистического приращения и
средство для обработки статистического результата для получения обратного показателя статистики, представляющего собой показатель статистики, используемый в направлении для предоставления статистики, и предназначенного для транспортировки в виде выходного PDU,
отличающееся тем, что работа упомянутого средства для определения обновления и упомянутого средства для обработки статистического итога выполняется процессором порта,
при этом упомянутое средство для определения обновления содержит:
процессор порта для определения упомянутого обновления из упомянутого прямого показателя статистики;
входной порт для распаковки упомянутого прямого показателя статистики из упомянутого входного PDU; и
входной мультиплексор, оперативно соединенный с упомянутым процессором порта и упомянутым входным портом для предоставления упомянутого обновления на упомянутый блок разрешения конфликтов;
при этом упомянутый входной порт передает упомянутый прямой показатель статистики на упомянутый процессор порта всякий раз, когда упомянутый прямой показатель статистики требует интерпретации, и передает напрямую упомянутый прямой показатель статистики как упомянутое обновление на упомянутый входной мультиплексор, в противном случае.
2. Устройство по п.1, дополнительно содержащее средство для выполнения статистической обработки над упомянутым статистическим итогом, извлекаемым из упомянутого блока памяти, и обработки упомянутого статистического итога для получения упомянутого статистического результата.
3. Устройство по п.2, в котором работа упомянутого средства для выполнения статистической обработки над выбранными обновлениями и упомянутого средства для выполнения статистической обработки над упомянутым статистическим итогом выполняется блоком контроля и обработки статистики.
4. Устройство по п.3, в котором упомянутым блоком контроля и обработки статистики является сетевой процессор общего назначения GPP.
5. Устройство по п.1, дополнительно содержащее интерфейс между упомянутым блоком памяти и локальным потребителем статистики для передачи запроса статистики для получения определенного статистического итога в упомянутый блок памяти, и для передачи упомянутого определенного статистического итога упомянутому локальному потребителю статистики из упомянутого блока памяти.
6. Устройство по п.2, дополнительно содержащее интерфейс между упомянутым средством для выполнения статистической обработки и локальным потребителем статистики для передачи запроса статистики для получения определенного статистического результата на упомянутое средство для выполнения, и для передачи упомянутого статистического результата упомянутому локальному потребителю статистики из упомянутого средства для выполнения.
7. Устройство по п.1, в котором упомянутое средство для определения обновления дополнительно содержит входной буфер для временного хранения множества прямых показателей статистики, полученных от упомянутого входного порта.
8. Устройство по п.1, в котором упомянутое средство для обработки статистического результата содержит:
процессор порта для обработки статистического результата для получения упомянутого обратного показателя статистики;
выходной порт для упаковки упомянутого обратного показателя статистики в упомянутый выходной PDU; и
мультиплексор, оперативно соединенный с упомянутым процессором порта и блоком памяти для предоставления упомянутого обратного показателя статистики на упомянутый выходной порт.
9. Устройство по п.1, в котором упомянутое средство для обработки статистического результата содержит:
процессор порта для обработки статистического результата для получения упомянутого обратного показателя статистики;
выходной порт для упаковки упомянутого обратного показателя статистики в упомянутый выходной PDU и
мультиплексор, оперативно соединенный с упомянутым процессором порта и средством для выполнения статистической обработки над упомянутым статистическим итогом для предоставления упомянутого обратного показателя статистики на упомянутый выходной порт.
10. Устройство по п.1, в котором упомянутый блок памяти содержит:
по меньшей мере, два банка памяти, каждый из которых предназначен для хранения части упомянутого статистического итога;
по меньшей мере, два контроллера памяти, каждый из которых предназначен для управления доступом к соответствующему банку памяти для предоставления возможности параллельного доступа к упомянутым частям упомянутого статистического итога; и
средство для чтения хранимого статистического итога, объединения его с упомянутым обновлением для получения упомянутого статистического итога и сохранения упомянутого статистического итога в упомянутых банках памяти.
11. Устройство по п.1, в котором упомянутый блок памяти содержит:
по меньшей мере, два банка памяти, каждый из которых предназначен для хранения части упомянутого статистического итога;
по меньшей мере, два контроллера памяти, каждый из которых предназначен для управления доступом к соответствующему банку памяти для предоставления возможности параллельного доступа к упомянутым частям упомянутого статистического итога; и
средство для чтения хранимого статистического итога, объединения его с упомянутым приращением для получения упомянутого статистического итога и сохранения упомянутого статистического итога в упомянутых банках памяти.
12. Устройство по п.10, в котором упомянутый блок памяти дополнительно содержит средство для получения запроса статистики от потребителя статистики, извлечения упомянутого статистического итога из упомянутого банка памяти и передачи его упомянутому потребителю статистики.
13. Устройство по п.12, в котором упомянутый потребитель статистики является одним из локального потребителя, который принимает упомянутый статистический итог посредством локального интерфейса, и удаленного потребителя, который принимает упомянутый статистический итог в упомянутом выходном PDU, переданном упомянутым выходным портом посредством упомянутой сети.
14. Устройство по п.11, в котором операции упомянутого средства для чтения хранимого статистического итога и упомянутого средства для получения запроса статистики выполняются посредством контроллера приращения и целостности данных.
РИСУНКИ
|
|