|
(21), (22) Заявка: 2006137475/09, 11.05.2005
(24) Дата начала отсчета срока действия патента:
11.05.2005
(30) Конвенционный приоритет:
01.06.2004 US 60/576,214 20.07.2004 US 60/589,630
(43) Дата публикации заявки: 20.07.2008
(46) Опубликовано: 10.02.2009
(56) Список документов, цитированных в отчете о поиске:
US 6684081 B2, 27.01.2004. RU 2145775 C1, 20 02.2000. US 6628946 В1, 30 09.2003. US 6473410 В1, 29.10.2002. US 20020128035, 12.09.2002.
(85) Дата перевода заявки PCT на национальную фазу:
09.01.2007
(86) Заявка PCT:
KR 2005/001378 (11.05.2005)
(87) Публикация PCT:
WO 2005/119941 (15.12.2005)
Адрес для переписки:
125009, Москва, а/я 332, ЗАО “Инэврика”, О.Н.Майорову
|
(72) Автор(ы):
КИМ Мён-Чхоль (FR), ЫЙ Сын-Чун (KR)
(73) Патентообладатель(и):
Эл Джи Электроникс Инк. (KR)
|
(54) СПОСОБ И УСТРОЙСТВО ДЛЯ ПРЕДОСТАВЛЕНИЯ УЛУЧШЕННЫХ СООБЩЕНИЙ ПО ОБЩЕМУ УПРАВЛЯЮЩЕМУ КАНАЛУ БЕСПРОВОДНОЙ СИСТЕМЫ СВЯЗИ
(57) Реферат:
Предлагаются способ и устройство для предоставления новой конфигурации для передачи управляющей информации между мобильным терминалом и сетью с использованием общего логического канала управления «СССН»/транспортного канала. Новые конфигурации делают возможным передавать сообщения большего размера, чем сообщения, разрешаемые в настоящее время, а наличие новых конфигураций указывается так, что не оказывает влияния на мобильные терминалы, не поддерживающие новые конфигурации. Техническим результатом является улучшение передачи сигналов между мобильным терминалом и сетью. 5 н. и 50 з.п. ф-лы, 17 ил.
Область техники, к которой относится изобретение
[1] Настоящее изобретение имеет отношение к методу и устройству для расширения сигнальной информации между мобильным средством связи и сетью. В частности, настоящее изобретение направлено на способ и устройство предоставления новой конфигурации для передачи управляющей информации между мобильным терминалом, например пользовательским устройством «UE», и контроллером радиосети «RNC», используя логический общий канал управления «СССН»/транспортный канал.
Уровень техники
[2] Универсальная мобильная телекоммуникационная система «UMTS» представляет собой систему мобильной связи третьего поколения, которая явилась результатом эволюции европейского стандарта, известного как глобальная система мобильной связи «GSM». Задачей универсальной мобильной телекоммуникационной системы «UMTS» является предоставление услуг мобильной связи повышенного качества на основе базовой сети «GSM» и технологии широкополосного множественного доступа с кодовым разделением каналов (W-CDMA) в качестве технологии беспроводной связи.
[3] В декабре 1998 года организации Европейский институт стандартизации в области связи (ETSI) в Европе, Ассоциация радиопромышленности и Комитет по технологии связи (ARIB/TTC) в Японии, Комитет Т1 Института стандартов США и южнокорейская Ассоциация по телекоммуникационным технологиям (ТТА) организовали Проект о сотрудничестве по системам третьего поколения (3GPP). В проекте 3GPP разрабатываются детальные технические условия на технологию универсальной системы мобильной связи (UMTS).
[4] Для обеспечения быстрого и эффективного технического развития системы мобильной связи «UMTS» в рамках проекта 3GPP с целью стандартизации универсальной системы мобильной связи (UMTS) были созданы пять групп «TSG» по разработке технических условий с учетом независимого характера элементов сети и их работы. Каждая группа TSG разрабатывает, утверждает и контролирует стандартные технические условия в пределах соответствующей области. В числе этих групп группа по сетевой радиосвязи (TSG-RAN) разрабатывает стандарты на функции, требуемые элементы и интерфейс универсальной наземной сети радиодоступа «UTRAN», которая представляет собой новую сеть радиодоступа для поддержки технологии широкополосного множественного доступа с кодовым разделением каналов (W-CDMA) в универсальной системе мобильной связи (UMTS).
[5] Структура 1 универсальной мобильной телекоммуникационной системы «UMTS» согласно известному техническому решению показана на фиг.1. Подвижный терминал или абонентское устройство 2 «UE» подключены к базовой сети 4 через «UTRAN» – наземную сеть радиодоступа универсальной мобильной телекоммуникационной системы. Наземная сеть 6 радиодоступа «UTRAN» конфигурирует (настраивает) канал радиодоступа, осуществляет его поддержку и управляет им в целях обеспечения обмена данными между терминалом 2 «UE» и базовой сетью 4 и достижения соответствующего качества услуг по всему сквозному маршруту передачи данных.
[6] Наземная сеть 6 радиодоступа «UTRAN» состоит как минимум из одной подсистемы 8 радиосети, включающей в себя один контроллер 10 радиосети «RNC», действующий в качестве пункта доступа в базовую сеть 4, и как минимум одну базовую станцию 12 «Узел-В», управляемую соответствующим контроллером радиосети «RNC». Контроллеры 10 радиосети «RNC» логически классифицируются как управляющие контроллеры радиосети «RNC», которые распределяют общие ресурсы радиосвязи между множеством терминалов «UE» ячейки и управляют ими, и обслуживающие контроллеры радиосети «RNC», которые назначают выделенные ресурсы радиосвязи для конкретного терминала 2 «UE» ячейки и управляют этими ресурсами. Каждая базовая станция 12 «Узел-В» управляет как минимум одной ячейкой.
[7] Базовая сеть 4 может быть поделена в соответствии с видом предоставляемой услуги, а именно домен коммутации каналов «CS» и домен коммутации пакетов «PS». Например, общая услуга голосовой связи является услугой с коммутацией каналов «CS», тогда как услуга просмотра веб-страниц через подключение к сети Интернет классифицируется как услуга с коммутацией пакетов «PS».
[8] Домен коммутации каналов «CS» включает в себя коммутационный центр 14 подвижной связи «MSC», действующий как пункт доступа к наземной сети 6 радиодоступа «UTRAN», и межсетевой коммутационный центр 16 подвижной связи «GMSC», действующий как пункт доступа к внешней сети. Домен коммутации пакетов «PS» включает в себя обслуживающий узел 18 поддержки пакетной коммутации в сети подвижной связи «GPRS» (далее обслуживающий узел «SGSN»), действующий как пункт доступа к наземной сети 6 радиодоступа «UTRAN», и межсетевой узел 20 поддержки пакетной коммутации в сети подвижной связи «GPRS» (далее межсетевой узел «GGSN»), действующий как пункт доступа к внешней сети. Визитный регистр 22 местоположения посетителя «VLR» и опорный регистр 24 местонахождения «HLR» управляют информацией о регистрации пользователя.
[9] В домене коммутации каналов «CS» пунктом доступа базовой сети 4 является коммутационный центр 14 подвижной связи «MSC» через интерфейс «Iu-CS». Для поддержки услуг с коммутацией каналов контроллеры 10 радиосети «RNC» соединены с коммутационный центром 14 подвижной связи «MSC» базовой сети 4, а коммутационный центр 14 подвижной связи «MSC» соединен с межсетевым коммутационным центром 16 подвижной связи «GMSC», управляющим соединениями с другими сетями.
[10] В домене коммутации пакетов «PS» пунктом доступа базовой сети 4 является обслуживающий узел 18 «SGSN» через интерфейс «Iu-Ps». Для поддержки услуг с коммутацией пакетов контроллеры 10 радиосети «RNC» соединены с обслуживающим узлом 18 «SGSN» и межсетевым узлом 20 «GGSN» базовой сети 4. Обслуживающий узел 18 «SGSN» поддерживает связь с коммутацией пакетов с контроллером 10 радиосети «RNC», а межсетевой узел 20 «GGSN» управляет соединением с другими сетями с коммутацией пакетов, такими, как сеть Интернет.
[11] Интерфейс радиосвязи между терминалом 2 и универсальной наземной сетью 6 радиодоступа «UTRAN» реализуется на базе стандартов абонентской радиосвязи 3GPP. Обычная структура протокола радиоинтерфейса показана на Фиг.2.
[12] Как показано на Фиг.2, обычный протокол радиоинтерфейса имеет горизонтальные уровни, включающие в себя физический уровень (L1), уровень канала передачи данных (L2) и сетевой уровень (L3), а также имеет вертикальные плоскости, включающие плоскость пользователя (U-плоскость) для передачи данных пользователя и плоскость управления (С-плоскость) для передачи управляющей информации. Плоскость пользователя представляет собой область, где обрабатывается поток информационного обмена (трафик) пользователя, например, голос или пакеты Интернет-протокола «IP». Плоскость управления представляет собой область, где обрабатывается управляющая информация для сопряжения с сетью, поддержки вызовов и управления вызовами и т.п.
[13] Уровни протокола могут быть разделены на первый уровень (L1), второй уровень (L2) и третий уровень (L3) в соответствии с тремя нижними уровнями стандартной модели взаимодействия открытых систем (OSI). Первый уровень (L1) представляет собой физический уровень. Второй уровень (L2) содержит уровень управления доступом к среде «MAC», уровень управления радиоканалом радиосвязи «RLC», уровень управления широковещательной/многоадресной передачей «ВМС» и уровень протокола сходимости пакетных данных «PDCP».
[14] Физический уровень (PHY) обеспечивает услугу передачи информации на вышерасположенный уровень с использованием различных методов радиопередачи. Физический уровень связан с уровнем управления доступом к среде «MAC» через транспортные каналы.
[15] Уровень MAC управляет отображением между логическими каналами и транспортными каналами и обеспечивает присвоение параметров уровня управления доступом к среде «MAC» для распределения и перераспределения радиоресурсов. Уровень управления доступом к среде «MAC» соединен с физическим уровнем транспортными каналами и в соответствии с типом управляемого транспортного канала подразделяется на подуровень управления доступом к среде широковещательного канала – «МАС-b» (далее подуровень управления широковещательным каналом «МАС-b»), подуровень управления доступом к среде выделенного канала – «MAC-d» (далее подуровень управления выделенным каналом «MAC-d»), подуровень управления доступом к среде общего и совместно используемого каналов – «MAC-c/sh» (далее подуровень управления общим и совместно используемым каналами «MAC-c/sh») и подуровень управления доступом к среде совместно используемого канала – «MAC-hs» (далее, подуровень управления совместно используемым каналом «MAC-hs».
[16] Уровень управления доступом к среде «MAC» связан с вышерасположенным уровнем, который называется уровнем управления радиоканалом «RLC», через логический канал. Предусматриваются различные логические каналы в зависимости от вида передаваемой информации. В основном при передаче информации плоскости управления используется канал управления, а при передаче информации плоскости пользователя используется канал трафика (канал информационного потока).
[17] Логический канал может быть общим каналом или выделенным каналом в зависимости от того, является ли он совместно используемым (мультиплексным) каналом. В число логических каналов входят выделенный информационный канал «DTCH», выделенный управляющий канал «DCCH», общий информационный канал «СТСН», общий управляющий канал «СССН», широковещательный управляющий канал «ВССН» и пейджинговый управляющий канал «РССН» или совместно используемый управляющий канал «SHCCH». Широковещательный управляющий канал «ВССН» передает информацию, включающую данные, используемые терминалом 2 для доступа к базовой сети 4. Пейджинговый управляющий канал «РССН» используется универсальной наземной сетью 6 радиодоступа «UTRAN» для доступа к терминалу 2. Различные логические каналы показаны на Фиг.3.
[18] Подуровень управления широковещательным каналом «МАС-b» управляет широковещательным каналом «ВСН», который является транспортным каналом, выполняющим широковещательную передачу системной информации. В нисходящем канале связи подуровень управления общим и совместно используемым каналами «MAC-c/sh» управляет общим транспортным каналом, таким, как канал прямого доступа «FACH» или нисходящий совместно используемый канал «DSCH», который совместно используется несколькими терминалами. В восходящем канале абонентской радиосвязи подуровень управления общим и совместно используемым каналами «MAC-c/sh» управляет каналом доступа к радиосети «RACH». Таким образом каждый терминал 2 имеет один модуль подуровня управления общим и совместно используемым каналами «MAC-c/sh».
[19] Возможные отображения между логическими каналами и транспортными каналами со стороны терминала 2 проиллюстрированы на Фиг.4. Возможные отображения между логическими каналами и транспортными каналами с точки зрения универсальной наземной сети 6 радиодоступа «UTRAN» проиллюстрированы на Фиг.5.
[20] Подуровень управления выделенным каналом «MAC-d» управляет выделенным каналом «DCH», который является выделенным транспортным каналом для конкретного терминала. Соответственно подуровень управления выделенным каналом «MAC-d» универсальной наземной сети радиодоступа «UTRAN» расположен в обслуживающем контроллере радиосети «SRNC», который управляет соответствующим терминалом, и, кроме того, один подуровень управления выделенным каналом «MAC-d» имеется в каждом из терминалов «UE».
[21] Уровень управления радиоканалом «RLC» в зависимости от режима его работы поддерживает надежную передачу данных и выполняет функции сегментации и конгатенации множества блоков служебных данных уровня управления радиоканалом (далее блок служебных данных «RLC SDU»), передаваемых с вышерасположенного уровня. При приеме уровнем управления радиоканалом «RLC» блоков служебных данных «RLC SDU» с вышерасположенного уровня уровень управления радиоканалом «RLC» регулирует размер каждого блока служебных данных уровня управления радиоканалом «RLC SDU» соответствующим образом с учетом производительности обработки и затем создает определенные блоки данных с добавлением к ним информации заголовка.
[22] Блоки данных, называемые блоками протокольных данных «PDU», передаются на уровень управления доступом к среде «MAC» через логический канал. Уровень управления радиоканалом «RLC» включает в себя буфер уровня управления радиоканалом «RLC» для хранения блоков служебных данных «RLC SDU» и/или блоков протокольных данных уровня управления радиоканалом (далее блок протокольных данных «RLC PDU»). Услуги уровня управления радиоканалом «RLC» используются служебно-ориентированными уровнями протоколов в плоскости пользователя, а именно протоколом управления широковещательной/групповой передачи «ВМС» и протоколом уровня сходимости пакетных данных «PDCP», а также они используются уровнем управления радиоресурсами «RRC» для передачи данных в плоскости управления.
[23] Уровень управления широковещательной/многоадресной передачей «ВМС» планирует передачу широковещательных сообщений для ячейки (называемых далее «СВ-сообщениями»), принимаемых из базовой сети, и осуществляет широковещательную передачу «СВ-сообщений» на терминалы «UE», находящиеся в конкретной(ых) ячейке(ах). Информация заголовка, такая как идентификатор сообщения, порядковый серийный номер и схема кодирования, добавляется к «СВ сообщению», для формирования сообщения уровня управления широковещательной/многоадресной передачей «ВМС», которое должно быть передано на уровень управления радиоканалом «RLC».
[24] Уровень управления радиоканалом «RLC» добавляет информацию заголовка уровня управления радиоканалом «RLC» и передает сформированное таким образом сообщение на уровень управления доступом к среде «MAC» через общий информационный канал «СТСН», используемый как логический канал. Уровень управления доступом к среде «MAC» отображает общий информационный канал «СТСН» на канал прямого доступа «FACH», используемый как транспортный канал. Транспортный канал отображается на вспомогательный общий физический канал управления «S-ССРСН», используемый как физический канал.
[25] Уровень протокола сходимости пакетных данных «PDCP» расположен над уровнем управления радиоканалом «RLC». Уровень протокола сходимости пакетных данных «PDCP» используется для эффективной передачи данных сетевого протокола, такого как «IPv4» или «IPv6», по радиоинтерфейсу с относительно узкой полосой пропускания. Чтобы достичь этого, уровень протокола сходимости пакетных данных «PDCP» выполняет функцию уменьшения необходимой управляющей информации, используемой в проводной сети, причем функция этого типа называется сжатием заголовка.
[26] Уровень управления радиоресурсами «RRC», расположенный в самой нижней части третьего уровня (L3), определен только в плоскости управления. Уровень управления радиоресурсами «RRC» управляет передачей сигналов плоскости управления сетевого уровня (L3) между терминалом 2 и наземной сетью 6 радиодоступа «UTRAN» и управляет логическими каналами, транспортными каналами и физическими каналами в отношении настройки, реконфигурации и освобождения или отмены радиоканалов «RB». Услуга однонаправленного радиоканала относится к услуге, обеспечиваемой нижерасположенным уровнем, таким как уровень управления радиоканалом «RLC» или уровень управления доступом к среде «MAC», для передачи данных между терминалом 2 и контроллером 10 радиосети «RNC» наземной сети 6 радиодоступа «UTRAN».
[27] Радиоинтерфейс (Uu) между терминалом 2 и наземной сетью 6 радиодоступа «UTRAN» содержит уровень управления радиоресурсами «RRC» для установки, реконфигурации и освобождения однонаправленных радиоканалов, например услуги, обеспечивающей передачу данных между терминалом 2 и уровнем управления радиоканалом наземной сетью 6 радиодоступа «UTRAN». Настройка радиоканала (RB) относится к регулированию уровней протоколов и характеристик каналов, необходимых для поставки конкретных услуг, а также заданию соответствующих параметров и способов работы.
[28] Как говорится, терминал 2 «UE» будет в состоянии «RRC-соединения», когда уровень управления радиоресурсами «RRC» терминала соединен с уровнем управления радиоресурсами «RRC» соответствующего контроллера 10 радиосети «RNC», таким образом обеспечивая двунаправленную передачу сообщений уровней управления радиоресурсами «RRC». Если «RRC-соединение» отсутствует, то, как говорится, терминал 2 будет находиться в режиме «RRC-ожидания».
[29] После включения питания терминал 2 находится в режиме «RRC-ожидания» по умолчанию. При необходимости, терминал 2, находящийся в режиме «RRC-ожидания», переходит в режим «RRC-соединения» при помощи процедуры установления «RRC-соединения».
[30] Например, «RRC-соединение» устанавливается, когда требуется осуществить передачу данных по восходящей линии связи для разговора по телефону или для ответа на пейджинговое сообщение, поступившее от контроллера 10 радиосети «RNC». «RRC-соединение» соединяет терминал 2 с контроллером 10 радиосети «RNC» наземной сети 6 радиодоступа «UTRAN».
[31] Возможные в принципе варианты отображения между широкополосными радиоканалами и транспортными каналами на самом деле не всегда являются возможными. «UE»/«UTRAN» определяют возможные отображения в зависимости от состояния терминала «UE» и процедуры, выполняемой «UE»/«UTRAN».
[32] Различные транспортные каналы отображаются на различные физические каналы. Например, транспортный канал «RACH» – восходящий канал абонентской радиосвязи (канал случайного доступа), отображается на некоторый физический канал абонентской связи «PRACH», выделенный канал «DCH» может отображаться на физический выделенный канал «DPCH», канал прямого доступа «FACH» и пейджинговый канал «РСН» могут отображаться на канал «S-CCPCH» – вспомогательный общий физический канал управления, нисходящий совместно используемый канал «DSCH» отображается на физический нисходящий совместно используемый канал «PDSCH». Конфигурация физических каналов задается обменом сигналами уровней управления радиоресурсами «RRC» между контроллером 10 радиосети «RNC» и терминалом 2 «UE».
[33] Поскольку для терминалов в режиме с подключенными уровнями управления радиоресурсами «RRC» существует «RRC-соединение», универсальная наземная сеть радиодоступа «UTRAN» может определить местонахождение конкретного терминала с точностью до ячейки, например определить ячейку или группу ячеек, где находится терминал с подключенными уровнями управления радиоресурсами «RRC», и какой физический канал выслушивает упомянутый терминал «UE». Таким образом, терминал можно эффективно контролировать.
[34] В отличие от этого универсальная наземная сеть радиодоступа «UTRAN» не может определить наличие терминала, находящегося в режиме ожидания. Наличие терминалов, находящихся в режиме ожидания, может быть определено только базовой сетью, только в области большего размера, чем ячейка, например в населенном пункте или области маршрутизации. Таким образом, наличие терминалов, находящихся в режиме ожидания, определяется в больших областях, и чтобы принимать информацию услуг мобильной связи, например речь или данные, терминал из режима ожидания должен перейти в режим «RRC-соединения». Возможные переходы между режимами и состояниями показаны на Фиг.6.
[35] Терминал «UE», находящийся в режиме «RRC-соединения», может находиться в различных состояниях, например в состоянии «CELL_FACH», в состоянии «CELL_PCH», в состоянии «CELL_DCH» или в состоянии «URA_PCH». В зависимости от состояний терминал «UE» прослушивает различные каналы.
[36] Например, терминал 2 «UE», находящийся в состоянии «CELL_DCH», будет пытаться прослушивать (среди прочих) транспортные каналы типа выделенный канал «DCH», которые могут отображаться на конкретный физический выделенный канал «DPCH. Терминал 2 «UE» в состоянии «CELL_FACH» будет прослушивать несколько транспортных каналов типа канала прямого доступа «FACH», которые отображаются на конкретный вспомогательный общий физический канал управления «S-ССРСН». Терминал 2 «UE» в состоянии «CELL_PCH» будет прослушивать канал «PICH» и канал «РСН», которые отображаются на конкретный вспомогательный общий физический канал управления «S-CCPCH».
[37] Действия терминала 2 также различаются в зависимости от его состояния. Например, терминал 2 «UE» находится в состоянии «CELL_FACH» каждый раз, когда он перемещается из зоны обслуживания одной сотовой ячейки в зону обслуживания другой сотовой ячейки, исходя из различных условий, терминал начинает процедуру «CELL Update» (Обновление ЯЧЕЙКИ) посылкой на базовую станцию 12 «Узел-В» сообщения «Cell Update» для того, чтобы указать, что он сменил свое положение, затем терминал начинает прослушивание канала прямого доступа «FACH». Данная процедура также выполняется, когда терминал переходит из какого-либо другого состояния в состояние «CELL_FACH» и у него нет идентификатора «C-NRTI» (временный идентификатор радиосети сотовой ячейки), например, когда терминал переходит в указанное состояние из состояния «CELL_PCH» или из состояния «CELL_DCH», или же, когда терминал, пребывающий в состоянии «CELL_FACH», перед этим находился вне пределов зоны обслуживания сотовой ячейки.
[38] Для того чтобы различить передачу данных между контроллером 10 радиосети «RNC» и разными терминалами 2, а также для того, чтобы различить разные однонаправленные радиоканалы, которые могут быть мультиплексированы на уровне управления доступом к среде «MAC», уровень управления доступом к среде «MAC» включает заголовок в передаваемые сообщения. Тип логического канала определяет: тип заголовка уровня управления доступом к среде «MAC», который терминал 2 использует для передачи сообщения; режим универсальной мобильной телекоммуникационной системы «UMTS» («FDD» – дуплексная связь с разделением по частоте, или «TDD» – дуплексная связь с временным разделением); и транспортный канал, на который отображается логический канал. Данный заголовок может содержать идентификатор, который идентифицирует конкретный терминал 2.
[39] Существуют различные идентификаторы, используемые в заголовке уровня управления доступом к среде «MAC», для различения передач данных на/от разных терминалов 2 «UE». Контроллер 10 радиосети «RNC» назначает различные идентификаторы.
[40] Например, идентификаторы: «C-RNTI», «U-RNTI», «S-RNTI» and «H-RNTI» используются, чтобы идентифицировать данный терминал 2 «UE» в данной ячейке. Идентификатор «C-RNTI» (временный идентификатор радиосети сотовой ячейки)) используется для идентификации конкретного терминал 2 «UE» в конкретной ячейке. Идентификатор «U-RNTI» (временный идентификатор радиосети сети «UTRAN») используется для идентификации терминала 2 «UE» в конкретной наземной сети 6 радиодоступа «UTRAN». Идентификатор «S-RNTI» (временный идентификатор радиосети совместно используемого нисходящего канала прямой линии связи) идентифицирует терминал 2 «UE» на транспортном совместно используемом нисходящем канале «DSCH». Идентификатор «H-RNTI» (временный идентификатор радиосети конкретного транспортного канала в HSDPA) идентифицирует терминал 2 «UE» на данном транспортном канале HSDPA.
[41] Поля, содержащиеся в заголовке уровня управления доступом к среде «MAC» для всех транспортных каналов, за исключением транспортного канала HSDPA, показаны на Фиг.7. Поле типа целевого (заданного) канала «TCTF» указывает тип логического канала, отображаемого на данный транспортный канал, в случае, если различные логические каналы могут быть отображены на транспортный канал. Поле типа идентификатора терминала «UE-ID» является идентификатором терминала 2 «UE». Поле «С/Т» (управление/трафик) указывает, что был установлен однонаправленный радиоканал.
[42] Поле типа целевого канала «TCTF» используется, чтобы различать разные логические каналы. Различение логических каналов определяет точный формат остальной части заголовка уровня управления доступом к среде «MAC». Например, если общий управляющий канал «СССН» отображен на канал случайного доступа «RACH»/канал прямого доступа «FACH», заголовок уровня управления доступом к среде «MAC» содержит только поле типа целевого канала «TCTF», в котором содержится информация, что остальная часть заголовка блока протокольных данных «MAC PDU» содержит сообщение от транспортного канала типа общий управляющий канал «СССН».
[43] В настоящее время стандартом универсальной мобильной телекоммуникационной системы «UMTS» предусмотрено, что только радиоканал сигнализации 0 «SRBO» может использовать логический общий управляющий канал «СССН». Таким образом, нет необходимости в применении поля типа целевого канала «TCTF» при использовании логического общего управляющего канала «СССН».
[44] В восходящей линии связи в зависимости от состояния терминала 2 «UE» доступны не все транспортные каналы. Например, когда терминал 2 «UE» находится в состоянии «CELL_PACH», терминал не сможет использовать выделенный транспортный канал «DCH», однако он может использовать, например, транспортный канал случайного доступа «RACH»/канал прямого доступа «FACH».
[45] Например, для отображения выделенного канала управления «DCCH» на канал случайного доступа «RACH», терминал 2 «UE» должен иметь действующий временный идентификатор «C-RNTI». Однако если терминал 2 только что переместился в новую сотовую ячейку и намеревается начать процедуру обновления ячейки «Cell Update», для него не обязательно иметь действующий временный идентификатор «C-RNTI». Таким образом, терминал 2 «UE» может отобразить логический общий управляющий канал «СССН» только на канал случайного доступа «RACH». В кодировку сообщения общего управляющего канала «СССН», чтобы различать терминал 2 «UE», в сообщение включается «начальное обозначение», являющееся фиксированным или назначаемым для терминала 2 «UE» базовой сетью 4, или в сообщение включается временный идентификатор радиосети сети «UTRAN».
[46] Такая ситуация возникает, когда терминал 2 «UE» только что включился и хочет установить «RRC-соединение». Таким образом, терминал 2 «UE» может использовать только логический общий управляющий канал «СССН», отображенный на транспортный канал случайного доступа «RACH» для передачи сообщения с запросом на установление «RRC-соединение».
[47] Уровень управления радиоканалом «RLC» может использовать прозрачный режим «ТМ», режим без подтверждения «UM» или режим с подтверждением «AM». В зависимости от режима размер блоков протокольных данных «RLC PDU» может изменяться после каждой передачи транспортного блока. В прозрачном режиме «ТМ» и в режиме без подтверждения «UM» размер блоков протокольных данных «RLC PDU» может изменяться после каждой передачи. В режиме с подтверждением «AM» размер блока протокольных данных «PDU» не может быть изменен динамически, но только посредством переконфигурирования контроллером 10 радиосети «RNC», так как блоки протокольных данных «PDU» могут быть переданы повторно.
[48] Транспортные каналы могут обрабатывать блоки протокольных данных «RLC PDU» заранее определенных размеров. Размер транспортного блока физического уровня определяется размером блока протокольных данных «RLC PDU» и размером заголовка уровня управления доступом к среде «MAC». Разные транспортные каналы позволяют использовать транспортные блоки различных размеров, а конкретный транспортный канал может также предоставлять блоки различных размеров. В целом размеры транспортных блоков, которые может использовать терминал 2 «UE» для конкретного радиоканала, определяются контроллером 10 радиосети «RNC» или фиксируются стандартом универсальной мобильной телекоммуникационной системы «UMTS».
[49] Транспортный канал определяется его типом, например канал случайного доступа «RACH», канал прямого доступа «FACH», выделенный канал «DCH», совместно используемый нисходящий канал «DSCH» или восходящий совмещенный канал «USCH», а также его атрибутами. Некоторые атрибуты являются динамическими, а некоторые – полустатическими.
[50] Динамические атрибуты включают в себя размер транспортного блока, который является размером блока протокольных данных уровня управления доступом к среде (далее блок протокольных данных «MAC PDU»); размер набора транспортных блоков, который равен размеру блока протокольных данных «MAC PDU», умноженному на количество блоков протокольных данных «MAC PDU», которое может быть передано за один интервал времени передачи «TTI»; и интервал времени передачи, являющийся дополнительным динамическим атрибутом только для режима дуплексной связи с временным разделением – «TDD». Полустатические атрибуты включают в себя интервал времени передачи, который является обязательным для режима дуплексной связи с разделением по частоте «FDD» и дополнительным для динамической части режима дуплексной связи с временным разделением «TDD» радиоканалов в нереальном масштабе времени «NRT»; применяемую схему защиты от ошибок; тип защиты от ошибок; код Турбо; сверточный код; внеканальное кодирование, являющееся псевдостатическим только для режима дуплексной связи с временным разделением «TDD»; скорость кодирования: параметр согласования статической скорости и размер циклического избыточного кода – «CRC».
[51] Полустатическаяя часть атрибута может быть изменена только тогда, когда уровень управления радиоресурсами «RRC» меняет конфигурацию. Динамическая часть атрибута предоставляет несколько альтернатив, например в течение одного интервала времени передачи «TTI» могут быть переданы один, два или три транспортных блока. Кроме того, размер транспортного блока может быть изменен в ходе каждого интервала времени передачи.
[52] Набор значений динамической и полустатической частей называется транспортным форматом «TF». Каждый транспортный канал может использовать один или более транспортных форматов. Например, только один транспортный канал может быть отображен на физический канал случайного доступа «PRACH», канал на который направлено настоящее изобретение.
[53] Сообщение физического канала случайного доступа «PRACH» содержит информационную часть, формируемую из набора транспортных блоков, полученного уровнем управления доступом к среде «MAC», а также включает управляющую информацию, формируемую в физическом уровне. Управляющая информация включает в себя индикатор комбинации транспортного формата «TFCI», используемый для определения кодировки и транспортного формата, которые применяются для передачи данных. На Фиг.8 показана структура сообщения канала случайного доступа «RACH».
[54] Когда радиоканал отображается через логический канал на транспортный канал, не все комбинации существующего транспортного формата могут быть использованы. Допустимые комбинации транспортного формата определяются протоколом уровня управления радиоресурсами «RRC», как это указано в информации об отображении радиоканала.
[55] В настоящее время стандарт универсальной мобильной телекоммуникационной системы «UMTS» определяет, что радиоканал сигнализации 0 «SRBO» всегда отображается через логический общий управляющий канал «СССН» на транспортный канал случайного доступа «RACH». В настоящее время стандарт универсальной мобильной телекоммуникационной системы «UMTS» указывает, что терминалу 2 «UE» разрешается использовать только первый транспортный формат, который внесен в список для выбранного канала случайного доступа «RACH» для передачи сообщений по общему управляющему каналу «СССН».
[56] В общем случае первый транспортный формат канала случайного доступа «RACH» может нести только один транспортный блок в 168 бит. Однако сообщения, передаваемые по общему управляющему каналу «СССН», могут быть большего размера, и в некоторых ситуациях также может быть полезным применение транспортных блоков других размеров.
[57] Общий управляющий канал «СССН» настроен всегда использовать прозрачный режим «ТМ» в восходящей линии связи. Прозрачный режим «ТМ» не поддерживает функции сегментации и заполнения. Заголовок уровня управления доступом к среде «MAC» во всех случаях включает в себя только заголовок типа целевого канала «TCTF», состоящий из 2 битов. Следовательно, сообщение уровня управления радиоресурсами «RRC», которое передается в блоке служебных данных уровня управления доступом к среде «MAC SDU» (далее блок служебных данных «MAC SDU»), должно быть подогнано под требуемый размер блока служебных данных «MAC SDU».
[58] Сообщения уровня управления радиоресурсами «RRC» формируются с применением специального кодирования, известного как кодировка ASN.1. На Фиг.9 показана кодировка ASN.1 сообщения уровня управления радиоресурсами «RRC» для общего управляющего канала «СССН».
[59] Различные элементы информации, формирующие часть R99 и расширительную часть, кодируются при помощи ASN.1 для создания основного продукта. Кодирующее устройство добавляет биты заполнения, чтобы обеспечить получение количества битов, кратное 8. Для того чтобы подогнать размер блока протокольных данных «RRC PDU» под размер блока служебных данных «MAC SDU» для сообщений общего управляющего канала «СССН» в прозрачном режиме «ТМ», уровень управления радиоресурсами «RRC» добавляет дополнительное заполнение.
[60] Логический общий управляющий канал «СССН» в восходящей линии связи используется для передачи сообщений об обновлении ячейки (Cell Update), сообщений с запросом на «RRC-соединение» и сообщений об обновлении «URA» – зоны регистрации «UTRAN». Сообщения имеют различные размеры в зависимости от информации, добавляемой в сообщение. Кроме этого, сообщения содержат информацию о результатах измерений соседней сотовой ячейки, например информацию о качестве и синхронизации, замеренных на канале случайного доступа «RACH».
[61] Общеприняты способы подгонки размера сообщений, передаваемых по логическому общему управляющему каналу «СССН», таким образом, что блок протокольных данных «RLC PDU» с заголовком уровня управления доступом к среде «MAC» умещается в транспортный блок, который используется в канале случайного доступа «RACH». Общепринятый способ 1 передачи сообщений по логическому общему управляющему каналу «СССН» показан на Фиг.10.
[62] Как показано на Фиг.10, информация, относящаяся к существующим конфигурациям физического канала случайного доступа «PRACH», передается на терминал 2 «UE» (S10). Основываясь на существующих конфигурациях транспортного физического канала случайного доступа «PRACH», терминал 2 «UE» выбирает физический канал случайного доступа «PRACH» в соответствии с алгоритмом (S12). Терминал 2 формирует сообщение, включающее все элементы информации, для передачи по физическому каналу случайного доступа «PRACH» (S14). Терминал 2 сравнивает размер сообщения с размером транспортного блока первого транспортного формата соответствующего физического канала случайного доступа «PRACH» и подгоняет размер сообщения путем удаления информации об измерениях до тех пор, пока размер сообщения совпадет с размером транспортного блока (S16). Затем терминал 2 «UE» передает подогнанное по размеру сообщение по физическому каналу случайного доступа «PRACH» (S18).
[63] В системе универсальной мобильной телекоммуникационной системы «UMTS» несколько физических каналов случайного доступа «PRACH» могут быть сконфигурированы в сотовой ячейке. Терминал 2 в режиме «RRC-Idle» – «RRC-ожидание» или «RRC-connected» – «RRC-соединение» считывает список имеющихся в наличии физических каналов случайного доступа «PRACH» в блоках системной информации. Каждый физический канал случайного доступа «PRACH» может иметь список имеющихся транспортных форматов.
[64] В режиме дуплексной связи с временным разделением «TDD» интервал времени передачи «TTI» или продолжительность передачи транспортного блока для физического канала случайного доступа «PRACH» может быть различным в зависимости от транспортного формата. В режиме дуплексной связи с временным разделением «TDD» 1,28 МГц терминал 2 во всех случаях выбирает наибольший интервал времени «TTI» транспортного формата, подходящий для передачи набора транспортных блоков.
[65] В режиме дуплексной связи с разделением по частотам «FDD» каждый физический канал случайного доступа «PRACH» имеет фиксированный интервал времени передачи «TTI». Каждый транспортный формат характеризуется среди прочих характеристик размером транспортного блока и количеством транспортных блоков, которые могут быть переданы в пределах интервала времени передачи «TTI».
[66] Для того чтобы выбрать физический канал случайного доступа «PRACH», терминал 2 «UE» должен выбрать интервал времени передачи «TTI», который будет применен. После выбора интервала времени передачи «TTI» терминал 2 «UE» произвольно выбирает один физический канал случайного доступа «PRACH» из имеющихся в наличии каналов, использующих выбранную длительность интервала времени передачи «TTI». Если имеются в наличии физические каналы случайного доступа «PRACH» с другой длительностью интервала времени передачи «TTI», длительность интервала времени передачи выбирается в соответствии со способом 50, показанным на Фиг.11. В ином случае используется интервал времени передачи «TTI» конфигурированных физических каналов случайного доступа «PRACH».
[67] Как показано на Фиг.11, терминал 2 «UE» выбирает на шаге S52 транспортный формат с интервалом времени передачи «TTI» длительностью 10 мс на основе имеющихся в наличии транспортных форматов. Из транспортных форматов, поддерживаемых всеми физическими каналами случайного доступа «PRACH», сохраняются форматы, которые имеют интервал времени передачи «TTI» длительностью 10 мс и соответствуют размерам единичного транспортного блока всех конфигурированных уровней управления радиоканалом «RLC».
[68] Например, размер транспортного блока уровня управления радиоканалом «RLC», применимый для радиоканала «RBO», поддерживается в режиме «RRC-ожидания» («RRC-Idle»), а размеры транспортного блока уровня управления радиоканалом «RLC», конфигурированные вместе с подробной информацией отображения радиоканала «RB», поддерживаются в режиме «RRC-соединения» («RRC-connected»). Если применяются несколько транспортных форматов, терминал 2 «UE» может выбрать любой из имеющихся в наличии форматов.
[69] Предпочтительно, чтобы терминал 2 «UE» выбрал транспортный формат, который предназначен для использования в следующей передаче данных. Если такая информация отсутствует, выбирается транспортный формат, соответствующий наибольшему размеру, конфигурированному уровнем управления радиоканалом «RLC»
[70] На шаге S54 терминал 2 «UE» рассчитывает запас мощности путем определения мощности, необходимой для передачи набора транспортных блоков по каналу случайного доступа «RACH» в конкретном транспортном формате. Применяемый для этого расчета алгоритм установлен стандартом 3GPP и использует наряду с прочими входными параметрами интервал времени передачи «TTI», размер транспортного блока и количество транспортных блоков, которые требуется передать.
[71] На шаге S56 рассчитанный запас мощности сравнивается с величиной в 6 дБ. Если запас мощности превышает 6 дБ, на шаге S58 выбирается интервал времени передачи «TTI» в 10 мс. Если рассчитанный запас мощности не превышает 6 дБ, на шаге S60 выбирается интервал времени передачи «TTI» в 20 мс.
[72] Если размер сообщения общего управляющего канала «СССН» слишком большой, терминал 2 «UE» должен, используя общепринятые способы 1 и 50, полностью удалить информацию о результатах измерения соседней сотовой ячейки, например результаты измерения по каналу случайного доступа «RACH», даже несмотря на то, что информация по качеству и синхронизации может потребоваться в контроллере 10 радиосети «RNC». Без такой информации по качеству и синхронизации не может быть установлено соединение с контроллером 10 радиосети «RNC», когда терминал 2 «UE» перемещается в другую сотовую ячейку. Терминал 2 «UE» не может осуществлять передачу данных, а текущий разговор может быть прерван или новый вызов не может быть осуществлен.
[73] Поскольку стандарт универсальной мобильной телекоммуникационной системы «UMTS» ограничивает терминал 2 «UE» использованием во всех случаях размера первого транспортного блока выбранного физического канала случайного доступа «PRACH», для радиоканала сигнализации «SRBO» имеется в наличии только один размер транспортного блока. Следовательно, размер сообщений ограничивается размером транспортного блока.
[74] Было предложено изменить размер первого транспортного формата физического канала случайного доступа «PRACH». Однако нет гарантии того, что все мобильные терминалы будут поддерживать изменение размера для радиоканала сигнализации «SRBO». Таким образом, пока имеются мобильные терминалы, не поддерживающие другие размеры транспортных блоков, используемых в физическом канале случайного доступа «PRACH», сообщения, передаваемые по общему управляющему каналу «СССН» в восходящей линии связи, не могут быть расширены в новых выпусках стандарта универсальной мобильной телекоммуникационной системы «UMTS».
[75] Таким образом, существует необходимость в способе и устройстве, которые удовлетворяют требованиям нового стандарта универсальной мобильной телекоммуникационной системы «UMTS», разрешающего передачу по общему управляющему каналу «СССН» сообщений, размер которых больше, чем размер имеющихся в наличии транспортных блоков, но в то же время не влияющих на работу мобильных терминалов, которые не удовлетворяют требованиям стандарта универсальной мобильной телекоммуникационной системы «UMTS». Настоящее изобретение относится к этим и другим требованиям.
Сущность изобретения
Техническая проблема
[76] Настоящее изобретение направлено на создание способа и устройства для улучшения передачи сигналов между мобильным терминалом и сетью. В частности, изобретение направлено на способ и устройство, обеспечивающих новые конфигурации для передачи управляющей информации между мобильным терминалом и сетью с использованием логического общего канала управления/транспортного канала так, чтобы не оказывалось влияния на работу мобильных терминалов, которые не поддерживают новые конфигурации.
[77] Дополнительные свойства и преимущества изобретения будут представлены в описании, приведенном ниже, а частично станут очевидными для специалистов из описания или могут быть изучены в ходе практической реализации изобретения. Цели и другие преимущества настоящего изобретения могут быть реализованы и достигнуты посредством структуры, конкретно рассмотренной в описании и формуле изобретения, а также в прилагаемых чертежах.
Техническое решение
[78] Для достижения указанных задач и других преимуществ, а также в соответствии с назначением настоящего изобретения, как раскрыто и подробно описано в настоящем документе, настоящее изобретение воплощается в способе и устройстве, которые расширяют передачу данных между мобильным терминалом и сетью. В частности, предлагаются новые конфигурации для передачи управляющей информации между мобильным терминалом и сетью с использованием общего логического канала управления «СССН»/транспортного канала, а также обеспечивается индикация сетью новых конфигураций, доступных для использования, таким образом, что ранее используемые конфигурации продолжают оставаться доступными для использования мобильными терминалами, которые не поддерживают новые конфигурации.
[79] В одном из аспектов настоящего изобретения предлагается способ передачи в сеть управляющей информации. Способ включает в себя получение информационного сообщения, указывающего одну и более из имеющихся в наличии конфигураций для передачи сообщения, выбор одной из имеющихся в наличии конфигураций и передачу сообщения с использованием выбранной конфигурации.
[80] Предполагается, что имеющиеся в наличии конфигурации могут включать в себя ранее действующий режим конфигурации и ранее действующий идентификатор конфигурации. Ранее действующий режим конфигурации является режимом конфигурации для передачи сообщения, который может быть использован мобильными терминалами, не поддерживающими новые конфигурации, обеспечиваемые настоящим изобретением.
[81] Предполагается, что имеющиеся в наличии конфигурации могут включать в себя определенный заранее режим конфигурации и заранее определенный идентификатор. Определенный заранее режим конфигурации является новой конфигурацией для передачи сообщения, предоставляемой настоящим изобретением.
[82] Предполагается, что новая конфигурация, предоставляемая настоящим изобретением, может включать в себя дополнительный канал, увеличенный размер блока сообщения для существующего канала, новую конфигурацию отображения каналов и/или новый формат сообщения. Предпочтительно выбор одной из имеющихся в наличии конфигураций основывается на размере сообщения, подлежащего передаче.
[83] Предполагается, что может быть обеспечен новый логический канал и/или новый физический канал. Далее предполагается, что может быть предложен увеличенный размер сообщения для существующего канала, предпочтительно логического канала и/или физического канала. Более того, предполагается, что новая конфигурация отображения каналов может быть связана с отображением логического канала на физический канал.
[84] Предполагается, что информационное сообщение, указывающее имеющиеся в наличии конфигурации для передачи сообщения, может быть получено через выделенный канал. Предпочтительно, что информационное сообщение, указывающее имеющиеся в наличии конфигурации, включено в область расширения информационного сообщения.
[85] Предполагается, что информационное сообщение, указывающее имеющиеся в наличии конфигурации для передачи сообщения, может быть получено через выделенный канал. Предпочтительно информационное сообщение является сообщением об установке «RRC-соединение».
[86] В другом аспекте настоящего изобретения предлагается способ передачи управляющей информации между как минимум одним мобильным устройством связи и сетью. Способ включает в себя: предоставление новых конфигураций для передачи сообщения в одном или нескольких мобильных устройствах связи, новые конфигурации, содержащие дополнительный канал, увеличенный размер блока сообщения для существующего канала, новую конфигурацию отображения каналов и/или новый формат сообщения, передачу информационного сообщения, указывающего новые конфигурации из сети для одного или нескольких мобильных устройств связи, выбор одной из нескольких новых конфигурации в мобильных устройствах связи и передачу с использованием выбранной конфигурации сообщения из мобильных устройств связи в сеть.
[87] Предполагается, что может быть предоставлен новый логический канал и/или новый физический канал. Далее предполагается, что может быть обеспечен увеличенный размер сообщения для существующего канала, предпочтительно логического канала и/или физического канала. Более того, предполагается, что новая конфигурация отображения каналов может быть связана с отображением логического канала на физический канал. Предпочтительно, выбор одной конфигурации из нескольких новых основывается на размере сообщения, подлежащего передаче.
[88] Предполагается, что информационное сообщение, указывающее новые конфигурации для передачи сообщения, может быть передано по общему каналу множеству мобильных устройств связи. Предпочтительно, информация, указывающая новые доступные конфигурации, включена в область расширения информационного сообщения так, что мобильные устройства связи, которые не зарегистрируют новые конфигурации, не обработают информацию.
[89] Предполагается, что информационное сообщение, указывающее новые конфигурации для передачи сообщения, может быть передано через выделенный канал конкретному мобильному устройству связи. Предпочтительно, информационное сообщение является сообщением об установлении «RRC-соединения».
[90] В другом аспекте настоящего изобретения предлагается способ передачи в сеть управляющей информации. Способ включает в себя передачу информационного сообщения, указывающего одну и более имеющихся в наличии конфигураций для передачи сообщения и получения сообщения с использованием одной из имеющихся в наличии конфигураций.
[91] Предполагается, что имеющиеся в наличии (доступные) конфигурации могут включать в себя ранее действующий режим конфигурации и ранее действующий идентификатор конфигурации. Действующий режим конфигурации является режимом конфигурации для передачи сообщения, который может быть использован мобильными терминалами, не поддерживающими новые конфигурации, предлагаемые настоящим изобретением.
[92] Предполагается, что имеющиеся в наличии конфигурации могут включать в себя определенный заранее режим конфигурации и заранее определенный идентификатор. Определенный заранее режим конфигурации является новой конфигурацией для передачи сообщения, предоставляемой настоящим изобретением.
[93] Предполагается, что новая конфигурация, предлагаемая настоящим изобретением, может включать в себя дополнительный канал, увеличенный размер блока сообщения для существующего канала, новую конфигурацию отображения каналов и/или новый формат сообщения. Предпочтительно, информационное сообщение является сообщением об установке «RRC-соединения».
[94] Предполагается, что может быть обеспечен новый логический канал и/или новый физический канал. Более того, предполагается, что новая конфигурация отображения каналов может быть связана с отображением логического канала на физический канал.
[95] Предполагается, что информационное сообщение, указывающее имеющиеся в наличии конфигурации для передачи сообщения, может быть передано через выделенный канал множеству мобильных терминалов. Предпочтительно, что информация, указывающая имеющиеся в наличии конфигурации, включена в область расширения информационного сообщения.
[96] Предполагается, что информационное сообщение, указывающее имеющиеся в наличии конфигурации для передачи сообщения, может быть передано через выделенный канал конкретному мобильному терминалу. Предпочтительно, информационное сообщение является сообщением об установке «RRC-соединения».
[97] В другом аспекте настоящего изобретения предлагается мобильное устройство связи для передачи управляющей информации в сеть. Мобильное устройство связи включает в себя ВЧ модуль, антенну, клавиатуру, дисплей, блок памяти и блок обработки данных.
[98] Антенна и ВЧ модуль принимают информационное сообщение из сети и передают сообщение в сеть. Клавиатура дает возможность пользователю вводить информацию. Дисплей передает информацию пользователю. Блок памяти хранит информацию, связанную с одной или несколькими конфигурациями. Блок обработки данных выполняет предусмотренные настоящим изобретением способы обработки информационного сообщения, указывающего имеющиеся в наличии (доступные) конфигурации, для передачи сообщения, выбирает одну имеющуюся в наличии конфигурацию и передает сообщение, используя выбранную конфигурацию.
[99] В другом аспекте настоящего изобретения предлагается сеть для передачи управляющей информации одному или нескольким мобильным терминалам. Сеть включает в себя передатчик, приемник и контроллер.
[100] Передатчик передает информационное сообщение одному или нескольким мобильным терминалам. Приемник принимает сообщение от одного или нескольких мобильных терминалов. Контроллер реализует предусмотренные настоящим изобретением способы с целью формирования информационного сообщения, указывающего одну или несколько конфигураций для передачи сообщения и для обработки сообщений, переданных одним или несколькими мобильными терминалами при использовании одной из имеющихся в наличии конфигураций.
[101] Необходимо понимать, что предшествующее обобщенное описание и последующее подробное описание настоящего изобретения являются иллюстративными и пояснительными и предназначены для дополнительного пояснения заявленного изобретения.
Краткое описание чертежей
[102] Сопроводительные чертежи, прилагаемые для лучшего понимания изобретения и составляющие часть настоящей заявки, иллюстрируют варианты осуществления изобретения, и вместе с описанием служат для лучшего понимания принципов настоящего изобретения. На этих чертежах:
[103] На Фиг.1 показана блок-схема известной структуры сети универсальной мобильной телекоммуникационной системы «UMTS».
[104] На Фиг.2 показан стандартный протокол радиоинтерфейса.
[105] На Фиг.3 показаны различные логические каналы в стандартном протоколе радиоинтерфейса.
[106] На Фиг.4 показаны возможные отображения логических каналов на транспортные каналы на стороне мобильного терминала в стандартном протоколе радиоинтерфейса.
[107] На Фиг.5 показаны возможные отображения логических каналов на транспортные каналы на стороне базовой сети в стандартном протоколе радиоинтерфейса.
[108] На Фиг.6 показаны возможные переходы между режимами и состояниями традиционного мобильного терминала.
[109] На Фиг.7 показаны поля, содержащиеся в заголовке уровня управления доступом к среде «MAC» в традиционном протоколе радиоинтерфейса для всех транспортных каналов, за исключением транспортного канала «HS-DSCH» – высокоскоростной совместно используемый нисходящий канал.
[110] На Фиг.8 показана традиционная структура сообщения канала случайного доступа «RACH».
[111] На Фиг.9 показано традиционное «ASN.1» кодирование сообщения уровня управления радиоресурсами «RRC» для общего управляющего канала «СССН».
[112] На Фиг.10 показан традиционный способ передачи сообщений по логическому общему управляющему каналу «СССН».
[113] На Фиг.11 показан традиционный способ выбора длительности интервала времени передачи «TTI» с целью выбора физического канала случайного доступа «PRACH» для передачи сообщений в режиме дуплексной связи с разделением по частоте «FDD».
[114] На Фиг.12 показан способ передачи сообщений по логическому общему каналу управления «СССН» в соответствии с одним из осуществлений настоящего изобретения
[115] На Фиг.13 показан способ выбора длительности интервала времени передачи «TTI» с целью выбора физического канала случайного доступа «PRACH» для передачи сообщений в режиме дуплексной связи с разделением по частоте «FDD».
[116] На Фиг.14 показан способ передачи указания имеющихся в наличии конфигураций физического канала случайного доступа «PRACH» путем использования сообщения, переданного множеству мобильных терминалов, в соответствии с одним из вариантов осуществления настоящего изобретения.
[117] На Фиг.15 показан способ передачи указания имеющихся в наличии конфигураций физического канала случайного доступа «PRACH» путем использования сообщения, переданного конкретному мобильному терминалу, в соответствии с одним из вариантов осуществления настоящего изобретения.
[118] На Фиг.16 показано мобильное устройство связи в соответствии с одним из примеров осуществления настоящего изобретения.
[119] На Фиг.17 показана сеть в соответствии с одним из примеров осуществления настоящего изобретения.
Примеры осуществления изобретения
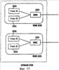
[120] Настоящее изобретение имеет отношение к способу и устройству, обеспечивающих новые конфигурации для передачи управляющей информации между мобильным терминалом, например пользовательским устройством «UE» и контроллером радиосети «RNC», с использованием логического общего управляющего канала «СССН»/транспортного канала так, чтобы не оказывалось влияния на работу мобильных терминалов, которые не поддерживают новые конфигурации. Несмотря на то, что настоящее изобретение рассматривается относительно мобильного терминала, предполагается, что оно может быть использовано в любое время, когда возникает потребность в новых конфигурациях для передачи управляющей информации между мобильным устройством связи и сетью.
[121] Далее будут подробно рассмотрены предпочтительные варианты осуществления настоящего изобретения, примеры которых иллюстрируются на сопроводительных чертежах. На всех чертежах одинаковые элементы указаны с использованием одинаковых или аналогичных условных обозначений.
[122] В настоящем изобретении предлагается использовать новую конфигурацию для передачи сообщений уровня управления радиоресурсами «RRC» радиоканала сигнализации «SRBO». Новая конфигурация предназначена для создания возможности передавать по общему управляющему каналу «СССН» сообщения, которые больше сообщений, разрешенных для передачи в настоящее время. Создание возможности для передачи сообщений большего размера, например сообщений, содержащих дополнительную информацию, по общему управляющему каналу «СССН», может предотвратить удаление из сообщений, посылаемых по общему управляющему каналу «СССН», важной информации о качестве и синхронизации, например результаты измерений на канале случайного доступа «RACH». Существует несколько путей возможной реализации новой конфигурации.
[123] Первый вариант реализации новой конфигурации предусматривает новый физический канал случайного доступа «PRACH», который предполагается использовать только терминалом 2 «UE», поддерживающим применение дополнительного физического канала случайного доступа «PRACH». Новый физический канал случайного доступа «PRACH» может быть указан путем использования существующих сообщений с системной информацией так, что только терминал 2 «UE», поддерживающий применение нового физического канала случайного доступа «PRACH», может использовать новый канал для передачи сообщений по общему управляющему каналу «СССН» на новом физическом канале случайного доступа «PRACH».
[124] Второй вариант реализации новой конфигурации разрешает терминалу 2 «UE» использовать разные транспортные форматы на том же канале случайного доступа «RACH», который используется на данный момент для передачи сообщений через общий управляющий канал «СССН». Может быть реализован новый логический канал, например расширенный общий канал управления «ЕСССН», который может быть отображен на любую комбинацию транспортных форматов имеющихся в наличии каналов случайного доступа «RACH». Контроллер 10 радиосети «RNC» должен указать, может ли терминал 2 «UE» использовать расширенный общий управляющий канал, например, в существующем сообщении с системной информацией, в сообщениях уровня управления радиоресурсами «RRC» или в других сообщениях, передаваемых от контроллера радиосети «RNC» на терминал 2 «UE».
[125] Третий вариант осуществления позволяет осуществлять отображение общего управляющего канала «СССН» на другие размеры транспортных блоков существующего канала случайного доступа «RACH». Это не должно приводить к необходимости изменять структуру терминала 2 «UE» или базовой сети 4, так как должно измениться только отображение физического канала случайного доступа «PRACH».
[126] В соответствии с третьим вариантом осуществления контроллер 10 радиосети «RNC» может предупреждать о том, разрешено ли терминалу 2 «UE» отображать общий управляющий канал «СССН» на любой физический канал случайного доступа «PRACH», а также разрешены ли любые размеры транспортного блока физического канала случайного доступа «PRACH» или только конкретные размеры транспортного блока физического канала случайного доступа «PRACH». Контролер 10 радиосети «RNC» может указывать номера записей в списке разрешенных размеров транспортного блока физического канала случайного доступа «PRACH». С другой стороны, отображение общего управляющего канала «СССН» на любой физический канал случайного доступа «PRACH» может быть разрешено без какого-либо указания со стороны контроллера 10 радиосети «RNC».
[127] Четвертый вариант осуществления изобретения позволяет использовать новый формат сообщения. Новый формат сообщения может быть адаптирован, чтобы включать в себя только самые необходимые данные. Например, начальные значения (START values) могут быть удалены из сообщения о запросе на соединение с уровнем управления радиоресурсами «RRC», так как начальные значения также передаются в первоначальном сообщении о прямой передаче.
[128] На Фиг.12 показан способ 100 выбора конфигурации для передачи сообщения по физическому каналу случайного доступа «PRACH» в соответствии с одним из примеров осуществления настоящего изобретения. Способ 100 включает в себя передачу терминалу 2 «UE» информации, указывающей имеющиеся в наличии конфигурации физического канала случайного доступа «PRACH» (S102), выбор одной из имеющихся в наличии конфигураций физического канала случайного доступа «PRACH» (S104), формирование сообщения, которое требуется передать с использованием выбранной конфигурации физического канала случайного доступа «PRACH» (S106), адаптацию сформированного сообщения под размер транспортного блока, если это необходимо (S108), и передачу сообщения по физическому каналу случайного доступа «PRACH» (S110).
[129] При выполнении операции (S102) контроллер 10 радиосети «RNC» передает терминалу 2 «UE» информацию, указывающую имеющиеся в наличии (доступные) конфигурации физического канала случайного доступа «PRACH». Имеющиеся в наличии конфигурации физического канала случайного доступа «PRACH» могут включать в себя существующие или действующие конфигурации, поддерживаемые всеми терминалами 2 «UE» и/или заранее определенные новые или расширенные конфигурации, которые могут поддерживаться не всеми терминалами.
[130] Расширенные конфигурации физического канала случайного доступа «PRACH» могут содержать один или несколько вариантов из четырех заранее заданных вариантов реализации; новый физический канал случайного доступа, новый логический канал, такой как расширенный общий канал управления «ЕСССН», отображение общего управляющего канала «СССН» на другие размеры транспортного блока существующего канала случайного доступа и/или новый формат сообщения. Указание имеющихся в наличии конфигураций физического канала случайного доступа «PRACH» может включать в себя режим конфигурации и идентификатор конфигурации для каждой имеющейся в наличии ранее действующей конфигурации и для каждой имеющейся в наличии заранее заданной конфигурации.
[131] При выполнении операции S104 терминал 2 «UE» выбирает одну из имеющихся в наличии конфигураций, например, путем исполнения алгоритма, включая существующую конфигурацию физического канала случайного доступа «PRACH» и расширенные конфигурации физического канала случайного доступа «PRACH». Выбор между существующей конфигурацией физического канала случайного доступа «PRACH» и одной или несколькими расширенными конфигурациями физического канала случайного доступа «PRACH» основывается на размере сообщения, которое требуется передать, с целью выбора конфигурации физического канала случайного доступа «PRACH», обеспечивающей размер транспортного блока, который позволяет уместить все данные, содержащиеся в сообщении, и одновременно с этим добавить минимальный дополнительный объем.
[132] Предпочтительно, терминал 2 «UE» в первую очередь определяет, может ли размер транспортного блока существующих конфигураций физического канала случайного доступа «PRACH» позволить включение в сообщение всей информации, относящейся к результатам измерения соседних сотовых ячеек, например информации о качестве и синхронизации, такой как результаты измерения на канале случайного доступа «RACH». Если размеры транспортного блока существующих конфигураций физического канала случайного доступа «PRACH» недостаточны для включения в сообщение всей информации относящейся к результатам измерения соседних сотовых ячеек, терминал 2 «UE» выбирает одну из расширенных конфигураций физического канала случайного доступа «PRACH».
[133] При выполнении операции S106 терминал 2 «UE» формирует сообщение, которое требуется передать, включая в него все элементы информации путем использования выбранной конфигурации физического канала случайного доступа «PRACH». Если размер транспортного блока выбранной конфигурации физического канала случайного доступа «PRACH» все еще не достаточен для включения в сообщение всей информации, относящейся к результатам измерения соседних сотовых ячеек, при выполнении операции S108 терминал 2 «UE» уменьшает объем информации, относящейся к результатам измерений соседних сотовых ячеек, включенной в сообщение, с целью подогнать размер сообщения под размер транспортного блока выбранной конфигурации физического канала случайного доступа «PRACH».
[134] В режиме дуплексной связи с разделением по частотам «FDD», если терминалу 2 «UE» разрешено использовать дополнительные транспортные форматы или расширенный канал управления «ЕСССН», происходит уплотнение алгоритма определения интервала времени передачи «TTI» имеющихся в наличии физических каналов случайного доступа «PRACH». Интервал времени передачи «TTI» может быть выбран в соответствии со способом 150, показанном на Фиг.13.
[135] Как показано на Фиг.13, терминал 2 «UE» выбирает при выполнении операции S152 транспортный формат с интервалом времени передачи «TTI» 10 мс на основе имеющихся в наличии транспортных форматов. Из транспортных форматов, поддерживаемых всеми физическими каналами случайного доступа «PRACH» с расширением, сохраняются форматы, имеющие интервал времени передачи «TTI» 10 мс и соответствующие одному транспортному блоку. Если количество применяемых форматов более одного, терминал 2 «UE» может выбрать один из имеющихся форматов.
[136] Предпочтительно, терминал 2 «UE» выбирает транспортный формат, предназначенный для использования в следующей передаче. Например, для однонаправленного радиоканала «RBO»/канала управления «СССН» выбирается наименьший имеющийся размер блока уровня управления радиоканалом «RLC», позволяющий передачу следующего сообщения. Если такая информация отсутствует или если наибольший размер блока уровня управления радиоканалом «RLC» недостаточен для размещения следующего сообщения, выбирается транспортный формат, соответствующий наибольшему конфигурированному размеру уровня управления радиоканалом «RLC».
[137] При выполнении операции S154 терминал 2 «UE» рассчитывает запас мощности путем определения мощности передачи, необходимой для передачи транспортного блока по каналу случайного доступа «RACH», с применением конкретного транспортного формата. Алгоритм, применяемый для этого расчета, определен стандартом 3GPP и использует среди прочих входных параметров интервал времени передачи «TTI» 10 мс, размер транспортного блока и количество транспортных блоков, которые требуется передать.
[138] При выполнении операции S156 рассчитанный запас мощности сравнивается с величиной в 6 дБ. Если запас мощности превышает 6 дБ, при выполнении операции S158 выбирается интервал времени передачи «TTI» 10 мс. Если рассчитанный запас мощности не превышает 6 дБ, при выполнении операции S160 выбирается интервал времени передачи «TTI» 20 мс.
[139] Транспортный формат, для которого рассчитан запас мощности, затем должен быть выбран в качестве транспортного формата с интервалом TTI в 10 мс, который обеспечивает передачу сообщения радиоканала «RBO»/канала управления «СССН».
[140] Если существует несколько транспортных форматов с интервалом времени передачи «TTI» 10 мс, позволяющих передачу сообщения радиоканала «RB0»/канала управления «СССН», выбирается формат с наименьшим размером транспортного блока. Если такие форматы отсутствуют, выбирается транспортный формат наибольшего размера с интервалом времени передачи «TTI» 10 мс.
[141] В режиме дуплексной связи с временным разделением «TDD 1,28 МГц терминал 2 «UE» может выбрать транспортный формат с размером транспортного блока, конфигурированным с использованием конкретной сигнальной информации. Для радиоканала «RBO»/канала управления «СССН» терминал 2 «UE» может выбрать транспортный формат, позволяющий передачу следующего сообщения для радиоканала сигнализации «SRB0». Если такой транспортный формат не существует, необходимо выбрать транспортный формат самого большого размер, или если имеются несколько транспортных форматов, необходимо выбрать транспортный формат с транспортным блоком наименьшего размера. Если существует несколько транспортных форматов с таким размером транспортного блока, терминал 2 «UE» должен выбрать из этих транспортных форматов самый большой интервал времени передачи «TTI».
[142] Способ передачи информации, указывающей имеющиеся в наличии конфигурации физического канала случайного доступа «PRACH» для терминала 2 «UE» должен быть осуществлен таким образом, чтобы не оказать влияния на терминалы, которые не поддерживают новые конфигурации. Информация, указывающая на имеющиеся в наличии конфигурации физического канала случайного доступа «PRACH», может быть передана терминалу 2 «UE» в виде расширения системной информации, передаваемой множеству терминалов 2 «UE», например, как часть сообщения широковещательной передачи по общему каналу, как это показано на Фиг.14. С другой стороны, информация, указывающая имеющиеся в наличии конфигурации физического канала случайного доступа «PRACH», может быть передана с использованием сигнальной информации выделенного уровня управления радиоресурсами «RRC» по выделенному каналу, как это показано на Фиг.15.
[143] Как показано на Фиг.14, часть сообщения, содержащая информацию, доступную в соответствии с действующим стандартом 3GPP, может быть понятна для новых терминалов 2 «UE», поддерживающих новые конфигурации, и действующих терминалов, которые не поддерживают новые конфигурации. Указания информации о расширении считываются новыми терминалами 2 «UE» и игнорируются действующими традиционными терминалами. Информация о расширении, указывающая имеющиеся в наличии конфигурации физического канала случайного доступа «PRACH», воспринимается только новыми терминалами 2 «UE», которые поддерживают новые конфигурации.
[144] Как показано на Фиг.15, информация, указывающая имеющиеся в наличии конфигурации физического канала случайного доступа «PRACH», передается конкретному терминалу 2 «UE», поддерживающему новые конфигурации, при установлении соединения между универсальной наземной сетью 6 радиодоступа «UTRAN» и терминалом. Существующее сообщение об установлении соединения с уровнем управления радиоресурсами «RRC» – «RRC-соединение» используется для указания имеющихся в наличии конфигураций физического канала случайного доступа «PRACH».
[145] Терминал 2 «UE» запрашивает «RRC-соединение» путем передачи сообщения о запросе на «RRC-соединение» в универсальную наземную сеть 6 радиодоступа «UTRAN». Если «RRC-соединение» можно установить, универсальная наземная сеть 6 радиодоступа «UTRAN» передает сообщение на установление «RRC-соединения» терминалу 2 «UE».
[146] Сообщение на установление «RRC-соединения» включает в себя указание об имеющихся в наличии конфигурациях физического канала случайного доступа «PRACH», если терминал поддерживает новые конфигурации. Указанные имеющиеся в наличии конфигурации физического канала случайного доступа «PRACH» могут включать в себя действующую конфигурацию, например существующую конфигурацию физического канала случайного доступа «PRACH», а также одну или несколько заранее заданных новых конфигураций физического канала случайного доступа «PRACH», например, любую из расширенных конфигураций физического канала случайного доступа «PRACH», реализуя четыре ранее рассмотренных примера осуществления. Если терминал 2 «UE» является действующим терминалом, не поддерживающим новые конфигурации, в сообщение на установлении «РРС-соединение» указание о имеющихся в наличии конфигурациях физического канала случайного доступа «PRACH» не включается.
[147] После получения сообщения на установление «RRC-соединения» терминал 2 «UE» выбирает одну из имеющихся в наличии конфигураций физического канала случайного доступа «PRACH» и передает сообщение о завершении установления «RRC-соединения» универсальной наземной сети 6 радиодоступа «UTRAN». Затем терминал 2 «UE» может передавать сообщения по физическому каналу случайного доступа «PRACH», используя выбранную конфигурацию физического канала случайного доступа «PRACH».
[148] На Фиг.16 представлена блок-схема устройства для подвижной связи 200 в соответствии с настоящим изобретением, например мобильного телефона, реализующего способы по настоящему изобретению. Устройство 200 подвижной связи включает в себя блок обработки данных 210, такой как микропроцессор или процессор обработки цифровых сигналов, радиочастотный модуль 235 (ВЧ модуль), блок управления электропитанием 205, антенну 240, аккумуляторную батарею 255, дисплей 215, клавиатуру 220, блок памяти 230, такой как флэш-память, ПЗУ или статическое ОЗУ, динамик 245 и микрофон 250.
[149] Пользователь вводит командную информацию, такую как номер телефона, например, нажимая клавиши на клавиатуре 220 или с помощью речевой активации через микрофон 250. Блок обработки данных 210 принимает и обрабатывает командную информацию для выполнения соответствующей функции, такой как набор номера телефона. Рабочие данные для выполнения этой функции могут быть извлечены из блока памяти 230. Кроме этого, блок обработки данных 210 может отображать командную и рабочую информацию на дисплее 215 для сведения и удобства пользования.
[150] Блок обработки данных 210 выдает командную информацию на ВЧ модуль 235 для начала связи, например, путем передачи радиосигналов, содержащих данные голосовой связи. ВЧ модуль 235 включает в себя приемник и передатчик для приема и передачи радиосигналов. Антенна 240 обеспечивает передачу и прием радиосигналов. После приема радиосигналов ВЧ модуль 235 может пересылать эти сигналы и преобразовать их в полосе частот модулирующего сигнала для обработки блоком обработки данных 210. Обработанные сигналы могут быть трансформированы в звуковую или читаемую информацию, например, выводимую через динамик 245.
[151] ВЧ модуль 235 и антенна 240 настроены на прием информационного сообщения из сети 4 и передачу сообщения в сеть, а блок памяти 230 приспособлен для хранения информации, связанной с одной или несколькими конфигурациями. Блок обработки данных 210 применяется, чтобы обработать информационное сообщение, указывающее одну или несколько имеющихся конфигураций для передачи сообщения, выбрать одну из имеющихся в наличии конфигураций и передать сообщение с использованием выбранной конфигурации.
[152] Для специалистов в данной области техники будет понятно, что предпочтительные варианты осуществления настоящего изобретения могут быть легко реализованы при использовании, например, блока обработки данных 210 или процессора обработки цифровых сигналов, либо самостоятельно, либо в комбинации с внешней логической интегральной схемой.
[153] На Фиг.17 показана блок-схема наземной сети 320 радиодоступа «UTRAN» в соответствии с одним из примеров осуществления настоящего изобретения. Наземная сеть 320 радиодоступа «UTRAN» включает в себя одну или несколько подсистем 325 радиосети «RNS». Каждая подсистема 325 радиосети «RNS» содержит один контроллер 323 радиосети «RNC» и несколько беспроводных базовых станций 321 «Узлы В» или базовых станций, управляемых контроллером радиосети «RNC». Контролер 323 радиосети «RNC» осуществляет распределение радиоресурсов и управляет ими и работает в качестве точки доступа по отношению к базовой сети 4. Более того, контроллер 323 радиосети «RNC» приспособлен для выполнения способов в соответствии с настоящим изобретением.
[154] Базовые станции 321 «Узлы В» принимают информацию, посланную физическим уровнем мобильного терминала 200 по восходящей линии связи, и передают данные на мобильный терминал по нисходящей линии связи. Базовые станции 321 «Узлы В» работают в качестве точек доступа или в качестве приемника и передатчика наземной сети 320 радиодоступа «UTRAN» для мобильного терминала 200.
[155] Базовые станции 321 «Узлы В» настроены на передачу информационных сообщений одному или нескольким мобильным терминалам 200 и прием сообщения от одного или нескольких мобильных терминалов. Контроллер 323 радиосети «RNC» приспособлен формировать информационное сообщение, которое указывает одну или несколько имеющихся в наличии конфигураций для передачи сообщения, и обрабатывать сообщение, которое передано одним или несколькими мобильными терминалами 200 с использованием имеющихся в наличии конфигураций.
[156] Настоящее изобретение дает возможность мобильным терминалам передавать в сеть по общему многоадресному каналу управления «СССН» сообщения, имеющие транспортный блок большего размера, чем тот, который поддерживается в настоящее время, путем предоставления расширенных конфигураций физического канала случайного доступа «PRACH». Используя существующие сообщения, переданные сетью мобильным терминалам для указания имеющихся в наличии конфигураций физического канала случайного доступа «PRACH», терминалы, поддерживающие расширенные конфигурации физического канала случайного доступа «PRACH», могут применять расширенные конфигурации, в то время как мобильные терминалы, не поддерживающие расширенные конфигурации физического канала случайного доступа «PRACH», могут использовать существующие конфигурации.
[157] Хотя настоящее изобретение описано в контексте подвижной связи, его можно также использовать во многих беспроводных системах связи, использующих мобильные устройства, такие, как карманные и портативные компьютеры, оснащенные функциями беспроводной связи. Кроме того, использование определенных терминов для описания настоящего изобретения не должно ограничивать области действия настоящего изобретения беспроводными системами связи определенного типа, такими, как универсальная система мобильной связи «UMTS». Настоящее изобретение также применимо к другим беспроводным системам связи, использующим различные беспроводные интерфейсы и/или физические уровни, например TDMA (множественный доступ с временным разделением), CDMA (множественный доступ с кодовым разделением каналов), FDMA (множественный доступ с частотным разделением), WCDMA (широкополосный множественный доступ с разделением каналов) и т.д.
[158] Предпочтительные примеры осуществления настоящего изобретения могут быть реализованы в виде способа, устройства или промышленного изделия с использованием стандартного программирования и/или технических средств, для производства программного обеспечения, встроенных программ, аппаратных средств или любых их сочетаний. Термин «промышленное изделие», используемый здесь, относится к кодовому или логическому элементу, внедренному в аппаратную логику (например, интегральная схема, программируемая пользователем вентильная матрица (FPGA), специализированная интегральная схема (ASIC), и т.д.) или компьютерным носителям данных [например, носители с магнитной запоминающей средой (например, жесткие диски, гибкие диски, ленточные накопители и т.д.), оптическое запоминающее устройство (компакт-диски (CD-ROM), оптические диски и т.д.), энергозависимые и энергонезависимые запоминающие устройства (например, EEPROM – электронно-перепрограммируемые постоянные запоминающие устройства), ROM (постоянные запоминающие устройства (ПЗУ)), PROM (программируемые постоянные запоминающие устройства (ППЗУ)), RAM (оперативные запоминающие устройства (ОЗУ)), DRAM (динамические ОЗУ), SRAM (статические ОЗУ), встроенные программы, программируемая логика и т.д.)].
[159] Встроенные программы на считываемом компьютером носителе доступны процессору и могут им исполняться. Встроенные программы, в которых внедрены предпочтительные примеры осуществления настоящего изобретения, могут быть доступны через передающую среду или через файловый сервер сети. В таких случаях промышленное изделие, в котором используются машинные программы, может содержать передающую среду, такую, как линия передачи в сети, беспроводные средства связи, распространение сигналов через пространство, радиоволны, инфракрасные сигналы и т.д.. Конечно, специалист в данной области техники осознает, что в этой конфигурации может быть сделано множество модификаций, не выходящих за пределы области действия настоящего изобретения, и что промышленное изделие может содержать любой известный в данной области техники носитель информации.
[160] В примерах реализации логических схем, показанных на чертежах, конкретные действия выполняются в определенной последовательности. В вариантах реализации определенные действия в логических интегральных схемах могут быть выполнены в другой последовательности, изменены или удалены, однако при этом предпочтительные варианты осуществления настоящего изобретения остаются реализованными. Более того, в вышеуказанных логических интегральных схемах выполняемые операции могут быть добавлены и, тем не менее, они соответствуют реализации настоящее го изобретения.
Формула изобретения
1. Способ передачи управляющей информации от мобильного терминала в сеть, включающий в себя:
прием первого сообщения, при этом в первое сообщение включают информацию, указывающую как минимум одну из имеющихся в наличии конфигураций для передачи второго сообщения, причем во второе сообщение включают как минимум часть управляющей информации;
выбор как минимум одной из имеющихся в наличии конфигураций,
и
передачу второго сообщения, с использованием выбранной конфигурации.
2. Способ по п.1, где как минимум одна имеющаяся в наличии конфигурация включает в себя режим ранее действующей конфигурации и идентификатор ранее действующей конфигурации.
3. Способ по п.1, где как минимум одна имеющаяся в наличии конфигурация включает в себя режим заранее заданной конфигурации и идентификатор заранее заданной конфигурации.
4. Способ по п.3, где режим заранее заданной конфигурации содержит как минимум один дополнительный канал, увеличенный размер блока сообщения для существующего канала, новую конфигурацию отображения канала, а также новый формат сообщения.
5. Способ по п.4, где дополнительный канал содержит как минимум один из логических и физических каналов.
6. Способ по п.4, где существующий канал содержит как минимум один из логических и физических каналов.
7. Способ по п.4, где новая конфигурация отображения канала связана с отображением логического канала на физический канал.
8. Способ по п.1, где первое сообщение принимают по общему каналу.
9. Способ по п.8, где информацию, указывающую как минимум одну из имеющихся в наличии конфигураций для передачи второго сообщения, включают в область расширения первого сообщения.
10. Способ по п.1, где первое сообщение принимают по выделенному каналу.
11. Способ по п.10, где первое сообщение является сообщением на установлении соединения с уровнем управления радиоресурсами – «RRC-соединения».
12. Способ по п.1, где выбор как минимум одной из имеющихся в наличии конфигураций включает в себя определение размера второго сообщения.
13. Способ передачи управляющей информации как минимум между одним мобильным устройством и сетью, включающий в себя:
обеспечение как минимум в одном мобильном устройстве связи как минимум одной новой конфигурации для передачи сообщения, при этом как минимум одна новая конфигурация, содержит как минимум дополнительный канал, увеличенный размер блока сообщения для существующего канала, новую конфигурацию отображения канала, а также новый формат сообщения;
передачу из сети как минимум одному мобильному устройству связи первого сообщения, при этом в первое сообщение включают информацию, указывающую как минимум одну новую конфигурацию;
выбор как минимум в одном мобильном устройстве связи как минимум одной из новых конфигураций, и
передачу с использованием выбранной конфигурации как минимум от одного мобильного устройства связи в сеть второго сообщения, включающего в себя как минимум часть управляющей информации.
14. Способ по п.13, где дополнительный канал содержит как минимум один из логических и физических каналов.
15. Способ по п.13, где существующий канал содержит как минимум один из логических и физических каналов.
16. Способ по п.13, где новая конфигурация отображения связана с отображением логического канала на физический канал.
17. Способ по п.13, где первое сообщение передают по общему каналу множеству мобильных устройств связи.
18. Способ по п.17, где информацию, указывающую как минимум одну новую конфигурацию, включают в область расширения первого сообщения так, что в мобильном устройстве связи, в котором не зарегистрируют, по крайней мере, одну новую конфигурацию, не обработают эту информацию.
19. Способ по п.13, где первое сообщение передают по выделенному каналу конкретному мобильному устройству связи.
20. Способ по п.19, где первое сообщение является сообщением на установление соединения с уровнем управления радиоресурсами – «RRC-соединения».
21. Способ по п.13, где выбор как минимум одной из новых конфигураций включает в себя определение размера второго сообщения.
22. Способ передачи управляющей информации как минимум одному мобильному устройству, включающий в себя:
передачу первого сообщения как минимум одному мобильному терминалу, при этом в первое сообщение включают информацию, указывающую как минимум одну имеющуюся в наличии конфигурацию для передачи второго сообщения, причем во второе сообщение включают как минимум часть управляющей информации, и
прием второго сообщения как минимум от одного мобильного терминала, при этом второе сообщение пересылают с использованием как минимум одной из имеющихся в наличии конфигураций.
23. Способ по п.22, где как минимум одна имеющаяся в наличии конфигурация включает в себя режим ранее действующей конфигурации и идентификатор ранее действующей конфигурации.
24. Способ по п.22, где как минимум одна имеющаяся в наличии конфигурация включает в себя режим заранее заданной конфигурации и идентификатор заранее заданной конфигурации.
25. Способ по п.24, где режим заранее заданной конфигурации содержит как минимум один дополнительный канал, увеличенный размер блока сообщения для существующего канала, новую конфигурацию отображения канала, а также новый формат сообщения.
26. Способ по п.25, где дополнительный канал содержит как минимум один из логических и физических каналов.
27. Способ по п.25, где существующий канал содержит как минимум один из логических и физических каналов.
28. Способ по п.25, где новая конфигурация отображения канала связана с отображением логического канала на физический канал.
29. Способ по п.22, где первое сообщение передают по общему каналу множеству мобильных терминалов.
30. Способ по п.29, где информацию, указывающую как минимум одну имеющуюся в наличии конфигурацию, включают в область расширения первого сообщения.
31. Способ по п.22, где первое сообщение передают по выделенному каналу конкретному мобильному терминалу.
32. Способ по п.31, где первое сообщение представляет собой сообщение на установление соединения с уровнем управления радиоресурсами – «RRC-соединения».
33. Мобильное устройство связи для передачи управляющей информации в сеть, содержащее:
радиочастотный (ВЧ) модуль, приспособленный для приема первого сообщения из сети и передачи второго сообщения в сеть, при этом первое сообщение включает в себя информацию, указывающую как минимум одну имеющуюся в наличии конфигурацию для передачи второго сообщения, а второе сообщение, включает в себя как минимум часть управляющей информации; антенну, приспособленную для приема первого сообщения из сети и передачи в сеть второго сообщения;
клавиатуру для ввода информации пользователем;
блок памяти, приспособленный для хранения информации, связанной как минимум с одной конфигурацией для передачи второго сообщения;
дисплей, приспособленный для передачи информации пользователю,
и
блок обработки данных, приспособленный, чтобы обработать первое сообщение, выбрать как минимум одну из имеющихся в наличии конфигураций, и передать второе сообщение с использованием выбранной конфигурации.
34. Мобильное устройство связи по п.33, где как минимум одна имеющаяся в наличии конфигурация включает в себя режим ранее действующей конфигурации и идентификатор ранее действующей конфигурации.
35. Мобильное устройство связи по п.33, где как минимум одна имеющаяся в наличии конфигурация включает в себя режим заранее заданной конфигурации и идентификатор заранее заданной конфигурации.
36. Мобильное устройство связи по п.35, где режим заранее заданной конфигурации содержит как минимум один дополнительный канал, увеличенный размер блока сообщения для существующего канала, новую конфигурацию отображения канала, а также новый формат сообщения.
37. Мобильное устройство связи по п.36, где дополнительный канал содержит как минимум один из логических и физических каналов.
38. Мобильное устройство связи по п.36, где существующий канал содержит как минимум один из логических и физических каналов.
39. Мобильное устройство связи по п.36, где новая конфигурация отображения канала связана с отображением логического канала на физический канал.
40. Мобильное устройство связи по п.33, где первое сообщение принимается по общему каналу.
41. Мобильное устройство связи по п.40, где информация, указывающая как минимум одну новую конфигурацию, включена в область расширения первого сообщения.
42. Мобильное устройство связи по п.33, где первое сообщение принимается по выделенному каналу.
43. Мобильное устройство связи по п.42, где первое сообщение представляет собой сообщение на установление соединения с уровнем управления радиоресурсами – «RRC-соединения».
44. Мобильное устройство связи по п.33, где процессор приспособлен для выбора как минимум одной из имеющихся в наличии конфигураций путем определения размера второго сообщения.
45. Сеть для передачи управляющей информации как минимум одному мобильному терминалу, содержащая:
передатчик, приспособленный для передачи первого сообщения как минимум одному мобильному терминалу, при этом первое сообщение включает в себя информацию, указывающую как минимум одну конфигурацию для передачи второго сообщения;
приемник, приспособленный для приема второго сообщения как минимум от одного мобильного терминала, второе сообщение включает в себя как минимум часть управляющей информации, и
контроллер, приспособленный, чтобы генерировать первое сообщение и обработать второе сообщение, переданное с использованием как минимум одной из имеющихся в наличии конфигураций как минимум от одного мобильного терминала.
46. Сеть по п.45, где как минимум одна имеющаяся в наличии конфигурация включает в себя режим ранее действующей конфигурации и идентификатор ранее действующей конфигурации.
47. Сеть по п.45, где как минимум одна имеющаяся в наличии конфигурация включает в себя режим заранее заданной конфигурации и идентификатор заранее заданной конфигурации.
48. Сеть по п.47, где режим заранее заданной конфигурации содержит как минимум один дополнительный канал, увеличенный размер блока сообщения для существующего канала, новую конфигурацию отображения канала, а также новый формат сообщения.
49. Сеть по п.48, где дополнительный канал содержит как минимум один из логических и физических каналов.
50. Сеть по п.48, где существующий канал содержит как минимум один из логических и физических каналов.
51. Сеть по п.48, где новая конфигурация отображения канала связана с отображением логического канала на физический канал.
52. Сеть по п.45, где первое сообщение передается по общему каналу множеству мобильных терминалов.
53. Сеть по п.52, где информация, указывающая как минимум одну имеющуюся в наличии конфигурацию, включена в область расширения первого сообщения.
54. Сеть по п.37, где первое сообщение передается по выделенному каналу конкретному мобильному терминалу.
55. Сеть по п.54, где первое сообщение представляет собой сообщение на установление соединения с уровнем управления радиоресурсами – «RRC-соединения».
РИСУНКИ
|