|
(21), (22) Заявка: 2005133406/09, 28.10.2005
(24) Дата начала отсчета срока действия патента:
28.10.2005
(30) Конвенционный приоритет:
29.10.2004 KR 2004-87347
(43) Дата публикации заявки: 10.05.2007
(46) Опубликовано: 10.02.2009
(56) Список документов, цитированных в отчете о поиске:
JP 2001-258189 А, 21.09.2001. US 6474114 В1, 05.11.2002. RU 2076437 C1, 27.03.1997. SU 1730290 A1, 30.04.1992. RU 2070241 C1, 10.12.1996. US 5825108 A, 20.10.1998. US 6396190 B1, 28.05.2002. SU 1120456 A, 23.10.1984. RU 2083051 C1, 27.06.1997.
Адрес для переписки:
103735, Москва, ул. Ильинка, 5/2, ООО “Союзпатент”, пат.пов. Ю.В.Пинчуку, рег.№ 656
|
(72) Автор(ы):
КИМ Уонг Кван (KR), КИМ Бунг Тэк (KR), ЛИ Сунг Хо (KR), КИМ Деок Дзин (KR), ПАРК Дзин Соо (KR)
(73) Патентообладатель(и):
ЭЛ ДЖИ ЭЛЕКТРОНИКС ИНК. (KR)
|
(54) ЭЛЕКТРОДВИГАТЕЛЬ, СПОСОБ ИЗГОТОВЛЕНИЯ ЕГО ИНДУКТОРА И СТИРАЛЬНАЯ МАШИНА С ТАКИМ ЭЛЕКТРОДВИГАТЕЛЕМ
(57) Реферат:
Изобретение относится к области электротехники и касается особенностей изготовления стиральной машины, содержащей электродвигатель. Сущность изобретения состоит в том, что стиральная машина содержит внешний и внутренний баки, якорь, индуктор, включающий множество магнитов, установленных по окружности индуктора так, что одинаковые полюсы обращены друг к другу, и множество магнитных прокладок, расположенных между магнитами, при этом внутренний бак расположен с возможностью вращения во внешнем баке, якорь, взаимодействующий с индуктором для придания вращения внутреннему баку, соединен с вращающимся валом стиральной машины, а индуктор образован на внешнем баке методом литьевого формования. Благодаря этому выполнению достигается технический результат, состоящий в том, что сведено к минимуму рассеивание магнитного потока индуктора, а крутящий момент увеличен по сравнению с обычным электродвигателем с такой же комплектацией и производительностью. В стиральной машине с электродвигателем магниты и магнитные прокладки интегрально прикреплены к ее внешнему баку, в результате чего габариты стиральной машины уменьшены. При этом размер внешнего и внутреннего баков в стиральной машине, выполненной в соответствии с настоящим изобретением, увеличивается по сравнению с обычной стиральной машиной тех же габаритов, вследствие чего производительность стиральной машины по настоящему изобретению значительно повышена. 2 з.п. ф-лы, 7 ил.
Область техники, к которой относится изобретение
Настоящее изобретение относится к электродвигателю, способу изготовления его индуктора и стиральной машине с таким электродвигателем, а более конкретно к электродвигателю, в котором обеспечивается минимальное рассеивание магнитного потока индуктора, благодаря чему улучшаются параметры крутящего момента, а также к способу изготовления индуктора электродвигателя и содержащей его стиральной машине.
Уровень техники
В целом электродвигатели в зависимости от конструкции их магнитных цепей подразделяются на магнитные электродвигатели с поверхностным монтажом и электродвигатели с закрытыми магнитами.
В магнитных электродвигателях с поверхностным монтажом магниты индуктора расположены по окружности якоря так, что в результате взаимодействия между создаваемом магнитами магнитным потоком и протекающим по обмотке якоря электрическим током возникает магнитный крутящий момент.
В электродвигателях с закрытыми магнитами магниты заключены в стальные сердечники индуктора. Поэтому в результате взаимодействия между создаваемым магнитным потоком и протекающим по обмотке якоря электрическим током возникает не только магнитный крутящий момент, но и разность в магнитном сопротивлении, зависящая от взаиморасположения между магнитным полюсом, образованным электрическим током якоря, и магнитным полюсом, образованным магнитами. Из-за разности магнитных сопротивлений возникает реактивный момент, и крутящий момент образуется в результате взаимодействия магнитного и реактивного моментов.
На фиг.1 представлено изображение обычного магнитного электродвигателя с поверхностным монтажом в изометрической проекции; а на фиг.2 – увеличенный вид в плане распределения магнитного потока части обычного магнитного электродвигателя с поверхностным монтажом, показанного на фиг.1.
Из фиг.1 и 2 видно, что обычный магнитный электродвигатель с поверхностным монтажом содержит: прикрепленный к внешнему баку стиральной машины якорь 2, расположенный вне якоря 2 магнитный узел 10; и соединенный с индуктором 10 вал 20.
Якорь 2 содержит шихтованные стальные сердечники 4, имеющие множество выступов 3, изоляционный элемент 6, охватывающий выступы 3 шихтованных стальных сердечников 4, с выполненными на его внутренней части фиксирующими отверстиями 6а, в которые вставляются болты 5, крепящие якорь 2 к внешнему баку, и обмотку 8, намотанную на выступы 3 шихтованного стального сердечника 4 и соответствующую часть изоляционного элемента 6.
Индуктор содержит образованный в его центре зубчатый участок 12, в который вставляется вал 20, ярмо 14 такой формы, чтобы покрыть окружность и одну сторону якоря 2, и магниты 16, расположенные на внутренней окружности ярма 14 вдоль окружности якоря 2.
Если диаметр индуктора 10 обычного магнитного электродвигателя с поверхностным монтажом больше диаметра шихтованных стальных сердечников якоря 2 (т.е. если длина вылета увеличена), магнитный поток магнитов 16, перпендикулярный магнитному потоку обмотки 8 якоря 2, несколько увеличивается. Следовательно, создается противоэлектродвижущая сила и поэтому крутящий момент повышается.
На фиг.3 показан график плотности магнитного потока в зависимости от длины вылета обычного магнитного электродвигателя с поверхностным монтажом, показанного на фиг.1.
Из фиг.3 видно, что плотность магнитного потока увеличивается с увеличением длины вылета. Однако если длина вылета превышает примерно 6 мм, то плотность магнитного потока больше не увеличивается. Другими словами, наступает насыщение плотности магнитного потока. Это происходит потому, что с увеличением длины вылета рассеивание магнитного потока увеличивается, т.е. увеличивается магнитный поток, не проходящий через шихтованные стальные сердечники.
Как упоминалось выше, магниты 16 в обычном магнитном электродвигателе с поверхностным монтажом расположены по окружности якоря 2. Следовательно, в обычном магнитном электродвигателе с поверхностным монтажом возникает проблема, заключающаяся в том, что при увеличении длины вылета возрастает противоэлектродвижущая сила и, соответственно, повышается крутящий момент.
Раскрытие изобретения
Настоящее изобретение было сделано с учетом вышеуказанных проблем, и его задачей является создание электродвигателя с минимальным рассеиванием магнитного потока индуктора, благодаря чему улучшаются параметры крутящего момента.
Другой задачей изобретения является создание способа изготовления индуктора электродвигателя, в котором обеспечивается минимальное рассеивание магнитного потока магнитов и магнитных прокладок.
Еще одной задачей изобретения является создание стиральной машины, в которой индуктор прикреплен к ее внешнему баку, благодаря чему можно уменьшить габариты машины или повысить ее производительность.
В соответствии с одним из аспектов изобретения вышеуказанные и другие задачи могут быть решены посредством создания электродвигателя, включающего якорь и индуктор, содержащий множество магнитов, установленных по его окружности так, что одинаковые полярности обращены друг к другу, и множество расположенных между магнитами магнитных прокладок.
Предпочтительно, чтобы магнитная прокладка была выполнена из кремнистой стали или магнитного материала.
Предпочтительно также выполнять магнитную прокладку в форме трапеции.
Предпочтительно, чтобы индуктор содержал ярмо, к которому присоединены магнитные прокладки.
Предпочтительно, чтобы индуктор содержал также образованные либо на магнитных прокладках, либо на ярме выступы и образованные либо на ярме, либо на магнитных прокладках канавки соответственно, в которые вставляются упомянутые выступы.
В соответствии с другим аспектом изобретения предложен способ изготовления индуктора электродвигателя, содержащий следующие этапы: размещение множества магнитов по окружности индуктора так, что одинаковые полярности обращены друг к другу, размещение между магнитами множества магнитных прокладок так, что магниты и магнитные прокладки чередуются друг с другом, и образование ярма по внешней окружности магнитов и магнитных прокладок посредством литьевого формования.
Предпочтительно, чтобы магнитную прокладку выполняли из магнитного материала.
В соответствии с еще одним аспектом изобретения предложена стиральная машина, содержащая индуктор, включающий множество магнитов, расположенных по его окружности так, что одинаковые полюса обращены друг к другу, и множество расположенных между магнитами магнитных прокладок, а также внешний бак с образованным на нем посредством литьевого формования индуктором, внутренний бак, установленный с возможностью вращения во внешнем баке, и якорь, взаимодействующий с индуктором для придания вращения внутреннему баку.
Предпочтительно, чтобы якорь был установлен в индукторе с возможностью вращения.
Предпочтительно, чтобы машина также содержала контактное кольцо, жестко прикрепленное либо к индуктору, либо к якорю и находящееся в скользящем контакте либо с якорем, либо с индуктором соответственно.
В электродвигателе в соответствии с настоящим изобретением множество магнитов расположены по окружности индуктора так, что одинаковые полюса обращены друг к другу. Соответственно, благодаря настоящему изобретению рассеивание магнитного потока индуктора сведено к минимуму и, соответственно, повышен крутящий момент по сравнению с обычным электродвигателем с той же комплектацией и производительностью.
Следовательно, для выполнения работ с одинаковым крутящим моментом потребуется электродвигатель в соответствии с настоящим изобретением с меньшей комплектацией и обмоткой. Таким образом, изобретение позволяет сократить расходы на изготовление электродвигателя.
В процессе изготовления индуктора электродвигателя в соответствии с настоящим изобретением множество магнитов размещают по его окружности так, что одинаковые полюса обращены друг к другу, между магнитами устанавливают множество магнитных прокладок так, что магниты и прокладки чередуются друг с другом, и по внешней окружности частей магнитных прокладок и магнитов образуют ярмо посредством литьевого формования. Соответственно, такое выполнение индуктора сводит к минимуму рассеивание его магнитного потока.
В стиральной машине с электродвигателем в соответствии с настоящим изобретением магниты и магнитные прокладки интегрально прикреплены к внешнему баку стиральной машины. Следовательно, габариты машины являются наименьшими. Кроме того, в машине с электродвигателем в соответствии с настоящим изобретением по сравнению с машиной того же размера с обычным электродвигателем внутренний и внешний баки имеют большие размеры. Поэтому настоящее изобретение обеспечивает повышение производительности стиральной машины.
Краткое описание чертежей.
Указанные выше задачи и преимущества изобретения будут более понятны из последующего подробного описания и прилагаемых чертежей.
На фиг.1 представлено изображение частей в изометрической проекции обычного магнитного электродвигателя с поверхностным монтажом;
На фиг.2 – увеличенный вид в плане распределения магнитного потока в части обычного магнитного электродвигателя с поверхностным монтажом;
На фиг.3 – график плотности магнитного потока в зависимости от длины вылета обычного магнитного электродвигателя с поверхностным монтажом, показанного на фиг.1;
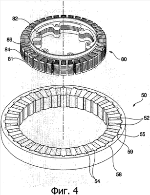
На фиг.4 – изображение по частям электродвигателя в соответствии с предпочтительным вариантом настоящего изобретения;
На фиг.5 – увеличенный вид в плане распределения магнитного потока в части магнитного электродвигателя в соответствии с предпочтительным вариантом настоящего изобретения, показанного на фиг.4;
На фиг.6 – схема основных компонентов стиральной машины с электродвигателем в соответствии с предпочтительным вариантом настоящего изобретения;
На фиг.7 – продольный разрез стиральной машины с электродвигателем в соответствии с предпочтительным вариантом настоящего изобретения, показанной на фиг.6;
Осуществления изобретения
Далее предпочтительные варианты выполнения изобретения будут более подробно описаны со ссылкой на прилагаемые чертежи.
На фиг.4 представлено изображение частей электродвигателя в изометрической проекции в соответствии с предпочтительным вариантом настоящего изобретения, а на фиг.5 – увеличенный вид в плане распределения магнитного потока в части магнитного электродвигателя в соответствии с предпочтительным вариантом настоящего изобретения, показанного на фиг.4.
Как показано на фиг.4 и 5, электродвигатель содержит индуктор 50 и якорь 80.
Индуктор 50 содержит множество магнитов 52, расположенных вдоль окружности индуктора 50 так, что одинаковые полярности обращены друг к другу, а между магнитами 52 установлено, соответственно, множество магнитных прокладок 54. Магнитные прокладки 54 изолированы друг от друга физическим и магнитным образом. Магнитные прокладки 54 находятся друг от друга на расстоянии, равном поперечной ширине магнита 52, и могут быть вставлены между магнитами 52.
Более конкретно, магнитные прокладки 54 расположены чередующимся образом с магнитами 52. Магнитные прокладки 54 выполнены из кремнистой стали или магнитного материала. Магнитные прокладки 54 выполнены в виде трапеции и вместе с магнитами 52 имеют цилиндрическую форму.
Индуктор 50 также содержит ярмо 58, к которому прикреплены магнитные прокладки 54.
Ярмо 58 выполнено из немагнитного материала посредством литьевого формования пластика.
Либо на магнитных прокладках 54, либо на ярме 58 выполнены выступы 55, либо на ярме 58, либо на магнитных прокладках 54 образованы канавки 59 соответственно, куда вставляются выступы 58. В дальнейшем описании примера выступы 55 образованы в магнитных прокладках 54, а канавки 59 – в соответствующих местах ярма 58.
Индуктор 50 изготовляют следующим образом: вдоль окружности 50 располагают магниты 52 так, что одинаковые полярности обращены друг к другу, и между магнитами 52 попеременно с ними устанавливают магнитные прокладки 54.
Поле этого на внешних окружностях магнитных прокладок 54 и магнитов 52 образуют ярмо 58 посредством литьевого формования.
Якорь 80 размещен внутри индуктора 50 с возможностью вращения.
Якорь 80 содержит шихтованные стальные сердечники 82, каждый из которых имеет множество выступов 81; изоляционный элемент 84, охватывающий выступы 81 шихтованных стальных сердечников 82; обмотку 86, намотанную на выступы 81 шихтованных стальных сердечников 82 и соответствующие участки изоляционного элемента 84.
При подаче тока на обмотку 86 электродвигателя описываемой конструкции, поскольку магниты 52 расположены по окружности А индуктора 50 так, что одинаковые полярности обращены друг к другу, а магнитные прокладки 54 физическим и магнитным образом отделены друг от друга, величина магнитного потока рассеивания С основного магнитного потока В оказывается наименьшей.
Электродвигатель вышеописанной конструкции в соответствии с настоящим изобретением может быть использован в стиральных машинах. В этом случае либо индуктор 50, либо якорь 80 соединен с вращаемым валом стиральной машины, а соответственно якорь 80 или индуктор 50 – с баком стиральной машины.
Если индуктор 50 электродвигателя соединен с баком стиральной машины, то ярмо 58 становится ненужным и индуктор 50 можно прикреплять непосредственно к баку.
На фиг.6 показана схема основных компонентов стиральной машины с электродвигателем в соответствии с предпочтительным вариантом настоящего изобретения, а на фиг.7 – продольный разрез показанной на фиг.6 стиральной машины с электродвигателем в соответствии с предпочтительным вариантом настоящего изобретения.
В соответствии с фиг.6 и 7 стиральная машина содержит: индуктор 50 с расположенным по его окружности множеством магнитов 52, одинаковые полюса которых обращены друг к другу; внешний бак 60, на котором методом литьевого формования образован индуктор 50, внутренний бак 70, установленный с возможностью вращения во внешнем баке 60; якорь 80, взаимодействующий с индуктором 50 для создания вращательного движения внутреннего бака 70.
Внешний бак 60 во избежание вибрации установлен посредством пружины 62 и демпфера 63 в корпусе 61, который составляет внешний вид машины.
Внешний бак 60 является разновидностью ярма и выполнен посредством литьевого формования. К внешнему баку прикреплены магниты 54.
Внешний бак 60 имеет в передней части открытое отверстие 64. Индуктор 50 прикреплен к задней стенке внешнего бака 60.
К внешнему баку 60 присоединено устройство подачи воды 65 для подачи воды во внешний бак 60. С внешним баком 60 соединено также дренажное устройство 66 для отвода воды из бака 60 стиральной машины.
В передней части внутреннего бака 70 также находится открытое отверстие 71, а его круговая часть снабжена сквозными отверстиями 72. На внутренней круговой поверхности внутреннего бака 70 расположены подъемники 73 для приподнимания белья в баке 70.
Якорь 80 установлен с возможностью вращения внутри индуктора 50 и размещен в центре 87 изоляционного элемента 84, имеющем зубцы.
В центр 87 вставлен вал 88, соединенный с внутренним баком 70.
Стиральная машина содержит также контактное кольцо 90, неподвижно прикрепленное либо к индуктору 50, либо к якорю 80 и находящееся в скользящем контакте соответственно либо с якорем 80, либо с индуктором 50.
Контактное кольцо 90 является своего рода уплотнительным элементом, предотвращающим подтекание воды из пространства между индуктором 50 и якорем 80, а также опорой вращения для якоря 80. Далее будем считать, что контактное кольцо 90 прикреплено либо к индуктору 50, либо к внешнему баку 60.
Контактное кольцо 90 содержит круговой кольцевой участок 91, прикрепленный либо к индукторному пакету 50, либо к внешнему баку 60 так, что круговой кольцевой участок 91 располагается вокруг внешней круговой части якоря 80, а передний кольцевой участок 92, как бы отогнутый спереди перпендикулярно участку 91, закрывает якорь 80 от попадания на него воды.
Стиральная машина также содержит инвертор 100 для подачи электрического тока к обмотке 86 якоря 80.
Позицией 61а обозначено загрузочно-разгрузочное отверстие стиральной машины, образованное на одной стороне корпуса 61, а именно на передней стенке корпуса 61, и предназначенное для загрузки или выгрузки через него белья из внутреннего бака 70.
Позицией 61b обозначена прикрепленная к корпусу 61 шарнирно дверца для открывания и закрывания загрузочно-разгрузочного отверстия 61а.
Позицией 67 обозначен уплотнитель между отверстием 64 внешнего бака 60 и загрузочно-разгрузочным отверстием 61а корпуса 61, который предназначен для предотвращения попадания белья или воды в пространство между корпусом 61 и внешним баком 60.
Работа стиральной машины вышеописанной конструкции в соответствии с настоящим изобретением осуществляется следующим образом.
Когда пользователь загружает белье m во внутренний бак 70 стиральной машины, закрывает дверцу 61b и включает машину, вода с растворенным в ней стиральным порошком подается устройством для подачи воды 65 во внешний бак 60 и собирается в его нижней части. В результате нижняя часть внутреннего бака 70 оказывается погруженной в воду с порошком и находящееся там белье m увлажняется содержащей стиральный порошок водой, проходящей во внутренний бак 70 через отверстия 72.
При подаче электрического тока в обмотку 86 якоря 80 от инвертора 100 между обмоткой 86 и магнитами 52 создается электромагнитная сила, и якорь 80 вращается внутри индуктора 50.
При вращении якоря 80 вал 88 также вращается. В результате вращается ступица 74, а следовательно, вращается и внутренний бак. В это время белье m во внутреннем баке 70 приподнимается подъемниками 73 и затем падает с них. Так с белья удаляются пятна.
После завершения вышеописанной операции стирки грязная вода из внешнего бака 60 сливается из стиральной машины через дренажное устройство 66.
После этого осуществляется несколько операций полоскания для вымывания пузырьков пены из белья m. Для этого с помощью устройства подачи воды 65 во внешний бак 60 подается чистая, не содержащая стирального порошка, вода. При подаче тока от инвертора 100 на обмотку 86 якоря 80 якорь 80, вал 88, ступица 74 и внутренний бак 70 вращаются, как и при операции стирки. Белье m во внутреннем баке 70 так же приподнимается подъемниками 73 и падает с них. Так выполаскиваются остающиеся в белье пузырьки пены.
Грязная вода, включая пену, выводится из стиральной машины с помощью дренажного устройства 66.
После окончания нескольких операций полоскания осуществляют операцию сушки белья.
В процессе сушки от инвертора 100 на обмотку 86 якоря 80 подается электрический ток. При сушке якорь 80, вал 88, ступица 74 и внутренний бак 70 вращаются с большей скоростью, чем при стирке или полоскании, в результате белье m прилипает к внутренним стенкам внутреннего бака 70. Таким образом, за счет центробежной силы из белья удаляется влага.
Удаляемая благодаря высокой скорости вращения внутреннего бака 70 влага проходит через отверстия 72 и собирается во внешнем баке 60, а затем выводится из стиральной машины с помощью дренажного устройства 66.
Как следует из приведенного описания, настоящее изобретение имеет следующие преимущества.
В электродвигателе в соответствии с настоящим изобретением множество магнитов размещено по окружности индуктора так, что одинаковые полюса обращены друг к другу. Вследствие этого рассеивание магнитного потока индуктора сводится к минимуму, благодаря чему увеличивается крутящий момент в сравнении с обычными электродвигателями с такими же комплектацией и производительностью.
Следовательно, если для выполнения работ не требуется повышенного крутящего момента, то в соответствии с настоящим изобретением может быть использован электродвигатель с меньшей комплектацией и намоткой. Таким образом, изобретение позволяет сократить расходы на изготовление электродвигателя.
При изготовлении индуктора электродвигателя в соответствии с настоящим изобретением множество магнитов размещают по его окружности так, что одинаковые полюса обращены друг к другу, между магнитами устанавливают множество магнитных прокладок так, что магниты и прокладки чередуются друг с другом, и по внешней окружности частей магнитных прокладок и магнитов образуют ярмо посредством литьевого формования. Соответственно, такое выполнение индуктора сводит к минимуму рассеивание его магнитного потока.
В стиральной машине с электродвигателем в соответствии с настоящим изобретением магниты и магнитные прокладки встроены во внешний бак стиральной машины. Следовательно, габариты машины являются наименьшими. Кроме того, в машине с электродвигателем в соответствии с настоящим изобретением по сравнению с машиной того же размера с обычным электродвигателем внутренний и внешний баки имеют большие размеры, поэтому настоящее изобретение обеспечивает повышение производительности стиральной машины.
Предпочтительные варианты настоящего изобретения были описаны в иллюстративных целях, и любой специалист поймет, что возможны любые модификации, дополнения и замены, если они не выходят за рамки духа и объема изобретения, как оно изложено в формуле изобретения.
Формула изобретения
1. Стиральная машина, содержащая внешний и внутренний баки, якорь, индуктор, включающий множество магнитов, установленных по окружности индуктора так, что одинаковые полюсы обращены друг к другу и множество магнитных прокладок, расположенных между магнитами, при этом внутренний бак расположен с возможностью вращения во внешнем баке, якорь, взаимодействующий с индуктором для придания вращения внутреннему баку, соединен с вращающимся валом стиральной машины, а индуктор образован на внешнем баке методом литьевого формования.
2. Машина по п.1, характеризующаяся тем, что якорь расположен с возможностью вращения в индукторе.
3. Машина по п.2, характеризующаяся тем, что она дополнительно содержит контактное кольцо, жестко прикрепленное либо к индуктору, либо к якорю и находящееся в скользящем контакте, соответственно, либо с якорем, либо с индуктором.
РИСУНКИ
|