|
|
(21), (22) Заявка: 2007123789/09, 28.10.2005
(24) Дата начала отсчета срока действия патента:
28.10.2005
(30) Конвенционный приоритет:
26.11.2004 US 10/996,411
(46) Опубликовано: 10.02.2009
(56) Список документов, цитированных в отчете о поиске:
US 2564320 А, 14.08.1951. RU 2067349 С1, 27.09.1996. RU 2140702 C1, 27.10.1999. US 3510752 A, 05.05.1970. US 3671788 A, 20.06.1972. WO 2005/064779 A1, 14.07.2005. WO 2004/084378 A1, 30.09.2004.
(85) Дата перевода заявки PCT на национальную фазу:
26.06.2007
(86) Заявка PCT:
CA 2005/001657 (28.10.2005)
(87) Публикация PCT:
WO 2006/056040 (01.06.2006)
Адрес для переписки:
127055, Москва, а/я 11, пат.пов. Н.К.Попеленскому, рег. № 31
|
(72) Автор(ы):
ДУЛИ Кевин Аллан (CA)
(73) Патентообладатель(и):
Прэтт энд Уитни Кэнэдэ Корп. (CA)
|
(54) ЭЛЕКТРОДВИГАТЕЛЬ-ГЕНЕРАТОР ПЕРЕМЕННОГО ТОКА (ВАРИАНТЫ) И ГЕНЕРАТОР ПЕРЕМЕННОГО ТОКА (ВАРИАНТЫ)
(57) Реферат:
Изобретение относится к области электротехники и касается особенностей конструктивного выполнения генераторов переменного тока и двигателей с постоянными магнитами, в частности, являющихся управляемыми. Сущность изобретения состоит в том, что электрический генератор переменного тока или двигатель (10) имеет ротор (12), статор (20) и, по крайней мере, одну обмотку (22) на статоре (20), приспособленную для пропускания тока, причем машина также имеет первый и второй магнитные контуры, один из которых включает насыщаемую часть, в которой насыщением можно управлять для осуществления управления электрической машиной. Технический результат, достигаемый при использовании настоящего изобретения, состоит в повышении степени управляемости электрических машин вообще и электрических машин с постоянными магнитами, в частности. 5 н. и 22 з.п. ф-лы, 6 ил.
Область техники, к которой относится изобретение
Изобретение относится к электрическим машинам, например генераторам переменного тока и двигателям, в частности к управлению такими машинами.
Уровень техники
На Фиг.1 представлен типичный генератор переменного тока или двигатель с постоянными магнитами, на роторе 102 которого, установленном на вращающемся валу 108, закреплены постоянные магниты 104. В статоре 110 между несколькими наконечниками 114, прикрепленными сзади к замыкающему сердечнику 116, имеется несколько обмоток 112. Для наглядности изображения смежные элементы обмоток 112 на Фиг.1 показаны несоединенными. При работе в режиме генератора переменного тока внешний крутящий момент вращает вал, и взаимодействие магнитов и обмоток приводит к замыканию магнитного потока через обмотки, расположенные в пазах. При изменении магнитного потока из-за вращения ротора в обмотках 112 возбуждается электродвижущая сила, которая создает выходной ток при подключении нагрузки на выходе машины. При работе в режиме двигателя напряжение от внешнего источника (не показан) приложено к обмоткам 112, и возникающий ток возбуждает магнитный поток в статоре и роторе, который при соответствующем управлении заставляет ротор вращаться, создавая крутящий момент. Машины с постоянными магнитами могут иметь конфигурацию с “внутренним ротором”, показанную на Фиг.1, либо конфигурацию с “внешним ротором” (не показана).
Выходное напряжение и частота известных генераторов переменного тока с постоянными магнитами определяются скоростью вращения ротора, что в тех случаях, когда невозможно независимое управление скоростью вращения ротора, создает проблемы. Поэтому желательно улучшить управляемость электрических машин вообще и машин с постоянными магнитами, в частности.
Раскрытие изобретения
Согласно одной особенности в настоящем изобретении предлагается электрический генератор переменного тока/двигатель, содержащий: ротор, имеющий несколько постоянных магнитов; статор, имеющий группу первых пазов и группу вторых пазов, причем первые пазы расположены по краю статора напротив ротора, вторые пазы расположены с противоположной от первых пазов стороны относительно ротора; по крайней мере первую обмотку, расположенную в группе первых и вторых пазов; по крайней мере первый магнитный контур, образованный в статоре и роторе, который охватывает по крайней мере один первый паз, в котором расположена первая обмотка; по крайней мере второй магнитный контур, охватывающий по крайней мере один второй паз, в котором расположена первая обмотка, причем второй магнитный контур имеет общую часть статора с первым магнитным контуром, второй магнитный контур содержит магнитно-насыщаемую часть статора, отличную от общей части; по крайней мере вторую обмотку, расположенную рядом с первой обмоткой в группе вторых пазов; третий магнитный контур, образованный в статоре и включающий магнитно-насыщаемую часть статора, причем третий магнитный контур функционально связан с током второй обмоткой; источник тока, подсоединенный ко второй обмотке и приспособленный к подаче тока достаточной величины во вторую обмотку для насыщения в существенной степени упомянутой магнитно-насыщаемой части статора; и устройство управления, приспособленное для изменения упомянутого тока, подаваемого во вторую обмотку, для изменения степени насыщения магнитно-насыщаемой части.
Согласно другой особенности в изобретении предложена машина, которая может работать по крайней мере в качестве электрического генератора переменного тока, либо электродвигателя, причем машина содержит узел ротора и статора, узел имеет статор, включающий по крайней мере первую обмотку, а также первый и второй магнитные контуры и узел управления насыщением, при этом первый магнитный контур включает ротор и охватывает по крайней мере первую часть первой обмотки, второй магнитный контур охватывает по крайней мере вторую часть первой обмотки, удаленную от первого магнитного контура, первый и второй магнитные контуры имеют магнитную связь, когда ток протекает по первой обмотке, второй магнитный контур включает магнитно-насыщаемую часть, причем узел управления насыщением функционально связан с магнитно-насыщаемой частью второго контура и может управлять изменением степени насыщения упомянутой насыщаемой части.
Согласно другой особенности в изобретении предложен электрический генератор переменного тока, содержащий: магнитный ротор; статор, имеющий корпус и по крайней мере одну силовую обмотку, приспособленную для генерирования электрического напряжения и тока по крайней мере частично в ответ на движение ротора относительно статора, причем статор дополнительно содержит по крайней мере один насыщаемый индуктор, включенный последовательно с силовой обмоткой, в котором часть насыщаемого индуктора является неотъемлемой частью корпуса статора; и устройство управления насыщением, приспособленное для управления заданным образом степенью насыщения части каждого насыщаемого индуктора.
Согласно другой особенности в изобретении предложена электрическая машина, которая может работать по крайней мере в качестве электрического генератора переменного тока, либо электродвигателя, причем машина имеет ротор и статор, который включает по крайней мере первую обмотку, при этом машина содержит: первый магнитный контур, который включает ротор и охватывает по крайней мере первую часть первой обмотки; второй магнитный контур, который охватывает по крайней мере вторую часть первой обмотки, причем первый и второй магнитные контуры имеют магнитную связь, когда ток протекает в первой обмотке, второй магнитный контур включает магнитно-насыщаемую часть; и средство управления изменением степени насыщения упомянутой насыщаемой части.
Согласно другой особенности в изобретении предложен способ регулировки выходного электрического параметра, выдаваемого в нагрузку, использующий по крайней мере один генератор переменного тока, присоединенный к нагрузке, при этом генератор переменного тока имеет магнитный ротор, статор и по крайней мере одну обмотку статора, связанную с первым магнитным контуром, включающим ротор, причем первый магнитный контур охватывает по крайней мере первую часть обмотки статора, а обмотка дополнительно связана со вторым магнитным контуром, образованным в статоре, второй магнитный контур имеет магнитную связь с первым магнитным контуром и включает магнитно-насыщаемую часть, второй магнитный контур охватывает по крайней мере вторую часть обмотки статора, при этом способ содержит шаги: перемещения ротора относительно статора для генерирования выходного тока в обмотке и управляемого изменения степени насыщения части второго магнитного контура.
Согласно другой особенности в изобретении предложен способ распределения мощности между такими машинами. В настоящем описании и приложенных чертежах раскрыты и другие изобретения, а настоящая заявка притязает на все эти изобретения.
Краткое описание чертежей
Для более понятного представления настоящего изобретения и описания способов его выполнения приводятся ссылки на приложенные чертежи, демонстрирующие предпочтительные варианты выполнения настоящего изобретения, где:
Фиг.1 представляет схематическое изображение поперечного сечения известного генератора переменного тока/двигателя с постоянными магнитами;
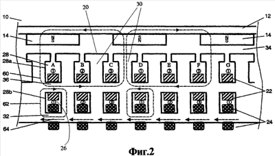
Фиг.2 представляет схематическое изображение части поперечного сечения генератора переменного тока/двигателя в соответствии с настоящим изобретением;
Фиг.3 схематически представляет часть эквивалентной схемы электродвигателя-генератора переменного тока, показанного на Фиг.2, с иллюстрацией ее функциональных особенностей;
Фиг.4 аналогична Фиг.2, но описывает другой вариант выполнения изобретения;
Фиг.5 представляет блок-схему, иллюстрирующую другую особенность настоящего изобретения; и
Фиг.6 представляет блок-схему, иллюстрирующую еще одну особенность настоящего изобретения.
Осуществление изобретения
На Фиг.2 изображена часть электрической машины 10 с постоянными магнитами в соответствии с настоящим изобретением. Для простоты изображения и описания на Фиг.2 показана линейная конфигурация электрической машины 10, однако следует иметь в виду, что предпочтительной конфигурацией машины обычно является круговая, с внутренним или внешним ротором. Для опытного читателя также будет понятно, что Фиг.2 и сопровождающее ее описание являются по сути схематическими, и что в них для ясности изложения многие обычные детали конструкции опущены. Машина 10 может иметь конфигурацию генератора переменного тока для вырабатывания электрической энергии, либо двигателя для преобразования электрической энергии в механический крутящий момент, либо для выполнения обеих функций. Приведенное ниже описание относится к электрической машине, которая может работать и как генератор переменного тока, и как двигатель.
Электродвигатель-генератор переменного тока 10 имеет ротор 12 с постоянными магнитами 14, которые закреплены на нем для вращения относительно статора 20. Статор 20 имеет по крайней мере одну силовую обмотку 22 и в предпочтительном варианте выполнения по крайней мере одну обмотку 24 управления. Статор 20 в этом варианте выполнения имеет 3-фазную конструкцию с тремя электромагнитно-независимыми силовыми обмотками 22 (фазы обозначены соответственно цифрами 1, 2, 3 в кружках) и соответственно тремя независимыми обмотками 24 управления. Силовые обмотки и обмотки управления в этом варианте выполнения разделены воздушным зазором 26 обмоток и расположены в радиальных пазах 28 между группой смежных наконечников 30. Для наглядности иллюстрации на Фиг.2 соседние части обмотки 24 управления показаны несоединенными. Для простоты описания смежные пазы 28 обозначены как А, В, С, D и т.д. Силовая обмотка 22 и обмотка 24 управления электрически изолированы друг от друга. Замыкающий сердечник 32 или, как он описан в настоящей заявке, шина управляющего потока проходит между пазами 28. Воздушный зазор 34 ротора разделяет ротор 12 и статор 20 обычным образом. Часть статора, называемая внутренней или “соединительной” частью, или “шиной силового потока” 36, также проходит между смежными парами наконечников 30 между смежными частями силовой обмотки 22.
Материалы для машины 10 с постоянными магнитами могут использоваться на усмотрение конструктора. Изобретатель предпочитает следующие материалы: самарий-кобальтовые постоянные магниты, медные силовые обмотки и обмотки управления, подходящие насыщаемые магнитные материалы для наконечников статора, например электротехнические кремнистые стали, обычно используемые в конструкциях магнитных машин, шинах силового и управляющего потоков. Наконечники статора, шины силового и управляющего потоков могут быть интегрированы друг с другом либо отделены друг от друга на усмотрение конструктора. Конструктор выбирает размеры и материалы ротора и статора, основываясь, по крайней мере отчасти, на требуемых свойствах магнитных контуров (описаны ниже) машины для достижения требуемых рабочих характеристик машины и т.д. Шина 32 управляющего потока является магнитно-насыщаемой, как это будет описано ниже.
Силовая обмотка 22 в этом варианте выполнения состоит из одного проводника, входящего в паз 28 с первой стороны шины 36 силового потока, пересекающего шину 36 силового потока к другому ее концу, и выходящего из паза 28 на второй или другой стороне шины 36 силового потока (т.е. со стороны, противоположной первой стороне, стороне входа), и проходящего к следующему пазу той же фазы, где силовая обмотка 22, в предпочтительном варианте, входит в этот следующий паз со второй стороны шины 36 силового потока вместо первой стороны, как это было описано выше.
Далее, обмотка 24 управления обвита вокруг шины управляющего потока в настоящем варианте выполнения желательно большое число раз, например 25 раз, по причинам, описанным ниже. Направление обмотки между смежными соответствующими пазами (для поддержания фазового соответствия с силовой обмоткой), желательно, одинаковое от паза к пазу и, таким образом, попеременно оказывается противоположным направлению силовой обмотки 22, благодаря чему в обмотке управления наводится нулевое результирующее напряжение, как это будет показано ниже. Обмотка 24 управления подключена к источнику тока и системе 50 управления (см. Фиг.3), которая в данном примере включает источник регулируемого постоянного тока и соответствующую твердотельную систему управления, функции которой в предпочтительном варианте выполнения соответствуют описанным ниже. Создаваемого этим источником тока в предпочтительном варианте выполнения достаточно для насыщения шины 32управления, как это будет описано ниже.
На Фиг.3, описанный выше, двигатель-генератор переменного тока 10 представлен схематически эквивалентной схемой 10′, содержащей несколько источников 12′ переменного тока (каждый, например, эквивалентен движущейся магнитной роторной системе в сочетании с частью силовой обмотки 22, расположенной в частях 28а паза), соединенных с несколькими силовыми индукторами 22′ (т.е. эквивалентами части первичной обмотки 22, расположенной в части 28b паза), при этом источники 12′ тока и силовые индукторы 22′ попеременно соединены последовательно. С силовыми индукторами 22′ связано несколько индукторов 24′ управления (т.е. эквивалентны обмотке 24 управления), имеющих насыщаемые сердечники 32′ (эквивалентны насыщаемой шине 32 управляющего потока). В настоящем примере индукторы 24′ управления подключены к источнику регулируемого постоянного тока и системе управления, представленным элементом 50, как это будет описано ниже. Таким образом, видно, что первичная обмотка 22, обмотка 24 управления и шина 32 управляющего потока в настоящем изобретении в совокупности образуют в статоре 12 индуктор с насыщаемым сердечником. Индукторы с насыщаемым сердечником используются для регулирования мощности переменного тока, и в одной своей особенности настоящее изобретение обеспечивает интегральный подход в выполнении схемы регулирования этого общего типа, что и будет показано ниже.
Возвращаясь к Фиг.2, видим, что в процессе работы в режиме генератора переменного тока ротор 12 перемещается относительно статора 20, и в результате взаимодействия магнитов 14 и силовых обмоток 22 в машине 10 с постоянными магнитами создается первичный магнитный поток в тракте первичного магнитного потока или магнитного контура 60. Первый поток возбуждает напряжение в силовой обмотке, которое при присоединении электрической нагрузки создает индуцированный ток, а индуцированный ток вызывает циркуляцию вторичного магнитного потока в соседнем тракте вторичного магнитного потока или магнитного контура 62. Таким образом, первый и второй контуры имеют магнитную связь, когда ток протекает в силовой обмотке. Второй магнитный контур 62 в значительной мере изолирован от ротора и первого магнитного контура 60. Следует иметь в виду, что настоящее описание относится только к фазе “1” описываемого варианта выполнения, и что аналогичные взаимодействия и пр. возникают в отношении и других фаз. В свете настоящего описания специалисту будет понятно, что во многих ситуациях целесообразно иметь устройство регулировки для поддержания минимального тока в силовой обмотке при отсутствии нагрузки.
Первый магнитный контур 60 включает ротор 12, воздушный зазор 34 ротора, шину 36 силового потока и часть наконечника 30 статора между ротором 12 и шиной 36 силового потока. Первый магнитный контур охватывает часть силовой обмотки 22 и при использовании в функции генератора переменного напряжения вызывает протекание тока в силовой обмотке 22. Второй магнитный контур 62 включает шину 36 силового потока, шину 32 управления и часть наконечника 30 статора между шиной управления 32 и шиной 36 силового потока. В этом варианте выполнения второй магнитный контур охватывает части силовой обмотки 22 и обмотки 24 управления в пазу 28b. Шина 36 силового потока делит паз 28 на две части или секции 28а и 28b, причем одна секция 28а используется только для силовой обмотки, а другая секция 28b используется для силовой обмотки и обмотки управления. Первый магнитный контур охватывает секцию 28а, в то время как второй магнитный контур охватывает секцию 28b. В предпочтительном варианте выполнения секция 28а находится радиально ближе к ротору, чем секция 28b. В предпочтительном варианте выполнения шина 36 силового потока является общей для трактов первого и второго магнитных контуров и, таким образом, первый и второй магнитные контуры имеют магнитную связь, как упоминалось выше.
Третий магнитный контур 64 в предпочтительном варианте выполнения проходит по шине 32 управления, как это частично показано на Фиг.2 (т.е. показана только часть третичного контура, поскольку в данном варианте выполнения третий контур проходит по всему статору). В предпочтительном варианте выполнения шина 32 управляющего потока является общей для трактов как второго, так и третьего магнитных контуров, и поэтому второй и третий магнитные контуры также имеют магнитную связь. Как упоминалось, по крайней мере часть шины 32 управляющего потока может насыщаться.
При работе в режиме генератора переменного тока настоящее изобретение позволяет управлять выходным параметром силовой обмотки(-ок) 22 посредством изменения тока, подаваемого в обмотку(-ки) 24 управления, как это будет описано далее.
Выше было показано, что эквивалентный силовой индуктор 22′ образован частью силовой обмотки в пазу 28b и вторым магнитным контуром 62, как схематически показано эквивалентным контуром на Фиг.3. Обмотка 24 управления использует часть второго магнитного контура, однако поскольку в предварительном варианте выполнения она намотана в том же направлении, что и силовая обмотка 22 в каждом пазу, как это было упомянуто выше, достигается эффект, аналогичный тому, что достигается попеременно встречным включением насыщаемых индукторов, и в предпочтительном варианте выполнения практически отсутствует результирующее напряжение, генерируемое в обмотке 24 управления потоком во втором магнитном контуре.
Подача постоянного тока от источника 50 в обмотку 24 управления приводит к появлению контура 64 циркуляции потока, наведенного постоянным током, в шине 32 управляющего потока. В момент времени, соответствующий изображению на Фиг.2, видно, что постоянный поток в третьем магнитном контуре 64 в шине 32 управляющего потока направлен в том же направлении в пазу А, что и переменный поток во втором магнитном контуре 62, однако в пазу D направление постоянного потока в третьем магнитном контуре 64 в шине 32 управляющего потока противоположно переменному потоку во втором магнитном контуре 62. По мере увеличения постоянного тока в обмотке 24 управления плотность потока в шине 32 управляющего потока повышается так, что в конце концов достигается плотность потока насыщения. Понятно, что в первую очередь насыщение достигается в тех участках шины управления, где переменный поток и постоянный поток направлены в одном направлении, и при более высоких постоянных управляющих токах обе области шины управления насыщаются вне зависимости от направления потока. Когда возникает насыщение, переменный поток во втором магнитном контуре, обусловленный током в силовой обмотке, очень сильно сокращается.
Как упоминалось выше, схема расположения обмотки управления относительно силовой обмотки обеспечивает близкое к нулю результирующее напряжение в обмотке управления, что упрощает управление. Кроме того, поскольку постоянный ток управления через обе шины 32 управляющего потока создает магнитные потоки в различных направлениях относительно силовой обмотки 22, одна шина 32 будет насыщена больше в одном цикле переменного тока, в то время как другая шина 32 будет насыщена сильнее в другом цикле, чем выравнивается управляющее воздействие по каждому полуциклу.
В состоянии насыщения магнитные материалы в существенной мере теряют свою способность проводить магнитный поток, то есть не обладают магнитными свойствами как для переменных магнитных сил (НАС), так и дальнейших изменениях постоянного магнитного воздействия (HDC). Результирующий эффект этого состояния насыщения в шине 32 управляющего потока, таким образом, полностью уничтожает индуктивность, обусловленную вторым магнитным контуром, что существенно снижает индуктивность машины.
Кроме того, по мере увеличения тока в силовой обмотке 22, например вследствие увеличения внешней нагрузки или увеличения генерируемого выходного напряжения в связи с увеличением рабочей скорости, часть шины 32 управляющего потока, в которой направления потоков в данный момент противоположны, окажется менее насыщенной, что вызовет соответствующий рост индуктивности. В результате это приводит к тому, что выходной ток остается приблизительно неизменным. Таким образом, в настоящем изобретении силовой выходной ток генератора переменного тока является функцией тока управления. Максимальная индуктивность эквивалентного силового индуктора 22′, сформированного вторым магнитным контуром, связана с физическими размерами частей, образующих второй магнитный контур. Ток короткого замыкания силовой обмотки связан с числом ампер-витков обмотки управления соотношением
IP·Np+K=IC·Nc,
где: Np и Nc представляют число витков соответственно в силовой обмотке и обмотке управления, IP и IC являются токами соответственно в силовой обмотке и обмотке управления, а К – постоянный коэффициент, обратно пропорциональный максимальной индуктивности силовой обмотки и определяемый другими особенностями конструкции машины.
Это позволяет изменять выходной параметр силовой обмотки 22 и, таким образом, обмотка 24 управления может быть использована как средство управления машины 10 с постоянными магнитами. В результате средства управления работой машины с постоянными магнитами находятся в самой машине, поскольку ток “управления” может генерироваться силовыми обмотками машины 10 с постоянными магнитами, обычно в совокупности с выпрямителями. Поэтому в некоторых примерах не требуется внешний источник тока управления вместе с электронной схемой управления током, хотя включение обмотки управления последовательно с выпрямленным выходным током также может быть использовано, до некоторой степени, для управления током. Новая конфигурация, предложенная в настоящем изобретении, таким образом, может быть пригодна для реализации новых возможностей для систем управления машины, несколько примеров которых будут рассмотрены далее.
Например, выходным параметром (т.е. на силовой обмотке 22) генератора 10 переменного тока можно управлять, подсоединив обмотку 24 управления к источнику 50 питания, а ток, подаваемый на обмотку управления, в предпочтительном варианте должен быть достаточным для полного насыщения шины 32 управляющего потока, причем это насыщение вызывается магнитным потоком, проходящим по третьему контуру 64, созданным током, проходящим по обмотке 24 управления, которая намотана, в данном варианте выполнения, вокруг шины 32 управляющего потока. Когда достигается насыщение, поток во втором магнитном контуре, по существу, исчезает, и в результате магнитного взаимодействия между силовыми обмотками и втором магнитным контуром индуктивность силовой обмотки почти полностью исчезает. Таким образом, в силовую обмотку может быть подан больший ток. Поэтому уровень тока, создаваемого источником 50 управляемого тока, может при необходимости постоянно изменяться для регулировки выходного тока силовых обмоток (и, в конечном итоге, выходного напряжения) в диапазоне скоростей вращения ротора и электрических нагрузок. Для осуществления управления с получением постоянного выходного напряжения, например, в системе управления источника 50 используется схема управления с обратной связью для сравнения выходного напряжения генератора переменного тока (т.е. на выходе силовой обмотки 22) с фиксированным опорным напряжением (например, представляющим уровень требуемого выходного напряжения), а управление может быть организовано таким образом, что когда выходное напряжение генератора переменного тока меньше требуемого опорного уровня, вырабатывается команда на увеличение тока управления для увеличения степени насыщения и тем самым выходного тока и, следовательно, напряжения. Аналогично, когда выходное напряжение генератора переменного тока превышает требуемое опорное значение (которое может равняться, а может и не равняться величине упомянутого опорного напряжения), тем же самым образом вырабатывается команда на уменьшение тока управления для снижения степени насыщения и тем самым выходного тока, чем одновременно изменяется и уровень выходного напряжения. Таким способом может производиться регулировка выходного напряжения генератора переменного напряжения.
В другом способе управления, если в обмотку 24 управления не подается ток, выходной параметр силовой обмотки 22 уменьшается и может быть ограничен самой конструкцией машины таким образом, что импеданса машины достаточно для ограничения токов короткого замыкания до уровня, не представляющего опасности для машины (т.е. ток короткого замыкания оказывается достаточно низким, что он не вызовет, например, перегрева машины и т.п.).
Возможны также и многие иные схемы управления, включая модуляцию тока управления (т.е. тока в обмотках 24 управления), управление быстро изменяющимся током так, чтобы создать периодическую модуляцию амплитуды выходного параметра генератора переменного тока, что приводит к генерированию новых частот на выходе (или боковых полос), отличающихся от собственной частоты машины (т.е. частоты генератора переменного тока, равной произведению скорости вращения на число пар полюсных наконечников).
В предпочтительном варианте выполнения магнитный поток замыкается в третьем магнитном контуре 64 в том же направлении вокруг шины 32 управляющего потока. Как было упомянуто выше, хотя обмотка управления расположена в пазах, соответствующих конкретной фазе описанной трехфазной машины, силовые обмотки намотаны в противоположном направлении в каждом пазу, который благодаря противоположному расположению полюсов у магнитов 14 связан с каждым смежным пазом фазы. Для обеспечения одинакового направления для третьего магнитного контура 64, как было упомянуто, обмотки управления нужно наматывать в одном направлении во всех пазах. Также упоминалось, что в обмотках 24 управления наводится нулевое результирующее напряжение, что имеет значение, поскольку для создания постоянных токов управления требуются сравнительно низкое постоянное напряжение, поэтому не требуется никаких специальных мер для того, чтобы убрать значительное переменное напряжение с обмотки управления.
Преимуществом настоящего изобретения также является то, что допускает разделение нагрузки между несколькими генераторами переменного напряжения. Обмотка управления управляет выходным током машины. Таким образом, как показано на Фиг.5, если несколько генераторов 10 переменного тока подсоединены к простым выпрямителям 60, выходы выпрямителей могут быть непосредственно соединены так, чтобы питать общую цепь нагрузки. Вклад каждого генератора переменного тока в ток нагрузки определяется регулированием постоянного тока (в данном примере), подводимого к каждому генератору переменного тока от управляемого источника 50′. Таким образом, если один генератор переменного тока откажет или будет отключен, встроенная в 50 система управления сможет это определить и обеспечить бесперебойное распределение нагрузки увеличением вклада тока от одного или более оставшихся генераторов, чтобы восполнить дефицит, образовавшийся в результате отказа или отключения генератора переменного напряжения.
С использованием данного изобретения также имеется возможность непосредственного соединения друг с другом с соответствующей фазировкой генераторов 10, переменного тока таким образом, чтобы выходы переменного тока нескольких генераторов 10 имеющие согласованные фазы (например, фаза “1”, упомянутая выше), могли быть соединены параллельно, как это показано на Фиг.6. Управление распределением тока обеспечивается системой 50″ управления, которая также обеспечивает регулировку тока в каждом генераторе переменного тока, как это было описано выше. Это дает определенные преимущества при компоновке, когда максимальный диаметр или длина вала одной машины должны быть сделаны ниже определенной величины, например, для обеспечения определенной динамики ротора или по другим причинам. При этом две машины 10 меньшего размера, работающие на один вал 70, могут обеспечить получение значительно большей выходной мощности в большей общей нагрузочной цепи.
В обоих приведенных выше примерах используются значительно более простые средства распределения мощности, не требующие сложных систем управления, известных в уровне техники. Использование этого признака дает преимущество также и в “двухканальной” электрической машине. Как показано на Фиг.5 и 6, например, обе машины 10 могут быть интегрированы в единую сборку “ротор-статор”.
В другом варианте выполнения, описанном выше, в шине 36 первичного потока могут использоваться материалы с низкой температурой Кюри в соответствии с находящейся в совместном рассмотрении заявкой заявителя, введенной выше, для обеспечения тепловой защиты в случае, если отказ вызовет превышение нормальной рабочей температуры.
Схемы управления, подобные описанным выше, могут быть использованы по отдельности, либо могут быть объединены необходимым образом для того, чтобы в одной машине с постоянными магнитами реализовать несколько особенностей управления одновременно. Поскольку машины фиксированной геометрии с постоянными магнитами, как правило, не могут управляться иным способом, нежели скоростью своего вращения, описанный признак управляемости в настоящем изобретении обладает большой ценностью с точки зрения конструктора машины с постоянными магнитами, особенно для тех применений, где скорость вращения машины не может быть использована для управления ее выходным параметром. В настоящем изобретении также предлагается прочная и надежная конструкция, пригодная для аэрокосмических применений. Возможность объединения мощности, предлагаемая в настоящем изобретении, также должна приниматься во внимание.
В другом варианте выполнения, представленном на Фиг.4, обмотка 224 управления расположена в отдельном закрытом пазу 228с, смежном с закрытой частью 228b паза. Второй магнитный контур 262 и третичный магнитный контур 264 вместе используют шину 232 управляющего потока. Цифровые обозначения на Фиг.4 аналогичны обозначениям на Фиг.2, но увеличены на двести.
В другом варианте выполнения, не показанном на чертежах, вместо того, чтобы использовать обмотку 24 управления и управляемый источник 50 тока для управления насыщением, шина управляющего потока вместо этого может быть насыщена постоянным магнитом, приближаемым к шине управляющего потока соответствующей системой управления и приведения в действия, которая может быть механической, электрической, электронной или какой-либо иной, либо их комбинациями.
Настоящее изобретение также может быть использовано для управления электродвигателем. Например, при использовании в качестве стартерного двигателя настоящее изобретение может быть использовано для регулирования импеданса двигателя и тем самым управления переходными процессами в токе при работе двигателя, при этом соотношение крутящего момента и скорости вращения также может регулироваться в некоторых пределах использованием обмотки управления, поскольку фазовый угол между магнитодвижущей силой ротора и магнитодвижущей силой арматуры может изменяться благодаря изменению индуктивности силовой обмотки. Аналогично, возможны и другие способы управления для генераторов переменного тока. Например, как было вкратце упомянуто выше, нужным образом изменяя или модулируя степень насыщения, можно управлять частотой выходного переменного тока в силовых обмотках, регулируя сдвиг генерируемой частоты при изменении скорости вращения генератора переменного тока, в результате поддерживая требуемую постоянную величину частоты на выходе. Этого можно достичь амплитудной модуляцией, когда частота на выходе генератора переменного тока содержит две или более частотных составляющих (т.е. суммарные и разностные частоты или боковые полосы частот). Соответствующая фильтрация, вычитание или детектирование одной из частот приведет к появлению на выходе одной новой частоты, которая зависит от суммы или разности частоты генератора переменного тока и управляющей частоты. Активное выпрямление огибающей модулированного выходного сигнала генератора переменного тока также может быть использовано для получения новой частоты силового напряжения.
Приведенное выше описание предназначено для иллюстрации, и специалист сможет предложить другие изменения к предложенным вариантам выполнения, не выходя за пределы области притязаний раскрытого изобретения. Например, машина может быть однофазной или многофазной, одноканальной или многоканальной. Обмотки могут содержать один виток на паз или несколько, число витков обмотки не обязательно должно быть целым числом, количество силовых обмоток не должно быть равно количеству обмоток управления, и в пазу может находиться одна или более обмоток. Обмотки могут быть выполнены любым (-ми) проводником (-ами) (т.е. одиночным проводником, состоящим более чем из одного провода, изолированным, слоистым, литцендратом и др.), либо могут быть сверхпроводящими. В многофазных машинах может использоваться соединение обмоток треугольником или звездой согласно известным схемам. Между силовой обмоткой и обмоткой управления необязательно должен быть воздушный зазор, если обмотки электрически изолированы друг от друга. Ротор может иметь любую подходящую электромагнитную конфигурацию (т.е. в роторе не обязательно должны использоваться постоянные магниты) и может быть внешним или внутренним, либо может иметь другую подходящую конфигурацию. Возможны другие конфигурации обмоток, и описанные выше обмотки необязательно должны использоваться вовсе, либо по всему устройству. Кроме того, описанные магнитные контуры могут быть расположены в статоре (и/или в роторе) любым подходящим способом. Аналогично, статор и ротор также могут иметь любую подходящую конфигурацию. Могут использоваться любые подходящие способы насыщения. Хотя источник постоянного тока является предпочтительным для управления насыщением в описанных выше вариантах выполнения, также может в определенных обстоятельствах использоваться и источник переменного тока для достижения нужных результатов, что должно быть понятно опытному читателю.
С учетом приведенного описания раскрытия для специалиста будут очевидны и другие модификации, попадающие в область патентных притязаний настоящего изобретения, и предполагается, что такие модификации охватываются эквивалентами в соответствии с приложенной формулой. Следует понимать, что в данной заявке термин “генератор переменного тока” порой используется обобщенно для обозначения устройства, используемого для генерирования электроэнергии, и поэтому не всегда предполагается, что это устройство сводится к устройству для генерирования выходного переменного тока.
Формула изобретения
1. Электродвигатель-генератор переменного тока, имеющий ротор, снабженный группой постоянных магнитов, и статор, отличающийся тем, что статор снабжен группой первых пазов и группой вторых пазов, причем первые пазы расположены на периферии статора напротив ротора, а вторые пазы расположены с противоположной стороны первых пазов по отношению к ротору, при этом он содержит, по крайней мере, первую обмотку, расположенную в группе упомянутых первых и вторых пазов, по крайней мере, первый магнитный контур, образованный в статоре и роторе и охватывающий, по крайней мере, один первый паз с размещенной в нем первой обмоткой, по крайней мере, второй магнитный контур, охватывающий, по крайней мере, один второй паз с размещенной в нем первой обмоткой и магнитно-насыщаемую часть статора, отличную от общей части, по крайней мере, вторую обмотку, расположенную вблизи первой обмотки в группе вторых пазов, образованный в статоре и охватывающий магнитно-насыщаемую часть статора третий магнитный контур, источник тока и устройство управления, при этом второй магнитный контур имеет общую часть статора с первым магнитным контуром, причем третий магнитный контур функционально связан с током во второй обмотке, причем источник тока соединен со второй обмоткой с возможностью подачи через нее тока, достаточного для существенного насыщения упомянутой магнитно-насыщаемой части статора, а устройство управления подключено с возможностью изменения упомянутого тока, подаваемого во вторую обмотку, и изменения степени насыщения магнитно-насыщаемой части.
2. Электродвигатель-генератор по п.1, отличающийся тем, что второй магнитный контур охватывает только один из упомянутых вторых пазов.
3. Электродвигатель-генератор по п.1, отличающийся тем, что вторая обмотка расположена во вторых пазах, отличных от вторых пазов с первой обмоткой, но смежных с ними.
4. Электродвигатель-генератор по п.3, отличающийся тем, что магнитно-насыщаемая часть расположена между упомянутыми отличными, но смежными вторыми пазами.
5. Электродвигатель-генератор по п.1, отличающийся тем, что вторая обмотка расположена во вторых пазах с попеременно противоположным направлением намотки относительно первой обмотки.
6. Электродвигатель-генератор по п.1, отличающийся тем, что ротор представляет собой ротор с постоянными магнитами.
7. Электродвигатель-генератор переменного тока, имеющий ротор и статор, отличающийся тем, что статор имеет группу магнитных контуров ротора и группу вторых магнитных контуров, причем каждый магнитный контур ротора совместно образован между статором и ротором и содержит первую часть, по крайней мере, одной силовой обмотки статора, каждый второй магнитный контур содержит вторую часть силовой обмотки, расположенную снаружи магнитных контуров ротора, по крайней мере, одну обмотку управления, связанную с упомянутыми вторыми магнитными контурами с возможностью магнитного насыщения насыщающим током управления через обмотку управления, по которой проходят упомянутые вторые магнитные контуры части статора, отличной от части статора, по которой проходят магнитные контуры ротора, причем вторые магнитные контуры расположены попарно таким образом, что в одном втором магнитном контуре связанная с ним обмотка управления и вторая часть обмотки статора намотаны вокруг статора в одинаковом направлении, а в другом втором магнитном контуре связанная с ним обмотка управления и вторая часть обмотки статора намотаны вокруг статора в противоположных направлениях.
8. Электродвигатель-генератор по п.7, отличающийся тем, что статор имеет группу вторых пазов, в которых расположены упомянутые вторые части силовой обмотки и часть обмотки управления, причем каждый упомянутый второй магнитный контур охватывает один из упомянутых вторых пазов.
9. Электродвигатель-генератор по п.7, отличающийся тем, что статор имеет группу радиальных первых пазов, в которых расположены упомянутые первые части силовой обмотки, причем каждый упомянутый первый магнитный контур охватывает, по крайней мере, один из упомянутых первых пазов.
10. Электродвигатель-генератор по п.7, отличающийся тем, что ротор представляет собой ротор с постоянными магнитами.
11. Генератор переменного тока, отличающийся тем, что он содержит ротор, узел статора и насыщающее устройство, при этом узел статора имеет, по крайней мере, одну обмотку статора, установленную с возможностью вырабатывания упомянутого переменного тока генератора переменного тока, обмотка статора имеет, по крайней мере, пару последовательно соединенных ветвей, которые разнесены одна от другой по кругу относительно узла статора, причем ротор и узел статора совместно образуют, по крайней мере, два магнитных контура передачи магнитного потока ротора, при этом один из магнитных контуров ротора охватывает первую часть одной из упомянутых ветвей обмотки статора, другой магнитный контур ротора охватывает первую часть другой из упомянутых ветвей обмотки статора, узел статора образует, по крайней мере, пару вторых магнитных контуров передачи магнитного потока, один из вторых магнитных контуров охватывает вторую часть одной из упомянутых ветвей обмотки статора, а другой второй магнитный контур охватывает вторую часть другой из упомянутых ветвей обмотки статора, причем вторые магнитные контуры удалены от магнитных контуров ротора, а насыщающее устройство связано, по крайней мере, с частью каждого второго магнитного контура, причем, по крайней мере, часть каждого второго магнитного контура удалена от магнитных контуров ротора, при этом насыщающее устройство подключено с возможностью осуществления заданного магнитного насыщения упомянутой части каждого второго магнитного контура на заданной частоте, магнитного насыщения одного из вторых магнитных контуров в том же направлении, что и направление циркуляции магнитного потока по этому второму магнитному контуру, с одновременным насыщением другого из вторых магнитных контуров в направлении, противоположном направлению циркуляции магнитного потока в этом втором магнитном контуре.
12. Генератор по п.11, отличающийся тем, что каждый второй магнитный контур замкнут только в одной ветви обмотки статора.
13. Генератор по п.11, отличающийся тем, что статор имеет группу радиальных первых пазов, в которых расположены упомянутые первые части силовой обмотки, при этом каждые упомянутые первые магнитные контуры охватывают, по крайней мере, один из упомянутых первых пазов.
14. Генератор по п.11, отличающийся тем, что насыщающее устройство содержит, по крайней мере, одну обмотку управления, связанную с упомянутыми вторыми магнитными контурами с возможностью магнитного насыщения, по крайней мере, части упомянутых магнитных контуров насыщающим током управления через обмотку управления.
15. Генератор по п.11, отличающийся тем, что ротор представляет собой ротор с постоянными магнитами.
16. Генератор переменного тока, отличающийся тем, что он содержит ротор и узел статора, имеющий, по крайней мере, одну обмотку статора, при этом обмотка статора имеет, по крайней мере, пару последовательно соединенных ветвей, пространственно разнесенных по окружности одна от другой относительно узла статора, при этом ротор и узел статора совместно образуют, по крайней мере, два магнитных контура ротора передачи магнитного потока, один из магнитных контуров ротора охватывает первую часть одной из упомянутых частей обмотки статора, а другой магнитный контур ротора охватывает первую часть другой из упомянутых ветвей обмотки статора, при этом узел статора образует, по крайней мере, пару вторых магнитных контуров передачи магнитного потока, при этом один из упомянутых вторых магнитных контуров охватывает вторую часть одной из упомянутых ветвей обмотки статора, а другой из упомянутых вторых магнитных контуров охватывает вторую часть другой из упомянутых ветвей обмотки статора, причем вторые магнитные контуры расположены снаружи магнитных контуры ротора, при этом имеется насыщающее устройство вторых магнитных контуров, содержащее, по крайней мере, одну обмотку управления, намотанную вокруг по крайней мере части статора, по которой проходят вторые магнитные контуры, при этом упомянутые, по крайней мере, части вторых магнитных контуров отличны от части статора, по которой проходят магнитные контуры ротора, при этом обмотка управления установлена с возможностью магнитного насыщения упомянутой части статора, по которой проходят вторые магнитные контуры, при прохождении порогового тока насыщения по обмотке управления, причем обмотка управления одного из вторых магнитных контуров намотана в том же направлении, что и связанная с ней вторая часть ветви обмотки статора, а обмотка управления другого второго магнитного контура намотана в направлении, противоположном направлению намотки связанной с ней второй части ветви обмотки статора.
17. Генератор по п.16, отличающийся тем, что число витков обмотки управления многократно превышает число витков упомянутой второй части соответствующих ветвей обмотки статора.
18. Генератор по п.16, отличающийся тем, что каждый второй магнитный контур замыкает только одну ветвь обмотки статора.
19. Генератор по п.16, отличающийся тем, что статор имеет группу радиальных первых пазов, в которых расположены упомянутые первые части силовой обмотки, при этом каждый упомянутый первый магнитный контур охватывает, по крайней мере, один из упомянутых первых пазов.
20. Генератор по п.16, отличающийся тем, что ротор представляет собой ротор с постоянными магнитами.
21. Генератор переменного тока, содержащий ротор и статор, отличающийся тем, что статор имеет, по крайней мере, одну обмотку и образует, по крайней мере, два магнитных контура ротора и, по крайней мере, два вторых магнитных контура, отделенных от ротора и магнитных контуров ротора, при этом первые части обмоток статора охвачены только магнитными контурами ротора, вторые части обмоток статора охвачены только вторыми магнитными контурами, при этом генератор дополнительно снабжен средством магнитного насыщения, по крайней мере, части соответствующих пар вторых магнитных контуров в противоположных относительных направлениях, установленным с возможностью регулирования выходного параметра генератора переменного тока при одновременном ненасыщенном состоянии магнитных контуров ротора, и устройством управления средством магнитного насыщения, подключенным с возможностью управления заданным образом степенью насыщения, по крайней мере, части упомянутых соответствующих пар вторых магнитных контуров.
22. Генератор по п.21, отличающийся тем, что статор имеет группу радиальных пазов, в которых расположены упомянутые первые части обмотки статора, а упомянутые магнитные контуры ротора охватывают часть группы радиальных пазов.
23. Генератор по п.22, отличающийся тем, что группа радиальных пазов расположена на периферии статора напротив ротора.
24. Генератор по п.23, отличающийся тем, что он дополнительно содержит группу вторых пазов, расположенных дальше по радиусу от ротора, чем упомянутая группа радиальных пазов, причем вторые части обмотки статора расположены в соответствующих упомянутых вторых пазах, а вторые пазы расположены в статоре вне магнитных контуров ротора.
25. Генератор по п.21, отличающийся тем, что средство магнитного насыщения содержит по крайней мере одну обмотку управления в статоре, причем по крайней мере одна обмотка управления связана с упомянутыми вторыми магнитными контурами с возможностью магнитного насыщения упомянутой, по крайней мере, части упомянутых вторых магнитных контуров насыщающим током управления через обмотку управления.
26. Генератор по п.25, отличающийся тем, что число витков, по крайней мере, одной обмотки управления многократно превосходит число витков упомянутых вторых частей, по крайней мере, одной обмотки статора.
27. Генератор по п.21, отличающийся тем, что ротор представляет из себя ротор с постоянными магнитами.
РИСУНКИ
|
|