|
|
(21), (22) Заявка: 2007106084/09, 19.07.2005
(24) Дата начала отсчета срока действия патента:
19.07.2005
(30) Конвенционный приоритет:
20.07.2004 IT MI2004A001463
(43) Дата публикации заявки: 27.08.2008
(46) Опубликовано: 10.02.2009
(56) Список документов, цитированных в отчете о поиске:
DE 10039637 A1, 28.02.2002. RU 2016785 C1, 30.07.1994. EP 0834957 A, 08.04.1998. US 3115541 A, 24.12.1963. GB 699856 A, 18.11.1953. GB 2103434 A, 16.02.1983.
(85) Дата перевода заявки PCT на национальную фазу:
20.02.2007
(86) Заявка PCT:
EP 2005/007840 (19.07.2005)
(87) Публикация PCT:
WO 2006/008131 (26.01.2006)
Адрес для переписки:
129090, Москва, ул. Б.Спасская, 25, стр.3, ООО “Юридическая фирма Городисский и Партнеры”, пат.пов. Ю.Д.Кузнецову, рег.№ 595
|
(72) Автор(ы):
КОРРАДИ Винченцо (IT), ПАСКУИНЕЛЛИ Мауро (IT)
(73) Патентообладатель(и):
Италдженио С.Р.Л. (IT)
|
(54) УСТРОЙСТВО ДЛЯ ЭЛЕКТРИЧЕСКОГО СОЕДИНЕНИЯ ПРЕРЫВИСТЫХ ПРОВОДОВ
(57) Реферат:
Устройство для электрического соединения прерывистых проводов (1, 2), проходящих в продольном направлении (Х-Х), содержит корпус (10) из изоляционного материала, внутри которого размещен токопроводящий элемент (20), снабженный средством (22, 22а), вхождения в контакт с токопроводящей частью, по меньшей мере, одного соответствующего прерывистого провода (1, 2), причем корпус имеет направляющие (13) для скольжения соответствующего скользящего контакта (30), снабженного, по меньшей мере, одним посадочным местом (33), размещенным параллельно продольному направлению (Х-Х) и предназначенным для удержания части прерывистого провода (1, 2), причем скользящий контакт (30) установлен с возможностью перемещения из первого положения извлечения из корпуса (10) во второе положение вставления в корпус (10). Технический результат – обеспечение возможности восстановления электрической непрерывности электрического соединения проводов, обеспечение надежного механического удержания проводов от продольных сил натяжения и отсутствие токоведущих элементов в доступных для пользователя местах. 2 н. и 12 з.п. ф-лы, 8 ил.
Область техники
Настоящее изобретение относится к устройству для электрического соединения прерывистых проводов, проходящих в продольном направлении.
Уровень техники
Известна потребность обслуживающего персонала сетей энергоснабжения в создании электрических соединений прерывистых проводов посредством клемм, позволяющих восстанавливать неразрывность электрического соединения и при этом обеспечивать механическое удержание проводов, которые должны противостоять заранее установленным продольным тяговым нагрузкам.
Примером таких клемм являются так называемые клеммные колодки, по существу, состоящие из корпуса, изготовленного из изоляционного материала, имеющие заглубленные клеммы, изготовленные из токопроводящего материала, подключенные к каждому кабелю и содержащие отверстие для вставления второго кабеля в продольном направлении, при этом зажимной винт для кабеля действует в направлении поперечно кабелю.
Наиболее распространенные выводные щитки для электрических панелей изготовляются по тому же принципу.
Это средство соединения обладает определенной функциональностью, но, тем не менее, имеет те же недостатки, поскольку токоведущие части (даже при 220V) открыты и доступны; необходимо зачищать провода до их вставления в направляющие для крепления винты, для соединения провода необходимо три руки, необходимо использовать инструмент (отвертку) для завинчивания и отвинчивания клеммы и вставления и изъятия проводов, что затрудняет работы, особенно в неудобных местах, таких как потолочная осветительная арматура и т.п.
Существо изобретения
Технической задачей настоящего изобретения является создание устройства, позволяющего обеспечить соединение прерывистых электрических кабелей, чтобы восстановить электрическую непрерывность, обеспечить надежное механическое удержание проводов от продольных сил натяжения и не имеющего токоведущих элементов в доступных (даже случайно) для пользователей местах.
Устройство также должно иметь ограниченный размер, быть простым и недорогим в изготовлении и удобным в использовании даже для неопытных сотрудников без необходимости дополнительных инструментов.
Поставленная задача достигается согласно настоящему изобретению посредством устройства для электрического соединения прерывистых проводов, идущих в продольном направлении, характеризующегося признаками независимого пункта 1 прилагаемой формулы изобретения. Предпочтительные варианты осуществления изобретения раскрыты в зависимых пунктах формулы изобретения.
Устройство согласно изобретению содержит корпус, изготовленный из изоляционного материала, внутри которого размещен токопроводящий элемент, снабженный средством, способным входить в контакт с токопроводящей частью, по меньшей мере, одного соответствующего прерывистого провода, причем корпус имеет направляющие для скольжения соответствующего скользящего контакта, снабженного, по меньшей мере, одним связанным посадочным местом, расположенным параллельно продольному направлению и предназначенному для удержания части соответствующего прерывистого провода, причем скользящий контакт установлен с возможностью перемещения из первого положения извлечения из корпуса ко второму положению вставления внутрь корпуса.
Краткое описание чертежей
В дальнейшем изобретение поясняется описанием неограничивающих вариантов осуществления настоящего изобретения со ссылкой на прилагаемые чертежи, которые иллюстрируют:
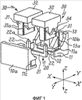
Фиг.1 изображает общий вид устройства для электрического соединения прерывистых проводов согласно первому варианту осуществления настоящего изобретения;
Фиг.2 – общий вид устройства, которое собрано, открыто и в него вставлены провода согласно изобретению;
Фиг.3 – общий вид устройства согласно изобретению;
Фиг.4 – общий вид устройства в ходе фиксации первого провода согласно изобретению;
Фиг.5 – общий вид устройства после фиксации двух проводов согласно изобретению;
Фиг.6 – общий вид устройства после завершения установки согласно изобретению;
Фиг.7 – общий вид устройства для соединения двух прерывистых проводов согласно второму варианту осуществления изобретения;
Фиг.8 – общий вид устройства под углом 180°, где показан разрез вдоль медианной плоскости проводов, согласно изобретению.
Описание предпочтительных вариантов воплощения изобретения
Соединительное устройство (фиг.1-6) согласно первому варианту осуществления содержит корпус 10, изготовленный из изоляционного материала, образованный из двух половин 10a и 10b, которые могут быть скреплены в поперечном направлении Y-Y под прямым углом к продольному направлению X-X, параллельному продольному направлению проводов 1 и 2, которые должны быть вставлены в устройство (далее для ясности упоминаемое как клемма).
Упомянутое поперечное скрепление двух половин 10a и 10b может быть выполнено посредством упругого элемента 11, размещенного поперечно к одной (10b) из двух половин и снабженного крюком 11a, который может входить в соответствующую направляющую 11 другой половины 10a.
Две половины 10a, 10b дополнительно определяют направляющую 12, внутри которой размещен элемент 20, позволяющий определять электрическую непрерывность между двумя проводами 1 и 2, соединенными посредством клеммы. В описываемом варианте осуществления токопроводящий элемент 20 имеет практически U-образную форму, при этом его подложка 21 проходит в продольном направлении, а ответвления 22 проходят в направлении Z-Z под прямым углом к плоскости, заданной продольным направлением X-X и поперечным направлением Y-Y. Свободный конец каждого U-образного ответвления 22 преимущественно имеет наконечник 22a, который предназначен для облегчения вхождения ответвления 22 токопроводящего элемента 20 в соответствующий провод 1 или 2.
Внутри каждой половины 10a, 10b сформированы направляющие 13, предназначенные (после скрепления двух половин 10a, 10b) для формирования направляющей для скольжения в направлении, параллельном направлению Z-Z скользящего контакта 30, предназначенного для формирования механического элемента фиксации и удержания соответствующих проводов 1, 2.
Скользящий контакт 30 имеет корпус 31, геометрически эквивалентный направляющей 13, внутри которой должна скользить головка 32, с большей поверхностью, чтобы давать возможность скользящему контакту 30 проталкиваться в направлении наконечника 22a проводящего элемента 22 и формировать конец ударного упора скользящего контакта. В предпочтительном варианте осуществления направляющая 13 имеет одну или более зубчатых реек 13a для соединения с соответствующей рейкой 31a корпуса 31 скользящего контакта. Ориентация зубцов такова, чтобы обеспечивать возможность скольжения скользящего контакта 30 в направлении внутренней части корпуса и не допускать движения в противоположную сторону наружу скользящего контакта.
В корпусе 31 каждого скользящего контакта 30 дополнительно сформирована практически круглая направляющая 33, проходящая в продольном направлении и открытая снаружи, чтобы можно было вставить в продольном направлении соответствующий провод 1, 2 в направляющую 33.
В диаметральном положении направляющая 33 дополнительно представляет апертуру 33a, размещенную на оси ответвлений 22 токопроводящего элемента 20 и обеспечивающую возможность прохождения соответствующего ответвления 22 через апертуру.
На внешней поверхности под прямыми углами к продольному направлению вставления провода корпус 31 скользящего контакта дополнительно представляет направленный кверху V-образный раструб 34 для направления скользящего контакта 30 по соответствующему проводу 1, 2.
Работа устройства согласно изобретению осуществляется следующим образом.
В нормальном режиме клемма имеет два скользящих контакта 30, поднятых наружу (фиг.3), в этом режиме обеспечена возможность легкого вставления проводов 1, 2 в соответствующую продольную направляющую 33 без необходимости предварительной зачистки проводов.
После вставления проводов 1 и 2 в соответствующую направляющую 33 к головке 32 прикладывается сила соответствующего скользящего контакта 30 для опускания внутрь корпуса 10.
Провода 1 и 2 проталкиваются в направлении наконечников 22a ответвлений 22 U-образного токопроводящего элемента 20; наконечники при вхождении внутрь соответствующего провода 1, 2 создают его электрическую непрерывность.
Таким образом, устройство согласно настоящему изобретению позволяет восстанавливать электрическую непрерывность посредством соединения проводов без необходимости их зачистки, без дополнительных инструментов и без частей, находящихся под напряжением, доступных снаружи.
Хотя представлено описание для соединения двух проводов (1, 2), клемма согласно настоящему изобретению также может быть выполнена:
– в виде одного блока с корпусом (10) из двух половин и одним зажимным скользящим контактом (30) для формирования части устройств в виде одного целого, таких как штепсельные разъёмы или гнезда (по сути, известны и, следовательно, не показаны), которые включаются во внешнюю часть головки скользящего контакта 30 и апертуры продольной направляющей 33 для вставления соответствующих проводов 1, 2;
– в виде множества клемм, которые могут быть использованы в электрических щитках или панелях и т.п.;
– клемма позволяет вставлять провода и обеспечивать электрическое соединение быстро и легко даже неспециалистам.
На фиг.7 и 8 показан второй вариант осуществления устройства согласно изобретению для соединения пары прерывистых проводов или кабелей 1, 2.
Кратко поясняются только части, структурно отличные от частей предыдущего варианта осуществления.
В этом случае корпус 10 устройства изготовлен в виде одного модуля, а не из двух модулей, которые можно соединить вместе, и соединен с идентичными корпусами так, чтобы формировать выводной щиток.
Поскольку две пары прерывистых проводов 1, 2 должны быть соединены, каждый скользящий контакт 30 имеет две наложенные направляющие или отверстия 33 для размещения конца соответствующих пар проводов 1 и 2. U-образный токопроводящий элемент 20 имеет подложку 21, заглубленную в подложку корпуса 10, и ответвления 22, которые выходят в соответствующие пары проводов 1 и 2, когда скользящие контакты 30 опущены в рабочую позицию. Таким образом, каждое ответвление 22 или токопроводящий элемент 20 устанавливает электрическую непрерывность между парой проводов 1 и парой проводов 2, соответственно, и подложка 21 токопроводящего элемента 20 устанавливает электрическую непрерывность между парой проводов 1 и парой проводов 2.
В этом варианте осуществления рейки 13a, 31a заменены на размещенные друг напротив друга зубцы 13a, 31a, которые обеспечивают плотную фиксацию скользящего контакта 30 в корпусе 10, а также возможность разборки клеммы при необходимости.
Формула изобретения
1. Устройство для электрического соединения прерывистых проводов (1, 2), проходящих в продольном направлении (Х-Х), содержащее корпус (10) из изоляционного материала, внутри которого размещен U-образный токопроводящий элемент (20), с ответвлениями (22), практически параллельными направлению (Z-Z) под прямым углом к продольному направлению (Х-Х), снабженный средством (22, 22а), для вхождения в контакт с токопроводящей частью, по меньшей мере, одного соответствующего прерывистого провода (1, 2), при этом корпус имеет направляющие (13) для скольжения в направлении (Z-Z) соответствующего скользящего контакта (30), установленного с возможностью перемещения из первого положения, в котором он извлекается из корпуса (10), во второе положение, в котором он вставляется в корпус (10), отличающееся тем, что ответвления (22) токопроводящего элемента (20) имеют конец в форме наконечника (22а), при этом каждый скользящий контакт снабжен, по меньшей мере, одной направляющей (33), проходящей параллельно продольному направлению (Х-Х) и обеспечивающей размещение части соответствующего прерывистого провода (1, 2), причем направляющая (33) имеет отверстия (33а), расположенные диаметрально вдоль оси ответвлений (22) токопроводящего элемента (20), и размер которых обеспечивает прохождение соответствующего ответвления (22) токопроводящего элемента (20), так что перемещение скользящего контакта (30) из первого положения, в котором он извлекается из корпуса (10), во второе положение, в котором он вставляется в корпус (10), вызывает вхождение наконечников (22а) U-образного токопроводящего элемента (20) в соответствующий провод (1, 2), обеспечивая электрическое соединение между ними.
2. Устройство по п.1, отличающееся тем, что содержит средство (13а, 31а), приспособленное для фиксации скользящего контакта (30) во втором положении при вставлении в корпус (10).
3. Устройство по любому из пп.1 или 2, отличающееся тем, что корпус (10) выполнен в виде одного модуля.
4. Устройство по любому из пп.1 или 2, отличающееся тем, что корпус (10) выполнен из изоляционного материала и сформирован из двух половин (10а) и (10b), которые могут быть скреплены в поперечном направлении (Y-Y) посредством соответствующего поддерживающего средства (11).
5. Устройство по п.4, отличающееся тем, что поддерживающее средство состоит из упругого элемента (11), размещенного поперечно от одной (10b) из двух половин, снабженной крюком (11а) для входа в соответствующую направляющую (11с) другой половины (10а).
6. Устройство по п.1, отличающееся тем, что скользящий контакт (30) имеет корпус (31), геометрически эквивалентный соответствующей направляющей (13), сформированной в корпусе (10), и головку (32) с большей поверхностью, чем корпус.
7. Устройство по п.1, отличающееся тем, что продольные направляющие (33) скользящего контакта (30) имеют практически круглое сечение, открытое наружу.
8. Устройство по п.1, отличающееся тем, что на его внешней поверхности под прямым углом к продольному направлению вставления провода (1, 2) корпус (31) скользящего контакта (30) дополнительно имеет направленный кверху V-образный раструб (34), предназначенный для направления скользящего контакта (30) по соответствующему проводу (1, 2).
9. Устройство по п.2, отличающееся тем, что средство (13а, 31а) фиксации состоит из пар противоположных зубцов, размещенных в корпусе (10) на скользящем контакте (30).
10. Устройство по п.9, отличающееся тем, что противоположные зубцы (13а, 31а) имеют зубчатую форму, обеспечивающую возможность скольжения скользящего контакта (30) внутрь корпуса (10), не допуская его возврата в начальное положение.
11. Устройство по любому из пп.1-10, отличающееся тем, что оно соединено с идентичными устройствами для формирования выводного щитка.
12. Устройство электрического типа, предназначенное для скрепления с электрическими проводами (1, 2), отличающееся тем, что содержит, по меньшей мере, одно устройство для электрического соединения проводов по п.1.
13. Устройство по п.12, отличающееся тем, что оно представляет собой вилку.
14. Устройство по п.12, отличающееся тем, что оно представляет собой штепсель.
РИСУНКИ
|
|