|
|
(21), (22) Заявка: 2005139553/09, 10.05.2004
(24) Дата начала отсчета срока действия патента:
10.05.2004
(30) Конвенционный приоритет:
17.05.2003 GB 0311371.9 22.05.2003 GB 0311739.7
(43) Дата публикации заявки: 27.04.2006
(46) Опубликовано: 10.02.2009
(56) Список документов, цитированных в отчете о поиске:
WO 03/036756 А, 01.05.2003. US 5736963 А, 07.04.1998. RU 2162260 С2, 20.01.2001. RU 2187140 C2, 10.08.2002.
(85) Дата перевода заявки PCT на национальную фазу:
19.12.2005
(86) Заявка PCT:
GB 2004/002016 (10.05.2004)
(87) Публикация PCT:
WO 2004/102739 (25.11.2004)
Адрес для переписки:
129090, Москва, ул. Б.Спасская, 25, стр.3, ООО “Юридическая фирма Городисский и Партнеры”, пат.пов. Ю.Д.Кузнецову, рег.№ 595
|
(72) Автор(ы):
ХАСКЕЛЛ Филип Эдвард (GB)
(73) Патентообладатель(и):
КВИНТЕЛ ТЕКНОЛОДЖИ ЛИМИТЕД (GB)
|
(54) СИСТЕМА ФАЗИРОВАННОЙ АНТЕННОЙ РЕШЕТКИ С РЕГУЛИРУЕМЫМ ЭЛЕКТРИЧЕСКИМ НАКЛОНОМ
(57) Реферат:
Изобретение относится к области телекоммуникаций. Технический результат состоит в предложении альтернативной формы системы фазированной антенной решетки. Для этого система с регулируемым электрическим наклоном включает в себя решетку, состоящую из антенных элементов. Система имеет разделитель для разделения радиочастотного (РЧ) сигнала несущей на два сигнала, между которыми регулируемый фазовращатель вносит переменный фазовый сдвиг. Дополнительные разделители разделяют сигналы, подвергнутые относительному фазовому сдвигу, на два набора из пяти сигналов каждый. Четыре сигнала каждого набора, состоящего из пяти сигналов, подвергаются векторному объединению в схеме, состоящей из гибридных разветвителей, вносящих фазовые сдвиги на 180°. Это обеспечивает получение составляющих векторных сумм и разностей, которые совместно с пятью членами упомянутых наборов подаются в соответствующие фиксированные фазовращатели. Фазовращатели выдают сигналы, которые надлежащим образом фазированы для использования в качестве сигналов возбуждения фазированной антенной решетки для соответствующих элементов. Регулирование единственного фазового сдвига, вносимого регулируемым фазовращателем, изменяет угол электрического наклона всей антенной решетки. 2 н. и 28 з.п. ф-лы, 16 ил., 6 табл.
Изобретение относится к системе фазированной антенной решетки с регулируемым электрическим наклоном. Эта система пригодна для использования во многих областях телекоммуникаций, но находит конкретное приложение в сотовых сетях мобильной радиосвязи, обычно называемых сетями мобильной телефонной связи. Более конкретно – но не в ограничительном смысле – система антенны согласно изобретению может быть использована совместно с сетями мобильной телефонной связи второго поколения (2G-сетями), например, совместно с Глобальной системой мобильной связи (GSM), и сетями мобильной телефонной связи третьего поколения (3G-сетями), например, совместно с Универсальной мобильной телекоммуникационной системой (UMTS).
Операторы сотовых сетей мобильной радиосвязи в общем случае пользуются своими базовыми станциями, каждая из которых имеет, по меньшей мере, одну антенну. В сотовых сетях мобильной радиосвязи антенны являются основополагающим фактором при определении зоны обслуживания, в которой может иметь место связь с базовой станцией. Зона обслуживания обычно разделена на некоторое количество перекрывающихся ячеек, каждая из которых связана с соответствующей антенной и базовой станцией. Эти ячейки в общем случае также разделены на сектора для улучшения покрытия связью.
Антенна каждого сектора соединена с базовой станцией для осуществления радиосвязи со всеми мобильными радиостанциями в этом секторе. Базовые станции взаимосвязаны с помощью других средств связи, обычно – двухточечных линий радиосвязи или фиксированных наземных линий связи, что позволяет мобильным радиостанциям по всей области покрытия ячейки осуществлять связь друг с другом, а также с телефонной сетью общего пользования, которая находится вне сотовой сети мобильной радиосвязи.
Известны сотовые сети мобильной радиосвязи, использующие фазированные антенные решетки. Такая антенна содержит решетку (обычно из восьми или более) отдельных антенных элементов, таких, как вибраторы и микрополосковые элементы. Антенна имеет диаграмму направленности, состоящую из главного лепестка и боковых лепестков. Центр главного лепестка определяет направление максимальной чувствительности антенны, т.е. направление основного луча. Хорошо известное свойство фазированной антенной решетки заключается в том, что если сигналы, принимаемые антенными элементами, задерживаются на величину задержки, которая линейно изменяется с расстоянием от края решетки, то основной луч управляется так, что он поворачивается в направлении увеличения задержки. Угол между центрами основного луча, соответствующими нулевому и ненулевому изменениям задержки, т.е. угол управления положением, зависит от скорости изменения задержки с изменением расстояния вдоль антенной решетки.
Точно так же, задержку можно реализовать путем изменения фазы сигнала, откуда и пошло выражение «фазированная антенная решетка». Следовательно, основной луч диаграммы направленности антенны можно изменять путем регулирования соотношения фаз между сигналами, подаваемыми на разные антенные элементы. Это позволяет осуществлять управление лучом для изменения зоны покрытия антенны.
Операторы фазированных антенных решеток в сотовых сетях мобильной радиосвязи сталкиваются с требованием регулировать диаграмму направленности своих антенн по вертикали, т.е. регулировать поперечное сечение этой диаграммы в вертикальной плоскости. Это необходимо для изменения вертикального угла – называемого также «углом наклона» – основного луча антенны с целью регулирования зоны покрытия антенны. Такое регулирование может понадобиться, например, для компенсации изменения сотовой структуры сети либо количества базовых станций или антенн. Известно, что регулирование угла наклона антенны может быть механическим и электрическим, причем эти варианты можно реализовать как по отдельности, так и совместно.
Угол наклона антенны можно регулировать механически – путем перемещения элементов антенны или их корпуса (обтекателя): это называют регулированием угла «механического наклона». Как описано выше, угол наклона антенны можно регулировать электрически – путем изменения временной задержки или фазы сигналов, подаваемых в каждый элемент (или группу элементов) антенной решетки или принимаемых из него (них) без физического перемещения: это называют регулированием угла «электрического наклона».
При использовании в сотовой сети радиосвязи, к диаграмме направленности по вертикали (ДНпВ) предъявляется ряд важных требований:
1) высокое усиление в направлении главного лепестка (или линии визирования);
2) достаточно низкий уровень первого верхнего бокового лепестка во избежание помех мобильным станциям, использующим базовую станцию в другой ячейке или сети;
3) достаточно высокий уровень первого нижнего бокового лепестка для обеспечения возможности связи в непосредственной близости к антенне.
Эти требования взаимно противоречивы: например, увеличение усиления на линии визирования может увеличить уровень боковых лепестков. Обнаружено, что уровень первого верхнего бокового лепестка, составляющий -18 дБ относительно уровня на линии визирования, обеспечивает удобный компромисс в рабочих характеристиках всей системы в целом.
Эффект регулирования – либо угла механического наклона, либо угла электрического наклона – заключается в изменении положения линии визирования таким образом, что она оказывается направленной вверх или вниз от горизонтальной плоскости, что изменяет зону покрытия антенны.
Желательно иметь возможность изменять и механический наклон, и электрический наклон антенны базовой станции в сотовой сети радиосвязи: это обеспечивает максимальную гибкость в оптимизации покрытия ячеек или секторов, поскольку эти формы наклона имеют разные влияния на наземное покрытие антенной, а также на другие антенны в непосредственной близости от упомянутой станции. Кроме того, эффективность работы повышается, если угол электрического наклона можно регулировать дистанционно от узла антенны. Если угол механического наклона антенны можно регулировать путем изменения положения ее обтекателя, то изменение угла электрического наклона требует дополнительных электронных схем, что увеличивает стоимость и сложность антенны. Более того, если некоторое количество операторов совместно используют одну антенну, то предпочтительным является обеспечение отдельного угла электрического наклона для каждого оператора.
Потребность в отдельном угле наклона совместно используемой антенны до сих пор не удовлетворена и привела к компромиссам в рабочих характеристиках систем. Если усиление уменьшается вследствие используемого метода изменения угла электрического наклона, то могут произойти дальнейшие снижения рабочих характеристик систем. В книге R.C. Thompson, Antenna Engineers Handbook («Справочник для инженеров по антеннам»), 3-е издание, 1993, издательство McGray Hill, ISBN 0-07-032381-X, глава 20, фиг.20-2, описывает способ локального или дистанционного регулирования угла электрического наклона фазированной антенной решетки. В этом способе, сигнал несущей радиочастотного (РЧ) приемника подается на антенну и распределяется по излучающим антенным элементам. Каждый антенный элемент имеет связанный с ним регулируемый фазовращатель, так что фазу сигнала можно регулировать как функцию расстояния вдоль антенны, чтобы изменить угол электрического наклона антенны. Пропорции распределения мощности при отсутствии наклона задают уровень боковых лепестков и усиление на линии визирования. Оптимальное управление углом наклона обеспечивается, когда фазовый фронт управляется для всех углов наклона таким образом, что уровень боковых лепестков не увеличивается во всем диапазоне наклона. Если требуется, угол электрического наклона можно регулировать дистанционно – путем использования сервомеханизма для управления положением фазовращателей.
Антенна, соответствующая этому известному способу, имеет ряд недостатков. Регулируемый фазовращатель необходим для каждого антенного элемента. Из-за того, что таких необходимых фазовращателей требуется много, стоимость антенны оказывается высокой. Стоимость можно уменьшить за счет использования одного общего устройства задержки или фазовращателя для группы антенных элементов, а не для каждого из них, но это увеличивает уровень боковых лепестков. См., например, опубликованную международную патентную заявку № WO 03/036756 A и японскую патентную заявку № JP20011211025 A.
Можно использовать механическое соединение устройств задержки для регулирования задержек, но трудно сделать это корректным образом; более того, механические звенья и зубчатые передачи приводят к неоптимальному распределению задержек. Уровень верхних боковых лепестков увеличивается, когда антенна наклоняется вниз, а это создает потенциальный источник помех мобильным станциям, использующим другие базовые станции. Если некоторое количество операторов совместно используют антенну, то эти операторы имеют общий угол электрического наклона, а не разные углы, что было бы предпочтительно. И, наконец, если антенна используется в системе связи, имеющей восходящую линию связи и нисходящую линию связи на разных частотах (в дуплексной системе с частотным разделением каналов), то угол электрического наклона в режиме передачи отличается от угла электрического наклона в режиме приема из-за того, что свойства компонентов, обрабатывающих сигналы, зависят от частоты.
В международных патентных заявках №№ PCT/GB 2002/004166 и PCT/GB 2002/004930 описано локальное или дистанционное регулирование угла электрического наклона антенны посредством разности фаз в паре фидеров сигналов, соединенных с антенной.
Задача настоящего изобретения состоит в том, чтобы предложить альтернативную форму системы фазированной антенной решетки.
В настоящем изобретении предложена система фазированной антенной решетки с регулируемым электрическим наклоном, содержащая решетку, состоящую из антенных элементов, и отличающаяся тем, что содержит:
а) регулируемый фазовращатель для внесения переменного относительного фазового сдвига между первым и вторым радиочастотными (РЧ) сигналами;
б) разделяющее устройство для разделения первого и второго сигналов с относительным фазовым сдвигом, на составляющие сигналы и
в) схему объединения сигналов для формирования векторных комбинаций составляющих сигналов для выдачи соответствующего сигнала возбуждения для каждого отдельного антенного элемента с надлежащим фазированием относительно других сигналов возбуждения таким образом, что угол электрического наклона решетки регулируется в ответ на изменение переменного относительного фазового сдвига, вносимого регулируемым фазовращателем.
Изобретение обеспечивает преимущество, заключающееся в том, что можно регулировать электрический наклон всей антенной решетки с помощью одного единственного регулируемого фазовращателя, а не одного регулируемого фазовращателя для каждого антенного элемента или группы антенных элементов, как в известных технических решениях. Если используют один или более дополнительных фазовращателей, то можно получить расширенный диапазон электрического наклона.
Антенная система может иметь нечетное количество антенных элементов. Регулируемый фазовращатель может быть первым регулируемым фазовращателем, при этом система включает в себя второй регулируемый фазовращатель, выполненный с возможностью фазового сдвига составляющего сигнала, который подвергнут фазовому сдвигу первым регулируемым фазовращателем, и второй регулируемый фазовращатель обеспечивает дополнительный составляющий сигнал, выдаваемый для схемы объединения и фазового сдвига сигналов непосредственно или через одну или более комбинаций разделителей и регулируемых фазовращателей.
Регулируемый фазовращатель может быть одним из множества регулируемых фазовращателей, при этом схема фазового сдвига и объединения сигналов выполнена с возможностью выработки сигналов возбуждения антенных элементов из составляющих сигналов, некоторые из которых пропущены через все регулируемые фазовращатели, а некоторые – нет.
Разделяющее устройство может быть выполнено с возможностью разделения составляющего сигнала на дополнительные составляющие сигналы для ввода их в схему фазового сдвига и объединения сигналов. В схеме фазового сдвига и объединения сигналов возможно использование фазовращателей и гибридных разветвителей (гибридных соединений) для внесения фазового сдвига в составляющие сигналы и их векторного объединения. Гибридные соединения могут быть гибридными соединениями, вносящими фазовый сдвиг на 180°, также известными как суммарно-разностные гибридные соединения. Гибридные соединения могут быть выполнены в виде кольцевых гибридных соединений, каждое с окружностью (n+1/2) и портами ввода и вывода, разделенными промежутком /4, где n – целое число, а – длина волны РЧ сигналов в материале, из которого изготовлено каждое кольцевое гибридное соединение. Порты ввода и вывода каждого гибридного соединения согласованы с импедансом системы.
Гибридные соединения для векторного объединения составляющих сигналов могут быть выполнены с возможностью преобразования входных сигналов I1 и I2 в векторные суммы и разности, отличные от (I1+I2) и (I1-I2).
Разделяющее устройство, регулируемый фазовращатель и схема фазового сдвига и объединения сигналов могут быть расположены в одном и том же месте с антенной решеткой, образуя антенный узел, причем этот узел имеет один фидер мощности входных РЧ сигналов от удаленного источника. В альтернативном варианте, разделяющее устройство может включать в себя первый, второй и третий разделители, при этом первый разделитель расположен вместе с регулируемым фазовращателем на удалении от второго и третьего разделителей, причем второй и третий разделители, схема фазового сдвига и объединения сигналов и антенная решетка расположены в том же месте, что и антенный узел, и этот узел имеет два фидера мощности входных РЧ сигналов от удаленного источника, в котором находятся первый блок разделения и регулируемый фазовращатель.
Регулируемый фазовращатель может быть первым регулируемым фазовращателем, подсоединенным в канале передачи, при этом система включает в себя второй регулируемый фазовращатель, подсоединенный в канале приема: каналы передачи и приема могут быть аналогичными, обеспечивающими фиксированные фазовые сдвиги, а не переменный фазовый сдвиг, и тогда схема фазового сдвига и сложения сигналов выполнена с возможностью работы в обоих режимах – передачи и приема – за счет выработки сигналов возбуждения элементов антенны в ответ на сигналы в каналах передачи, а также выработки сигнала канала приема из сигналов, формируемых антенными элементами, работающими в режиме приема. Тогда угол электрического наклона оказывается независимо регулируемым в каждом режиме.
Регулируемый фазовращатель может быть одним из множества регулируемых фазовращателей, связанных с соответствующими операторами, а система при этом включает в себя устройство фильтрации и объединения для направления сигналов в общее фидерное устройство после фазового сдвига в соответствующих регулируемых фазовращателях, причем это общее фидерное устройство соединено с разделяющим устройством и схемой объединения и фазового сдвига сигналов для выдачи сигналов, содержащих вклады от обоих операторов, в антенну с независимо регулируемым электрическим наклоном. Множество регулируемых фазовращателей может содержать соответствующую пару регулируемых фазовращателей, связанных с каждым оператором, а система может иметь компоненты, которые имеют возможности обработки сигналов, следующих и в прямом, и в обратном направлении, так что система может работать в режимах передачи и приема таким образом, что электрический наклон оказывается независимо регулируемым в каждом режиме.
В еще одном аспекте, в настоящем изобретении предложен способ регулирования электрического наклона системы фазированной антенной решетки, при этом система включает в себя решетку, состоящую из антенных элементов, причем способ включает в себя:
а) внесение переменного относительного фазового сдвига между первым и вторым радиочастотными (РЧ) сигналами;
б) разделение первого и второго сигналов с относительным фазовым сдвигом на составляющие сигналы и
в) векторное объединение и относительный фазовый сдвиг составляющих сигналов для выдачи соответствующего сигнала возбуждения для каждого отдельного антенного элемента с надлежащим фазированием относительно других сигналов возбуждения таким образом, что угол электрического наклона решетки регулируется в ответ на изменение переменного относительного фазового сдвига.
Решетка может иметь нечетное количество антенных элементов.
Способ может включать в себя генерирование, по меньшей мере, одного составляющего сигнала, который подвергнут фазовому сдвигу во множестве регулируемых фазовращателей. Регулируемые фазовращатели могут быть сгруппированы, при этом способ включает в себя выработку сигналов возбуждения антенных элементов из составляющих сигналов, некоторые из которых пропущены через все регулируемые фазовращатели, а некоторые – нет.
Способ может включать в себя разделение составляющего сигнала на дополнительные составляющие сигналы для ввода их в схему фазового сдвига и объединения сигналов. В этой схеме возможно использование фазовращателей и гибридных соединений для внесения фазового сдвига в составляющие сигналы и их векторного сложения. Гибридные соединения могут быть гибридными соединениями, вносящими фазовый сдвиг на 180°. Они могут быть выполнены в виде кольцевых гибридных соединений с окружностью (n+1/2) и портами ввода и вывода, разделенными промежутком /4, где n – целое число, а – длина волны РЧ сигналов в материале, из которого изготовлено каждое кольцевое гибридное соединение. Разделяющее устройство также может включать в себя такие кольцевые гибридные соединения, при этом один порт ввода каждого гибридного соединения нагружен на резистор, значение сопротивления которого равно импедансу системы, для образования согласованной нагрузки.
Гибридные соединения для векторного объединения составляющих сигналов могут быть выполнены с возможностью преобразования входных сигналов I1 и I2 в векторные суммы и разности, отличные от (I1+I2) и (I1-I2).
Способ может включать в себя подачу одного входного РЧ сигнала из удаленного источника для разделения, внесения переменного фазового сдвига и векторного объединения в схеме, расположенной в одном и том же месте с антенной решеткой, образуя антенный узел. В альтернативном варианте, способ может включать в себя подачу двух входных РЧ сигналов с переменной фазой друг относительно друга из удаленного источника в антенный узел, а также разделение, внесение переменного фазового сдвига и объединение сигналов в схеме, расположенной в одном и том же месте с антенным узлом. При осуществлении способа возможно применение каналов передачи и приема для работы в обоих режимах – передачи и приема, выработки сигналов возбуждения антенных элементов в ответ на сигнал в каналах передачи, а также выработки сигнала канала приема из сигналов, формируемых антенными элементами, работающими в режиме приема.
Регулируемый фазовращатель может быть одним из множества регулируемых фазовращателей, связанных с соответствующими операторами, а способ может включать в себя:
а) фильтрацию и объединение сигналов и пропускание их в общее устройство подачи сигналов после фазового сдвига в соответствующих регулируемых фазовращателях, причем это общее устройство подачи сигналов соединено с разделяющим устройством и схемой объединения и фазового сдвига сигналов;
б) выдачу сигналов, содержащих вклады от обоих операторов, в антенну, и
в) независимое регулирование электрического наклона, связанного с каждым оператором.
Множество регулируемых фазовращателей может содержать соответствующую пару регулируемых фазовращателей, связанных с каждым оператором, в способе могут использоваться компоненты, которые имеют возможности обработки сигналов, следующих в прямом и в обратном направлении, так что способ может включать в себя работу в режимах передачи и приема таким образом, что электрический наклон оказывается независимо регулируемым в каждом режиме.
Изобретение поясняется ниже посредством описания вариантов осуществления, со ссылками на чертежи, при этом:
на фиг.1 показана диаграмма направленности по вертикали (ДНпВ) фазированной антенной решетки при нулевом и ненулевом углах электрического наклона;
фиг.2 иллюстрирует известную фазированную антенную решетку, имеющую регулируемый угол электрического наклона;
на фиг.3 представлена блок-схема системы фазированной антенной решетки согласно изобретению;
на фиг.4 подробнее показана схема объединения сигналов, используемая в системе согласно фиг.3;
на фиг.5 представлена фазовая диаграмма сигналов антенных элементов в связи с фазовым сдвигом на девяносто градусов, вносимым регулируемым фазовращателем в системе согласно фиг.3;
на фиг.6 и 7 представлены блок-схемы частей других систем фазированной антенной решетки согласно изобретению, включающих в себя одиннадцать и двенадцать антенных элементов, соответственно (расстояние между элементами на фиг.6 показано не совсем в масштабе);
на фиг.8 представлена фазовая диаграмма сигналов антенных элементов в связи с фазовым сдвигом на девяносто градусов, вносимым регулируемым фазовращателем в системе согласно фиг.7;
на фиг.9 представлена блок-схема еще одной системы фазированной антенной решетки согласно изобретению, в которой применяются два регулируемых фазовращателя;
на фиг.10 представлена блок-схема антенной системы согласно изобретению, аналогичной той, которая показана на фиг.9, но использующей сгруппированные регулируемые фазовращатели;
фиг.11 и 12 иллюстрируют применение изобретения с одним и двумя фидерами, соответственно;
на фиг.13 показана модификация, вносимая в изобретение и обеспечивающая независимое регулирование углов электрического наклона в режиме передачи и режиме приема;
на фиг.14 представлена блок-схема еще одной системы фазированной антенной решетки согласно изобретению, иллюстрирующая совместное использование антенны несколькими пользователями с помощью двух фидеров и с возможностью достижения отдельного наклона и работы в режимах передачи и приема;
на фиг.15 представлен вариант антенной системы согласно фиг.9 с регулируемыми фазовращателями, расположенными на удалении друг от друга; и
фиг.16 иллюстрирует систему фазированной антенной решетки согласно изобретению, включающую в себя гибридные разветвители.
Во всех проиллюстрированных примерах применяются соединения, для которых импедансы источников сигналов равны соответствующим импедансам нагрузок для образования «согласованной» системы. Согласованная система максимизирует мощность, передаваемую от источника к нагрузке, и позволяет избежать отражений сигналов. Если шины передачи сигналов нагружены на резистор (см., например, фиг.6), то значение сопротивления этого резистора равно импедансу системы для образования согласованной оконечной нагрузки.
На фиг.1 показаны диаграммы 10а и 10b направленности по вертикали (обозначаемые в тексте сокращением ДНпВ) антенны 12, которая представляет собой фазированную антенную решетку, состоящую из отдельных антенных элементов (не показаны). Антенна 12 является плоской и ориентирована вертикально в плоскости чертежа. Соответственно, ДНпВ 10а и 10b соответствуют нулевому и ненулевому изменениям задержки или фазы сигналов антенных элементов с изменением расстояния вдоль антенны 12. Они имеют соответствующие главные лепестки 16а, 16b с центральными линиями или линиями 18а, 18b визирования, первые верхние боковые лепестки 20а, 20b и первые нижние боковые лепестки 22а, 22b; позиция 18с обозначает направление визирования при нулевом изменении задержки для сравнения с ненулевым эквивалентом 18b. В случае упоминания, например, бокового лепестка 20 без употребления суффикса «а» или «b», имеется в виду любой из соответствующей пары элементов, безразлично какой. ДНпВ 10b наклонена (вниз, как показано на чертеже) относительно ДНпВ 10а, т.е. имеется угол – угол наклона – между центральными линиями 18а и 18с основных лучей, имеющий величину, зависящую от скорости, с которой изменяется задержка с расстоянием вдоль антенны 12.
ДНпВ должна удовлетворять ряду критериев: а) высокое усиление в направлении визирования, б) первый верхний боковой лепесток 20 должен быть на достаточно низком уровне во избежание помех для мобильных станций, использующих другую ячейку, и в) первый нижний боковой лепесток 22 должен быть на достаточно высоком уровне для обеспечения возможности связи в непосредственной близости к антенне.
Эти требования взаимно противоречивы: например, максимизация усиления в направлении визирования может увеличить боковые лепестки 20, 22. Обнаружено, что уровень первого верхнего бокового лепестка, составляющий -18 дБ относительно уровня в направлении визирования (длины основного луча 16), обеспечивает удобный компромисс в рабочих характеристиках всей системы в целом. Усиление в направлении визирования уменьшается пропорционально косинусу угла наклона из-за уменьшения эффективной апертуры антенны. Дальнейшие уменьшения усиления в направлении визирования могут привести к результату, зависящему от того, насколько изменяется угол наклона.
Эффект регулирования либо угла механического наклона, либо угла электрического наклона заключается в изменении положения электрической оси таким образом, что она оказывается направленной вверх или вниз от горизонтальной плоскости, что увеличивает или уменьшает зону покрытия антенны. Для максимальной гибкости использования, базовая станция сотовой сети радиосвязи предпочтительно имеет возможность осуществления и механического наклона, и электрического наклона, поскольку каждый из них имеет разное влияние на форму и площадь наземного покрытия антенны, а также на другие антенны в непосредственной близости и в соседних ячейках. Также удобно, если угол электрического наклона может регулироваться дистанционно относительно антенны. Кроме того, если некоторое количество операторов совместно используют одну антенну, то предпочтительным является обеспечение отдельного угла электрического наклона для каждого оператора.
На фиг.2 показана известная система 30 фазированной антенной решетки, в которой имеется возможность регулирования угла электрического наклона. Система 30 включает в себя вход 32 для сигнала несущей радиочастотного (РЧ) передатчика, причем этот вход соединен со схемой 34 распределения мощности. Схема 34 соединена через фазовращатели ФВ.E0, ФВ.E1L-ФВ.E[n]L и ФВ.E1U-ФВ.E[n]U с соответствующими излучающими антенными элементами E0, E1L-E[n]L и E1U-E[n]U, соответственно, системы 30 фазированной антенной решетки, при этом суффиксы U и L обозначают соответственно верхний и нижний элементы, n – произвольное положительное целое число больше 2, которое ограничивает размер фазированной антенной решетки, а пунктирные линии, такие, как 36, указывают, что при необходимости можно повторить соответствующий элемент для достижения желательного размера антенной решетки.
Система 30 фазированной антенной решетки работает следующим образом. Сигнал несущей РЧ передатчика подается через вход 32 в схему 34 распределения мощности: эта схема 34 разделяет сигнал (не обязательно поровну) между фазовращателями ФВ.E0, ФВ.E1L-ФВ.E[n]L и ФВ.E1U-ФВ.E[n]U, которые вносят фазовый сдвиг в принимаемые ими сигналы и пропускают результирующие сигналы, подвергнутые фазовому сдвигу, в соответствующие связанные с ними антенные элементы E0, E1L-E[n]L и E1U-E[n]U. Фазовые сдвиги и амплитуды сигналов, подаваемых в каждый элемент, выбирают с возможностью выбора подходящего угла электрического наклона. Распределение мощности схемой 34, когда угол наклона является нулевым, выбирают так, чтобы установить подходящий уровень боковых лепестков и подходящее усиление в направлении визирования. Оптимальное управление углом наклона получают, когда фазовый фронт оказывается управляемым для всех углов наклона таким образом, что уровень боковых лепестков не претерпевает значительное увеличение в диапазоне наклона. Если необходимо, осуществляется дистанционное регулирование угла электрического наклона путем использования сервомеханизма для управления фазовращателями ФВ.E0, ФВ.E1L-ФВ.E[n]L и ФВ.E1U-ФВ.E[n]U, возбуждение которых может быть механическим.
Известная система 30 фазированной антенной решетки имеет ряд следующих недостатков:
а) для каждого антенного элемента или группы антенных элементов необходим соответствующий фазовращатель;
б) из-за того, что требуется много фазовращателей, стоимость антенны оказывается высокой;
в) уменьшение стоимости путем использования фазовращателей для группы антенных элементов увеличивает уровень боковых лепестков;
г) механическое соединение фазовращателей для правильного задания задержек является затруднительным, так что используют механические связи и зубчатые передачи, которые приводят к неоптимальной схеме задержек;
д) уровень верхних боковых лепестков увеличивается, когда антенна наклоняется вниз, создавая потенциальный источник помех мобильным станциям, использующим другие ячейки;
е) если некоторое количество операторов совместно используют антенну, то эти операторы должны использовать общий угол электрического наклона;
ж) в системе связи с нисходящей линией связи и восходящей линией связи на разных частотах (в дуплексной системе с частотным разделением каналов) угол электрического наклона в режиме передачи отличается от угла электрического наклона в режиме приема.
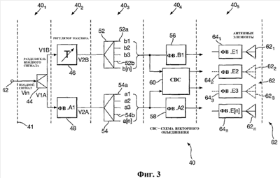
На фиг.3 показана система 40 фазированной антенной решетки, которая имеет регулируемый угол электрического наклона. Система 40 включает в себя пять последовательных функциональных областей 401-405, называемых в известных технических решениях «уровнями» и показанных между парами пунктирных линий, таких, как линия 41. Система имеет вход 42 для передаваемого РЧ сигнала несущей: вход 42 подсоединен в качестве входа к разделителю 44 мощности, выдающему два выходных сигнала, имеющих амплитуды V1A, V1B, которые становятся входными сигналами для регулируемого фазовращателя 46 и первого фиксированного фазовращателя 48, соответственно. Фазовращатели 46 и 48 могут также рассматриваться как средства временной задержки. Они выдают соответствующие выходные сигналы V2В, V2А в два разделителя 52 и 54 мощности. Разделители 52 и 54 мощности имеют n выходов, таких, как 52а и 54а, соответственно: здесь n – положительное целое число, равное 2 или большее, а обозначенные пунктирными линиями выходы 52b и 54b показывают, что выход в каждом случае можно повторить, если это потребуется, для достижения любого желательного размера фазированной антенной решетки.
Выходы разделителей мощности, такие, как 52а и 54а, выдают выходные сигналы, имеющие амплитуды Va1-Va[n] и Vb1-Vb[n], соответственно (на чертеже их обозначения не содержат букву V). Как подробнее пояснено ниже, некоторые из этих выходных сигналов могут иметь амплитуды, равные амплитудам других сигналов, а некоторые – неравные. В одном варианте осуществления (описываемом ниже), предусматривающем наличие десяти антенных элементов (n=5), Va1=Va2=Va3, Vb3=Vb4=Vb5, Va4=Vb2 и Va5=Vb1. Эти выходные сигналы подаются на уровень 404 фазового сдвига и сложения, который содержит второй и третий фиксированные фазовращатели 56 и 58 и схемы векторного сложения, обозначенные общей позицией 60. Подробное пояснение уровня 404 будет приведено ниже: он выдает сигналы возбуждения в равноотстоящие друг от друга антенные элементы 621-62n, расположенные в фазированной антенной решетке 62, через соответствующие фиксированные фазовращатели 641-64n. Здесь, как и прежде, n – произвольное положительное целое число, равное или большее 2, но равное значению n для разделителей 52 и 54 мощности, а размер фазированной антенной решетки составляет 2n антенных элементов. Внутренние антенные элементы 622 и 623 обозначены пунктирными линиями, чтобы показать, что при необходимости их можно повторить для достижения любого желательного размера фазированной антенной решетки.
Система 40 фазированной антенной решетки работает следующим образом. Сигнал несущей РЧ передатчика подается (по единственному фидеру) через вход 42 в разделитель 44 мощности, где разделяется на сигналы V1A и V1B (в этом примере – одинаковой мощности). Эти сигналы V1A и V1B подаются на регулируемый и фиксированный фазовращатели 46 и 48, соответственно. Регулируемый фазовращатель 46 вносит выбираемый оператором фазовый сдвиг или временную задержку, а выраженная в градусах величина фазового сдвига, вносимого в данном случае, управляет углом электрического сдвига всей фазированной антенной решетки 62, состоящей из антенных элементов 621 и т.д. Фиксированный фазовращатель 48 не существенен, но удобен: он вносит фиксированный фазовый сдвиг, который для удобства выбирают составляющим половину максимального сдвига М, вносимого регулируемым фазовращателем 46. Это обеспечивает изменение сигнала V1A по фазе в диапазоне от – М до + М относительно сигнала V1B, и эти сигналы после фазового сдвига становятся сигналами V2B и V2A, как сказано выше, после выдачи из фазовращателей 46 и 48.
Каждый из разделителей 52 и 54 мощности разделяет сигналы V2B и V2A на соответствующий набор из n выходных сигналов Vb1-Vb[n] или Va1-Va[n], при этом мощность каждого сигнала в каждом наборе Vb1 и т.д. или Va1 и т.д. не обязательно равна мощностям других сигналов в этом наборе. Изменение мощностей сигналов по наборам Vb1 и т.д. или Va1 и т.д. оказывается разным для разных количеств антенных элементов 621 и т.д. в антенной решетке 62.
Один из набора выходных сигналов Vb1-Vb[n] подается в соответствующий фиксированный фазовращатель 643 антенны через второй фазовращатель 56, а один из набора выходных сигналов Va1-Va[n] точно так же подается в еще один фиксированный фазовращатель 648 антенны через третий фазовращатель 58. Второй и третий фазовращатели 56 или 58 вносят дополняющие фазовые сдвиги, чтобы скомпенсировать фазовые сдвиги, вносимые схемами 60 сложения. Другие сигналы в наборах Vb1-Vb[n] и Va1-Va[n] попарно складываются в схемах 60 для получения сигналов, являющихся результатами векторного сложения и применяемых для возбуждения соответствующих элементов 621 и т.д. посредством соответствующих фазовращателей 641 и т.д. Фиксированные фазовращатели 641 и т.д. вносят фиксированные фазовые сдвиги, которые изменяются между разными антенными элементами 621 и т.д. в соответствии с геометрическим положением элемента вдоль матрицы 62: это задает нулевое направление отсчета (18а или 18b на фиг.1) для направления визирования антенной решетки 62, когда регулируемый фазовращатель 46 вносит нулевую разность фаз между сигналами V1A и V1B. Фазовращатели 641 и т.д. антенны не существенны, но они предпочтительны, потому что их можно использовать для: а) установки правильной пропорции фазового сдвига, вносимого в процессе наклона; б) оптимизации подавления боковых лепестков по всему диапазону наклона и в) введения выбираемого фиксированного угла электрического наклона.
Угол электрического наклона антенной решетки 60 изменяют просто путем использования одного регулируемого фазовращателя – регулируемого фазовращателя 46. Это можно сравнить с требованием, накладываемым на известные технические решения и заключающимся в наличии множества фазовращателей, по одному для каждого антенного элемента или подгруппы антенных элементов. Когда разность фаз, вносимая посредством регулируемого фазовращателя 46, оказывается положительной относительно фиксированного фазовращателя 48, антенна наклоняется в одном направлении, а когда эта разность фаз оказывается отрицательной, антенна наклоняется в противоположном направлении.
Если существует некоторое количество пользователей, то каждый пользователь может иметь соответствующую систему 40 фазированной антенной решетки. В альтернативном варианте, если требуется, чтобы пользователи совместно пользовались общей антенной, сохраняя при этом возможность иметь отдельный электрический наклон, то каждый пользователь может иметь соответствующий набор уровней 401 и 402, показанных на фиг.3. Кроме того, необходима схема объединения, состоящая из уровней 403, 404 и 405, для объединения сигналов из получаемого множества наборов разделителей 44 и фазовращателей или средств задержки, обозначенных позициями 46 и 48, причем эти сигналы предназначены для подачи в антенную решетку 62. Подобное совместное использование описано в опубликованной международной патентной заявке № WO 03/043127 А3, но в ней речь идет об использовании антенны с множеством подгрупп антенных элементов, причем каждый элемент в подгруппе имеет одну и ту же фазу сигнала возбуждения элемента. В антенной системе 40 все антенные элементы 621-62n имеют разные фазы сигналов возбуждения элементов, что требуется для улучшенных рабочих характеристик фазированной антенной решетки.
Можно показать, что антенная система 40 имеет надлежащее подавление боковых лепестков, которое поддерживается по всему диапазону ее электрического наклона. Антенная система 40 может быть реализована с меньшей стоимостью, чем современные конструкции, предлагающие аналогичный уровень технических характеристик. Ее электрический наклон можно регулировать дистанционно, пользуясь одним единственным регулируемым устройством задержки, что позволяет разным операторам работать одновременно, обеспечивая при этом отдельный угол электрического наклона для каждого оператора. Угол электрического наклона в режиме передачи можно сделать либо таким же, как в режиме приема, либо другим – путем модификации антенной системы 40 для включения в нее различных трактов и фазовращателей для передачи и приема, как описано ниже.
На фиг.4 показана реализация 70 изобретения для фазированной антенной решетки 62 из десяти элементов 621-6210. Части, эквивалентные тем, которые описаны ранее, обозначены теми же позициями. Фиг.4 соответствует частям 403-405, показанным на фиг.3, а разделители 52 и 54 показаны как поменявшиеся положениями. Разделители 52 и 54 принимают, соответственно, входные сигналы V2B и V2A одинаковой мощности, но переменной относительной фазы. Каждый из этих разделителей разделяет свои соответствующие входные сигналы на пять сигналов, три из которых имеют одинаковую амплитуду (А или В), а остальные два имеют амплитуду, составляющую 0,32 и 0,73 от той амплитуды (0,32 или 0,73 от А или В).
Восемь из десяти сигналов из разделителей 52 и 54 проходят в четыре устройства 601-604 векторного объединения: каждое из устройств имеет гибридное соединение (обозначенное символом Н), вносящее фазовый сдвиг на 180° и имеющее два входных вывода, обозначенных позициями I1 и I2, и два выходных вывода, обозначенных позициями S и D для суммы и разности, соответственно. Позиции I1 и I2 также будут употребляться для удобства обозначения сигналов на этих выводах. Как указывают обозначения выводов, при получении входных сигналов I1 и I2, каждое из гибридных соединений 601-604 вырабатывает два выходных сигнала на выходах S и D, которые представляют собой векторные сумму и разность соответствующих входных сигналов этого соединения. В таблице 1 показаны амплитуды входных сигналов, принимаемых гибридными соединениями 601-604, и выходные сигналы в векторной форме, генерируемые в ответ и выраженные произвольными значениями А и В в каждом случае.
| Таблица 1 |
| Гибридное соединение |
Вход I1 |
Вход I2 |
Выход S |
Выход D |
| 601 |
А |
0,73В |
0,707(А+0,73В) |
0,707(А-0,73В) |
| 602 |
А |
0,32В |
0,707(А+0,32В) |
0,707(А-0,32В) |
| 603 |
В |
0,32А |
0,707(В+0,32A) |
0,707(В-0,32А) |
| 604 |
В |
0,73А |
0,707(В+0,73А) |
0,707(В-0,73А) |
В таблице 2 показаны антенные элементы, которые принимают выходные сигналы, генерируемые разделителями 52 и 54 и гибридными соединениями 601-604, через фазовращатели (PS) 641-6410 антенны.
| Таблица 2 |
| Антенный элемент |
Амплитуда сигнала |
|
Антенный элемент |
Амплитуда сигнала |
| 621 |
0,707(В-0,73А) |
|
626 |
0,707(А+0,73В) |
| 622 |
0,707(В-0,32А) |
|
627 |
0,707(А+0,32В) |
| 623 |
В |
|
628 |
А |
| 624 |
0,707(В+0,32А) |
|
629 |
0,707(А-0,32В) |
| 625 |
0,707(В+0,73А) |
|
6210 |
0,707(А-0,73В) |
Один сигнал – А или В – из каждого разделителя 52 или 54 не направляется в фазовращатель 643-648 антенны через гибридное соединение, а вместо этого подается на фазовращатель 56 или 58, вносящий фазовый сдвиг , который равен фазовому сдвигу, вносимому гибридными соединениями 601-604 антенны, и компенсирует его. Это известно под названием «дополнение». Каждую из пар 56/643 и 58/648 фиксированных фазовращателей можно реализовать как одиночное средство фазового сдвига. Входной разделитель 44, показанный на фиг.3, может (по выбору) обеспечивать неравное разделение мощности, так что амплитуды V2A и V2B сигналов, показанных на фиг.3 и 4, оказываются разными. Кроме того, гибридные соединения 601-604 (описанные выше), которые выдают векторы I1+I2 и I1-I2 суммы и разности, могут (по выбору) брать на себя все функции разделителей 52 или 54 либо часть этих функций: например, они могут быть предназначены – вместо описанных целей – для преобразования входных сигналов I1 и I2 в векторные суммы и разности, отличные от I1+I2 и I1-I2, например, в сумму xI1+yI2, где x и y являются численными значениями, которые не равны друг другу. На такую возможность наложено ограничение, заключающееся в том, что сумма общей выходной мощности и потерь в гибридных соединениях должна быть равна общей мощности, подводимой к гибридным соединениям 601-604. Кроме того, вместо гибридных соединений 601-604, вносящих фазовый сдвиг на 180°, можно использовать гибридные соединения, вносящие другие фазовые сдвиги (например, на 60°, 90° или 120°).
На фиг.5 показана векторная диаграмма для антенной системы 70, когда разность фаз между сигналами V2A и V2B (имеющими такую же фазу, как сигналы А и В, соответственно) составляет 90° и является в этом примере углом, при котором фазовый фронт оптимизирован по антенным элементам. Все векторные суммы и разности, показанные на фиг.5 (т.е. все вектора, отличные от А и В), фактически должны умножаться на 2-1/2 или 0,707, как в таблицах 1 и 2, например, вектор А+0,73В должен стать вектором 0,707(А+0,73В), но этот постоянный множитель является просто масштабным коэффициентом, и для наглядности он не показан на чертеже.
Антенная система 70 оптимизируется путем определения значений А и В в таблицах 1 и 2 при разности фаз 90°: при этом значении разности фаз антенная система 70 имеет, по существу, линейный фазовый фронт по антенным элементам при двух углах электрического наклона и одинаковый фазовый фронт при среднем угле наклона. Радиальные стрелки 80, оканчивающиеся в точках 821-8210, указывают амплитуды и фазовые углы сигналов возбуждения фазированной антенной решетки в элементах 621-6210. Наклонные стрелки 84 показывают смещения радиус-векторов (например, 0,73b или 0,32а) от радиус-вектора А или В. Две стрелки 84а и 84b, имеющие пометки +0,73В и +0,73А, представляют собой дополняющие при сложении соседние стрелки 84, имеющие пометки +0,32В и +0,32А, и поэтому они приводят к получению радиус-векторов А и В соответственно.
Двунаправленные стрелки 86 указывают разности фаз между соседними радиус-векторами, причем разность фаз составляет 22° между сигналами в крайних снаружи парах антенных элементов 621/622 и 629/6210 и 18° между всеми остальными парами 622/623-628/629. Разница между 18 и 22° мала в контексте фазированной антенной решетки, поэтому для практических целей разности фаз между соседними парами антенных элементов 62i/62i+1 (i=1…9) считают, по существу, постоянной, а изменение фазы по решетке 62 – являющимся, по существу, линейной функцией положения в решетке при нормальной работе фазированной антенной решетки.
Как сказано выше, фиг.5 отображает ситуацию для составляющей 90° разности фаз между сигналами А и В или V2A и V2B. Нулевая разность фаз соответствует среднему углу наклона, а положительные и отрицательные разности фаз соответствуют положительным и отрицательным углам наклона антенны.
На фиг.6 показана часть антенной системы 100 согласно изобретению, включающая в себя нечетное количество антенных элементов, в этом примере – одиннадцать. Система 100 эквивалентна примеру 70 с добавлением небольшого количества компонентов, поэтому основное внимание при ее описании будет уделено аспектам различия. Части, эквивалентные описанным ранее, обозначены теми же позициями. Система 100 отличается от описанной ранее тем, что выходы D сигналов разности гибридных соединений не подсоединены к фазовращателям 641-6410, а вместо этого подсоединены к двухканальным разделителям 102 и 104, соответственно. Эти разделители разделяют сигналы, поступающие из гибридных соединений 601-604, на соответствующие амплитудные доли с1/с2 и d1/d2; из них, c1 и d1 подаются на фазовращатели 641 и 6410 для использования при возбуждении антенных элементов 621 и 6210. Доли с2 и d2 соответственно подаются на входы I1 и I2 дополнительного пятого гибридного соединения 605 того же типа, что и гибридные соединения 601 и 604. Пятое гибридное соединение 605 имеет выход S суммы, который нагружен на согласованную нагрузку 106, и выход D разности, который подсоединен к дополнительному, центрально расположенному антенному элементу 620 через фазовращатель 108, вносящий фазовый сдвиг на -90°, и фазовращатель 640 антенны. На фиг.5 все антенные элементы показаны равноотстоящими друг от друга на расстоянии, например, L, так что введение центрального антенного элемента 620 означает, что он отстоит на L/2 от соседних элементов 625 и 626 (это отмечено на чертеже, но для удобства упомянутый промежуток показан как больший, чем на самом деле). Однако такой промежуток L/2 не существенен.
Результат модификаций согласно фиг.6 в антенной решетке 62 заключается в том, что элементы 621 и 6210 имеют сигналы возбуждения, уменьшенные до d1(B-0,73A) и c1(A-0,73B), а избыточный центральный элемент 620 имеет сигнал возбуждения d2(B-0,73A)-c2(A-0,73B).
Можно показать, что антенная система 100 имеет асимметричную диаграмму направленности по вертикали при наклоне книзу по сравнению с диаграммой направленности по вертикали при наклоне кверху. Это отражает увеличение мощности сигнала, подводимой к концевым антенным элементам 621 и 6210, когда антенная решетка 62 электрически наклонна либо кверху, либо книзу. В идеальном случае, уровень боковых лепестков был бы оптимально управляемым в случае, когда изменение (убывание амплитуды) сигнала возбуждения по решетке остается, по существу, постоянным во всем диапазоне наклона антенны. Чтобы устранить воздействия на боковые лепестки из-за увеличенной мощности на концевых антенных элементах 621 и 6210 при наклоне, можно использовать ряд нижеследующих методов:
1) можно вести аттенюаторы, соединенные последовательно с концевыми антенными элементами 621 и 6210;
2) можно разделить каждый из концевых антенных элементов 621 и 6210 на два, вводя дополнительные два элемента в антенну;
3) можно отвести мощность от концевых антенных элементов 621 и 6210 к элементам вблизи центра антенны с помощью дополнительных гибридных соединений и
4) можно использовать часть мощности из концевых антенных элементов 621 и 6210 для возбуждения центрального антенного элемента 620, что фактически и показано на фиг.6.
Антенная система 100 позволяет получить следующие преимущества:
1) уровень боковых лепестков антенны при электрическом наклоне антенной решетки 62 уменьшается;
2) фаза сигнала несущей или возбуждения центрального элемента 620 изменяется на 180°, когда электрический наклон проходит через среднее значение, а также уменьшает уровень верхнего бокового лепестка при наклоне книзу;
3) влияние уменьшения уровня верхнего бокового лепестка, когда антенна наклонена книзу, заключается в уменьшении помех, воздействующих на мобильные станции, использующие каналы иные, чем относящиеся к антенной системе 100.
На фиг.7 показана часть реализации 120 изобретения для фазированной антенной решетки 122 из двенадцати элементов 1221-12212. Первый и второй разделители 1241 и 1242 соответственно принимают входные сигналы, обозначенные в этом случае векторами А и В: это вектора одинаковой мощности, но переменной относительной фазы. Разделители 1241 и 1242 реализуют разделение на три доли а1/а2/а3 и b1/b2/b3, соответственно: т.е. из разделителя 1241 выдаются сигналы а1А, а2А и а3А, а из разделителя 1242 выдаются сигналы b1B, b2B и B3b. Сигналы а1А и b1B проходят в первый и второй фазовращатели 1281 и 1282, вносящие дополнительный фазовый сдвиг , соответственно. Сигналы а2А и b3B проходят на входы I1 и I2 первого гибридного соединения 1341, вносящего фазовый сдвиг на 180° и относящегося к вышеописанному типу. Сигналы b2B и а3А проходят на входы I1 и I2 второго гибридного соединения 1342. Гибридные соединения 1341 и 1342 имеют выходы D разности, подсоединенные в качестве входов к третьему и четвертому разделителям 1243 и 1244, которые осуществляют двухканальное разделение на доли с1/с2 и d1/d2, соответственно. Они также имеют выходы S суммы, подсоединенные к входам I1 третьего и четвертого гибридных соединений 1343 и 1344 соответственно.
Выходные сигналы из первого и второго фазовращателей 1281 и 1282 проходят в пятый и шестой разделители 1245 и 1346, осуществляющие трехканальное разделение на доли е1/е2/е3 и f1/f2/f3, соответственно. Выходные сигналы из третьего разделителя 1243 проходят (доля с1) на вход I1 пятого гибридного соединения 1345 и (доля с2) в третий фазовращатель 1283, вносящий дополнительный фазовый сдвиг . Выходные сигналы из четвертого разделителя 1244 проходят (доля d1) на вход I1 шестого гибридного соединения 1346 и (доля d2) в четвертый фазовращатель 1284, вносящий дополнительный фазовый сдвиг . Выходные сигналы из пятого разделителя 1245 проходят (доля е1) на вход I2 пятого гибридного соединения 1345 и (доля е2) в пятый фазовращатель 1285, вносящий дополнительный фазовый сдвиг , и (доля е3) на вход I2 четвертого гибридного соединения 1344. Выходные сигналы из шестого разделителя 1246 проходят (доля f1) на вход I2 шестого гибридного соединения 1346 и (доля f2) в шестой фазовращатель 1286, вносящий дополнительный фазовый сдвиг , и (доля f3) на вход I2 третьего гибридного соединения 1343. Посредством соответствующих фиксированных фазовращателей (PS) 1361-13612 антенные элементы 1221-12212 принимают заданные в таблице 3 сигналы возбуждения с выходов третьего-шестого гибридных соединений 1343-1346 и третьего-шестого фазовращателей 1283-1286.
| Таблица 3 |
| Элемент |
Гибридное соединение или фазовращатель |
Амплитуда сигнала |
| 1221 |
Гибридное соединение 1346, выход D |
0,5d1(b2B-a3A)-0,707b1f1B |
| 1222 |
Фазовращатель 1284 |
0,707d2(b2B-a3A) |
| 1223 |
Гибридное соединение 1346, выход S |
0,5d1(b2B-a3A)+0,707b1f1B |
| 1224 |
Фазовращатель 1286 |
b1f2B |
| 1225 |
Гибридное соединение 1344, выход D |
0,5(b2B+a3A)-0,707a1e3A |
| 1226 |
Гибридное соединение 1344, выход S |
0,5(b2B+a3A)+0,707a1e3A |
| 1227 |
Гибридное соединение 1343, выход S |
0,5(a2A+b3B)+0,707b1f3B |
| 1228 |
Гибридное соединение 1343, выход D |
0,5(a2A+b3B)-0,707b1f3B |
| 1229 |
Фазовращатель 1285 |
a1e2A |
| 12210 |
Гибридное соединение 1345, выход S |
0,5cl(a2A-b3B)+0,707a1e1A |
| 12211 |
Фазовращатель 1284 |
0,707с2(а2А-b3B) |
| 12212 |
Гибридное соединение 1345, выход D |
0,5cl(a2A-b3B)+0,707a1e1A |
Поскольку все члены а1-а3 являются долями, все мощности сигналов выражены в терминах долей векторов А и В сигналов, вводимых в первый и второй разделители 1241 и 1242 соответственно.
Фазовращатели 1281 и 1282 обеспечивают компенсацию фазового сдвига, который имеет место в гибридном соединении (например, 1341). Следовательно, сигналы или составляющие сигналов, которые не проходят через одно или более гибридных соединений, проходят в фазовращатели (например, 1281) и получают фазовый сдвиг на 360° прежде, чем достигают антенных элементов 1223-1229. Кроме того, сигналы или составляющие сигналов, которые проходят через одно гибридное соединение, проходят через один фазовращатель (например, 1284) и получают относительный фазовый сдвиг прежде, чем достигают антенных элементов (например, 1222).
| Таблица 4 |
| Разделитель |
Выходной сигнал разделителя |
Коэффициенты разделителей |
| Напряжение |
Децибелы |
| 1241, 1242 |
a1А, b1B |
0,4690 |
-6,58 |
| a2А, b2B |
0,8290 |
-1,63 |
| а3B, b3B |
0,3040 |
-10,34 |
| 1233, 1244 |
0,707с1(a2A-b3B), |
0,800 |
-1,94 |
| 0,707d1(b2B-a3A) |
| 0,707с2(a2A-b3B), |
0,600 |
-4,43 |
| 0,707d2(b2B-a3A) |
| 1245, 1246 |
a1e1A, a1e3A, |
0,2357 |
-12,55 |
| b1f1B, b1f3B |
| a1e2A, b1f2B |
0,9428 |
-0,51 |
В таблице 4 приведены коэффициенты разделителей; амплитуды (напряжения) вычислены, исходя из мощностей, нормализованных приведением к сумме в 1 Вт.
На фиг.8 показана векторная диаграмма для антенной системы 120, когда разность фаз между векторами А и В входных сигналов составляет 60°, что является углом, при котором в этом примере оптимизируется фазовый фронт антенной решетки 122. Амплитуда и фаза сигналов возбуждения антенных элементов показаны сплошными стрелками радиус-векторов 1221-12212, обозначающими антенные элементы, и мощностями (например, а1е2А) сигналов. Составляющие (например, а1е1А) таких сигналов указаны посредством цепочки или проведенных пунктирными линиями векторов. Сигналы b1f2B и а1е2А на соответствующих антенных элементах 1224 и 1229 являются долями векторов А и В входных сигналов и находятся в фазе с ними, а также сдвинуты по фазе на 60° друг относительно друга, как показано двумя двунаправленными стрелками, около каждой из которых стоит пометка «30°». Этот чертеж содержит всю информацию, касающуюся амплитуды и фазы сигналов, и его дальнейшее описание опущено.
На фиг.9 показана антенная система 150 согласно изобретению для фазированной антенной решетки 152 из n элементов 1521-152n, в которых применяется двойная переменная задержка, а n – положительное целое число. Первый разделитель 1541 принимает входной сигнал Vin и разделяет его на два сигнала, один из которых имеет мощность, вдвое превышающую мощность другого. Из этих двух сигналов сигнал большей мощности направляется в первый регулируемый фазовращатель 1561, а сигнал меньшей мощности – в первый фиксированный фазовращатель 1581. Первый фиксированный фазовращатель 1581 выдает выходной сигнал через второй фиксированный фазовращатель 1582 во второй разделитель 1542, который разделяет этот сигнал на n долей а1-an сигнала для выдачи через шину, указанную как «тракт Р». Первый регулируемый фазовращатель 1561 выдает выходной сигнал в третий разделитель 1543, который разделяет этот сигнал на n долей b1-bn сигнала. Доли b1-bn сигнала выдаются через третий фиксированный фазовращатель 1583 и шину, указанную как «тракт Q». Доля b1 сигнала имеет мощность, равную мощности сигнала, подаваемого в первый фиксированный фазовращатель 1581, и направляется во второй регулируемый фазовращатель 1562, а значит – и в четвертый разделитель 1544, который разделяет ее на доли сигнала с1-cn для выдачи через шину, обозначенную как «тракт R». Шины, обозначенные как «тракты P, Q и R», имеют Na, Nb и Nc отдельных проводников, соответственно.
Доли сигналов в трактах Р, Q и R проходят в схему 159 объединения и фазового сдвига сигналов. Схема 159 аналогична той, которая описана со ссылками на фиг.3 и 4, и ее дальнейшее описание опущено. Она выполняет функцию объединения и фазового сдвига сигналов, чтобы выработать сигналы возбуждения антенных элементов, надлежащим образом изменяющиеся для фазированной антенной решетки 152. Использование двух регулируемых фазовращателей 1561 и 1562 не существенно, но это увеличивает диапазон углов электрического наклона антенны по сравнению с использованием лишь одного такого фазовращателя. Можно продолжить фиг.9 дополнительными комбинациями регулируемых фазовращателей и разделителей, если требуется больший диапазон наклона: т.е. сразу же после осуществления переменного фазового сдвига доли b1 в регулируемом фазовращателе 1562 и разделения ее в разделителе 1544, можно осуществить переменный фазовый сдвиг и разделение доли с1 для получения долей d1-dn, а также фазовый сдвиг и разделение доли d1 для получения долей e1-en и т.д.
На фиг.10 показана антенная система 170 согласно изобретению для фазированной антенной решетки 172 из десяти элементов 1721-17210, в которых применяется групповая двойная переменная задержка. Это вариант системы 150, описанной со ссылками на фиг.9. Первый разделитель 1741 принимает входной сигнал Vin и разделяет его на два сигнала, один из которых имеет мощность, вдвое превышающую мощность другого. Из этих двух сигналов, сигнал большей мощности направляется в первый регулируемый фазовращатель 1761, а сигнал меньшей мощности – в первый фазовращатель 1781, вносящий фазовый сдвиг на -180°. Сигнал, проходящий в первый фазовращатель 1781, обозначен как вектор А. Этот фазовращатель выдает выходной сигнал во второй разделитель 1742, который разделяет упомянутый выходной сигнал на четыре сигнала а1а-a4А.
Первый регулируемый фазовращатель 1761 выдает выходной сигнал в третий разделитель 1743, который разделяет этот сигнал на два сигнала, амплитуда которых равна амплитуде вектора А: один из этих двух сигналов обозначен как вектор В, и он проходит в четвертый разделитель 1744, который разделяет его на три сигнала b1B-b3B. Другой из упомянутых двух сигналов проходит через второй регулируемый фазовращатель 1762 в пятый разделитель 1745, в котором этот сигнал обозначен как вектор С и который делит его на три сигнала с1С-с3С.
Сигналы b1B и с1С проходят в антенные элементы 1723 и 1728 через фазовращатели 1823 и 1828 антенны, соответственно. Сигналы b2B, b3B, с2С и с3С соответственно обеспечивают сигналы на входах I1 для первого, второго, третьего и четвертого гибридных соединений 1801, 1802, 1803 и 1804, вносящих фазовый сдвиг на 180° и относящихся к вышеописанному типу. Эти гибридные соединения обеспечивают схему сложения сигналов. Сигналы а1А-а4А обеспечивают сигналы на входах I2 для этих гибридных соединений, соответственно. Через соответствующие фиксированные фазовращатели (PS) 1821, 1822, 1823 и 1824 элементы 1721, 1722, 1724-1727, 1729 и 17210 принимают с выходов гибридных соединений 1801-1804 сигналы возбуждения с амплитудами, приведенными в таблице 5, причем к этим соединениям добавлены эквиваленты для элементов 1722 и 1728. Символ «Нет» в таблице означает отсутствие выхода.
| Таблица 5 |
| Антенный элемент |
Выход гибридного соединения |
Амплитуда сигнала |
| 1721 |
Гибридное соединение 1802, выход S |
0,707(b3B+a2A) |
| 1722 |
Гибридное соединение 1801, выход S |
0,707(b2B+a1A) |
| 1723 |
Нет |
b1B |
| 1724 |
Гибридное соединение 1801, выход D |
0,707(b2B-a1A) |
| 1725 |
Гибридное соединение 1802, выход D |
0,707(b3B-a2A) |
| 1726 |
Гибридное соединение 1804, выход S |
0,707(c3C+a4A) |
| 1727 |
Гибридное соединение 1803, выход S |
0,707(c2C+a3A) |
| 1728 |
Нет |
c1C |
| 1729 |
Гибридное соединение 1803, выход D |
0,707(c2C-a3A) |
| 17210 |
Гибридное соединение 1804, выход D |
0,707(c3C-a4A) |
Значения коэффициентов разделителей приведены в таблице 6, причем, как и прежде, напряжения вычислены, исходя из мощностей, нормализованных приведением к сумме в 1 Вт.
| Таблица 6 |
| Разделитель |
Выходной сигнал разделителя |
Коэффициенты разделителей |
| Напряжение |
Децибелы |
| 1742 |
а1А,а3А |
0,3162 |
-10,00 |
| А2А,а4А |
0,6324 |
-3,98 |
| 1744 |
b1B, b2B, b3B |
0,577 |
-4,78 |
| 1745 |
с1С, с2С, с3С |
0,577 |
-4,78 |
Регулируемые фазовращатели 1761 и 1762 сгруппированы, как показано стрелками и пунктирными линиями, таким образом, что они претерпевают изменения совместно и дают одинаковые фазовые сдвиги. Ими управляет механизм 186 управления наклоном.
Из фиг.10 можно заметить, что только верхняя половина решетки 172 (антенные элементы 1726-17212) принимает вклады сигналов, связанные с долями с1 и т.д. из пятого разделителя 1745, причем эти вклады подвергаются двум переменным фазовым сдвигам в 1761 и 1762. Кроме того, только нижняя половина решетки 172, т.е. антенные элементы 1721-1725, принимает вклады сигналов, связанные с долями b1 и т.д. из четвертого разделителя 1744, причем эти вклады подвергаются одному переменному фазовому сдвигу в 1761. Обе половины решетки 172 (кроме антенных элементов 1723 и 1728) принимают вклады сигналов а1А и т.д. из второго разделителя 1742, причем эти вклады не подвергаются переменному фазовому сдвигу в 1761 или 1762.
На фиг.11 показана антенная система согласно изобретению, которая может быть реализована в виде системы с одним фидером или системы с двумя фидерами. В системе с одним фидером, единственный вход 200 сигнала позволяет подавать сигнал Vin через фидер 202 в антенный узел 204, который может быть установлен на мачте с антенной решеткой 206. Разделение сигналов, переменный и фиксированный фазовые сдвиги и векторное сложение, описанные выше, реализуются в узле 204 на мачте. Это имеет преимущество, заключающееся в том, что необходима подача только одного сигнала, проходящего в антенную систему от удаленного пользователя, но при этом удаленный оператор не может регулировать угол электрического наклона без доступа к антенному узлу 204 на мачте. Кроме того, все операторы, совместно использующие одну единственную антенну, должны иметь одинаковый угол электрического наклона.
На фиг.12 показана антенная система согласно настоящему изобретению, реализованная в виде системы 210 с двумя фидерами. Эта система имеет секцию 212 управления наклоном, которая генерирует два сигнала V2A и V2B, как описано ранее, а эти сигналы подаются через соответствующие фидеры 214А и 214В в антенную решетку 216. Теперь секция 212 управления наклоном может вместе с пользователем располагаться на удалении от антенной решетки 60 и мачты, на которой та установлена, а схема 218 подачи сигналов в антенну (см., например, фиг.4) может находиться в том же месте, что и антенная решетка 216. Разделение сигналов, фиксированный фазовый сдвиг (а если потребуется, то и дополнительный переменный фазовый сдвиг) и векторное сложение, описанные выше, реализуются в узле 216 на мачте. Теперь пользователь может получить прямой доступ к секции 212 управления наклоном, чтобы отрегулировать угол электрического наклона, находясь на удалении от антенной решетки 60 и мачты, и может провести это регулирование независимо от других пользователей, совместно использующих антенный узел 216.
В установке с двумя фидерами также удобно уменьшать чувствительность наклона к уменьшению эффектов разностей фаз между фидерами, например, разности между углом электрического наклона, который требуется оператору, и углом электрического наклона, имеющимся у антенны. При расположении соответствующей секции 212 управления наклоном вместе с каждым оператором и расположении стороны ввода частотно-избирательного сумматора на базовой станции оператора, можно реализовать совместно используемую антенную систему с отдельным углом наклона для каждого оператора.
На фиг.13 показана система 240 фазированной антенной решетки согласно изобретению, эквивалентная той, которая показана на фиг.3, с модификацией для использования в обоих режимах – передачи и приема. Части, описанные ранее, обозначены аналогичными позициями с префиксом 200, а описаны будут только внесенные изменения. Регулируемый фазовращатель 246, с помощью которого осуществляется управление наклоном, теперь используется только в режиме передачи (Пе) и подсоединен в тракте 243 передачи между полосовыми фильтрами (ПФ) 245 и 247 последовательно с ними. Также имеется аналогичный тракт 249 приема (Пр) с регулируемым фазовращателем 251 между полосовыми фильтрами 253 и 255, подсоединенным к ним последовательно, и малошумящим усилителем или МШУ 257. Частоты передачи и приема обычно достаточно различны, чтобы можно было изолировать их друг от друга с помощью фильтров 245 и т.д.
Имеются дополнительные и – в основном – эквивалентные тракты 243f и 249f передачи и приема, связанные с фиксированными фазовыми сдвигами : эти тракты имеют элементы, обозначенные аналогичными позициями с суффиксом f. Второй тракт 243f передачи имеет фиксированный фазовращатель 246f между полосовыми фильтрами 245f и 247f. Второй тракт 249f приема имеет фиксированный фазовращатель 251f и МШУ 257f между полосовыми фильтрами 253f и 255f.
Помимо работы в режиме передачи, элементы 242, 244, 252, 254, 256 и 258-265 обладают возможностями работы в обратном направлении в режиме приема, а разделители при этом становятся, например, сумматорами. Единственное различие между двумя режимами состоит в том, что в режиме передачи фидер 265 обеспечивает тракты 243 и 243f ввода и передачи, по которым передаваемый сигнал проходит слева направо, а в режиме приема – тракты 249 и 249f приема, по которым принимаемые сигналы проходят справа налево, а фидер 265 обеспечивает их совместный вывод. Принимаемые сигналы генерируются в схемах 2641-264n и 260-254 посредством фазового сдвига и объединения сигналов антенных элементов, генерируемых решеткой 262 в ответ на прием сигнала из свободного пространства. Система 240 выгодна, потому что она обеспечивает возможность регулировать и делать одинаковым угол электрического наклона в обоих режимах – передачи и приема: обычно это невозможно (что неблагоприятно), потому что компоненты антенной системы имеют частотно-зависимые свойства, которые оказываются разными на разных частотах передачи и приема.
На фиг.14 показана система 300 фазированной антенной решетки, предназначенная для использования в режимах передачи и приема несколькими (двумя) пользователями 301 и 302 единственной системы 305 фазированной антенной решетки. Части, описанные ранее, обозначены аналогичными позициями с префиксом 300. На чертеже показано некоторое количество разных каналов: части в разных каналах, являющиеся эквивалентными, обозначены аналогичными позициями с одним или более из следующих суффиксов: суффикс Т или R обозначает канал передачи или приема, суффикс 1 или 2 обозначает первого или второго оператора 301 или 302, а суффикс А или В обозначает тракт А или В. Исключение этих суффиксов из префикса позиции (например, указание позиции 342) означает, что имеются в виду все элементы, имеющие этот префикс.
Сначала будет описан канал 307Т1 передачи первого оператора 301. Этот канал передачи имеет РЧ вход 302, питающий разделитель 344Т1, который разделяет входной сигнал между фиксированным и регулируемым фазовращателями 346Т1А и 348Т1В. Сигналы из фазовращателей 346Т1А и 348Т1В проходят в полосовые фильтры (ПФ) 309Т1А и 309Т1В в разных антенных переключателях 311А и 311В соответственно. Полосовые фильтры 309Т1А и 309Т1В имеют центры полос пропускания на частоте передачи первого оператора 301, причем эта частота обозначена позицией Ftx1, указанной на чертеже. Первый оператор 301 также имеет частоту приема, обозначенную позицией Frx1, а эквивалентные частоты для оператора 302 обозначены позициями Ftx2 и Frx2.
Передаваемый сигнал первого оператора на частоте Ftx1, выдаваемый из крайнего слева полосового фильтра 309Т1А, складывается первым антенным переключателем 311А с аналогичным образом полученным передаваемым сигналом второго оператора на частоте Ftx2, выдаваемым из соседнего полосового фильтра 309Т2А. Эти сложенные сигналы проходят по фидеру 313А в схему 315 обеспечения наклона антенны того типа, которая описана в примере, приведенном ранее, а значит – и в систему 305 фазированной антенной решетки. Точно так же, другой передаваемый сигнал первого оператора на частоте Ftx1, выдаваемый из крайнего слева полосового фильтра 309Т1В, складывается вторым антенным переключателем 311В с аналогичным образом полученным передаваемым сигналом второго оператора на частоте Ftx2, выдаваемым из соседнего полосового фильтра 309Т2В. Эти сложенные сигналы проходят по фидеру 313В в схему 315 обеспечения наклона антенны. Несмотря на использование одной и той же системы 305 фазированной антенной решетки, оба оператора могут изменять свои углы электрического наклона в режиме передачи и независимо, и на удалении от антенны 305 просто за счет регулирования одного единственного регулируемого фазовращателя в каждом случае, т.е. одного регулируемого фазовращателя 346Т1А или 346Т2А, соответственно.
Аналогичным образом, принимаемые сигналы, возвращающиеся с антенны 305 через схему 315 и фидеры 313А и 313В, разделяются антенными переключателями 311А и 311В. Эти разделенные сигналы затем фильтруются для развязки отдельных частот Frx1 и Frx2 в полосовых фильтрах 309R1A, 309R2A, 309R1B и 309R2B, которые выдают сигналы в фиксированные и регулируемые фазовращатели 346R1A, 346R2A, 346R1B и 346R2B, соответственно. Тогда операторы 301 и 302 могут независимо регулировать углы электрического наклона в режиме приема путем независимого регулирования своих регулируемых фазовращателей 346R1А и 346R2А. Сложение сигналов операторов, количество которых больше двух, во время передачи или разделение их во время приема можно осуществлять с помощью повторяющихся компонентов: т.е. вместо компонентов с суффиксами 1 и 2 возможны аналогичные компоненты с суффиксами от 1 до m, где m – количество операторов.
На фиг.15 показана система 470 фазированной антенной решетки согласно изобретению, в основном, аналогичная той, которая показана на фиг.10. Части, описанные ранее, обозначены аналогичными позициями, но с префиксом 400 взамен 100, а описаны будут только внесенные изменения. Система 470 имеет первый разделитель 4741, который разделяет входной РЧ сигнал несущей, присутствующий на входе 473, на две части, одна из которых проходит через первый регулируемый фазовращатель 4761 в первый фидер 4771, а другая – прямо во второй фидер 4772. Компоненты 473-4772 находятся на базовой станции (не показана) системы связи с подвижными объектами, имеющей сотовую структуру. Фидеры 4771 и 4772 связывают базовую станцию с обтекателем 479 удаленной антенны, в котором находится второй регулируемый фазовращатель 4762.
Система 470 работает так, как описано ранее со ссылками на фиг.10, за исключением того, что первый и второй регулируемые фазовращатели 4781 и 4782 не сгруппированы, а регулируются независимо. Это обеспечивает преимущество, заключающееся в том, что можно обеспечить отдельный угол наклона для каждого оператора, участвующего в совместном пользовании антенной 472 (за счет частотно-избирательного сложения, такого, как показанное на фиг.14), а диапазон наклона, общий для всех операторов, при этом расширяется. На практике, угол электрического наклона, задаваемый вторым регулируемым фазовращателем 4762, можно для удобства сделать средним значением отдельных углов электрического наклона для всех операторов, совместно пользующихся антенной 472.
Хотя на фиг.15 показано регулирование второго регулируемого фазовращателя 4762 внутри обтекателя 479 антенны, это регулирование также можно проводить на удалении от обтекателя 479 с помощью сервомеханизма (не показан). В соответствии с настоящим изобретением, можно ввести в антенную систему 470 дополнительные регулируемые фазовращатели для дальнейшего расширения диапазона наклона, общего для всех операторов.
На фиг.16 показан дополнительный вариант осуществления системы 500 фазированной антенной решетки согласно изобретению, в которой применяются входной разделитель SP1, соединители параллельных линий (СПЛ), обозначенные позициями SP2 и SP3, и кольцевые гибридные соединения SP4-SP11 и Н1-Н6. В данном случае символ SP в позиции SP1 обозначает разделитель, а символ Н в позиции Н1 обозначает гибридное соединение, используемое в качестве генератора сумм и разностей (SD). Каждое из гибридных соединений SP4-SP11 и Н1-Н6 имеет четыре порта, т.е. первый и второй порты ввода и первый и второй порты вывода, соответственно обозначенные стрелками, направленными внутрь и наружу. Порты вывода каждого из гибридных соединений Н1-Н6 генератора SD являются выходами суммы и разности, обозначенными позициями S и D, соответственно. Каждый порт отдельного кольцевого гибридного соединения SP4-SP11 и Н1-Н6 отделен от одного из упомянутых портов расстоянием /4, а от другого порта – расстоянием 3 /4 вдоль окружности кольца в каждом случае. Здесь – длина волны сигнала Vin в материале кольца.
Сигнал, подаваемый в порт ввода любого из кольцевых гибридных соединений SP4-SP11 и Н1-Н6, разделяется на две составляющие, проходящие соответственно по часовой стрелке и против часовой стрелки вокруг кольца, которое само имеет окружность длиной (n+1/2) , где n – целое число: эти составляющие имеют относительные амплитуды, определяемые относительными полными сопротивлениями трактов в кольце, по которым они проходят, что обеспечивает предварительное задание коэффициентов разделителей. Два сигнала, принимаемые из соответствующих портов ввода, отстоящих на /4 от порта вывода, будут находиться в фазе и будут складываться друг с другом для получения выходного сигнала суммы. Два сигнала, принимаемые из соответствующих портов ввода, отстоящих на 3 /4 от порта вывода, будут находиться в противофазе и будут вычитаться друг из друга для получения выходного сигнала разности. В порте вывода, отстоящем на /2 от порта ввода, два сигнала, принимаемые через тракты, проходящие соответственно по часовой стрелке и против часовой стрелки, из порта ввода, будут находиться в противофазе и будут давать нулевой результирующий сигнал, если полные сопротивления трактов одинаковы: следовательно, это обеспечивает развязку портов, отстоящих на /2, друг от друга.
Каждое кольцевое гибридное соединение SP4-SP11, используемое в качестве разделителя, имеет первый входной вывод (обозначенный стрелкой, направленной внутрь), подсоединенный с возможностью приема входного сигнала, и второй входной вывод, подсоединенный к соответствующей оконечной нагрузке Т (согласованной нагрузке). Оконечная нагрузка Т обеспечивает нулевой входной сигнал: следовательно, кольцевые гибридные соединения или разделители SP4-SP11 разделяют сигналы на своих входных выводах между своими соответствующими выходными выводами с соответствующими коэффициентами разделения импедансов между входными и выходными выводами в каждом случае.
В системе 500, как и в ранее описанных вариантах, входной сигнал Vin делится первым разделителем SP1 на два одинаковых сигнала, каждый из которых уменьшается до -3 дБ по сравнению с мощностью входного сигнала Vin: один сигнал, сформированный таким образом, проходит через регулируемый фазовращатель 502 и возникает в первом фидере 504 как вектор А. Другой сигнал, сформированный таким образом, возникает во втором фидере 506 как вектор В; как описано ранее, между первым разделителем SP1 и вторым фидером 506 возможно внесение фиксированного фазового сдвига (не показан).
Вектора А и В сигналов проходят в качестве входных сигналов в СПЛ SP2 и SP3, соответственно, каждый из которых имеет два выходных вывода О1 и О2, и четвертый вывод Т4, оканчивающийся в согласованной нагрузке Т, обеспечивающей нулевой входной сигнал. Из своего входного сигнала, каждый из в СПЛ SP2 и SP3 генерирует сигналы на выходных выводах О1 и О2, которые уменьшаются по мощности до -0,12 дБ и -16,11 дБ, соответственно, относительно входного сигнала в каждом случае. Два результирующих сигнала, уменьшенных до -0,12 дБ, подаются из СПЛ SP2 и SP3 на первые входные клеммы пятого и восьмого разделителей SP5 и SP8, а сигналы, уменьшенные до -16,11 дБ, подаются на первые входные выводы шестого и седьмого разделителей SP6 и SP7.
Пятый разделитель SP5 разделяет свой входной сигнал на два выходных сигнала, уменьшая их мощность до -5,3 дБ и -1,5 дБ относительно мощности входного сигнала, и эти выходные сигналы подаются на первые входные выводы четвертого разделителя SP4 и первого SD-генератора Н1, соответственно. Точно так же, восьмой разделитель SP8 разделяет свой входной сигнал, уменьшенный до -0,12 дБ, на два выходных сигнала, уменьшенные до -5,3 дБ и -1,5 дБ, и эти выходные сигналы подаются на первые входные выводы девятого разделителя SP9 и второго SD-генератора Н2, соответственно.
Четвертый разделитель SP4 разделяет свой входной сигнал, уменьшенный до -5,42 дБ, на два выходных сигнала, которые уменьшены до -1,68 дБ и -4,94 дБ относительно входного сигнала: из них, выходной сигнал, уменьшенный до -1,68 дБ, подается по шине L4 в фиксированный фазовращатель РЕ4, а значит – и на антенный элемент Е4, имеющейся в антенной решетке Е из двенадцати элементов. Предусматривается по одной такой шине Ln для каждой комбинации Pen/En (n=1…12) «фиксированный фазовращатель/антенный элемент»: соединение шины Ln с фиксированным фазовращателем PEn не показано в явном виде, чтобы избежать появления слишком многих пересекающихся линий на чертеже, но обозначено позицией «PEn» на конце каждой шины Ln в каждом случае. Выходной сигнал, уменьшенный до -4,94 дБ, из четвертого разделителя SP4 подается на второй входной вывод второго SD-генератора H1.
Девятый разделитель SP9 разделяет свой входной сигнал на выходные сигналы, уменьшенные до -1,68 дБ и -4,94 дБ относительно его входного сигнала: из этих сигналов, выходной сигнал, уменьшенный до -1,68 дБ, подается по шине L9 на антенный элемент Е9 через фиксированный фазовращатель РЕ9. Выходной сигнал, уменьшенный до -4,94 дБ, подается на второй входной вывод первого SD-генератора Н1.
Шестой разделитель SP6 является разделителем на одинаковые сигналы, который вырабатывает два выходных сигнала, каждый из которых на -3 дБ меньше входного сигнала этого разделителя: из этих выходных сигналов, один подается на первый входной вывод пятого SD-генератора Н5, а другой – на первый входной вывод третьего SD-генератора Н3. Седьмой разделитель SP7 является разделителем на одинаковые сигналы, вырабатывающим два выходных сигнала, каждый из которых на -3 дБ меньше входного сигнала этого разделителя, и эти выходные сигналы подаются на первые выводы четвертого и шестого SD-генераторов Н4 и Н6, соответственно. Первый SD-генератор Н1 имеет выход S суммы, подсоединенный ко второму входному выводу четвертого SD-генератора Н4. Он имеет выход D разности, подсоединенный к входному выводу десятого разделителя SP10. Точно так же, второй SD-генератор Н2 имеет выход S суммы, подсоединенный ко второму входному выводу пятого SD-генератора Н5. Он имеет выход D разности, подсоединенный к входному выводу одиннадцатого разделителя SP11.
Десятый разделитель SP10 является разделителем на одинаковые сигналы, который вырабатывает два одинаковых выходных сигнала, каждый из которых на -3 дБ меньше его входного сигнала, поступающего из первого SD-генератора H1. Один из этих выходных сигналов подается по шине L2 на антенный элемент Е2 через фиксированный фазовращатель РЕ2. Другой из этих входных сигналов подается на второй входной вывод третьего SD-генератора Н3. Точно так же, одиннадцатый разделитель SP11 также является разделителем на одинаковые сигналы, который вырабатывает два одинаковых выходных сигнала, каждый из которых на -3 дБ меньше его входного сигнала, поступающего из второго SD-генератора H2. Один из этих выходных сигналов подается по шине L11 на антенный элемент Е11 через фиксированный фазовращатель РЕ11, а другой подается на второй входной вывод шестого SD-генератора Н6.
SD-генераторы Н3-Н6 с третьего по шестой имеют входы S и D суммы и разности, выдающие сигналы возбуждения на элементы Е1, Е3, Е5-Е8, Е10 и Е12 через шины L1, L3, L5-L8, L10 и L12 и фиксированные фазовращатели РЕ1, РЕ3, РЕ5-РЕ8, РЕ10 и РЕ12, соответственно. Непосредственное сравнение мощности входного сигнала Vin с мощностями сигналов, принимаемых антенными элементами, можно провести путем сложения значений, выраженных в децибелах и отмеченных в каждом тракте сигнала (без учета потерь в неидеальных компонентах): например, антенный элемент Е4 принимает сигнал, который уменьшен по сравнению с входной мощностью на -3 дБ, -0,12 дБ, -5,3 дБ и -1,68 дБ в разделителях SP1, SP3, SP5 и SP4, соответственно, что в сумме дает -9,1 дБ. Относительное фазирование сигналов возбуждения антенных элементов не описано, поскольку этот анализ при соответствующих изменениях эквивалентен тем, которые приведены для ранее описанных вариантов.
В вариантах осуществления изобретения, описанных выше, применяются гибридные соединения, вносящие фазовый сдвиг на 180°. Их можно заменить, например, «квадратурными» гибридными соединениями, вносящими фазовый сдвиг на 90°, с добавлением фазовращателей, вносящих фазовый сдвиг на 90°, для получения тех же самых общих функциональных свойств, но это менее практично.
Примеры изобретения описаны на основе последовательного соединения разделителей и гибридных соединений, обозначенных сокращениями (S-H). Из этих примеров можно вывести дополнительные примеры с увеличенным количеством каскадов, например, S-H-S, S-H-S-H и т.д.
Формула изобретения
1. Система фазированной антенной решетки с регулируемым электрическим наклоном, содержащая решетку, состоящую из антенных элементов, при этом система включает в себя
а) регулируемый фазовращатель для внесения переменного относительного фазового сдвига между первым и вторым радиочастотными (РЧ) сигналами,
б) второе разделяющее устройство для разделения первого и второго сигналов, имеющих относительный фазовый сдвиг, на составляющие сигналы и
в) схему объединения сигналов для формирования векторных комбинаций составляющих сигналов, причем второе разделяющее устройство и схема объединения сигналов комбинированы со средством для выдачи сигналов возбуждения для отдельных антенных элементов, причем сигналы возбуждения состоят, по меньшей мере частично, из упомянутых векторных комбинаций, и постепенно изменяются по фазе вдоль антенной решетки в зависимости от положения антенного элемента как требуется для работы фазированной антенной решетки и таким образом, что угол электрического наклона решетки регулируется в ответ на изменение переменного относительного фазового сдвига, вносимого регулируемым фазовращателем.
2. Система по п.1, имеющая нечетное количество антенных элементов.
3. Система по п.1, в которой регулируемый фазовращатель является первым регулируемым фазовращателем, при этом система включает в себя второй регулируемый фазовращатель, выполненный с возможностью фазового сдвига составляющего сигнала, который подвергнут фазовому сдвигу первым регулируемым фазовращателем, причем второй регулируемый фазовращатель обеспечивает дополнительный составляющий сигнал, выдаваемый для схемы объединения сигналов непосредственно или посредством одной или более комбинаций разделителей и регулируемых фазовращателей.
4. Система по п.1, в которой регулируемый фазовращатель является одним из множества регулируемых фазовращателей, при этом схема объединения сигналов выполнена с возможностью выработки сигналов возбуждения антенных элементов из составляющих сигналов, некоторые из которых пропущены через все регулируемые фазовращатели, а некоторые – нет.
5. Система по п.1, в которой второе разделяющее устройство выполнено с возможностью разделения составляющего сигнала на дополнительные составляющие сигналы для ввода их в схему объединения сигналов.
6. Система по п.1, в которой в схеме объединения сигналов используются фазовращатели и гибридные разветвители (гибридные соединения) для внесения фазового сдвига и формирования векторных комбинаций.
7. Система по п.6, в которой гибридные соединения являются гибридными соединениями, вносящими фазовый сдвиг на 180°.
8. Система по п.6, в которой гибридные соединения выполнены в виде кольцевых гибридных соединений с окружностью (n+1/2) , и соседними портами ввода и вывода, разделенными промежутком /4, где – длина волны РЧ сигналов в материале, из которого изготовлено каждое кольцевое гибридное соединение.
9. Система по п.8, в которой второе разделяющее устройство включает в себя кольцевые гибридные соединения с окружностью (n+1/2) , два порта ввода и два порта вывода, причем соседние потры разделены промежутком /4, при этом один порт ввода каждых из этих гибридных соединений нагружен на резистор, значение сопротивления которого равно импедансу системы и который образует согласованную нагрузку.
10. Система по п.6, в которой гибридные соединения выполнены с возможностью преобразования входных сигналов I1 и I2 в векторные суммы и разности, отличные от (I1+I2) и (I1-I2).
11. Система по п.1, в которой первое и второе разделяющие устройства, регулируемый фазовращатель и схема объединения сигналов расположены в одном и том же месте с элементом антенной решетки в виде антенного узла, причем этот узел имеет один фидер мощности входных РЧ сигналов для подачи РЧ сигнала на первое разделяющее устройство из удаленного источника.
12. Система по п.1, в которой второе разделяющее устройство включает в себя первый, второй и третий разделители, при этом первое разделяющее устройство расположено вместе с регулируемым фазовращателем на удалении от второго разделяющего устройства, а второе разделяющее устройство, схема объединения сигналов, антенный элемент антенной решетки расположены в том месте, что и антенный узел, причем этот узел имеет два фидера мощности входных РЧ сигналов для подачи первого и второго РЧ сигналов на антенный узел из удаленного источника, в котором находятся первый разделяющее устройство и регулируемый фазовращатель.
13. Система по п.1, в которой регулируемый фазовращатель является первым регулируемым фазовращателем, подсоединенным в канале передачи, при этом система включает в себя второй регулируемый фазовращатель, подсоединенный в канале приема, и дополнительные каналы передачи и приема, обеспечивающие фиксированные фазовые сдвиги, причем схема объединения сигналов выполнена с возможностью работы в обоих режимах – передачи и приема – за счет выработки сигналов возбуждения антенных элементов в ответ на сигналы в каналах передачи, а также выработки сигналов каналов приема из сигналов, формируемых антенными элементами, работающими в режиме приема, при этом в системе угол электрического наклона независимо регулируется и в режиме передачи, и в режиме приема.
14. Система по п.1, в которой регулируемый фазовращатель является одним из множества регулируемых фазовращателей, связанных с соответствующими операторами, а система включает в себя устройство фильтрации и объединения для направления сигналов в общее устройство подачи сигналов после фазового сдвига в соответствующих регулируемых фазовращателях, причем это общее устройство подачи сигналов соединено со вторым разделяющим устройством и схемой объединения сигналов для выдачи сигналов, содержащих вклады от обоих операторов, в антенную решетку с с независимо регулируемым электрическим наклоном.
15. Система по п.14, в которой множество регулируемых фазовращателей содержит соответствующую пару регулируемых фазовращателей, связанных с каждым оператором, а система имеет компоненты, которые имеют возможности обработки сигналов, следующих и в прямом, и в обратном направлении, так что система может работать в режимах передачи и приема таким образом, что электрический наклон независимо регулируется в каждом режиме.
16. Способ регулирования электрического наклона системы фазированной антенной решетки, при этом система включает в себя решетку антенных элементов, состоящую из антенных элементов, а способ включает в себя:
а) разделение радиочастотного (РЧ) сигнала на первый и второй РЧ сигналы,
б) внесение переменного относительного фазового сдвига между первым и вторым радиочастотными (РЧ) сигналами,
в) разделение первого и второго сигналов, подвергнутых относительному фазовому сдвигу, на составляющие сигналы и
формирование векторных комбинаций составляющих сигналов для выдачи соответствующих сигналов возбуждения для отдельных антенных элементов, причем сигналы возбуждения состоят, по меньшей мере, частично, из упомянутых векторных комбинаций и постепенно изменяются по фазе вдоль антенной решетки в зависимости от положения антенного элемента как требуется для работы фазированной антенной решетки, и таким образом, что угол электрического наклона решетки регулируется в ответ на изменение переменного относительного фазового сдвига.
17. Способ по п.16, в котором решетка имеет нечетное количество антенных элементов.
18. Способ по п.16, включающий в себя генерирование, по меньшей мере, одного составляющего сигнала, имеющего фазовый сдвиг, коллективно примененный ко множеству регулируемых фазовращателей.
19. Способ по п.18, в котором регулируемые фазовращатели сгруппированы, при этом способ включает в себя выработку сигналов возбуждения антенных элементов из составляющих сигналов, некоторые из которых имеют фазовый сдвиг, коллективно примененный ко всем регулируемым фазовращателям, а некоторые – нет.
20. Способ по п.16, включающий в себя разделение составляющего сигнала на дополнительные составляющие сигналы для формирования дополнительных векторных комбинаций для выдачи большего количества сигналов возбуждения антенных элементов.
21. Способ по п.16, предусматривающий использование фазовращателей и гибридных соединений для внесения фазового сдвига и формирования векторных комбинаций составляющих сигналов.
22. Способ по п.21, в котором гибридные соединения являются гибридными соединениями, вносящими фазовый сдвиг на 180°.
23. Способ по п.21, в котором гибридные соединения выполнены в виде кольцевых гибридных соединений с окружностью (n+1/2) , и соседними портами ввода и вывода, разделенными промежутком /4, где n – целое число, а – длина волны РЧ сигналов в материале, из которого изготовлено каждое кольцевое гибридное соединение.
24. Способ по п.23, в котором второе разделяющее устройство включает в себя кольцевые гибридные соединения с окружностью (n+1/2) , два порта ввода и два порта вывода, причем соседние порты разделены промежутком /4, при этом один порт ввода каждых из этих гибридных соединений нагружен на резистор, значение сопротивления которого равно импедансу системы и который образует согласованную нагрузку.
25. Способ по п.23, в котором гибридные соединения выполнены с возможностью преобразования входных сигналов I1 и I2 в векторные суммы и разности, отличные от (I1+I2) и (I1-I2).
26. Способ по п.16, включающий в себя подачу РЧ сигнала как одного входного сигнала РЧ сигнала из удаленного источника, для разделения, регулируемого фазового сдвига и формирования векторных комбинаций в схеме, расположенной в одном и том же месте с антенной решеткой и образующей таким образом антенный узел.
27. Способ по п.16, дополнительно включающий в себя подачу первого и второго РЧ сигналов с переменной фазой относительно друг друга из удаленного источника в антенный узел для разделения и формирования векторных комбинаций в схеме, расположенной в одном и том же месте с антенной решеткой.
28. Способ по п.16, использующий каналы передачи и приема для работы в обоих режимах – передачи и приема, и включающий в себя выработку сигналов возбуждения антенных элементов в ответ на сигналы в канале передачи, а также выработку сигналов каналов приема из сигналов, формируемых антенными элементами, работающими в режиме приема, при этом угол электрического наклона независимо регулируется и в режиме передачи, и в режиме приема.
29. Способ по п.16, в котором переменный фазовый сдвиг является одним из множества переменных фазовых сдвигов, причем первый и второй РЧ сигналы представляют собой пару сигналов, эта пара является одной из множества пар РЧ сигналов, подвергнутых относительному фазовому сдвигу, и каждый переменный фазовый сдвиг и каждая пара связаны с соответствующими операторами, а способ включает в себя
а) фильтрацию и объединение сигналов и пропускание их в общее устройство подачи сигналов после фазового сдвига в соответствующих регулируемых фазовращателях, для последующего выполнения этапов разделения и формирования векторных комбинаций,
б) выдачу на антенные элементы сигналов, содержащих вклады от каждого оператора, и
в) независимое регулирование электрического наклона, связанного с каждым оператором.
30. Способ по п.29, в котором множество переменных фазовых сдвигов реализуется соответствующей парой регулируемых фазовращателей, связанных с каждым оператором, при этом в способе используются компоненты, которые имеют возможности обработки сигналов, следующих и в прямом, и в обратном направлении, и способ включает в себя работу в режимах передачи и приема таким образом, что электрический наклон независимо регулируется в обоих режимах.
РИСУНКИ
|
|