|
|
(21), (22) Заявка: 2006117778/28, 19.10.2004
(24) Дата начала отсчета срока действия патента:
19.10.2004
(30) Конвенционный приоритет:
24.10.2003 DE 10349963.6
(43) Дата публикации заявки: 27.11.2007
(46) Опубликовано: 10.02.2009
(56) Список документов, цитированных в отчете о поиске:
WO 02/070271 А2, 12.09.2009. WO 99/49525 А1, 30.09.1999. ЕР 1041620 А, 04.10.2000. ЕР 0442123 А1, 21.08.1991. RU 2183882 С1, 20.06.2002.
(85) Дата перевода заявки PCT на национальную фазу:
24.05.2006
(86) Заявка PCT:
DE 2004/002319 (19.10.2004)
(87) Публикация PCT:
WO 2005/039868 (06.05.2005)
Адрес для переписки:
129090, Москва, ул. Б.Спасская, 25, стр.3, ООО “Юридическая фирма Городисский и Партнеры”, пат.пов. Ю.Д.Кузнецову, рег.№ 595
|
(72) Автор(ы):
ВИЛЬД Хайнрих (DE), БРЕМ Людвиг (DE), ХАНЗЕН Ахим (CH)
(73) Патентообладатель(и):
ЛЕОНХАРД КУРЦ ГМБХ УНД КО. КГ (DE)
|
(54) СПОСОБ ИЗГОТОВЛЕНИЯ ПЛЕНКИ
(57) Реферат:
Изобретение относится к пленке с, по меньшей мере, одним электрическим конструктивным элементом, а также к способу изготовления такой пленки. Сущность изобретения: в способе изготовления пленки с, по меньшей мере, одним электрическим конструктивным элементом на пленку-основу наносят клеевой слой из отверждаемого излучением клея в узорчато структурированном виде и/или узорчато облучают таким образом, что клеевой слой отверждается узорчато структурированным образом. На клеевой слой наносят переводную пленку, включающую в себя несущую пленку и электрический функциональный слой. Несущую пленку отделяют от пленочного тела, включающего в себя пленку-основу, клеевой слой и электрический функциональный слой, причем на первом узорчато структурированном участке электрический функциональный слой остается на пленке-основе, а на втором узорчато структурированном участке электрический функциональный слой остается на несущей пленке, и его отделяют вместе с несущей пленкой от пленки-основы. Изобретение позволяет усовершенствовать технологию изготовления конструктивных элементов по технологии органических полупроводников. 4 н. и 26 з.п. ф-лы, 12 ил.
Изобретение относится к пленке с, по меньшей мере, одним электрическим конструктивным элементом, а также к способу изготовления такой пленки.
Для изготовления электрических конструктивных элементов по технологии органических полупроводников, например, органических полевых транзисторов (OFET) или других электрических конструктивных элементов из органических полимеров, требуется структурирование, по меньшей мере, проводящего электродного слоя. Структурирование других слоев таких конструктивных элементов не является обязательным, однако может улучшить производительность таких конструктивных элементов по технологии органических полупроводников. При этом для обеспечения возможности изготовления производительных электрических конструктивных элементов по технологии органических полупроводников требуется структурирование слоев с высоким разрешением и точностью совмещения.
В WO 02/25750 описано изготовление электродов или печатных плат литографическим способом. При этом проводящий органический слой из легированного полианилина (PANI) или полиэтилендиокситиофена (PEDOT) наносят посредством ракеля, напыления, центрифугирования или трафаретной печати плоскостно на подложку, например пленку. После этого наносят тонкий слой фоторезиста и структурированно экспонируют его. При проявлении обнажившийся слой полианилина депротонируют за счет воздействия проявителя, и, тем самым, он становится непроводящим. С помощью растворителя растворяют оставшийся фоторезист. До или после этого этапа непроводящую матрицу органического слоя растворяют не основным растворителем.
В WO 02/25750 описано, что на плоский слой функционального полимера для структурирования отпечатывают химическое соединение депротонирующего действия. Это соединение является, предпочтительно, основанием. За счет последующей промывки непроводящие участки выборочно удаляют.
В WO 02/47183 для структурирования слоев органического полевого транзистора предложено помещать в углубления формуемого слоя функциональные полимеры. Формуемый слой состоит из другого органического материала с изолирующими свойствами, в который вдавливают штамп. В эти углубления затем посредством ракеля помещают функциональный полимер. Тем самым этим способом могут быть созданы предельно тонкие структуры с продольными размерами в диапазоне от 2 до 5 мкм. Ракельный метод к тому же не является специфическим по материалу, т.е. пригоден для структурирования всех слоев органического полевого транзистора. Кроме того, диапазон вязкости для ракеля гораздо шире, чем для печати, так что функциональные полимеры могут в значительной степени сохранять свою консистенцию. Могут быть получены также относительно толстые слои в диапазоне до 1 мкм.
В DE 10033112 описан способ изготовления электрических конструктивных элементов по технологии органических полупроводников, при котором функциональные полимеры наносят методом тампонной печати на подложку или уже имеющийся слой.
В основе настоящего изобретения лежит задача усовершенствования изготовления производительных (мощных) конструктивных элементов по технологии органических полупроводников и/или создания конструкции усовершенствованных конструктивных элементов по технологии органических полупроводников.
Эта задача решается посредством способа изготовления пленки с, по меньшей мере, одним электрическим конструктивным элементом, в частности, по технологии органических полупроводников, при котором на пленку-основу наносят слой отверждаемого излучением клея, причем этот клеевой слой наносят на пленку-основу в узорчато структурированном виде и/или узорчато облучают (например, УФ-излучением) таким образом, что клеевой слой отверждается узорчато структурированным, на клеевой слой наносят переводную пленку, включающую в себя несущую пленку и электрический функциональный слой, с ориентацией электрического функционального слоя к клеевому слою, и несущую пленку отделяют от пленочного тела, включающего в себя пленку-основу, клеевой слой и электрический функциональный слой, посредством чего на первом узорчато структурированном участке электрический функциональный слой остается на основе, а на втором узорчато структурированном участке электрический функциональный слой остается на несущей пленке, и его отделяют вместе с этой несущей пленкой от пленки-основы. Эта задача решается также посредством пленки с, по меньшей мере, одним электрическим конструктивным элементом, в частности – по технологии органических полупроводников, содержащей клеевой слой из отверждаемого излучением клея, который расположен между узорчато структурированным электрическим функциональным слоем и пленочным телом упомянутой пленки и соединяет узорчато структурированный электрический функциональный слой с пленочным телом.
Эта задача решается также посредством способа изготовления пленки с, по меньшей мере, одним электрическим конструктивным элементом, в частности, по технологии органических полупроводников, при котором на пленку-основу в узорчато структурированном виде наносят отверждаемый излучением смываемый лак, узорчато структурированный слой смываемого лака облучают (например, ультрафиолетовым (УФ) светом), так что слой смываемого лака отверждается, на слой смываемого лака наносят электрический функциональный слой, и в процессе промывки узорчато структурированный слой смываемого лака с лежащим над ним участком электрического функционального слоя удаляют, так что электрический функциональный слой остается на основе на том узорчато структурированном участке, на который не был нанесен слой смываемого лака.
Благодаря настоящему изобретению становится возможным структурирование электрических функциональных слоев изготавливаемого по технологии органических полупроводников конструктивного элемента с точным совмещением и с более высоким разрешением. Так, например, возможно достичь расстояний между электродами истока и стока органического полевого транзистора менее 25 мкм. Другие преимущества настоящего изобретения состоят в том, что этот способ очень экономичен и пригоден для применения в промышленных масштабах. Так, при применении литографических методов возможно достижение высоких разрешений. Однако литографические методы требуют, с другой стороны, осуществления множества технологических этапов и применения высококачественных и более дорогих вспомогательных материалов. Подложка должна быть покрыта, маскирована, экспонирована, проявлена, протравлена и подвергнута удалению (фоторезиста). Кроме того, при использовании способа согласно изобретению достигается повышение качества полученных по технологии органических полупроводников электрических конструктивных элементов: под способом согласно изобретению подразумевается сухой способ, благодаря которому в значительной степени предотвращается загрязнение полупроводящих слоев. Полупроводящие слои электрического конструктивного элемента по технологии органических полупроводников крайне восприимчивы по отношению к загрязнениям, поскольку они, например за счет протонирующего действия, уже в малых концентрациях могут изменить электрические свойства полупроводящих слоев. Так, например, при литографическом способе нельзя избежать загрязнения органических полупроводящих слоев в результате неизбежных процессов проявления, травления и удаления фоторезиста. Более того, оказалось, что при непосредственной печати проводящих полимеров необходимое структурирование электрических функциональных слоев с высоким разрешением, в частности, с точки зрения достаточной воспроизводимости, достигается лишь с очень высокими затратами. Причиной этого является, прежде всего, вязкость имеющихся в распоряжении отпечатываемых веществ, которая затрудняет печать при достаточной толщине и воспроизводимости, в частности, с помощью имеющихся в распоряжении методик печати в промышленных масштабах. В дополнение к этому, благодаря настоящему изобретению предотвращается термическая нагрузка полупроводящих слоев во время процесса изготовления.
Таким образом, благодаря настоящему изобретению создан экономичный, применимый в промышленных масштабах способ изготовления пленок с электрическими конструктивными элементами по технологии органических полупроводников, отвечающий высоким требованиям к качеству. Предпочтительные варианты осуществления изобретения охарактеризованы в зависимых пунктах формулы.
Согласно одному предпочтительному варианту осуществления изобретения клеевой слой отпечатывают на пленке-основе узорчато структурированным посредством метода печати, на клеевой слой наносят переводную пленку, клеевой слой отверждают посредством облучения излучением, а затем несущую пленку отделяют от пленочного тела, образованного пленкой-основой, клеевым слоем и электрическим функциональным слоем. Таким образом, электрический функциональный слой остается на тех участках, которые отпечатаны с отверждаемым излучением клеем. В данном случае является выгодным, что за счет различных свойств печатающего вещества и различных достигаемых толщин слоя достигаются более высокие разрешения, чем при непосредственной печати проводящих полимеров. Кроме того, возможно применение экономичных и применимых в промышленных масштабах методик печати, таких как глубокая печать, офсетная печать и флексографская печать.
Согласно другому предпочтительному варианту осуществления изобретения отверждаемый ультрафиолетом клей наносят на всю поверхность пленки-основы, а затем узорчато экспонируют УФ-светом, так что клеевой слой отверждается на узорчато структурированном участке. Затем на клеевой слой наносят переводную пленку. После этого несущую пленку отделяют от пленочного тела, образованного пленкой-основой, клеевым слоем и электрическим функциональным слоем. При этом электрический функциональный слой на тех узорчато структурированных участках, где клеевой слой не отвержден и еще обладает определенной клейкостью (липкостью), остается на пленке-основе. На остальном участке, т.е. на том участке, на котором клеевой слой отвержден, электрический функциональный слой остается на несущей пленке, и его отделяют вместе с несущей пленкой. В результате таких действий на пленке-основе получают структурированные электрические функциональные слои с очень высоким разрешением. Кроме того, в данном случае обеспечиваются преимущества по издержкам производства, поскольку, например, не требуется использование высококачественных валиков с сетчатой поверхностью для глубокой печати.
Для обеспечения достаточного экспонирования клеевого слоя при описанных выше способах является предпочтительным выполнение электрического функционального слоя из полупрозрачного материала, например очень тонкого металлического слоя, и применение проницаемой для излучения несущей пленки. За счет этого можно облучать клеевой слой со стороны переводной пленки сквозь эту переводную пленку. Альтернативно, возможно выполнение пленки-основы прозрачной для излучения и экспонирования клеевого слоя со стороны пленки-основы сквозь эту пленку-основу.
Согласно другому предпочтительному варианту осуществления изобретения клеевой слой после нанесения переводной пленки узорчато экспонируют, так что клеевой слой отверждается на узорчато структурированном участке. Затем несущую пленку отделяют от пленочного тела, образованного пленкой-основой и электрическим функциональным слоем. На том участке, где клеевой слой отвержден узорчато структурированным образом, электрический функциональный слой фиксируется этим клеевым слоем и остается на теле основы. На остальном участке, где клеевой слой не отвержден, электрический функциональный слой остается на переводной пленке и отделяется вместе с несущей пленкой. При этом необходимо использовать отверждаемый излучением клей, который в неотвержденном состоянии обладает меньшей силой адгезии по отношению к электрическому функциональному слою, чем сила адгезии между электрическим функциональным слоем и несущей пленкой.
Преимущество этого варианта способа состоит в том, что электрические функциональные слои могут быть получены на пленке-основе с очень высоким разрешением, и что отсутствуют какие-либо ограничивающие условия относительно прозрачности для излучения электрического функционального слоя и тела основы.
Применение способа в рамках осуществляемого в промышленном масштабе процесса «с рулона на рулон» обеспечивается посредством использования барабанного экспонирующего устройства или масочного экспонирующего устройства с вращающейся масочной лентой для узорчатого облучения клеевого слоя УФ-светом.
Особое значение для способа согласно изобретению имеет использование подходящей переводной пленки, обеспечивающей возможность быстрого и точного отделения (отслаивание) электрического функционального слоя от несущей пленки. При этом, в частности, оказалось целесообразным предусмотреть отделяющий слой между несущей пленкой и электрическим функциональным слоем.
Электрический функциональный слой может быть электропроводящим слоем. Особенное точное разделение электрического функционального слоя на переходе от участков, остающихся с одной стороны на пленке-основе, а с другой стороны – на несущей пленке, достигается за счет использования электрических функциональных слоев, содержащих проводящие частицы, преимущественно – наночастицы, например, частицы металла, технического углерода (сажи) или графита. При этом оказалось, что, в частности, функциональные слои, состоящие из проводящих наночастиц и связующего, в особенности, при малом количестве связующего, делают возможным точное разделение. Кроме того, оказалось преимущественным сжатие электрического функционального слоя при нанесении на пленку-основу, посредством чего повышается электрическая проводимость за счет подпрессовывания наночастиц.
Высокая точность разделения достигается также за счет использования тонких металлических слоев или тонких слоев из металлических сплавов в качестве электрических функциональных слоев. Кроме того, целесообразным является использование электрических функциональных слоев из проводящих полимеров или неорганических проводящих слоев, таких как, например, ITO.
В зависимости от конструкции выполненного по технологии органических полупроводников конструктивного элемента, за счет использования электрически непроводящих или электропроводящих клеев для клеевого слоя удается сократить число технологических этапов при создании электрического конструктивного элемента. Электрический функциональный слой выполняет при этом внутри электрического конструктивного элемента преимущественно функцию микроструктурированного электродного слоя, образующего один или более электродов электрического конструктивного элемента, или функцию микроструктурированного полупроводникового слоя, образующего один или более полупроводящих компонентов электрического конструктивного элемента.
Настоящее изобретение в качестве примера поясняется ниже на нескольких конкретных вариантах его осуществления с помощью прилагаемых чертежей.
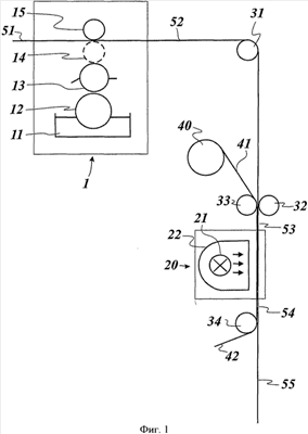
Фиг.1 показывает блок-схему технологических этапов способа согласно первому варианту осуществления изобретения.
Фиг.2 показывает блок-схему технологических этапов способа согласно другому варианту осуществления изобретения.
Фиг.3 показывает блок-схему технологических этапов способа согласно еще одному варианту осуществления изобретения.
Фиг.4а-4d показывают разрезы пленочных тел при осуществлении технологических этапов способа по Фиг.1.
Фиг.5а-5е показывают разрезы пленочных тел для пояснения другого варианта осуществления изобретения.
На фиг.1 схематично изображен фрагмент производственного процесса «с рулона на рулон», посредством которого изготавливают пленку с, по меньшей мере, одним электрическим конструктивным элементом по технологии органических полупроводников.
В настоящем изобретении под электрическими конструктивными элементами по технологии органических полупроводников понимают такие электрические конструктивные элементы, которые содержат, по меньшей мере, один слой из органического полупроводникового материала. При этом органические полупроводниковые материалы, органические проводящие материалы и органические изоляционные материалы образованы органическими, металлоорганическими и/или неорганическими веществами, которые обладают соответствующими электрическими свойствами. В настоящем изобретении функциональными полимерами называют такие органические, металлоорганические и/или неорганические материалы, которые могут найти применение при создании конструктивных элементов по технологии органических полупроводников. Следовательно, понятие «функциональный полимер» включает в себя также неполимерные компоненты. Конструктивными элементами, содержащими органический полупроводниковый слой или участки полупроводникового слоя в качестве функциональных компонентов, являются, например, транзисторы, полевые транзисторы (FET), симметричные триодные тиристоры (триаки), диоды и т.д. В качестве органического полупроводникового материала здесь может найти применение, например, политиофен.
На фиг.1 изображена секция 1 печати, секция 20 экспонирования, огибной ролик 31 и три валика 32, 33, 34. К секции 1 печати подают пленку-основу 51. Обработанную в секции 1 печати пленку-основу 51 подают в виде пленки 52 по огибному ролику 31 к паре валиков 32, 33, которая наносит на пленку 52 переводную пленку 41, разматываемую с рулона 40 переводной пленки. В результате получается пленка 53. Обработанную в секции 20 экспонирования пленку 53 подают в виде пленки 54 к валику 34, где несущую пленку 42 отделяют от пленки 54, и в качестве оставшейся пленки остается пленка 55.
Пленка-основа 51 может представлять собой в простейшем случае несущую пленку. Такая несущая пленка состоит, предпочтительно, из полимерной пленки толщиной от 6 мкм до 200 мкм, например, из пленки сложного полиэфира толщиной от 19 мкм до 38 мкм. Однако обычно пленка-основа 51 имеет, помимо подобной несущей пленки, еще и другие слои, нанесенные во время предшествующих процессов способа. Подобные слои являются, например, лаковыми слоями, изолирующими слоями и электрическими функциональными слоями. Так, возможно, чтобы пленка-основа 51 уже имела один или несколько функциональных полимерных слоев, например, слои из органических проводящих полимеров, таких как полианилин и полипиррол, полупроводящие слои, например, из политиофена, и изолирующие слои, например, из поливинилфенола. При этом возможно также, чтобы эти слои находились на пленке-основе 51 в уже структурированном виде.
Секция 1 печати содержит красящую ванну с отверждаемым ультрафиолетом клеем 11. Посредством нескольких передающих валиков 12 и 13 клей 11 наносят на печатный цилиндр 14. Печатный цилиндр 14 отпечатывает проходящую между ним и валиком 15 противодавления пленку-основу 51 узорчато структурированным образом клеевым слоем из отверждаемого ультрафиолетом клея 11.
Секция 1 печати представляет собой, предпочтительно, секцию офсетной или флексографской печати. Однако возможно также, чтобы секция 1 печати представляла собой секцию глубокой печати.
Клеевой слой 57 преимущественно имеет толщину от 0,5 мкм до 10 мкм.
В качестве отверждаемого ультрафиолетом клея 11 могут, предпочтительно, применяться следующие клеи: Foilbond UVH 0002 фирмы AKZO NOBEL INKS и UVAFLEX UV Adhesive VL000ZA фирмы Zeller+Gmelin GmbH.
Предпочтительно, клеи наносят на пленку-основу 51 в количестве от 1 г/м2 до 5 г/м2.
В результате отпечатывания получается изображенная на фиг.4b пленка 52, у которой на тело основы 51 нанесен узорчато структурированный клеевой слой 57.
При этом в зависимости от типа применяемого клея 11 возможно также, что пленка 52 проходит через сушильный канал, в котором клеевой слой 57 сушат, например, при температуре от 100 до 120°С.
На фиг.4а изображено строение переводной пленки 41. Переводная пленка 41 включает в себя несущую пленку 45, отделяющий слой 46 и электрический функциональный слой 47.
Несущая пленка 45 представляет собой полимерную пленку толщиной от 4 до 75 мкм. Преимущественно, несущая пленка 45 представляет собой пленку из сложного полиэфира, полиэтилена, акрилата или вспененной композиции. Толщина несущей пленки 45 составляет, предпочтительно, 12 мкм.
Отделяющий слой 46 состоит, предпочтительно, из воскового типа. От отделяющего слоя 46 можно также отказаться, если материалы несущей пленки 45 и электрического функционального слоя 47 выбраны так, что силы адгезии между электрическим функциональным слоем 47 и несущей пленкой 45 не препятствуют надежному и быстрому отделению электрического функционального слоя 47.
Отделяющий слой 46 может быть изготовлен, например, по следующей рецептуре:
| Отделяющий слой 46 (разделительный слой) |
|
| Толуол |
99,5 части |
| Сложноэфирный воск (температура каплепадения 90°С) |
0,5 части |
Преимущественно на несущую пленку 45 отделяющий слой 46 наносят толщиной от 0,01 до 0,2 мкм.
В зависимости от функции, которую электрический функциональный слой должен выполнять внутри подлежащего изготовлению электрического конструктивного элемента, электрический функциональный слой 47 состоит из электропроводящих или полупроводящих материалов. В случае, если электрический функциональный слой 47 должен образовать электропроводящий функциональный слой, то существуют следующие возможности выполнения электрического функционального слоя 47.
Во-первых, возможно, чтобы электрический функциональный слой 47 был образован тонким металлическим слоем, которым покрывают состоящее из несущей пленки 45 и отделяющего слоя 46 пленочное тело, например, посредством напыления. Толщина подобного тонкого металлического слоя лежит преимущественно в диапазоне от 5 нм до 50 нм с тем, чтобы обеспечить достаточно высокоразрешающую структурируемость электрического функционального слоя посредством способа согласно изобретению. Металлический слой может состоять в данном случае, например, из алюминия, серебра, меди, золота, хрома, никеля или из сплавов с этими металлами.
Особенно хорошие результаты достигаются тогда, когда в качестве электрического функционального слоя 47 наносят слой проводящих наночастиц. Электропроводящий функциональный слой 47 имеет, например, толщину от 50 нм до 1 мкм и состоит из проводящих наночастиц и связующего, причем для обеспечения точного разделения слоя 47 доля содержащегося связующего является небольшой. При этом толщина электрического функционального слоя 47 определяется также по существу требуемыми от него в рамках электрического конструктивного элемента электрическими свойствами, например, удельным сопротивлением. При этом возможно также, чтобы проводимость слоя 47 достигала нужного значения только при нанесении переводной пленки 41 на пленку 52. За счет оказываемого при этом нанесении давления на электрический функциональный слой 47 этот слой 47 сжимается, в результате чего расстояние между электропроводящими наночастицами уменьшается, а электрическая проводимость слоя 47 существенно повышается.
Кроме того, возможно также использование в качестве электрического функционального слоя 47 слоя из прочих проводящих материалов, например, из ITO-материалов (ITO=Indium Zinn Oxide, т.е. оксид индия-олова), или из других прозрачных проводящих оксидов, например, легированного алюминием оксида цинка, или из электропроводящих полимеров, например, полианилина или полипиррола.
В дополнение к этому, возможно также, чтобы электрический функциональный слой 47 был образован полупроводящим материалом. Для этого органический полупроводниковый материал наносят на отделяющий слой 46 в жидком растворенном виде или в виде суспензии, а затем подвергают затвердеванию. При этом толщина подобного электрического функционального слоя 47 определяется по существу электрической функцией этого слоя внутри подлежащего изготовлению электрического конструктивного элемента.
Проводящие наночастицы наносят на отделяющий слой 46 преимущественно в виде несильно разбавленной дисперсии.
На фиг.4 с изображена пленка 53, т.е. пленочное тело, получающееся после нанесения переводной пленки 41 на отпечатанную узорчато структурированным клеевым слоем 57 пленку-основу 51. На фиг.4 с изображены пленка-основа 51, клеевой слой 57, электрический функциональный слой 47, отделяющий слой 46 и несущая пленка 45. Давление прижима, с которым переводную пленку 41 наносят на пленку 52 посредством прижимного валика 32 и валика 33 противодавления, следует выбирать так, чтобы это по существу не влияло на узорчатое структурирование клеевого слоя 57.
Секция 20 экспонирования на фиг.1 содержит УФ-лампу 21 и отражатель 22, который фокусирует излучаемое УФ-лампой 21 УФ-излучение на пленку 53. При этом мощность УФ-лампы 21 выбирают так, что клеевой слой 57 при прохождении через секцию 20 экспонирования облучают достаточным количеством энергии, обеспечивающей надежное отверждение клеевого слоя 57. Как показано на фиг.1, пленку 53 облучают при этом со стороны несущей пленки 45. Это возможно, если в качестве электрического функционального слоя 47 используют прозрачный или полупрозрачный слой, например, выполненный, как описано выше, тонкий металлический слой. Кроме того, для этого требуется, чтобы несущая пленка 45 и отделяющий слой 46 состояли из прозрачного для ультрафиолета материала. Если же из-за специального состава электрического функционального слоя 47 невозможно выполнить его прозрачным или полупрозрачным для ультрафиолета, то можно облучать пленку 53 УФ-светом со стороны пленки-основы 51. В этом случае пленка-основа 51 должна быть выполнена прозрачной для ультрафиолета.
За счет отверждения узорчато структурированного клеевого слоя 57 функциональный слой 47 склеивается с пленкой-основой 51 в тех местах, где предусмотрен клеевой слой 57. Если впоследствии несущую пленку 45 отделяют от остального пленочного тела пленки 53, то электрический функциональный слой 47 сцепляется с пленкой-основой 51 на тех участках, где напечатан клеевой слой 57, и, тем самым, в этих местах отделяется от переводной пленки 41. В остальных местах преобладает сцепление (адгезия) между электрическим функциональным слоем 47 и отделяющим слоем 46, так что здесь электрический функциональный слой 47 остается на переводной пленке 41.
На фиг.4d изображена пленка 55, т.е. получающееся пленочное тело после снятия несущей пленки 45. На фиг.4d изображены пленка-основа 51, клеевой слой 57 и электрический функциональный слой 47. Как показано на фиг.4d, пленка 55 теперь имеет узорчато структурированный электрический функциональный слой 47, расположенный на пленке-основе 51 в соответствии с узорчато структурированным клеевым слоем 57.
С помощью фиг.2 теперь будет поясняться другой вариант осуществления изобретения.
На фиг.2 изображены секция 10 печати, секция 81 экспонирования, секция 23 экспонирования, огибной ролик 31, прижимной валик 32 и валик 33 противодавления, отделяющий валик 34 и рулон 40 переводной пленки.
Секция 10 печати устроена таким же образом, как и секция 1 печати на фиг.1, с тем отличием, что печатный цилиндр 14 заменен печатным цилиндром 16, который отпечатывает клей 11 на всю поверхность подаваемой пленки-основы 61. При этом возможно также, чтобы клеевой слой наносился на пленку-основу 61 не методом печати, а другим методом нанесения покрытия, например, намазыванием, наливом или распылением. Кроме того, возможно также, чтобы печатание клеевого слоя на пленку-основу 61 происходило также узорчато, и, тем самым, описанный здесь способ был скомбинирован со способом согласно фиг.1.
Пленка-основа 61 и напечатанный на ней слой отверждаемого ультрафиолетом клея выполнены таким же образом, как пленка-основа 51 и клеевой слой 57 согласно фиг.4b, с тем отличием, что здесь клеевой слой 57 предпочтительно напечатан на всей поверхности пленки-основы 61. Пленочное тело 62, получающееся после нанесения клеевого слоя на пленку-основу 61, подают по огибному ролику 31 к секции 81 экспонирования.
Преимущественно, при этом применяют форполимерный отверждаемый ультрафиолетом клей.
Секция 81 экспонирования представляет собой, при этом, масочное экспонирующее устройство, которое обеспечивает экспонирование от рулона к рулону посредством синхронизированной со скоростью движения пленки 52 масочной ленты. Масочное экспонирующее устройство 81 содержит, таким образом, несколько огибных роликов 84, масочную ленту 83 и УФ-лампу 82. Масочная лента 83 имеет прозрачные для ультрафиолета и матовые или отражающие участки. Масочная лента образует, таким образом, бесконечную УФ-маску, которая экранирует пленку 62 от УФ-лампы 82 и делает возможным непрерывное узорчатое облучение пленки 62 УФ-светом. Скорость масочной ленты 83, как уже сказано выше, синхронизируют со скоростью пленки 62, причем дополнительные оптические метки на пленке 62 обеспечивают экспонирование с точным совмещением. Мощность УФ-лампы 82 выбрана при этом таким образом, что при прохождении через масочное экспонирующее устройство 81 к пленке 62 подводят достаточное для отверждения клеевого слоя количество энергии УФ-излучения.
Преимущественно, пленку облучают в масочном экспонирующем устройстве 81 коллимированным УФ-светом.
Вместо работающего с масочной лентой масочного экспонирующего устройства возможно также использование барабанного экспонирующего устройства, располагающего маской в виде барабана, по которому направляют пленку 62.
За счет узорчатого облучения УФ-светом клеевой слой отверждается узорчато структурированным образом, в результате чего пленку 63 с отвержденными и неотвержденными участками клеевого слоя подают к паре валиков 32 и 33. Посредством пары валиков 32 и 33 на пленку 63 теперь наносят переводную пленку 41. При этом переводная пленка 41 выполнена таким же образом, как переводная пленка 41 согласно фиг.4а. Таким образом, получается пленка 64, состоящая из пленки-основы 61, частично отвержденного клеевого слоя, электрического функционального слоя 47, отделяющего слоя 46 и несущей пленки 45. На тех участках, где клеевой слой не отвержден, он является все еще липким, так что здесь действуют силы адгезии между клеевым слоем и лежащим над ним электрическим функциональным слоем 47. На остальных участках, где клеевой слой отвержден, этого не происходит. При отделении несущей пленки 45 от остального пленочного тела электрический функциональный слой 47 на тех участках, где клеевой слой не отвержден, сцеплен с основой 51 и, таким образом, отделяется от несущей пленки 45. На остальных участках действуют силы адгезии между отделяющим слоем 46 и электрическим функциональным слоем 47, так что на этих участках электрический функциональный слой 47 не отделяется и остается на несущей пленке 45. Таким образом, после снятия несущей пленки 45 получается пленка 65 с частично узорчатым электрическим функциональным слоем 47, который посредством расположенного на всей поверхности клеевого слоя соединен с пленкой-основой 61. Далее, в другой секции 23 экспонирования, выполненной так же, как и секция 20 экспонирования согласно фиг.1, клеевой слой на еще не отвержденных участках полностью отверждают для обеспечения надежного соединения между электрическим функциональным слоем 47 и пленкой-основой 61. От секции 23 экспонирования можно также отказаться.
С помощью фиг.3 теперь будет поясняться еще один вариант осуществления изобретения.
На фиг.3 изображены секция 10 печати, секция 81 экспонирования, огибной ролик 31, прижимной валик 32 и валик 33 противодавления, отделяющий валик 34 и рулон 40 переводной пленки.
К секции 10 печати подают пленку-основу 61, которую, как и на фиг.2, покрывают клеевым слоем, в результате чего получается пленка 62 согласно фиг.2. На пленку 62 посредством пары валиков 32 и 33 наносят переводную пленку 41. Переводная пленка 41 выполнена при этом согласно фиг.4а. Таким образом, получается пленка 67, состоящая из пленки-основы 61, расположенного на всей поверхности неотвержденного клеевого слоя, электрического функционального слоя 47, отделяющего слоя 46 и несущей пленки 45.
Пленку 67 далее экспонируют посредством масочного экспонирующего устройства 81, которое опять-таки выполнено так же, как масочное экспонирующее устройство 81 согласно фиг.2. После экспонирования посредством масочного экспонирующего устройства 81 получается, тем самым, пленка 68, состоящая из пленки-основы 61, узорчато структурированным образом отвержденного клеевого слоя, электрического функционального слоя 47, отделяющего слоя 46 и несущей пленки 45.
В противоположность варианту осуществления согласно фиг.2, здесь применяют отверждаемый ультрафиолетом клей, сила адгезии которого по отношению к электрическому функциональному слою 47 или пленке-основе 61 является меньшей, чем сила адгезии между электрическим функциональным слоем 47 и несущей пленкой 45. Конечно, можно также использовать такой же клей, что и на фиг.1 или фиг.2, и за счет выбора материалов несущей пленки 45, тела основы 51 или отделяющего слоя 46 вызвать соответствующее распределение сил адгезии.
При отделении несущей пленки 45 от остального пленочного тела пленки 68 на тех участках, где клеевой слой отвержден и, тем самым, электрический функциональный слой 47 склеен с пленкой-основой 61, электрический функциональный слой остается на основе 61. На остальных участках силы адгезии, препятствующие отделению электрического функционального слоя 47 от несущей пленки 45, выше, чем силы адгезии между электрическим функциональным слоем 47 и пленкой-основой 61, так что электрический функциональный слой 47 на этих участках не отделяется от несущей пленки 45.
Таким образом, получается пленка 69, имеющая узорчато структурированный электрический функциональный слой 47, который посредством соответствующим образом узорчато структурированного отвержденного клеевого слоя соединен с пленкой-основой 61.
С помощью фиг.5а-5е в качестве примера поясняется, как посредством одного из способов согласно фиг.1, фиг.2 или фиг.3 может быть изготовлен полевой транзистор по технологии органических полупроводников.
На фиг.5а изображена пленка-основа 90, состоящая из несущей пленки 91 и нанесенного на нее лакового слоя 92.
Несущая пленка 91 представляет собой полимерную пленку, преимущественно, пленку сложного полиэфира толщиной от 19 мкм до 38 мкм. Лаковый слой 92 представляет собой лаковый слой из электроизолирующего материала, действующего дополнительно в качестве защитного лакового слоя. Этот лаковый слой наносят преимущественно толщиной от 0,5 до 5 мкм на несущую пленку 91 или на лежащий между несущей пленкой 91 и лаковым слоем 92 отделяющий слой.
Как показано на фиг.5b, посредством одного из способов согласно фиг.1, фиг.2 или фиг.3 на пленку-основу 90 наносят электрический функциональный слой 94. Таким образом, получается изображенное на фиг.5b пленочное тело, состоящее из несущей пленки 91, лакового слоя 92, клеевого слоя 93 и электрического функционального слоя 94. При этом электрический функциональный слой 94 состоит из электропроводящего материала и выполняет внутри электрического конструктивного элемента функцию электродов истока и стока. В зависимости от вида применяемых способов, при этом возможно узорчатое структурирование клеевого слоя 93, как показано на фиг.5b, таким же образом, как и электрического функционального слоя 94, или его выполнение на клеевом слое 93 в отвержденном состоянии на всей поверхности лакового слоя 92.
Затем на пленочное тело согласно фиг.5b наносят полупроводящий слой, в результате чего получается изображенное на фиг.5 с пленочное тело, состоящее из несущей пленки 91, лакового слоя 92, клеевого слоя 93, электрического функционального слоя 94 и полупроводящего слоя 95. В качестве материала полупроводящего слоя 95 в данном случае применяют политиофен, который наносят на пленочное тело согласно фиг.5b в жидком растворенном виде или в виде суспензии, а затем подвергают затвердеванию. Возможно также узорчатое структурированное нанесение полупроводящего слоя 95.
Пленочное тело согласно фиг.5 с образует теперь пленку-основу, на которую посредством одного из способов согласно фиг.1, фиг.2 или фиг.3 наносят электрический функциональный слой 97. На фиг.5d изображено получающееся в результате этого пленочное тело, состоящее из несущей пленки 91, лакового слоя 92, клеевого слоя 93, электрического функционального слоя 94, полупроводящего слоя 95, клеевого слоя 96 и электрического функционального слоя 97.
Электрический функциональный слой 97 состоит в данном случае также из электропроводящего материала и действует внутри электрического конструктивного элемента в качестве электрода затвора. Клеевой слой 96 выполнен узорчато структурированным, как и лежащий над ним электрический функциональный слой 97. Однако при применении способов согласно фиг.2 или фиг.3 возможно также нанесение клеевого слоя 96 по всей поверхности на полупроводящий слой 95.
На следующем этапе способа на изображенное на фиг.5d пленочное тело наносят еще один лаковый слой из электроизолирующего материала, который впоследствии также выполняет функцию защитного слоя для полупроводящего слоя 95. Как показано на фиг.5е, таким образом получается пленка 99, состоящая из несущей пленки 91, лаковых слоев 92 и 98, полупроводящего слоя 95, клеевых слоев 93 и 96 и электрических функциональных слоев 94 и 97.
Формула изобретения
1. Способ изготовления пленки (55, 66, 69, 99) с, по меньшей мере, одним электрическим конструктивным элементом, в частности, по технологии органических полупроводников, при котором на пленку-основу (51, 61, 90) наносят клеевой слой (57, 93, 96) из отверждаемого излучением клея, причем этот клеевой слой (57, 93, 96) из отверждаемого излучением клея наносят на пленку-основу (51) в узорчато структурированном виде и/или узорчато облучают таким образом, что клеевой слой отверждается узорчато структурированным образом, на клеевой слой (57, 93, 96) наносят переводную пленку (41), включающую в себя несущую пленку (45) и электрический функциональный слой (47, 94, 97), с ориентацией электрического функционального слоя (47, 94, 97) к клеевому слою (57, 93, 96), и несущую пленку (45) отделяют от пленочного тела (54, 64, 68), включающего в себя пленку-основу (51), клеевой слой (57, 93, 96) и электрический функциональный слой (47, 94, 97), причем на первом узорчато структурированном участке электрический функциональный слой (47, 94, 97) как часть электрического конструктивного элемента остается на клеевом слое (57, 93, 96) и пленке-основе (51, 61, 90), а на втором узорчато структурированном участке электрический функциональный слой (47, 94, 97) остается на несущей пленке (45), и его отделяют вместе с несущей пленкой от пленки-основы (51, 61, 90), при этом клеевой слой из отверждаемого излучением клея после нанесения переводной пленки (41) узорчато облучают, посредством чего клеевой слой отверждается на узорчато структурированном участке, и несущую пленку отделяют от пленочного тела (68), включающего в себя пленку-основу (51), клеевой слой и электрический функциональный слой, так что электрический функциональный слой на первом узорчато структурированном участке, на котором клеевой слой отвержден, остается на пленке-основе (51), а на втором участке, на котором клеевой слой не отвержден, его отделяют вместе с несущей пленкой (45).
2. Способ изготовления пленки (55, 66, 69, 99) с, по меньшей мере, одним электрическим конструктивным элементом, в частности, по технологии органических полупроводников, при котором на пленку-основу (51, 61, 90) наносят клеевой слой (57, 93, 96) из отверждаемого излучением клея, причем этот клеевой слой (57, 93, 96) из отверждаемого излучением клея наносят на пленку-основу (51) в узорчато структурированном виде и/или узорчато облучают таким образом, что клеевой слой отверждается узорчато структурированным образом, на клеевой слой (57, 93, 96) наносят переводную пленку (41), включающую в себя несущую пленку (45) и электрический функциональный слой (47, 94, 97), с ориентацией электрического функционального слоя (47, 94, 97) к клеевому слою (57, 93, 96), и несущую пленку (45) отделяют от пленочного тела (54, 64, 68), включающего в себя пленку-основу (51), клеевой слой (57, 93, 96) и электрический функциональный слой (47, 94, 97), причем на первом узорчато структурированном участке электрический функциональный слой (47, 94, 97) как часть электрического конструктивного элемента остается на клеевом слое (57, 93, 96) и пленке-основе (51, 61, 90), а на втором узорчато структурированном участке электрический функциональный слой (47, 94, 97) остается на несущей пленке (45), и его отделяют вместе с несущей пленкой от пленки-основы (51, 61, 90), причем клеевой слой из отверждаемого излучением клея перед нанесением переводной пленки (41) узорчато облучают таким образом, что клеевой слой отверждается на узорчато структурированном участке, переводную пленку (41) наносят на узорчато структурированный отвержденный клеевой слой, и несущую пленку (45) отделяют от пленочного тела (64), включающего в себя пленку-основу (61), клеевой слой и электрический функциональный слой (47), так что электрический функциональный слой (47) на первом узорчато структурированном участке, на котором клеевой слой не отвержден, остается на пленке-основе (61), а на втором узорчато структурированном участке, на котором клеевой слой отвержден, его отделяют вместе с несущей пленкой (45).
3. Способ по п.1 или 2, отличающийся тем, что клеевой слой (47) из отверждаемого излучением клея наносят на пленку-основу (51) узорчато структурированным образом посредством метода печати.
4. Способ по п.3, отличающийся тем, что клеевой слой отпечатывают на пленке-основе (51) посредством глубокой печати.
5. Способ по п.3, отличающийся тем, что клеевой слой (57) отпечатывают на пленку-основу (51) посредством офсетной печати или флексографской печати.
6. Способ по п.3, отличающийся тем, что переводная пленка (41) является прозрачной для излучения, и при этом клеевой слой (57) экспонируют через переводную пленку (41) со стороны этой переводной пленки (41).
7. Способ по п.3, отличающийся тем, что пленка-основа является прозрачной для излучения, и при этом клеевой слой экспонируют через пленку-основу со стороны этой пленки-основы.
8. Способ по любому из пп.1 или 2, отличающийся тем, что используют отверждаемый излучением клей, который в неотвержденном состоянии имеет меньшую силу адгезии по отношению к электрическому функциональному слою, чем сила адгезии между электрическим функциональным слоем и несущей пленкой.
9. Способ по п.2, отличающийся тем, что клеевой слой облучают затем на втором этапе экспонирования для отверждения еще не отвержденных участков клеевого слоя.
10. Способ по любому из пп.1 или 2, отличающийся тем, что для экспонирования используют масочное экспонирующее устройство, в частности, барабанное экспонирующее устройство или масочное экспонирующее устройство (81) с масочной лентой (83).
11. Способ по любому из пп.1 или 2, отличающийся тем, что используют переводную пленку (41), включающую в себя отделяющий слой (46) между несущей пленкой (45) и электрическим функциональным слоем (47).
12. Способ по любому из пп.1 или 2, отличающийся тем, что электрический функциональный слой (47, 94, 97) представляет собой электропроводящий слой.
13. Способ по п.12, отличающийся тем, что электрический функциональный слой содержит проводящие наночастицы, в частности, частицы металла, технического углерода или графита.
14. Способ по п.13, отличающийся тем, что электрический функциональный слой состоит из проводящих наночастиц и связующего.
15. Способ по п.13 или 14, отличающийся тем, что электрический функциональный слой при нанесении на пленку-основу сжимают, посредством чего повышают электрическую проводимость этого функционального слоя.
16. Способ по п.12, отличающийся тем, что электрический функциональный слой содержит проводящие полимеры.
17. Способ по п.12, отличающийся тем, что электрический функциональный слой содержит неорганические вещества, например ITO-материал.
18. Способ по п.12, отличающийся тем, что электрический функциональный слой представляет собой металлический слой или слой из металлического сплава.
19. Способ по любому из пп.1 или 2, отличающийся тем, что электрический функциональный слой представляет собой электрически полупроводящий слой, содержащий, в частности, полупроводящие полимеры.
20. Способ по любому из пп.1 или 2, отличающийся тем, что клеевой слой состоит из электрически непроводящего клея.
21. Способ по любому из пп.1 или 2, отличающийся тем, что клеевой слой состоит из электропроводящего клея.
22. Пленка (55, 66, 69, 99), изготовленная согласно способу по любому из пп.1-21 с, по меньшей мере, одним электрическим конструктивным элементом, в частности, по технологии органических полупроводников, отличающаяся тем, что пленка (55, 66, 69, 99) имеет клеевой слой (57, 93, 96) из отверждаемого излучением клея, при этом клеевой слой (57, 93, 96) расположен между узорчато структурированным электрическим функциональным слоем (47, 94, 97) электрического конструктивного элемента и пленкой-основой (51, 90) упомянутой пленки и соединяет узорчато структурированный электрический функциональный слой (47, 94, 97) с пленкой-основой (51, 90).
23. Пленка по п.22, отличающаяся тем, что клеевой слой (57) из отверждаемого излучением клея узорчато структурирован таким же образом, как и узорчато структурированный электрический функциональный слой (47).
24. Пленка по п.22 или 23, отличающаяся тем, что электрический функциональный слой (94, 97) представляет собой микроструктурированный электродный слой, образующий один или более электродов электрического конструктивного элемента.
25. Пленка по п.22 или 23, отличающаяся тем, что электрический функциональный слой представляет собой микроструктурированный полупроводниковый слой, образующий один или более полупроводящих компонентов электрического конструктивного элемента.
26. Пленка (99) по п.22 или 23, отличающаяся тем, что электрический конструктивный элемент представляет собой органический полевой транзистор.
27. Пленка (99) по п.24, отличающаяся тем, что электрический конструктивный элемент представляет собой органический полевой транзистор.
28. Пленка (99) по п.25, отличающаяся тем, что электрический конструктивный элемент представляет собой органический полевой транзистор.
29. Способ изготовления пленки с, по меньшей мере, одним электрическим конструктивным элементом, в частности, по технологии органических полупроводников, отличающийся тем, что на пленку-основу наносят слой отверждаемого излучением смываемого лака в узорчато структурированном виде, узорчато структурированный слой смываемого лака облучают, в результате чего слой смываемого лака отверждается, и на слой смываемого лака наносят электрический функциональный слой, при этом в процессе промывки узорчато структурированный слой смываемого лака с лежащим над ним участком электрического функционального слоя удаляют, в результате чего электрический функциональный слой остается на основе на том узорчато структурированном участке, на который не был нанесен слой смываемого лака.
30. Способ по п.29, отличающийся тем, что смываемый лак представляет собой отверждаемый ультрафиолетом смываемый лак с кислотными группами, и в процессе промывки смываемый лак растворяют посредством щелочи.
РИСУНКИ
|
|