|
|
(21), (22) Заявка: 2007123765/28, 26.06.2007
(24) Дата начала отсчета срока действия патента:
26.06.2007
(46) Опубликовано: 10.02.2009
(56) Список документов, цитированных в отчете о поиске:
RU 2300825 C1, 10.06.2007. US 7049593 B2, 23.05.2006. US 7078694 В2, 18.07.2006. US 6828809 B1, 07.12.2004. US 6812464 B1, 02.11.2004.
Адрес для переписки:
125009, Москва, а/я 184, ППФ “ЮС”, пат.пов. С.М.Кочемазову
|
(72) Автор(ы):
Гольцман Григорий Наумович (RU), Чулкова Галина Меркурьевна (RU), Корнеев Александр Александрович (RU), Дивочий Александр Валерьевич (RU)
(73) Патентообладатель(и):
Закрытое акционерное общество “Сверхпроводниковые нанотехнологии” (ЗАО “СКОНТЕЛ”) (RU)
|
(54) СВЕРХПРОВОДНИКОВЫЙ ФОТОННЫЙ ДЕТЕКТОР ВИДИМОГО И ИНФРАКРАСНОГО ДИАПАЗОНОВ ИЗЛУЧЕНИЯ, РАЗЛИЧАЮЩИЙ ЧИСЛО ФОТОНОВ
(57) Реферат:
Изобретение относится к устройствам для регистрации излучения видимого и инфракрасного диапазонов излучения в режиме счета отдельных фотонов. Сущность изобретения: сверхпроводниковый фотонный детектор видимого и инфракрасного диапазонов излучения, различающий число фотонов, содержит быстродействующий сверхпроводниковый однофотонный детектор, в котором на подложке размещены контактные площадки, а между контактными площадками, по крайней мере, две одинаковые полоски, выполненные из пленки сверхпроводника определенной толщины и ширины. Концы полосок подсоединены к контактным площадкам так, что полоски соединены параллельно, при этом каждая полоска соединена с одной из контактных площадок через соответствующий полосковый резистор. Резисторы для всех полосок выполнены одинаковыми, а сопротивление резисторов составляет 0,5÷500 Ом, в зависимости от кинетической индуктивности сверхпроводящих полосок оно подобрано так, чтобы переключение в резистивное состояние одной из полосок не приводило к переключению в резистивное состояние остальных полосок, т.е. чтобы величина тока в этих полосках не превышала величину критического тока. Быстродействующий сверхпроводниковый однофотонный детектор подключен к источнику постоянного тока и высокочастотному тракту съема сигнала через адаптер смещения, высокочастотный выход адаптера смещения подключен через первый коаксиальный кабель к СВЧ-усилителям и далее через второй коаксиальный кабель ко входу амплитудного анализатора, регистрирующего число фотонов, падающих на быстродействующий сверхпроводниковый однофотонный детектор. Изобретение обеспечивает возможность регистрации числа фотонов, одновременно упавших на детектор, при одновременном повышении быстродействия детектора. 5 з.п. ф-лы, 2 ил.
Область техники
Изобретение относится к устройствам для регистрации излучения видимого и инфракрасного диапазонов излучения в режиме счета отдельных фотонов и может быть использовано в системах оптической волоконной связи на больших расстояниях, телекоммуникационных технологиях, в системах защиты передаваемой информации с помощью систем квантовой криптографии, диагностике и тестировании больших интегральных схем (БИС) в электронике, в спектроскопии одиночных молекул, анализе излучения квантовых точек в полупроводниковых наноструктурах, астрономии, медицине.
Уровень техники
Из известных технических решений, близких по технической сущности к заявляемому объекту, является сверхпроводниковый однофотонный детектор видимого и инфракрасного диапазонов излучения на основе узкой полоски из тонкой сверхпроводящей пленки, находящейся при температуре существенно ниже критической и несущей транспортный ток, близкий к критическому (US 7049593, H01L 39/00, 10.03.2005). Принцип действия детектора основан на возникновении резистивной области в месте поглощения фотона и, как следствие, возникновении напряжения на контактах детектора. В другой реализации для улучшения согласования с падающим излучением полоска имеет форму меандра, покрывающего квадратную площадку со стороной в несколько микрон. Известны также различные методы повышения чувствительности детектора, а именно:
1) добавление светоотражающего зеркала поверх меандра и нанесение антиотражающего покрытия на другую сторону прозрачной подложки (US 6812464, Н01L 39/00, 02.11.2004); при этом следует отметить, что устройство становится частотно-селективным, обеспечивая максимальную чувствительность только на одной определенной длине волны;
2) метод повышения квантовой эффективности, пригодный для случая использования детектора для бесконтактного метода тестирования больших интегральных схем (US 6828809 B1, G01R 31/302, 07.11.2004).
Известен также метод пространственного и временного детектирования одиночных фотонов, основанный на использовании смещаемой постоянным током сверхпроводниковой линии передачи в форме меандра, подключенной к регистрирующей схеме, считывание данных с которой осуществляется при помощи компьютера (US 7078694 В2, Н01L 27/18, 29.01.2006).
Недостатками известных устройств являются
– низкое быстродействие, обусловленное большой величиной кинетической индуктивности длинной и узкой сверхпроводящей полоски;
– невозможность различения числа фотонов, одновременно упавших на детектор, поскольку амплитуда и длительность импульса напряжения фотоотклика у указанных устройств не зависят от числа фотонов.
Раскрытие изобретения
Задача, на решение которой направлено настоящее изобретение, заключается в разработке и создании быстродействующего сверхпроводникового однофотонного детектора, обладающего улучшенными параметрами.
Технический результат заключается в обеспечении возможности регистрации числа фотонов, одновременно упавших на детектор, при одновременном повышении быстродействия детектора.
Технический результат достигается тем, что в известном сверхпроводниковом фотонном детекторе видимого и инфракрасного диапазонов излучения, различающем число фотонов, быстродействующий сверхпроводниковый однофотонный детектор подключен к источнику постоянного тока и высокочастотному тракту съема сигнала через адаптер смещения, высокочастотный выход адаптера смещения подключен через первый коаксиальный кабель к СВЧ-усилителям, и далее через второй коаксиальный кабель ко входу амплитудного анализатора, регистрирующего число фотонов, падающих на быстродействующий сверхпроводниковый однофотонный детектор, при этом в быстродействующем сверхпроводниковом однофотонном детекторе на подложке размещены контактные площадки, а между контактными площадками, по крайней мере, две одинаковые полоски, выполненные из пленки сверхпроводника, толщина которой порядка длины когерентности падающего излучения, а ширина – меньше глубины проникновения магнитного поля, концы полосок подсоединены к контактным площадкам так, что полоски соединены параллельно, при этом каждая полоска соединена с одной из контактных площадок через соответствующий полосковый резистор, резисторы для всех полосок выполнены одинаковыми, а сопротивление резисторов составляет 0,5÷500 Ом, в зависимости от кинетической индуктивности сверхпроводящих полосок оно подбирается так, чтобы переключение в резистивное состояние одной из полосок не приводило к переключению в резистивное состояние остальных полосок, т.е., чтобы величина тока в этих полосках не превышала величину критического тока.
Возможны дополнительные варианты выполнения устройства, в которых целесообразно, чтобы:
– полоски были выполнены в форме меандра, прямолинейными, или другой удобной формы;
– габариты полосок были вписаны в квадрат со стороной 10 мкм;
– ширина полосок выбрана в диапазоне 60÷150 нм, при этом величины зазоров между полосками выполнены в диапазоне 60÷150 нм;
– для случая, когда полоски имеют форму меандра, полоски выполнены с фактором заполнения k более 0,5, определяемым по формуле
k-a/b,
где а – ширина полосок меандра,
b – период меандра;
– резисторы выполнены в виде прямоугольников из пленки золота толщиной 30÷50 нм, рабочей площадью от 0,3×1,5 мкм2 до 0,5×20 мкм2.
Перечень фигур чертежей
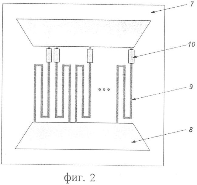
Настоящее изобретение поясняется чертежами, где на фиг.1 представлена блок-схема фотонного детектора, различающего число фотонов, а на фиг.2 – схематично представлен используемый быстродействующий сверхпроводниковый однофотонный детектор.
Осуществление изобретения
Быстродействующий сверхпроводниковый однофотонный детектор 1 подключается к источнику постоянного тока 2 и высокочастотному тракту съема сигнала через адаптер смещения 3. Высокочастотный выход адаптера смещения 3 подключается через коаксиальный кабель 4 к СВЧ-усилителям 5 и далее через второй коаксиальный кабель 4 ко входу амплитудного анализатора 6, регистрирующего число фотонов, падающих на быстродействующий сверхпроводниковый однофотонный детектор. Наличие амплитудного анализатора в блок схеме детектора позволяет анализировать амплитуду импульса фотоотклика детектора и тем самым регистрировать число падающих фотонов.
Устройство быстродействующего однофотонного детектора 1 представлено на фиг.2. На подложке 7 расположены контактные площадки 8, соединенные с несколькими одинаковыми сверхпроводящими полосками 9, подключенными параллельно. Последовательно с каждой полоской 9 подключается полосковый резистор 10. При этом полоски, выполненные из пленки сверхпроводника, имеют толщину порядка длины когерентности, а ширину – меньше глубины проникновения магнитного поля. Резисторы для всех полосок выполнены одинаковыми, а сопротивление резисторов составляет 0.5-500 Ом, в зависимости от кинетической индуктивности сверхпроводящих полосок оно подбирается так, чтобы переключение в резистивное состояние одной из полосок не приводило к переключению в резистивное состояние остальных полосок, т.е., чтобы величина тока в этих полосках не превышала величину критического тока. Полоски имеют форму меандра и исполнены с фактором заполнения k более 0,5, определяемым по формуле
k-a/b,
где а – ширина полосок меандра,
b – период меандра.
Ширина полосок выбрана порядка 100 нм, при этом величина зазоров между полосками составляет также порядка 100 нм.
Работает сверхпроводниковый фотонный детектор (фиг.1 и 2) следующим образом.
В рабочем режиме детектор имеет температуру ниже температуры сверхпроводящего перехода (например, температура жидкого гелия). Через полоски 9 пропускается транспортный ток, близкий к критическому. При поглощении сверхпроводником фотона происходит разрушение куперовской пары и образуется электрон, обладающий энергией, близкой к энергии фотона. Посредством электрон-электронного и электрон-фотонного взаимодействий этот электрон релаксирует по энергии, разрушая куперовские пары и приводя к каскадному размножению квазичастиц. В результате, сверхпроводимость на короткое время подавляется в малой по сравнению с шириной части одной из полосок 9 и образуется «горячее пятно». В этой области появляется сопротивление, величина которого соответствует сопротивлению пленки, из которой выполнены полоски 9, в нормальном состоянии. Если в это время через полоску 9 пропущен ток, близкий к критическому, то происходит его перераспределение по оставшейся в сверхпроводящем состоянии части пленки. Величина плотности тока в сверхпроводящей области начинает превышать критическую, и все сечение этой полоски переходит в нормальное состояние. Поскольку сопротивление этой полоски вместе с ее полосковым резистором становится больше, чем у остальных полосок, ток начинает перераспределяться между полосками: в полоске, поглотившей фотон, ток падает, а в остальных полосках растет. Благодаря наличию кинетической индуктивности полосок 9, а также благодаря полосковым резисторам 10, возникшее дополнительное сопротивление полоски, поглотившей фотон, не шунтируется остальными полосками, что приводит к увеличению напряжения на контактах 8. Этот скачок напряжения свидетельствует о регистрации фотона. Величина полосковых резисторов подбирается таким образом, чтобы при перераспределении между полосками 9 ток в этих полосках не достигал критического. Импульс напряжения, возникающий в момент поглощения фотона, поступает в схему регистрации.
Так же, как в ближайшем аналоге, для получения высокой чувствительности в видимом и инфракрасном диапазонах волн чувствительный элемент представляет собой полоску 9 из тонкой пленки сверхпроводника, изогнутую в форме меандра и заполняющую прямоугольную площадку. Толщина пленки полоски 9 выполнена порядка длины когерентности, а ширина полоски – меньше глубины проникновения магнитного поля. Можно было бы достичь увеличения быстродействия детектора, уменьшая длину полоски 9, однако при этом резко ухудшается чувствительность детектора, т.к. не заполняется приемная площадка детектора. Для увеличения быстродействия детектора чувствительный элемент, представляющий собой сверхпроводящую полоску, разбивается на несколько полосок меньшей длины, соединенных параллельно. Каждая из полосок имеет кинетическую индуктивность, меньшую, чем кинетическая индуктивность исходной длинной полоски. Пленка, из которой состоят полоски 9, находится при температуре ниже критической, и по ней протекает электрический ток, близкий к критическому.
Для увеличения быстродействия размеры полосок 9 могут быть выбраны с величиной кинетической индуктивности в 50 раз меньше кинетической индуктивности исходной полоски, что обеспечивается наименьшей длиной полосок 9, равной расстоянию между контактными площадками 8, в случае выполнения полосок 9 прямолинейными. Введение дополнительных полосковых резисторов 10 позволяет исключить переключение в нормальное состояние других сверхпроводящих полосок 9 при переключении в нормальное состояние одной из полосок 9, в которой поглотился фотон, и приводит к увеличению быстродействия.
Сверхпроводящие полоски 9 могут быть изготовлены из пленки NbN толщиной 4 нм, нанесенной на подложку 7 из сапфира. Основной чувствительный элемент – полоски 9 выполняются шириной 60÷150 нм, в виде меандра с расстоянием между полосками внутри меандра, также в диапазоне 60÷150 нм, и заполняющим квадрат со стороной 10 мкм. Контактные площадки 8 изготавливаются из NbN и покрываются золотом для улучшения электрического контакта.
Детектор работает при температурах ниже 10 К (приблизительная температура сверхпроводящего перехода для тонких пленок NbN), например 4,2 К. При указанных размерах полосок 9 величина критического тока IC для каждой из полосок с составляет около 15 мкА при температуре 4,2 К. Величина транспортного тока составляет 0,8÷0,9 от IC. Как и в ближайшем аналоге, устройство подключается к источнику постоянного тока и СВЧ-тракту через адаптер смещения. СВЧ-тракт в заявленном изобретении представляет собой коаксиальный кабель и цепочку СВЧ-усилителей. После усиления импульсы напряжения, возникающие на детекторе при поглощении фотонов, поступают на регистрирующую аппаратуру, в качестве которой использован амплитудный анализатор, который позволяет анализировать амплитуду импульса фотоотклика детектора и определять число фотонов.
Разбиение сверхпроводящей полоски на параллельно включенные секции меньшей длины с полосковыми резисторами позволило повысить быстродействие в 50 раз, без потери чувствительности детектора. Заявленный сверхпроводниковый фотонный детектор промышленно применим для регистрации количества отдельных фотонов видимого и инфракрасного диапазонов в системах оптической волоконной связи, телекоммуникационных технологиях, в системах защиты передаваемой информации с помощью систем квантовой криптографии, в электронике для диагностики и тестирования больших интегральных схем (БИС), в спектроскопии одиночных молекул, анализе излучения квантовых точек в полупроводниковых наноструктурах, астрономии и медицине.
Принцип действия быстродействующего сверхпроводникового детектора заключается в следующем. При поглощении одного фотона быстродействующим сверхпроводниковым детектором с полосковыми резисторами только одна полоска сверхпроводника переходит в резистивное состояние, что приводит к импульсному увеличению напряжения на контактах 8 на величину U. Благодаря наличию кинетической индуктивности полосок 9, а также благодаря полосковым резисторам 10 остальные полоски детектора остаются в рабочем сверхпроводящем состоянии. Резистивное состояние в полоске существует в течение времени порядка 100 пс. Поглощение второго фотона какой-либо другой полоской за это время вызовет переход этой полоски в резистивное состояние, что приведет к увеличению напряжения на контактах 8, напряжение будет больше U. В общем случае, при использовании детектора, состоящего из N сверхпроводниковых полосок, и поглощении различными полосками детектора в течение времени менее 100 пс k фотонов, на контактах 8 в случае идентичности сверхпроводниковых полосок возникает напряжение, однозначно связанное с числом поглощенных фотонов. Таким образом, использование амплитудного анализатора в качестве регистрирующего устройства позволяет определять амплитуду импульса фотоотклика и тем самым однозначно определять число одновременно поглощенных фотонов.
Формула изобретения
1. Сверхпроводниковый фотонный детектор видимого и инфракрасного диапазонов излучения, различающий число фотонов, содержащий быстродействующий сверхпроводниковый однофотонный детектор, в котором на подложке размещены контактные площадки, а между контактными площадками, по крайней мере, две одинаковые полоски, выполненные из пленки сверхпроводника, толщина которой порядка длины когерентности, а ширина – меньше глубины проникновения магнитного поля, концы полосок подсоединены к контактным площадкам так, что полоски соединены параллельно, при этом каждая полоска соединена с одной из контактных площадок через соответствующий полосковый резистор, резисторы для всех полосок выполнены одинаковыми, а сопротивление резисторов составляет 0,5÷500 Ом, в зависимости от кинетической индуктивности сверхпроводящих полосок оно подобрано так, чтобы переключение в резистивное состояние одной из полосок не приводило к переключению в резистивное состояние остальных полосок, т.е. чтобы величина тока в этих полосках не превышала величину критического тока, быстродействующий сверхпроводниковый однофотонный детектор подключен к источнику постоянного тока и высокочастотному тракту съема сигнала через адаптер смещения, высокочастотный выход адаптера смещения подключен через первый коаксиальный кабель к СВЧ-усилителям, и далее через второй коаксиальный кабель – ко входу амплитудного анализатора, регистрирующего число фотонов, падающих на быстродействующий сверхпроводниковый однофотонный детектор.
2. Детектор по п.1, отличающийся тем, что полоски выполнены в форме меандра.
3. Детектор по п.1, отличающийся тем, что полоски выполнены прямолинейными.
4. Детектор по п.1, отличающийся тем, что габариты полосок вписаны в квадрат со стороной 10 мкм.
5. Детектор по п.1, отличающийся тем, что ширина полосок выбрана в диапазоне 60÷150 нм, при этом величины зазоров между полосками выполнены в диапазоне 60÷150 нм.
6. Детектор по п.2, отличающийся тем, что полоски выполнены с фактором заполнения k более 0,5, определяемым по формуле:
k-a/b,
где а – ширина полосок меандра;
b – период меандра.
РИСУНКИ
|
|