|
|
(21), (22) Заявка: 2007101077/28, 15.01.2007
(24) Дата начала отсчета срока действия патента:
15.01.2007
(30) Конвенционный приоритет:
17.01.2006 TW 095101714
(43) Дата публикации заявки: 20.07.2008
(46) Опубликовано: 10.02.2009
(56) Список документов, цитированных в отчете о поиске:
US 2005109393 A1, 26.05.2005. US 6459231 B1, 01.10.2002. US 4341607 A1, 27.07.1982. RU 2076405 C1, 27.03.1997.
Адрес для переписки:
107061, Москва, Преображенская площадь, д.6, Фирма патентных поверенных ООО “ИННОТЭК”, пат.пов. Т.А.Вахниной
|
(72) Автор(ы):
ВУ И-Лон (TW), ВУ Чиа-Тьень (TW), ВУ Чиа-Юнь (TW)
(73) Патентообладатель(и):
ВУ И-Лон (TW)
|
(54) СИСТЕМА ЭЛЕКТРОСНАБЖЕНИЯ, ИСПОЛЬЗУЮЩАЯ В КАЧЕСТВЕ ИСТОЧНИКА СОЛНЕЧНУЮ ЭНЕРГИЮ
(57) Реферат:
Система энергоснабжения, использующая в качестве источника солнечную энергию, включает в себя батарею солнечных элементов, устройство для подачи электролита, устройство для рециркуляции электролита, устройство для рециркуляции водорода, топливный элемент, нагревательное устройство и устройство для контролирования энергии. Выработка электрической энергии осуществляется в первую очередь активизацией устройства для подачи электролита, которое инжектирует электролит в батарею солнечных элементов. Электролит является смесью воды и фотокатализатора. Батарея солнечных элементов получает свет или теплоту для вырабатывания электрической энергии. Водяной пар и водородный газ вырабатываются и циркулируют через устройство для рециркуляции электролита и через устройство для рециркуляции водорода. Когда недоступными являются свет или вода, циркулирующий водород подается к топливному элементу для непрерывного вырабатывания электрической энергии, нагревательное устройство обеспечивает теплотой батарею солнечных элементов для непрерывного вырабатывания электрической энергии. Электрический ток, вырабатываемый батареей солнечных элементов и топливным элементом, регулируется с помощью устройства для контролирования энергии с целью обеспечения соответствия техническим условиям на выработку электрической энергии для ее окончательного использования. Изобретение обеспечивает круглосуточное энергоснабжение. 16 з.п. ф-лы, 6 ил.
ОБЛАСТЬ ТЕХНИКИ, К КОТОРОЙ ОТНОСИТСЯ ИЗОБРЕТЕНИЕ
Настоящее изобретение относится к системе энергоснабжения, использующей в качестве источника солнечную энергию, и в частности, к системе энергоснабжения, в которой используется теплота солнечной энергии для автоматического снабжения ею электролита таким образом, чтобы солнечная батарея могла бы вырабатывать электрическую энергию с помощью света или теплоты. Система имеет устройство для рециркуляции водорода, которая снабжает циркулирующим водородом топливный элемент для непрерывной выработки электрической энергии в том случае, когда являются недоступными свет и теплота, либо обеспечивает теплотой солнечную батарею посредством нагревания устройства для непрерывного вырабатывания электрической энергии.
ПРЕДПОСЫЛКИ ДЛЯ СОЗДАНИЯ ИЗОБРЕТЕНИЯ
Обычная система энергоснабжения, использующая в качестве источника солнечную энергию, включает в себя солнечную батарею, которая содержит фотоэлекрический модуль, образованный множеством фотоэлектрических элементов (в виде кремниевых кристаллов толщиной 0,3 мм) на стеклянной панели. Комплект фотоэлектрических элементов, соединенных последовательно и параллельно, определяет величины напряжения и силы электрического тока фотоэлектрического модуля. В том случае, если какая-либо одна точка последовательного или параллельного подключения имеет дефект, будет серьезно нарушаться работоспособность в полном объеме. Во время процесса изготовления легко повреждаются кристаллы, требующие осторожного обращения с ними. Более того, фотоэлектрический модуль почти не работает, когда температура поднимается до величины, превышающей по своему значению 90 – 100°С. Кристаллические фотоэлектрические элементы должны иметь поверхности, принимающие свет и лежащие в одной плоскости. В том случае, если участок ее затемняется или скрывается, вырабатывание энергии уменьшается или останавливается. Более того, требуется громадный размер фотоэлектрических элементов для фотоэлектрического модуля, предназначенного для выработки большого количества энергии. Имеется только одна поверхность для приема света, которая должна постоянно быть обращенной в сторону солнца для получения желаемого эффекта. В ночное время энергоснабжение основывается на запасе энергии, хранимой в аккумуляторной батарее, которая заряжается в дневное время от солнечной батареи. Количество аккумулированной энергии во многом зависит от погодных условий.
КРАТКОЕ СОДЕРЖАНИЕ ИЗОБРЕТЕНИЯ
Первичной целью настоящего изобретения является устранение недостатков обычной системы энергоснабжения, использующей в качестве источника солнечную энергию, посредством создания новой системы энергоснабжения, использующей в качестве источника солнечную энергию, которая для повышения практичности работает все время.
Созданная в соответствии с настоящим изобретением система энергоснабжения, использующая в качестве источника солнечную энергию, включает в себя батарею солнечных элементов, которая является усовершенствованным вариантом системы, ранее предложенной Заявителем (см. Опубликованную Заявку №2418056 на патент Соединенного Королевства Великобритании и Северной Ирландии). Фотокатализатор добавлен к электролиту, и предусмотрена прозрачная теплоизолирующая оболочка для хранения в ней подложки положительного электрода, подложки отрицательного электрода и электролита. Батарея солнечных элементов может получать свет или теплоту для увеличения выработки электрической энергии.
Согласно созданной в соответствии с настоящим изобретением системе энергоснабжения, использующей в качестве источника солнечную энергию, батарея солнечных элементов может вырабатывать электроэнергию круглосуточно до тех пор, пока доступными являются свет или теплота. Она имеет прочную и простую конструкцию, и она не подвергается влиянию частичного затемнения. Она имеет множество поверхностей для получения света, и выработка электрической энергии дополнительно усиливается при высокой температуре, достигающей величины, находящейся в пределах от 90 до 100°С или превышающей этот диапазон. В ней устранены недостатки обычного фотоэлектрического модуля. Она может также подключаться к устройству для подачи электролита, к устройству для рециркуляции электролита, к устройству для рециркуляции водорода, к топливному элементу, к нагревателю и к устройству для регулирования энергии для того, чтобы получать всестороннюю систему энергоснабжения, использующую в качестве источника солнечную энергию.
Вышеизложенные так же, как и дополнительные цели, признаки и преимущества настоящего изобретении станут более очевидными из следующего подробного описания, которое составлено со ссылками на сопроводительные чертежи.
КРАТКОЕ ОПИСАНИЕ СОПРОВОДИТЕЛЬНЫХ ЧЕРТЕЖЕЙ
На фиг.1 изображен общий вид системы энергоснабжения, использующей в качестве источника солнечную энергию, созданной в соответствии с настоящим изобретением для выработки электрической энергии при условии отсутствия света или теплоты.
На фиг.2 показан общий вид системы энергоснабжения, использующей в качестве источника солнечную энергию, созданной в соответствии с настоящим изобретением для выработки электрической энергии при условии получения солнечного света или теплоты.
На фиг.3 изображен общий вид системы энергоснабжения, использующей в качестве источника солнечную энергию, созданной в соответствии с настоящим изобретением для выработки электрической энергии при условии получения теплоты, вырабатываемой с помощью хранимого водородного газа.
На фиг.4 показан общий вид системы энергоснабжения, использующей в качестве источника солнечную энергию, созданной в соответствии с настоящим изобретением для выработки электрической энергии при условии использования топливного элемента посредством применения хранимого водородного газа.
На фиг.5 изображен схематический вид варианта воплощения батареи солнечных элементов, созданной в соответствии с настоящим изобретением.
На фиг.6 показан схематический вид другого варианта воплощения батареи солнечных элементов, созданной в соответствии с настоящим изобретением.
ПОДРОБНОЕ ОПИСАНИЕ ВАРИАНТОВ НАСТОЯЩЕГО ИЗОБРЕТЕНИЯ
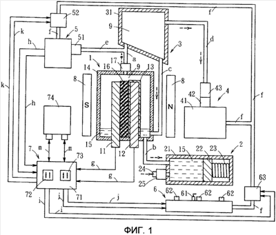
Обратив внимание на фиг.1, можно видеть, что созданная в соответствии с настоящим изобретением система энергоснабжения, использующая в качестве источника солнечную энергию, включает в себя батарею 1 солнечных элементов, устройство 2 для подачи электролита, устройство 3 для рециркуляции электролита, устройство 4 для рециркуляции водорода, топливный элемент 5, нагревательное устройство 6 и устройство 7 для контролирования энергии.
Батарея 1 солнечных элементов включает в себя подложку 11 положительного электрода, которая имеет проводник, имеющий низкий потенциал и стойкость против окисления или такой же проводник, но способный активировать или ионизировать воду, подложку 12 отрицательного электрода, которая является проводником с высоким потенциалом, покрытие 13, которое является пористым или осмотическим слоем, покрывающим подложку 12 отрицательного электрода, электролит 15 является смесью, состоящей из воды или кислоты со слабой концентрацией, фотокатализатора, не светового катализатора, изоляционная оболочка 14, которая представляет собой контейнер, изготовленный из прозрачного и теплостойкого материала для приема света и теплоты с множества сторон и для охвата подложки 11 положительного электрода, подложки 12 отрицательного электрода и электролита 15, а также имеет, по крайней мере, одно отверстие для соединения, водоабсорбент 16 для поглощения электролита 15, предохранительный клапан 17 и постоянный магнит 8. Когда давление водородного газа и водяного пара 9 внутри изоляционной оболочки 14 по своей величине превышает значение предварительно установленного давления, предохранительный клапан 17 автоматически открывается для выпуска давления в атмосферу. Постоянный магнит 8 создает магнитное поле для активизирования или ионизации воды.
Батарея 1 солнечных элементов генерирует ионы из воды или кислоты со слабой концентрацией с помощью фотокатализатора или не светового катализатора, которые служат в качестве среды для передачи электричества в батарее и становятся источником энергоснабжения посредством использования разности потенциалов между подложкой 11 положительного электрода и подложкой 12 отрицательного электрода. Во время выработки электрической энергии создается водяной пар 9. Часть воды также может подвергаться электролизу для выработки водородного и кислородного газов.
Фотокатализатор может активизировать или ионизировать воду в электролите 15, когда в наличии имеется свет, и может усиливать активизирование или ионизацию воды в том случае, когда применяется теплота. Он включает в себя, по крайней мере, окислы TiO2, ZnO, SnO2, ZrO2 или серные соединения кадмия CdS или цинка ZnS, сформированные в нанометрическом масштабе. Фотокатализатор также может активизировать или ионизировать воду в электролите 15, когда не являются доступными свет или теплота. Он включает в себя, по крайней мере, инфракрасную нанокерамику, миллимикроанионовый материал, миллимикроуглерод, миллимикроуглеродные трубки, миллимикроионы серебра, миллимикроионы золота, активированный уголь, кислотный корень и т.п. Подложка 11 положительного электрода может быть проводником, способным излучать электромагнитные волны, или компаундом, образованным смесью материла не светового катализатора (за исключением кислотного основания) с проводящими частицами или волокнами согласно приемлемому соотношению. В том случае, когда водопоглощающий проводник (такой как активированный уголь или его волокна), способный активизировать или ионизировать воду, используется в качестве подложки 11 положительного электрода, он может заменять абсорбент 16.
Величина напряжения и разность потенциалов между подложкой 11 положительного электрода и подложка 12 отрицательного электрода являются прямо пропорциональными, но имеется обратная пропорциональность по отношению расстояния между двумя подложками. Следовательно, подложку 11 положительного электрода предпочтительно необходимо изготавливать из проводника с малым потенциалом и со стойкостью против окисления. Подложку 12 отрицательного электрода предпочтительно необходимо изготавливать из проводника с высоким потенциалом (выполненным из алюминия, цинка, сплавов алюминия и цинка, из сплавов алюминия, цинка и лития, из сплавов алюминия, цинка и магния, из сплавов алюминия и лития, из сплавов алюминия цинка и магния, из сплавов алюминия, цинка, лития и магния, из сплавов цинка и лития, из сплавов цинка и магния, или сплавов цинка, лития и магния). Покрытие 13 является полимерной мембраной, или мембраной для протонного обмена, или конверсионным покрытием и т.п.
Устройство 2 для подачи электролита включает в себя цилиндр 21, поршень 22, исполнительный механизм 23, инжекционное отверстие 24 и первый контрольный клапан 25. Исполнительный механизм 23 выполнен из сплава с эффектом запоминания формы или из биметалла, а также имеет расширяющуюся форму под воздействием теплоты. Электролит 15 впрыскивается через инжекционное отверстие 24. Исполнительный механизм 23 расширяется под воздействием теплоты для того, чтобы толкать поршень 22 для подачи электролита 15 из цилиндра 21 в изоляционную оболочку 14 через патрубок «b» (который сообщает устройство 2 для подачи электролита с батареей 1 солнечных элементов) для пополнения электролитом 15. С другой стороны, когда теплота отсутствует, исполнительный механизм 23 задвигается, и поршень 22 вытягивает электролит 15 из оболочки 14 в цилиндр 21 через патрубок «b».
Устройство 3 для рециркуляции электролита включает в себя охладитель 31 и первый патрубок «с» для рециркуляции.
Устройство 4 для рециркуляции водорода включает в себя контейнер 41, второй контрольный клапан 42 и фильтр 43. Фильтр 43 фильтрует загрязнения, отделяя их от водородного газа таким образом, что допускает сквозной пропуск только водородного газа.
Топливный элемент 5 имеет третий контрольный клапан 51, первый клапан 52 с электромагнитным управлением и второй патрубок «е» для рециркуляции.
Нагревательное устройство 6 включает в себя автоматический воспламенитель 61, газовое сопло 62 и второй клапан 63 с электромагнитным управлением.
Устройство 7 для контролирования энергии включает в себя контроллер 71, разъем 72 для постоянного тока, разъем 73 для переменного тока и аккумуляторную батарею 74. Контроллер 71 предназначен для подзарядки аккумуляторной батареи 74 электрическим током, вырабатываемым батареей 1 солнечных элементов и топливным элементом 5 и подаваемым по цепи «m». Аккумуляторная батарея 74 также подает хранимую электрическую энергию через цепь «m» к контроллеру 71 для подачи переменного и постоянного токов соответственно к разъему 73 для переменного тока и к разъему 72 постоянного тока, а также контролирует подключение/отключение энергии от первого клапана 52 с электромагнитным управлением, автоматического воспламенителя 61 и второго клапана 63 с электромагнитным управлением через электрические цепи «k», «j» и «i», Первый, второй и третий контрольные клапаны 25, 42 и 51 принудительно направляют поток в соответствии с установленным направлением (таким, как то, которое показано стрелками на чертеже, изображенном на фиг.4) без направления потока в обратную сторону.
Обратив внимание на фиг.1, можно видеть, что здесь проиллюстрирован процесс выработки электрической энергии в системе энергоснабжения, использующей в качестве источника солнечную энергию, разработанной в соответствии с настоящим изобретением и работающей при условии отсутствия света или теплоты.
Исполнительный механизм 23 является втянутым, абсорбент 16 поглощает электролит 15, постоянный магнит 8 и не световой катализатор в электролите 15 активизируют или ионизируют воду в электролите 15 для того, чтобы стали вырабатываться ионы. Разность потенциалов возникает между подложкой 11 положительного электрода и подложкой 12 отрицательного электрода, электрический ток подается к контроллеру 71 через электрическую цепь «d» для подзарядки аккумуляторной батареи 74 через электрическую цепь m». Тем временем вырабатываются водородный газ и водяной пар 9, и они направляются к охладителю 31 через патрубок «а» (который сообщает устройство 3 для рециркуляции электролита с батареей 1 солнечных элементов). Водяной пар охлаждается и конденсируется, превращаясь в водяную жидкость для того, чтобы направлять ее в изоляционную оболочку 14 через первый патрубок «с» для рециркуляции. Водородный газ направляется в контейнер 41 через патрубок «d» (который сообщает устройство для рециркуляции водорода с устройством 3 для рециркуляции электролита).
На фиг.2 можно увидеть иллюстрацию процесса выработки электрической энергии в системе энергоснабжения, использующей в качестве источника солнечную энергию, разработанной в соответствии с настоящим изобретением и работающей при условии получения света или теплоты.
Исполнительный механизм 23 расширяется под действием теплоты для того, чтобы толкать поршень 22, и электролит 15 подается в изоляционную оболочку 14 (т.е. в батарею 1 солнечных элементов) из цилиндра 21 через патрубок «b». Постоянный магнит 8, не световой катализатор и фотокатализатор в электролите 15 быстро активизируют или ионизируют воду в электролите 15 для того, чтобы стали вырабатываться ионы. Разность потенциалов возникает между подложкой 11 положительного электрода и подложкой 12 отрицательного электрода, электрический ток подается к контроллеру 71 через электрическую цепь «g», а для подзарядки аккумуляторной батареи 74 – через электрическую цепь «m». Тем временем вырабатываются водородный газ и водяной пар 9, и они посылаются к охладителю 31 через патрубок «а». Водяной пар охлаждается и конденсируется, превращаясь в водяную жидкость для того, чтобы направлять ее в изоляционную оболочку 14 через первый патрубок «с» для рециркуляции. Электролит 15 расширяется под воздействием теплоты и перетекает в охладитель 31 через патрубок «а», а затем посылается в изоляционную оболочку 14 через первый патрубок «с» для рециркуляции. Водородный газ направляется в контейнер 41 через патрубок «d».
На фиг.3 можно увидеть проиллюстрированный процесс выработки электрической энергии в системе энергоснабжения, использующей в качестве источника солнечную энергию, разработанной в соответствии с настоящим изобретением и работающей при условии наличия теплоты, полученной хранимым водородным газом, когда отсутствует свет или теплота.
Аккумуляторная батарея 74 подает аккумулированную электрическую энергию к контроллеру 71 через электрическую цепь «т». Контроллер 71 активизирует второй клапан 63 с электромагнитным управлением посредством цепи «i». Водородный газ подается из контейнера 41 к газовому соплу 62 через патрубок «f» (который сообщает устройство 4 для рециркуляции водорода с нагревательным устройством 6). Контроллер активизирует автоматический воспламенитель 61 через электрическую цепь «j» для воспламенения водородного газа с целью вырабатывания теплоты для батареи 1 солнечных элементов и устройства 2 для подачи электролита. Исполнительный механизм 23 расширяется под действием теплоты для того, чтобы толкать поршень 22, и электролит 15 подается в изоляционную оболочку 14 из цилиндра 21 через патрубок «b». Постоянный магнит 8, фотокатализатор и не световой катализатор в электролите 15 быстро активизируют или ионизируют воду в электролите 15 для того, чтобы стали вырабатываться ионы. Разность потенциалов возникает между подложкой 11 положительного электрода и подложкой 12 отрицательного электрода, электрический ток подается к контроллеру 71 через электрическую цепь «g». Тем временем вырабатываются водородный газ и водяной пар 9, и они направляются к охладителю 31 через патрубок «а». Водяной пар охлаждается и конденсируется, превращаясь в водяную жидкость для того, чтобы направлять ее в изоляционную оболочку 14 через первый патрубок «с» для рециркуляции. Электролит 15 расширяется под воздействием теплоты и перетекает в охладитель 31 через патрубок «а», а затем посылается в изоляционную оболочку 14 через первый патрубок «с» для рециркуляции. Водородный газ направляется в контейнер 41 через патрубок «а».
На фиг.4 проиллюстрирован процесс выработки электрической энергии в системе энергоснабжения, использующей в качестве источника солнечную энергию, разработанной в соответствии с настоящим изобретением и работающей с помощью топливного элемента посредством использования хранимого водородного газа при условии отсутствия получения света или теплоты.
Исполнительный механизм 23 и аккумуляторная батарея 74 подают хранимую электрическую энергию к контроллеру 71 через электрическую цепь «m». Контроллер 71 активизирует первый клапан 52 с электромагнитным управлением посредством цепи «k». Водородный газ подается из контейнера 41 к топливному элементу 5 через патрубок «f» (который сообщает топливный элемент 5 с устройством 4 для рециркуляции водорода). Топливный элемент 5 вырабатывает электрический ток, который подается к контроллеру 71 через цепь «h». Вода или вырабатываемый водяной пар подается в охладитель 31 через второй патрубок «е» для рециркуляции. После охлаждения вода посылается в изоляционную оболочку 14 через первый патрубок «с» для рециркуляции.
На фиг.5 дана иллюстрация варианта воплощения батареи солнечных элементов в соответствии с настоящим изобретением. При этом варианте воплощения батарея 1а солнечных элементов отличается от батареи 1 солнечных элементов, показанной на фиг.1, тем, что она имеет подложку 11а положительного электрода, служащую в качестве оболочки.
Батарея 1а солнечных элементов включает в себя подложку 11а положительного электрода, которая является проводником с низким потенциалом и с сопротивлением окислению или проводником с низким потенциалом, который имеет сопротивление против окисления, но может активизировать или ионизировать воду, подложку 12 отрицательного электрода, которая является проводником с высоким потенциалом, покрытие 13, которое является пористым или осмотическим слоем, покрывающим подложку 12 отрицательного электрода, оболочку, которая является также подложкой 11а положительного электрода, для схватывания подложки 12 отрицательного электрода и электролита 15 и имеет, по крайней мере, одно соединительное отверстие, изоляционный элемент 14b, расположенный на соединительной поверхности подложки 11а положительного электрода и подложки 12 отрицательного электрода для предотвращения короткого замыкания, электролит 15, который является смесью, состоящей из воды и кислоты со слабой концентрацией, фотокатализатора и не светового катализатора, предохранительный клапан 17, который автоматически открывается, когда давление водородного газа и водяного пара 9 в подложке 11а положительного электрода больше по своему значению, чем предварительно установленное давление для стравливания давления в атмосферу, и постоянный магнит 8 для создания магнитного поля с целью активизирования или ионизации воды.
На фиг.6 – иллюстрация другого варианта воплощения батареи солнечных элементов в соответствии с настоящим изобретением. Батарея 1b солнечных элементов при этом варианте воплощения отличается от батареи 1а солнечных элементов, показанной на фиг.5, тем, что добавлен абсорбент 16 между подложкой 11а положительного электрода и покрытием 13 подложки 12 отрицательного электрода, и подложка 11а положительного электрода покрыта токопроводящей оболочкой 14а для того, чтобы она служила в качестве оболочки.
Когда батарея 1 солнечных элементов получает свет или теплоту, усиливается выработка энергии. Однако батареи 1а и 1b солнечных элементов увеличивают выработку электрической энергии только в том случае, когда и имеется воздействие теплоты.
Покрытие 13 при вариантах воплощения, описанных выше, включает в себя добавку (в виде фотокатализатора, изготовленного в наномасштабе, или из не светового катализатора, изготовленного в наномасштабе) для усиления активизирования воды или повышения эффективности ионизации.
Таким образом, система энергоснабжения, использующая в качестве источника солнечную энергию, созданная в соответствии с настоящим изобретением, может вырабатывать электрическую энергию независимо от того, будет ли иметься в наличии или не будет иметься в наличии свет или теплота. Эта система энергоснабжения работает полное время. На практике она может собираться для образования различных комбинаций в соответствии с различными потребностями в размерах продукции, материальных затрат, утилизации и т.п. Принцип эксплуатации остается неизменным.
Формула изобретения
1. Система энергоснабжения, использующая в качестве источника солнечную энергию, содержащая, по крайней мере: батарею солнечных элементов;
устройство для подачи электролита, предназначенное для обеспечения электролитом;
устройство для рециркуляции электролита, которое включает в себя охладитель и первый патрубок для рециркуляции;
устройство для рециркуляции водорода, которое включает в себя контейнер, второй контрольный клапан и фильтр;
топливный элемент, который включает в себя третий контрольный клапан, первый клапан с электромагнитным управлением и второй патрубок для рециркуляции;
нагревательное устройство, которое включает в себя автоматический воспламенитель, аккумуляторную батарею, разъем для постоянного тока и разъем для переменного тока; контроллер, заряжающий аккумуляторную батарею электрическим током, вырабатываемым батареей солнечных элементов и топливным элементом через электрическую цепь, аккумуляторную батарею, подающую хранимую электрическую энергию через электрическую цепь к контроллеру для подачи переменного и постоянного токов к разъему переменного тока и к разъему постоянного тока, при этом контроллер контролирует подключение/отключение энергии от первого и второго клапанов с электромагнитным управлением и автоматического воспламенителя посредством использования трех различных электрических цепей; и
по крайней мере, четыре комплекта патрубков, соответственно сообщающих устройство для подачи электролита и батарею солнечных элементов, устройство для рециркуляции электролита и батарею солнечных элементов, устройство для рециркуляции водорода и устройство для рециркуляции электролита, а также топливный элемент с устройством для рециркуляции водорода и с нагревательным устройством; при этом выработка электрической энергии осуществляется первой инжекцией электролита из устройства для подачи электролита в батарею солнечных элементов через патрубок, солнечная батарея получает или свет, или теплоту для выработки электрической энергии и образования водяного пара и водородного газа, водяной пар направляется в устройство для рециркуляции электролита через патрубок, охлаждаемый охладителем для того, чтобы пар превратился в водную жидкость, которая посылается в батарею солнечных элементов через первый патрубок для рециркуляции устройства для рециркуляции электролита с целью осуществления рециркуляции и повторного использования, водородный газ посылается к устройству для рециркуляции водорода через патрубок для осуществления этой рециркуляции; когда свет или теплота не являются доступными, подвергающийся рециркуляции водородный газ избирательно подается через патрубок или в топливный элемент, или в нагревательное устройство для выработки теплоты с целью осуществления нагревания батареи солнечных элементов для того, чтобы непрерывно вырабатывать электрическую энергию, электрический ток, вырабатываемый батареей солнечных элементов и топливным элементом, контролируется устройством для регулирования энергии для того, чтобы она соответствовала бы техническим условиям на выработку электрической энергии для окончательного его использования.
2. Система энергоснабжения, использующая в качестве источника солнечную энергию, по п.1, в которой, по крайней мере, батарея солнечных элементов содержит:
подложку положительного электрода, которая избирательно является проводником с низким потенциалом и стойкостью к окислению или проводником с низким потенциалом и стойкостью к окислению, но при этом она активизирует или ионизирует воду;
подложку отрицательного электрода, которая является проводником с высоким потенциалом;
покрытие, которое является пористым и покрывает подложку отрицательного электрода;
электролит, который является смесью, состоящей или из воды, или из кислоты со слабой концентрацией и из фотокатализатора, которая активизирует или ионизирует воду при получении света или теплоты; и изоляционную оболочку, которая является контейнером, изготовленным из прозрачного и теплостойкого материала для того, чтобы принимать свет и теплоту от множества сторон, и покрывает подложку положительного электрода, подложку отрицательного электрода и имеет, по крайней мере, одно соединительное отверстие;
при этом или вода, или кислота со слабой концентрацией в батарее солнечных элементов вырабатывает ионы с помощью фотокатализатора, которые служат средой для передачи электричества для создания разности потенциалов между подложкой положительного электрода и подложкой отрицательного электрода с целью получения источника для энергоснабжения.
3. Система энергоснабжения, использующая в качестве источника солнечную энергию, по п.1, в которой батарея солнечных элементов, по крайней мере, содержит:
подложку положительного электрода, которая избирательно является проводником с низким потенциалом и стойкостью к окислению или проводником с низким потенциалом и стойкостью к окислению, но при этом она активизирует или ионизирует воду;
подложку отрицательного электрода, которая является проводником с высоким потенциалом;
покрытие, которое является пористым и покрывает подложку отрицательного электрода;
электролит, который является смесью, состоящей или из воды, или из кислоты со слабой концентрацией и из фотокатализатора, которая активизирует или ионизирует воду при получении света или теплоты; при этом подложка положительного электрода служит в качестве оболочки для содержания в ней подложки отрицательного электрода и электролита, а также имеет, по крайней мере, одно соединительное отверстие, при этом между подложкой положительного электрода и подложкой отрицательного электрода находится соединительная поверхность, которая имеет изоляционный элемент, расположенный на ней для предотвращения образования цепи короткого замыкания;
при этом или вода, или кислота со слабой концентрацией в батарее солнечных элементов вырабатывает ионы с помощью фотокатализатора, которые служат средой для передачи электричества для создания разности потенциалов между подложкой положительного электрода и подложкой отрицательного электрода с целью получения источника для энергоснабжения.
4. Система энергоснабжения, использующая в качестве источника солнечную энергию, по п.2, в которой подложка положительного электрода является смесью, образованной из перемешанных частиц и волокон проводника с желаемым показателем, которая может излучать электромагнитные волны с помощью одного материала, выбранного из группы, состоящей, по крайней мере, из миллимикро-керамики, миллимикро-анионного материала, миллимикро-углерода, миллимикро-углеродных трубок, миллимикро-ионов серебра, миллимикро-ионов золота, и активированного угля и их смеси.
5. Система энергоснабжения, использующая в качестве источника солнечную энергию, по п.2, в которой подложка положительного электрода изготовлена либо из активированного угля, либо из волокон, выполненных из активированного угля, подложка отрицательного электрода выполнена из материала, выбранного из группы, состоящей из алюминия, цинка, сплавов алюминия и цинка, из сплавов алюминия, цинка и лития, из сплавов алюминия, цинка и магния, из сплавов алюминия и лития, из сплавов алюминия цинка и магния, из сплавов алюминия, цинка, лития и магния, из сплавов цинка и лития, из сплавов цинка и магния, или сплавов цинка, лития и магния.
6. Система энергоснабжения, использующая в качестве источника солнечную энергию, по п.2, в которой покрытие является осмотическим слоем.
7. Система энергоснабжения, использующая в качестве источника солнечную энергию, по п.2, в которой покрытие является мембраной для протонного обмена.
8. Система энергоснабжения, использующая в качестве источника солнечную энергию, по п.2, в которой фотокатализатор выбран из группы, состоящей, по крайней мере, из окислов TiO2, ZnO, SnO2, ZrO2 и серных соединений кадмия CdS и цинка ZnS, которые изготовлены в миллимикро-метрическом масштабе.
9. Система энергоснабжения, использующая в качестве источника солнечную энергию, по п.2, в которой батарея солнечных элементов включает в себя не световой катализатор, который активизирует или ионизирует воду в условиях, когда в наличии не имеется либо света, либо теплоты.
10. Система энергоснабжения, использующая в качестве источника солнечную энергию, по п.9, в которой не световой катализатор выбран из группы, содержащей, по крайней мере, инфракрасную миллимикро-керамику, миллимикро-анионовый материал, миллимикро-углерод, миллимикро-углеродные трубки, миллимикро-ионы серебра, миллимикро-ионы золота, активированный уголь и кислотный корень.
11. Система энергоснабжения, использующая в качестве источника солнечную энергию, по п.2, в которой батарея солнечных элементов имеет магнитное поле для активизирования или ионизации воды.
12. Система энергоснабжения, использующая в качестве источника солнечную энергию, по п.2, в которой батарея солнечных элементов имеет абсорбент, расположенный между подложкой положительного электрода и покрытием.
13. Система энергоснабжения, использующая в качестве источника солнечную энергию, по п.3, в которой батарея солнечных элементов имеет абсорбент, расположенный между подложкой положительного электрода и покрытием.
14. Система энергоснабжения, использующая в качестве источника солнечную энергию, по п.2, в которой покрытие изготовлено либо из полимеров, либо в виде конверсионного покрытия.
15. Система энергоснабжения, использующая в качестве источника солнечную энергию, по п.1, в которой устройство для подачи электролита включает в себя цилиндр, поршень, исполнительный механизм, инжекционное отверстие и первый контрольный клапан; исполнительный механизм выполнен из сплава с памятью формы или из биметалла, а также имеет расширяющуюся форму под воздействием теплоты; исполнительный механизм активизируется посредством воздействия теплоты для инжекции электролита через патрубок в батарею солнечных элементов из устройства для подачи электролита.
16. Система энергоснабжения, использующая в качестве источника солнечную энергию, по п.3, в которой батарея солнечных элементов дополнительно включает в себя электропроводящую оболочку, которая покрывает подложку положительного электрода.
17. Система энергоснабжения, использующая в качестве источника солнечную энергию, по п.2, в которой покрытие включает в себя добавку, изготовленную из группы, состоящей из фотокатализатора, изготовленного в миллимикро-масштабе, и из не светового катализатора, изготовленного в миллимикро-масштабе, для усиления активизирования воды или повышения эффективности ионизации.
РИСУНКИ
TK4A – Поправки к публикациям сведений об изобретениях в бюллетенях “Изобретения (заявки и патенты)” и “Изобретения. Полезные модели”
Напечатано: (73) ВУ И-Лон (TW)
Следует читать: (73) ВУ И-Лон (TW), ВУ Чиа-Тьень (TW), ВУ Чиа-Юнь (TW)
Номер и год публикации бюллетеня: 4-2009
Код раздела: FG4A
Извещение опубликовано: 10.05.2009 БИ: 13/2009
|
|