|
|
(21), (22) Заявка: 2007119424/28, 11.10.2005
(24) Дата начала отсчета срока действия патента:
11.10.2005
(30) Конвенционный приоритет:
27.10.2004 US 10/973,410
(46) Опубликовано: 10.02.2009
(56) Список документов, цитированных в отчете о поиске:
US 6177627 B1, 23.01.2001. US 6528718 B2, 04.03.2003. SU 1322034 A1, 07.07.1987.
(85) Дата перевода заявки PCT на национальную фазу:
28.05.2007
(86) Заявка PCT:
US 2005/036046 (11.10.2005)
(87) Публикация PCT:
WO 2006/049799 (11.05.2006)
Адрес для переписки:
191002, Санкт-Петербург, а/я 5, ООО “Ляпунов и партнеры”, пат.пов. Е.Г.Ильмеру, рег.№ 1144
|
(72) Автор(ы):
РЮЭЛЬ Венсан (BE), АБРАКЕН Серж (BE), КОЛЛЕТ Жан-Поль (BE)
(73) Патентообладатель(и):
ЮНИВЕРСИТЕ ДЕ ЛЬЕЖ (BE)
|
(54) СОЛНЕЧНЫЙ КОНЦЕНТРАТОР
(57) Реферат:
Предложен космический солнечный концентратор, основанный на использовании развертываемых отражателей. Каждый из отражателей включает в себя стороны с отражающим покрытием на поверхностях, обращенных в направлении от основания. В одном из вариантов исполнения стороны отражателя имеют более толстые участки для придания жесткости отражателю во время развертывания в отсутствие внешней силы и более тонкие участки для снижения веса и уменьшения потенциальной энергии сжатия энергии. В другом варианте обе отражающие стороны развернуты, когда отражатель находится в сложенном состоянии. Во время развертывания фиксирующая сторона ограничивает развертывание обеих отражающих сторон и обеспечивает точное отражающее положение. В дополнение, эти варианты реализации снижают уровень потенциальной энергии сжатия. 2 н. и 18 з.п. ф-лы, 14 ил.
[0001] Область техники
[0002] Настоящее изобретение относится к солнечному концентратору, в частности к космическому солнечному концентратору, используемому для формирования солнечной панели с рядами складных отражателей, чередующихся с рядами солнечных элементов.
[0003] Уровень техники
[0004] На космических летательных аппаратах (КЛА) в качестве первичного источника энергии используют, как правило, солнечные элементы, которые располагают и ориентируют таким образом, чтобы они воспринимали солнечное излучение.
[0005] На КЛА со стабилизацией корпуса в пространстве солнечные элементы расположены обычно в виде плоских матриц и размещены на солнечных крыльях, отходящих от противоположных сторон корпуса КЛА. Предпочтительно, чтобы солнечные крылья могли поворачиваться, чтобы поддерживать их в максимально возможной степени перпендикулярно к солнечному излучению. Поскольку солнечные крылья в развернутом положении имеют довольно большую протяженность, они формируются, как правило, из множества планарных солнечных панелей, которые соединены друг с другом либо “гармошкой” (одномерное развертывание), либо в виде “брусчатки” (двухмерное развертывание) с тем, чтобы обеспечить возможность их компактной укладки при запуске КЛА.
[0006] Количество солнечных элементов, установленных на КЛА, зависит от расчетной потребности КЛА в энергии и коэффициента полезного действия солнечных элементов. Использование солнечных элементов с высоким кпд позволяет уменьшить общее количество элементов, необходимых для данного конкретного КЛА, но они чрезвычайно дороги. Учитывая, что с увеличением количества солнечных элементов возрастает их вес и связанные с этим затраты, возникает большая заинтересованность в уменьшении количества элементов, подлежащих установке на КЛА.
[0007] Поэтому усилия исследователей были направлены на то, чтобы сконцентрировать солнечное излучение на солнечных элементах посредством применения отражающих поверхностей, которые расположены рядом с солнечными панелями и сориентированы таким образом, что отражают на эти элементы дополнительное излучение. Благодаря этому солнечное излучение, которое в противном случае проходило бы мимо солнечного крыла, меняет направление таким образом, что снова попадает на солнечные элементы. Несмотря на то, что эффективность действия солнечного элемента по преобразованию такого дополнительного отраженного излучения в полезную энергию, как правило, меньше, чем в случае прямо падающего излучения (в основном из-за повышения температуры элемента и острого угла падения), концентрация солнечной энергии позволяет значительно уменьшить количество устанавливаемых на КЛА солнечных элементов и соответственно добиться экономии в весе и стоимости КЛА. Для концентрации солнечного излучения предлагались как жесткие, так и гибкие отражатели, при этом преимуществом вторых является их меньший вес. Пример конструкции гибкого отражателя описан в патентах США №№6017002 и 6050526, а жесткого – в патенте США №5520747.
[0008] Хотя такие отражающие конструкции и обеспечивают концентрацию солнечного излучения, их размещение рядом с солнечной панелью вызывает ряд негативных явлений. Так происходит повышение температуры солнечного элемента и, следовательно, снижается эффективность преобразования энергии. Кроме того, ошибки наведения являются причиной недостаточно равномерного распределения потока по солнечной панели, а также усложняется управление энергетической системой, что ведет к уменьшению производимой электрической мощности панели.
[0009] В случае с развертываемыми отражателями положение этих отражателей и их развертывание хорошо сочетаются только с одномерной структурой панелей (“гармошкой”) и плохо – с их двухмерным расположением (в виде “брусчатки”).
[0010] Другой способ концентрации с помощью отражателей заключается в распределении небольших отражателей по солнечной панели. Отражатели поочередно укладывают между рядами солнечных элементов, что позволяет ослабить действие вышеупомянутых недостатков или полностью устранить их. Настоящее изобретение касается как раз такой конфигурации. Некоторые варианты осуществления, основанные на этом геометрическом принципе, описаны также в патентных документах США №6188012, 6177627, 6528716 и WO 00/79593 A1.
[0011] Конструкция, раскрытая в патентном документе США №6188012, относится только к развертываемому концентратору, в котором развертывание обеспечивается благодаря пружинам нескольких типов. После развертывания пружина используется для поддержания натяжения отражающей пленки. Основной недостаток такого устройства состоит в механической усталости, имеющей место после длительного пребывания в космосе (с тепловым циклом в течение каждого затмения). На КЛА, применяемых в области связи, панель солнечных батарей должна оставаться в полностью работоспособном состоянии в течение 15-летнего пребывания на геостационарной орбите. За сутки происходит по одному затмению. Таким образом, результатом нескольких тысяч ежедневных затмений будут несколько тысяч тепловых циклов. Если натяжение отражателя постепенно изменяется из-за ослабления пружины, то происходит ухудшение оптических характеристик и равномерности освещения. Имеет место резкое снижение действующего коэффициента концентрации с существенной потерей генерации энергии для КЛА. По этой причине после развертывания требуется применение специального фиксатора отражающих пленок, с тем, чтобы их подвижность больше не приводила к ослаблению натяжения. Кроме того, в рассматриваемом патентном документе предложены недостаточно обоснованные принципы развертывания и хранения. Действительно, в сложенном положении длина отражателей кажется меньшей, чем в развернутом. На реальном чертеже должно быть, несомненно, видно, что в сложенном положении отражающая пленка частично затеняет солнечные элементы. В случае сбоя при развертывании отражателя отражающие пленки затеняют солнечные элементы, так что соответствующая генерация энергии прекращается. Это еще один недостаток, который устраняется в соответствии с одним из признаков настоящего изобретения.
[0012] В Патентном документе США №6177627 предложено устройство со сжимаемым отражателем, содержащее гибкий лист и находящийся под ним распрямитель, прикрепленный к основанию. Гибкий лист выполняет функцию отражателя для отражения светового потока, а распрямитель поддерживает этот лист. Следовательно, требуется две различных детали.
[0013] В документе WO 00/79593 А1 предложена идея использования саморазвертывающихся отражателей. В сложенном положении они будут совершенно определенно затенять элементы. После развертывания не используется никакого фиксирующего механизма. В период хранения солнечные панели традиционным способом накладываются друг на друга с небольшими промежутками между ними. Это имеющееся пространство используется для сложенных отражателей, но поскольку в сложенном положении не имеется фиксирующих механизмов, отражатели панели i упираются в отражатели соседней панели (i+1).
[0014] Достоинства описанной конструкции довольно сомнительны, так как вибрация (например, в процессе транспортировки и запуска) способна привести к появлению царапин на отражающих пленках, результатом чего является ухудшение оптических характеристик, а впоследствии – снижение эффективности концентрации солнечного излучения с уменьшением генерации энергии.
[0015] В патентном документе США №6528716 предложены развертывающиеся солнечные концентраторы со складными отражателями.
Аналогично патентным документам США №№6188012 и 6177627 для правильного функционирования отражателя следует использовать отдельные распрямляющий и отражающий элементы. Сжимаемый отражатель также требует наличия по меньшей мере одной отражающей поверхности, которая должна быть согнута, когда концентратор сложен.
[0016] К тому же все вышеупомянутые документы описывают конструкции концентраторов, которые затрачивают достаточно большое количество энергии на развертывание.
Сущность изобретения
[0017] Согласно одному аспекту настоящего изобретения пилообразные (или клиновидные) отражатели выполнены саморазвертывающимися и в сложенном положении не перекрывают ряды солнечных элементов. Кроме того, отражатель содержит один элемент, который является развертываемым и отражающим одновременно, соответственно не требуется дополнительный распрямитель.
[0018] После развертывания отражатели собирают и концентрируют поток солнечного излучения на солнечных элементах. В соответствии с одним из предпочтительных вариантов осуществления, до развертывания, в сложенном состоянии, отражатели подогнуты к подложке панели. Согласно другому варианту настоящего изобретения развертываемый отражатель имеет две отражающие поверхности, не требующие сгибания в сложенном положении, что соответственно улучшает форму и рабочую эффективность концентраторов солнечных элементов.
[0019] Целью настоящего изобретения является создание солнечного концентратора, содержащего ряды солнечных элементов, чередующиеся с рядами складных отражателей, чтобы отражать энергию падающего потока на непосредственно примыкающие солнечные элементы и основание, на котором установлены отражатели и ряды солнечных элементов, в котором каждый ряд отражателей содержит лист, имеющий две противоположно направленные поверхности с отражающим покрытием, нанесенным только на одну поверхность, обращенную в направлении от основания. Лист имеет два параллельных края, прикрепленные к указанному основанию и отстоящие друг от друга, и первую и вторую стороны, каждая из которых соединена с одним из двух указанных краев. При отсутствии внешних сил указанная первая сторона повернута в направлении от основания и вместе со вторыми сторонами образует профиль треугольного поперечного сечения. Под действием сжимающей силы указанная первая сторона поворачивается в направлении к указанному основанию, а поскольку вторая сторона выполнена с возможностью ее сгибания в направлении основания, то указанный лист будет сложен. Предпочтительно, первая сторона включает в себя участок цельно выполненного каркаса первой толщины в сочетании с более тонкими участками второй толщины. Вторая сторона содержит участки третьей толщины, причем указанные вторая и третья толщины меньше первой толщины.
[0020] Другой целью заявленного изобретения является создание солнечного концентратора, содержащего ряды солнечных элементов, чередующиеся с рядами складных отражателей, для того, чтобы отражать энергию падающего потока на непосредственно примыкающие солнечные элементы и основание, на котором установлены отражатели и ряды солнечных элементов, в котором каждый ряд отражателей содержит первый и второй продольные участки, параллельные рядам солнечных элементов, прикрепленные к указанному основанию и отстоящие друг от друга, причем первая сторона соединена с одним краем первого участка, ближайшим к ряду солнечных элементов, и имеет отражающее покрытие на поверхности, обращенной в направлении от основания, вторая сторона соединяет первую сторону и один край второго участка, ближайший к первому участку, а третья сторона соединена с другим краем второго участка, отдаленным от первого участка, и имеет отражающее покрытие на поверхности, обращенной в направлении от основания. При отсутствии внешних сил указанная первая сторона повернута в направлении от указанного основания и вместе со второй стороной образует профиль треугольного поперечного сечения и служит опорой для третьей стороны, повернутой в направлении от указанного основания таким образом, что верхний край третьей стороны контактирует с ребром двугранного угла между первой и второй сторонами. Под действием сжимающей силы указанные первая сторона и третья сторона с развернутыми поверхностями будут повернуты в направлении к основанию. Вторая сторона выполнена с возможностью ее сгибания в направлении основания, таким образом отражатель будет свернут. Вторая плоская сторона может содержать несколько полос, разделенных отверстиями. Каждый из отражателей может быть выполнен как единое целое или может быть собран из отдельных элементов. Такая конфигурация может снизить количество потенциальной энергии сжатия, требуемой для развертывания.
[0021] Вышеописанное вместе другими целями и преимуществами изобретения будут очевидны из подробно раскрытых в описании и формуле изобретения конструкции и ее эксплуатации со ссылками на нижеприведенные чертежи, на которых одни и те же детали обозначены одними и теми же номерами.
Краткое описание чертежей
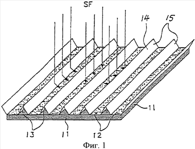
[0022] Фиг.1 – это схематическое изображение солнечного концентратора согласно заявленному изобретению, где F относится к солнечному потоку. Отражатели выполнены в виде клиновидных зубцов, расположенных рядами, с размещенными между ними рядами солнечных элементов.
[0023] Фиг.2 – это изображение в аксонометрии устройства, известного из уровня техники лоткового концентратора с отражателями по бокам солнечной панели, где R относится к солнечной радиации, С – к солнечному элементу и Р – к солнечной панели.
[0024] На фиг.3А и 3В показаны графики потерь улавливания из-за ошибки слежения в концентраторах, показанных на фиг.1 и 2, и распределение света по солнечной панели при отклонении наведения, равном 3°, соответственно.
[0025] На фиг.4 показана отражательная способность R отражающей пленки при угле падения 60° относительно нормали к отражателю для неполяризованного света как функция длины волны WL. Показаны также типовая характеристика CR многопереходного солнечного элемента GaAs/Ge и спектр солнечного излучения SSP. Для сравнения приведены отражательная способность REF алюминиевого слоя, нанесенного вакуумным напылением, и отражательная способность PREF серебряного покрытия с дополнительной защитой (SiO2, толщиной 160 нм).
[0026] На фиг.5А, 5В, 5С и 5D показан первый вариант осуществления настоящего изобретения в различных конфигурациях, где на фиг.5А представлен концентратор в аксонометрии по первому варианту осуществления, в развернутом виде, на фиг.5В – то же, в сложенном виде, на фиг.5С на виде сверху представлен первый вариант осуществления концентратора, выполненного из локально утоненной фольги или другого материала, развернутого в горизонтальной плоскости, и на фиг.5D представлен разрез по линиям 5D-5D на фиг.5С согласно первому варианту исполнения настоящего изобретения.
[0027] На фиг.6А, 6В, 6С, 6D и 6Е показан концентратор по второму варианту осуществления настоящего изобретения в различных конфигурациях, где на фиг.6А показан концентратор в аксонометрии, в развернутом виде, на фиг.6В показан концентратор – то же, со снятой второй отражающей стороной, без которой видны фиксирующая сторона с фиксирующими планками, и есть доступ в пространство под отражателем и со снятой другой отражающей стороной, на фиг.6С показан концентратор в аксонометрии в сложенном виде, на фиг.6D показан в аксонометрии концентратор, выполненный из двух частей, а также приведено увеличенное частичное изображение двух продольных участков, расположенных внахлест, на фиг.6Е представлен разрез концентратора по линиям 6Е-6Е на фиг.6В.
Подробное раскрытие предпочтительных вариантов осуществления
[0028] На фиг.1 показан солнечный концентратор согласно изобретению. Здесь ряды клиновидных отражателей 13 чередуются с солнечными элементами 12. Они установлены на солнечную панель 11 с сотовой ячеистой конструкцией с применением специальных креплений. Такую конструкцию обычно выполняют из алюминиевых ячеек, расположенных между двумя облицовочными листами из полимера, армированного углеродным волокном (CFRP). Солнечное излучение падает на панель 11. Оно попадает на солнечные элементы 12 либо непосредственно, либо после отражения от отражающего покрытия отражателей 13. В соответствии с одним из предпочтительных вариантов осуществления ширина ряда солнечных элементов 12 равна ширине ряда клиновидных отражателей 13 в зависимости от коэффициента геометрической концентрации. Например, ширина рядов одинакова, когда коэффициент геометрической концентрации составляет 2:1. Угол наклона отражателя в зависимости от коэффициента геометрической концентрации равен примерно 60° и равен ровно 60° в том случае, когда коэффициент геометрической концентрации составляет 2:1. Когда коэффициент геометрической концентрации составляет 2:1, это означает, что два квадратных метра солнечного излучения концентрируются на одном квадратном метре солнечных элементов. Учитывая, что высокоэффективные солнечные элементы чрезвычайно дороги, такая концентрация очень привлекательна с точки зрения сокращения стоимости солнечной панели.
[0029] На фиг.2 показан лотковый отражатель, имеющий такой же коэффициент геометрической концентрации, но с отражателями, примыкающими к солнечной панели сбоку. Такая конфигурация термически невыгодна, так как поверхность охлаждения чрезмерно уменьшена по сравнению с зоной концентрации. Такая конфигурация сходна с раскрытой в патентных документах США №№5520747, 6017002 и 6050526.
[0030] Согласно фиг.1 солнечные отражатели 13 изготовлены из тонкой гибкой фольги с нанесенным на нее отражающим покрытием. Фольгу можно выполнить из высокопрочного сплава, например титанового, нержавеющей стали, бериллиево-медного или любого другого сплава, устойчивого к любым механическим воздействиям. Выбор материала зависит от механических свойств и массовых параметров. Применение такого легкого материала, как титан, снижает вес отражателей. Каждый квадратный метр солнечного элемента с тремя переходами вместе с покровным стеклом весит около 1,1 кг, в то время как квадратный метр титанового отражателя весит всего 0,35 кг. Толщина фольги также зависит от требуемой жесткости отражателя и от максимального количества потенциальной энергии сжатия внутри сложенных отражателей (важно при развертывании и вибрациях в сложенном виде). В одном из предпочтительных вариантов осуществления материалом является высокопрочный титановый сплав толщиной около 1-2 милов (+/- 25-50 микрон).
[0031] Применение солнечных отражателей 13, встроенных в солнечную панель, позволяет получить более эксплуатационно-гибкую модульную конструкцию развертываемой солнечной панели по сравнению с известными из уровня техники, где отражатели примыкают к панелям. Действительно, в этом последнем случае развертывание солнечной панели легко осуществимо только при одномерном порядке следования (“гармошкой”). Конструкция же согласно настоящему изобретению пригодна и для более сложных конфигураций развертывания – типа двухмерной “брусчатки”. Как следствие этого, существенно повышается степень ее модульности, и выработка энергии может легко осуществляться на разных уровнях.
[0032] Согласно настоящему изобретению соотношение поверхности улавливания и поверхности охлаждения не выше, чем в конструкциях, известных из уровня техники, где отражатели примыкают к панели. Действительно, согласно настоящему изобретению поверхность улавливания практически та же, а поверхность охлаждения составляет 75% от площади обычной планарной панели. Только около половины передней поверхности (рядов солнечных элементов) эффективно используется для охлаждения. В известных из уровня техники конструкциях площадь поверхности улавливания удвоена при такой же поверхности охлаждения по сравнению с традиционными планарными панелями. Другими словами, площадь охлаждения по сравнению с площадью улавливания составляет лишь 50% по сравнению с планарными панелями. Поскольку сохраняются близкие значения по сравнению с уровнем техники для площади поверхности охлаждения, можно ожидать лишь незначительного повышения температуры в настоящем изобретении (около 20°С) по сравнению с уровнем техники (около 40°С). Это является большим преимуществом, так как снижает газовыделение клеев, используемых для крепления солнечных элементов и покровного стекла. Кроме того, температура отражателей может значительно увеличиться по сравнению с устройствами по предыдущему уровню техники с примыкающими отражателями. Фактически, в известных конфигурациях задняя поверхность отражателей обращена к холодному космическому пространству в отличие от заявленного изобретения, где отражатели 13 обращены к основанию 11 панели. Следовательно, можно достичь значительного повышения температуры отражателей. Это является дополнительным серьезным преимуществом по сравнению с известными из уровня техники панелями с отражателями, примыкающими сбоку, загрязнение поверхности которых приводит к ухудшению выработки энергии.
К тому же, температуру солнечных элементов можно существенно понизить за счет совершенствования распределения температуры на фронтальной листовой облицовке. Использование CFRP (полимера, армированного углеродным волокном) с высокой теплопроводностью способствует распределению концентрированной солнечной энергии по фронтальной листовой облицовке. Удельная теплопроводность вдоль волокон стандартного CFRP находится в области около 35 Вт/(м·К). У высокотеплопроводных CFRP она может достигать 500 Вт/(м·К) благодаря высокой удельной проводимости углеродных волокон. К тому же, этот тип CFRP демонстрирует гораздо более высокую жесткость – 490-560 ГПа по сравнению с 93 ГПа для обычного CFRP. Можно для повышения теплопроводности просто добавить к слою из обычного CFRP слой высокотеплопроводного CFRP перпендикулярно к рядам солнечных элементов 12. Другой способ может заключаться в добавлении внутрь или поверх обычного CFRP нитей с высокой удельной теплопроводностью, сориентированных перпендикулярно к рядам солнечных элементов, или в использовании материала из углеродных нанотрубок, таких, как, например, «нанотрубочная бумага». Таким образом, мы создаем температурные мостки между нагретыми зонами под солнечными элементами 12 и холодными зонами под отражателями 13.
[0033] Точность ориентации КЛА оказывает прямое влияние на конструкцию солнечных концентраторов. Они должны соответствовать диапазону изменения направления солнечных лучей относительно солнечной панели. На КЛА со стабилизацией корпуса в пространстве не предусмотрено отслеживание направления север-юг. Сезонные изменения составляют ±23,5°. По этой причине концентраторы не предназначены для осуществления концентрации по этой оси. Слежение за солнцем осуществляют по оси восток-запад с точностью порядка ±2°. Для обеспечения достаточной надежности концентраторы должны выполнять свои функции даже при несколько более значительных ошибках слежения. На фиг.3 проиллюстрированы последствия ошибок наведения. Такое моделирование справедливо как для клиновидного концентратора (фиг.1), так и для лоткового концентратора (фиг.2). Ось отклонения наведения соответствует только крену панели по линии восток-запад. На фиг.3А показана зависимость кпд улавливания (СЕ) от угла падения солнечного излучения. Первая причина потери эффективности проистекает из закона косинуса (CL). По закону косинуса с увеличением угла падения происходит уменьшение освещенной зоны. Это справедливо для любой поверхности, наклоненной относительно солнца, и не связано с концентрацией. Сказанное является главной причиной слежения за солнцем для любого стабилизированного КЛА. Второй фактор, влияющий на потерю эффективности, связан с концентрацией (корректированный поток (CF)). Имеет место падение эффективности до 50% при отклонении наведения солнечного концентратора относительно солнца на 30°. Улавливание становится равным нулю при 60-градусном отклонении наведения, когда ряды солнечных элементов полностью затеняются отражателями. Для реального случая с отклонением наведения всего лишь в 3° на фиг.3В показана зависимость удельного потока (NF) от относительной ординаты (NO) отклонения наведения солнечных элементов. Здесь представлено распределение света между двумя отражателями. Согласно настоящему изобретению эта зона занята рядом солнечных элементов. Относительная ордината, показанная на фиг.3В, соответствует ширине каждого отдельного солнечного элемента. Для известных из уровня техники систем (см. фиг.2) указанной зоне соответствует ширина солнечной панели, включающей несколько смежных солнечных элементов. Любая неравномерность распределения отражается на примыкающих солнечных элементах. Некоторые элементы будут получать только 65% номинального потока. Такое распределение наверняка повлияет на преобразование энергии. Электрический ток, генерируемый этими элементами, будет составлять 65% от номинального тока. Последовательное соединение элементов требует высокой степени равномерности генерируемого тока с тем, чтобы аккумулировать мощность от всей солнечной панели. Неравномерность светового излучения по солнечной панели приводит к значительному уменьшению поступающей в КЛА энергии. В заявленном изобретении (см. фиг.1) неравномерность также имеет место, но лишь по ширине элемента. Потери генерации энергии солнечными элементами будут одного порядка. Для каждого элемента коэффициент потерь одинаков, при этом сохраняется равномерность генерации энергии от элемента к элементу. Таким образом, по-прежнему идеально работает схема последовательного соединения, и каких-либо дополнительных потерь не ожидается.
[0034] В качестве отражающего покрытия для отражателей 13, обращенных в сторону от основания 11 панели, используют алюминий, серебро или любое другое эффективное покрытие, способное отражать солнечное излучение. Алюминий широко применяется благодаря легкости изготовления и его высокой стойкости к воздействию космической среды (главным образом, радиации). Серебро не обладает достаточной радиационной стойкостью. Требуется покрывать его дополнительным прозрачным слоем, для которого подходят SiO2 или Al2О3. Учитывая указанную необходимость в дополнительном покрытии, работать с серебром не так просто, как с алюминием. Причиной интереса к отражателям с серебряным покрытием является их более высокая отражающая способность в видимой области спектра. Известно, что покрытие, полученное вакуумным напылением алюминия, имеет отражающую способность около 90%, а отражающая способность серебряного покрытия в видимой области спектра достигает 95% при падении излучения перпендикулярно поверхности. В одном предпочтительном варианте исполнения нас интересует отражающая способность при угле падения 60°, а не при перпендикулярном падении. Интересующий спектральный диапазон не ограничивается видимой областью – многопереходные солнечные элементы из GaAs (арсенида галлия) чувствительны к диапазону от примерно 350 нм до примерно 1800 нм. Солнечный поток в этой области спектра неравномерен:
максимальная интенсивность достигается при 450-500 нм. В УФ-диапазоне происходит сброс потока. В красной и инфракрасной областях спектра наблюдается несколько меньшее его ослабление. На фиг.4 показана отражающая способность при угле падения 60° для алюминиевой пленки и защищенной серебряной пленки. В качестве защиты для серебряного покрытия использован слой SiO2 толщиной 160 нм. Для большей ясности и простоты расчетов показаны также спектр потока солнечного излучения (SSP) и характеристика чувствительности фотогальванического элемента (выраженные в относительных единицах по сравнению с длиной волны WL).
[0035] Возможны несколько вариантов исполнения саморазвертываемого отражателя. Ниже приведены два предпочтительных варианта. В обоих вариантах применена эластичная металлическая фольга, позволяющая совместить в отражателе обе функции: отражающее действие и развертывание. В патентном документе США №6188012 раскрыт свертываемый отражатель, содержащий отражающий концентратор и пружину, присоединенную к этому концентратору. Подобная конструкция описана в патентном документе США №6177627, где свертываемый отражатель содержит полностью гибкий лист и распрямитель, прикрепленный к основанию. Это означает, что две функции, отражения света и распрямления отражателей, обеспечены двумя различными деталями. В заявленном изобретении, в обоих предпочтительных вариантах его реализации, эти две функции – отражение света в развернутом состоянии и развертывание отражателей – достигнуты за счет одного единственного элемента.
[0036] В первом варианте исполнения заявленного изобретения устройство 20 выполнено из тонкого листа металла или другого материала с отражающими поверхностями сторон 14 и 15 панели, обращенными в направлении от основания 11, обеспечивающими отражение света в развернутом состоянии (фиг.5А). Этот лист достаточно тонкий для того, чтобы иметь очень малый вес и малую потенциальную энергию сжатия в сложенном состоянии (фиг.5В). Обычный блокирующий механизм сохраняет устройство 20 в сложенном состоянии для предотвращения упругого восстановления формы и развертывания обеих сторон 14 и 15. В некоторых местах неотражающей поверхности, направленной в сторону основания 11, имеются небольшие ребра 18, придающие большую упругость утоненным участкам 19, окруженным ребрами 18, и образующие цельно выполненную раму для обеспечения жесткости конструкции (см. фиг.5С – развернутый отражатель). Указанные ребра 18 имеют специальную конструкцию для обеспечения возможности саморазвертывания отражателя 20 из свернутого состояния и для обеспечения достаточного натяжения тонкого листа в развернутом состоянии во избежание складок. Указанное выполненное как единое целое устройство 20 может быть выполнено из цельного листа металла, например из высокопрочного титанового сплава или других материалов, что позволяет избежать применения двух различных элементов для осуществления развертывания и оптических функций. Стандартная толщина ребер 18 и рамы составляет от 50 до 100 микрон, а утоненного участка 19 – 20-30 микрон. Надлежащая толщина тем не менее не ограничивается указанными значениями и может изменяться в зависимости от материала листа, конструкции устройства 20 и других факторов. Утоненный участок 19 может быть получен посредством химического травления, высокоскоростным фрезерованием, глубокой прокаткой и т.п. В дополнение к этому, для достижения минимального веса утоненными делают все те участки, для которых не требуется наличие пружинящего эффекта, такие как участок 21 на сгибаемой стороне панели 15 (фиг.5С), просто сохраняя за ними способность к отражению. Усилить жесткость и пружинистость конструкций различных вариантов реализации настоящего изобретения для улучшения отражающей формы выполненного как единое целое устройства посредством подбора соответствующих размеров, геометрии и расположения более толстых ребер и рамы 18, выполненных как одно целое. Однако это улучшение невозможно для листа с постоянной толщиной. Для развертывания панели важна потенциальная энергия сжатия в свернутом состоянии. Причем эта потенциальная энергия сжатия должна находиться в диапазоне значений, соответствующем безопасному развертыванию панели. Потенциальную энергию сжатия можно легко привести к этому диапазону значений путем изменения геометрических характеристик (толщины и ширины) цельно выполненных ребер.
[0037] Во втором предпочтительном варианте реализации настоящего изобретения (фиг.6А – развернутое состояние) применяется цельный металлический или выполненный из другого материала лист, согнутый и имеющий углубления, выполненные особым образом. Отражатель 30 содержит первый и второй продольные участки 26 и 27, параллельные рядам солнечных элементов 12 (фиг.1), прикрепленные к основанию 11 (фиг.1) и отстоящие друг от друга; первую сторону 24 с отражающим покрытием на поверхности, обращенной в направлении от основания 11, и соединенную с первым участком 26, вторую сторону 23, соединяющую первую сторону 24 и ближайший к первому участку 26 край второго участка 27, и третью сторону 25 с отражающим покрытием на поверхности, обращенной в направлении от основания 11, и соединенную с другим краем второго участка 27, отдаленным от первого участка 26. Следовательно, в отличие от других устройств, две отражающие стороны 24 и 25 каждого отражателя 30 разделены (не соединены) в вершине отражателя, когда отражатель развернут, что обеспечивает возможность доступа под отражатель, не убирая стороны 24 и 25. (фиг.6В). Открытый доступ к пространству под отражателями 30, которое может содержать электронные компоненты, облегчает его эксплуатацию и обслуживание. Следовательно, обе стороны 24, 25 отражателя не зависят друг от друга во время развертывания. Во время развертывания первая сторона 24 поворачивается в направлении от основания 11 и образует со второй стороной 23 профиль треугольного поперечного сечения. Эта конструкция с треугольным профилем поддерживает в повернутом от основания 11 состоянии сторону 25 таким образом, что, верхняя часть, например верхний край третьей стороны 25, контактирует с двугранным ребром 29 между первой стороной 24 и второй стороной 23. В сложенном состоянии (фиг.6С) под действием сжимающей силы обычного блокирующего механизма для блокирования обеих сторон 24 и 25 и предотвращения упругого восстановления формы и развертывания обе стороны наложены друг на друга и ни одна из них не перенапряжена или перегнута (сгиб, превышающий допустимый предел упругости материала) во время длительного предстартового периода хранения. В частности, первая сторона 24 и третья сторона 25 будут наклонены к основанию 11 с расправленными поверхностями, при этом третья сторона 25 накроет первую сторону 24. Вторая сторона 24 будет согнута таким образом, что отражатель будет сложен.
Подобное положение хранения является благоприятным для минимизации потенциальной энергии сжатия во время периода хранения. В действительности, потенциальная энергия сжатия является причиной проблем, возникающих во время развертывания. Потенциальная энергия сжатия может быть менее 0,1 Дж/м2, например 0,063 Дж/м2 для отражателей, размещенных в 10-миллиметровом промежутке между двумя наложенными друг на друга солнечными панелями, каждая из которых оснащена сложенными отражателями или подобными им отражателями, размещенными в 5-миллиметровом промежутке. Благодаря подобной конфигурации хранения материал не будет подвергаться ослаблению (с последующим искажением формы) в такой степени, как в других вариантах исполнения. Это определенно обеспечивает более точную форму развернутого отражателя.
Блокирующая система, содержащая небольшие планки 28, предотвращает удар нижней стороны 24 по сложенному отражателю из-за инерции во время развертывания отражателя. Сначала развертывается верхняя сторона 25 и опирается на другую сторону 24. Затем верхняя сторона 25 фиксируется на другой стороне 24 и входит в контакт с двугранным ребром 29, образуемым сторонами 23 и 24. Данное устройство 30 позволяет предотвратить пересечение обеих сторон 24 и 25, что повлекло бы за собой ухудшение формы развернутого отражателя. Блокирующее устройство можно заменить небольшими планками 28, разделенными проемами 22 исходного листа. Небольшие планки 28 для предотвращения их ослабления во время предстартового периода можно выполнить с небольшой кривизной по всей их длине, как показано на фиг.6Е, наподобие столярных петель. При раскрытии планки восстановят свою кривизну и в развернутом виде станут более жесткими и более прямыми. Разумеется, кривизна должна быть такой, чтобы не мешать сворачиванию в сложенное состояние. Тонкий исходный лист может быть выполнен из очень гибкого материала, например из высокопрочного титанового сплава. Толщина листа должна находиться в пределах 25-30 микрон. Толщина может изменяться в зависимости от используемого материала, конструкции и других факторов. Отражатель 30 может быть выполнен как единый элемент или может быть разделен на 2 элемента, один – для стороны 23-24, а другой – для стороны 25. В последнем случае планки 28 будут соединены с участком 27 основания, который будет соединен внахлест с участком 32 другой стороны 25, как показано на фиг.6D. И, наконец, этот вариант реализации легок для производства и к тому же неточности профилирования могут быть немного исправлены посредством кинематики. Фактически, из-за неточности профилирования (по углам) фиксируемая сторона 24 будет недогнута (согнута в пределах упругости материала), а другая сторона 25 будет слегка перегнута (согнута сверх предела упругости материала). В этом случае фиксируемая сторона 24 будет прикладывать небольшое натяжение на планки 28, а другая сторона 25 будет прикладывать небольшое давление на фиксируемую сторону 24. Конечно, возникнет небольшое искривление обеих сторон из-за неточности исполнения, но его значимость для окончательной формы будет зависеть от точности профилирования.
[0038] Все вышеизложенное следует рассматривать только как пояснение принципов заявленного изобретения. Для специалистов в данной области техники очевидно, что, поскольку возможны многочисленные модификации и изменения, не следует ограничивать изобретение представленной конструкцией и ее эксплуатацией, и соответственно возможны различные модификации и разновидности, подпадающие под объем правовой охраны заявленного изобретения.
Формула изобретения
1. Солнечный концентратор, содержащий ряды солнечных элементов, чередующиеся с рядами складных отражателей, предназначенных для отражения падающей энергии на непосредственно примыкающие солнечные элементы, и основание, на котором установлены ряды отражателей и ряды солнечных элементов, в котором каждый ряд отражателей содержит:
лист, имеющий две противоположно направленные поверхности, с отражающим покрытием, нанесенным на поверхность, направленную от основания, причем указанный лист имеет:
два параллельных края, прикрепленные к указанному основанию и отстоящие друг от друга,
и первую и вторую стороны, каждая из которых соединена с одним из указанных краев;
в котором при отсутствии внешних сил указанная первая сторона повернута в направлении от указанного основания и вместе со второй стороной образует профиль треугольного поперечного сечения, причем под действием сжимающей силы указанная первая сторона поворачивается в направлении к указанному основанию, вторая сторона сгибается в направлении к основанию, и указанный лист складывается.
2. Солнечный концентратор по п.1, в котором первая сторона включает в себя по меньшей мере один участок цельно выполненного каркаса первой толщины в сочетании с более тонкими участками второй толщины.
3. Солнечный концентратор по п.2, в котором указанная вторая сторона включает в себя участки третьей толщины, причем указанные вторая и третья толщины меньше первой толщины.
4. Солнечный концентратор по п.3, в котором первая толщина составляет приблизительно 50-100 мкм, а вторая и третья толщины составляют приблизительно 15 и 25 мкм соответственно.
5. Солнечный концентратор, содержащий ряды солнечных элементов, чередующиеся с рядами складных отражателей, предназначенных для отражения падающей энергии на непосредственно примыкающие солнечные элементы и на основание, на котором установлены отражатели и солнечные элементы, в котором каждый ряд отражателей содержит:
первый и второй продольные участки, параллельные рядам солнечных элементов, прикрепленные к указанному основанию и отстоящие друг от друга,
первую сторону, имеющую отражающее покрытие на одной поверхности, обращенной в направлении от основания, и соединенную с одним краем первого участка, ближайшего к ряду солнечных элементов,
вторую сторону, соединяющую первую сторону и один край второго участка, ближайший к первому участку, и
третью сторону, имеющую отражающее покрытие на одной поверхности, обращенной в направлении от основания, и соединенную с другим краем второго участка, отдаленным от первого участка,
в которой при отсутствии внешних сил указанная первая сторона повернута в направлении от указанного основания и вместе со вторыми сторонами образует профиль треугольного поперечного сечения и поддерживает третью сторону, повернутую в направлении от основания таким образом, что верхний, отдаленный от основания край третьей стороны контактирует с двугранным ребром между первой и второй сторонами; под действием сжимающей силы указанные первая сторона и третья сторона с развернутыми поверхностями будут повернуты в направлении к основанию, причем указанная третья сторона накрывает поверхность указанной первой стороны, обращенную в направлении от основания, а вторая сторона выполнена с возможностью ее сгибания в направлении основания таким образом, что указанный отражатель будет сложен.
6. Солнечный концентратор по п.5, в котором первый участок, первая сторона, вторая сторона, второй участок и третья сторона каждого отражателя соединены последовательно и выполнены из единого листа.
7. Солнечный концентратор по п.5, в котором при отсутствии внешних сил третья сторона стремится повернуться в направлении к основанию, таким образом, что когда отражатель разворачивается, первая сторона поворачивается в направлении от основания, а третья сторона прикладывает давление к двугранному ребру между первой стороной и второй стороной.
8. Солнечный концентратор по п.5, в котором каждый из указанных отражателей выполнен из двух листов, первый лист включает в себя первый продольный участок, первую сторону, вторую сторону и третий продольный участок, соединенные последовательно; второй лист содержит второй продольный участок и третью сторону, соединенные последовательно и неразъемно; в котором третий участок наложен на второй участок, и оба участка прикреплены к основанию.
9. Солнечный концентратор по п.5, в котором первая сторона согнута под действием сжимающей силы, без превышения предела упругости материала.
10. Солнечный концентратор по п.5, в котором вторая сторона каждого отражателя содержит несколько продолговатых планок, разделенных проемами.
11. Солнечный концентратор по п.10, в котором указанные проемы обеспечивают доступ в пространство под отражателем для ремонтного обслуживания.
12. Солнечный концентратор по п.10, в котором по меньшей мере одна планка имеет искривленную в поперечном сечении поверхность.
13. Солнечный концентратор по п.10, в котором, когда отражатель не сложен, указанные несколько планок второй стороны параллельны друг другу и вертикальному направлению двугранного ребра, между первой стороной и второй стороной.
14. Солнечный концентратор по п.10, в котором первый участок, первая сторона, второй участок и третья сторона каждого отражателя соединены последовательно и изготовлены из одного листа.
15. Солнечный концентратор по п.10, в котором при отсутствии внешних сил третья сторона стремится повернуться по направлению к основанию таким образом, что когда отражатель развернут, первая сторона повернута в направлении от основания, а третья сторона оказывает давление на двугранное ребро между первой стороной и второй стороной.
16. Солнечный концентратор по п.10, в котором каждый из указанных отражателей выполнен из двух листов, первый лист содержит первый продольный участок, первую сторону, вторую сторону и третий продольный участок, соединенные последовательно и неразъемно; второй лист содержит второй продольный участок и третью сторону, соединенные последовательно и неразъемно; в котором третий участок наложен на второй участок, и оба участка прикреплены к основанию.
17. Солнечный концентратор по п.5, в котором потенциальная энергия сжатия отражателя составляет менее 0,1 Дж/м2.
18. Солнечный концентратор по п.6, в котором толщина указанного листа составляет около 25-30 мкм.
19. Солнечный концентратор по п.5, в котором отражатели выполнены из высокопрочного титанового сплава.
20. Солнечный концентратор по п.4, в котором отражатели выполнены из высокопрочного титанового сплава.
РИСУНКИ
|
|