|
(21), (22) Заявка: 2007127831/28, 23.07.2007
(24) Дата начала отсчета срока действия патента:
23.07.2007
(46) Опубликовано: 10.02.2009
(56) Список документов, цитированных в отчете о поиске:
RU 2289810 С2, 20.12.2006. RU 2279051 С2, 27.06.2006. RU 2288459 С1, 27.11.2006. US 2002121595, 05.09.2002.
Адрес для переписки:
117638, Москва, ул. Сивашская, 6-1-191, И.И. Петрову
|
(72) Автор(ы):
Цыбин Александр Степанович (RU), Чистяков Александр Александрович (RU), Мартынов Игорь Леонидович (RU), Передерий Анатолий Николаевич (RU), Громов Евгений Владимирович (RU), Козловский Константин Иванович (RU)
(73) Патентообладатель(и):
Автономная некоммерческая организация “Институт экологических, геофизических и радиационных технологий” (ИЭГРТ) (RU)
|
(54) УСТРОЙСТВО ДЛЯ ПОЛУЧЕНИЯ И АНАЛИЗА ИОНОВ АНАЛИТА
(57) Реферат:
Изобретение относится к области аналитического приборостроения, в частности к определению микроследов опасных веществ: взрывчатых веществ, наркотиков, токсичных веществ. Техническим результатом изобретения является повышение чувствительности обнаружения следов опасных веществ, возможность проведения экспресс-анализа, компактность устройства. Технический результат достигается тем, что устройство содержит дрейфовую трубку, соединенную с узлом ввода проб, содержащим корпус с патрубками для забора пробы и вывода газового потока из области ионизации, в корпусе с возможностью возвратно-поступательного перемещения установлена мишень с наноструктурированной поверхностью, узел непрерывного обдува исследуемого объекта расположен вдоль оси входного и выходного патрубков, на противоположном внутреннем торце дрейфовой трубки расположен коллектор, соединенный с усилителем, выход усилителя соединен с входом компьютера. Мишень снабжена узлом терморегулирования. 4 з.п. ф-лы, 7 ил.
Изобретение относится к области аналитического приборостроения, в частности к определению микроследов опасных веществ: взрывчатых веществ, наркотиков, токсичных веществ и т.п. при прохождении контрольных пунктов в аэропортах, железнодорожных вокзалах, выставках, при поиске скрытых закладок взрывчатых и наркотических веществ на таможенных пунктах досмотра, аэропортах, вокзалах, производственных и жилых помещениях.
Известно система для дистанционного отбора воздушных проб с поверхности и из негерметизированных объектов, содержащая устройство обдува объекта воздушной струей, включающее побудитель нагнетаемого потока воздуха, устройство всасывания поступающего от объекта воздушного потока, снабженное побудителем всасываемого потока воздуха и устройство отбора транспортируемой от объекта пробы.
Устройство обдува снабжено завихрителем воздушного потока и каналом транспортировки нагнетаемого потока воздуха от побудителя к завихрителю. Патент Российской Федерации №2279051, МПК: G01N 1/22, 2006 г. В целом система для дистанционного отбора воздушных проб громоздка и малоэффективна.
Известно устройство обнаружения следов опасных веществ на поверхностях объектов при досмотре, содержащее устройство ввода обследуемого объекта, побудитель расхода воздуха, обдувающего поверхность объекта, нагреватель и газоанализатор, соединенный с выходом устройства ввода обследуемого объекта. В качестве обследуемого объекта используется поверхность предъявляемого для контроля документа.
При этом устройство дополнительно снабжено фильтром очистки воздуха, а в качестве газоанализатора используется спектрометр приращения ионной подвижности (СПИП). Выход СПИП соединен через побудитель расхода воздуха с входом фильтра. Вход устройства ввода обследуемого объекта и вход СПИП соединены с выходом фильтра, кроме того, нагреватель расположен непосредственно над поверхностью документа, а устройство ввода обследуемого объекта выполнено в виде герметичной камеры, защищающей обследуемую поверхность документа от внешней атмосферы. Патент Российской Федерации №2288459, МПК: G01N 13/00, 2006 г.
Устройство предназначено для малогабаритных исследуемых объектов.
Известно устройство для формирования и анализа ионов аналита, содержащее мишень с наноструктурированной поверхностью, средство для направления аналита к мишени, лазерный источник энергии для нагревания наноструктурированной поверхности мишени, средство для определения компонент аналита. Патент США №6825477, МПК: H01J 49/00, 2004 г., прототип (аналит (от слова анализ) в современной терминологии – исследуемый объект, преимущественно газообразного состояния).
По существу, в прототипе приводится перечень узлов и приборов, которые могли бы дать возможность проводить формирование и анализ ионов аналита.
Техническим результатом изобретения модели является повышение чувствительности обнаружения следов опасных веществ, возможность проведения экспресс-анализа, компактность устройства.
Технический результат достигается тем, что в устройстве для получения и анализа ионов аналита, содержащем мишень с наноструктурированной поверхностью, средство для направления аналита к мишени, лазер, средство для выделения ионов аналита, средство для направления аналита к мишени и средство для выделения ионов аналита выполнено в виде дрейфовой трубки, соединенной с узлом ввода проб, содержащим корпус с патрубками для забора пробы и вывода газового потока из области ионизации, в корпусе с возможностью возвратно-поступательного перемещения установлена мишень с наноструктурированной поверхностью, узел непрерывного обдува исследуемого объекта расположен вдоль оси входного и выходного патрубков, на противоположном внутреннем торце дрейфовой трубки расположен коллектор, соединенный с усилителем, выход усилителя соединен с входом компьютера. Дрейфовая трубка выполнена в виде системы кольцевых электродов, разделенных диэлектрическими кольцами. Узел ввода проб снабжен изолятором, внутри которого расположен металлический стакан с сеткой, и нагревательным элементом. Лазер выполнен импульсно-периодическим, а один из выходов лазера через синхронизатор соединен с входом компьютера. Мишень снабжена узлом терморегулирования.
Сущность изобретения поясняется на фиг.1-7.
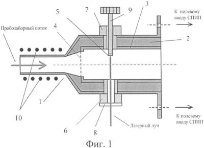
На фиг.1 схематично представлен продольный разрез варианта узла ввода проб, где 1 – корпус, 2 – тефлоновый изолятор, 3 – металлический стакан, 4 – сетка, 5 – твердотельная мишень, 6, 7 – вкладыши, 8 – кварцевое окно, 9 – тефлоновый шток, 10 – нагревательный элемент.
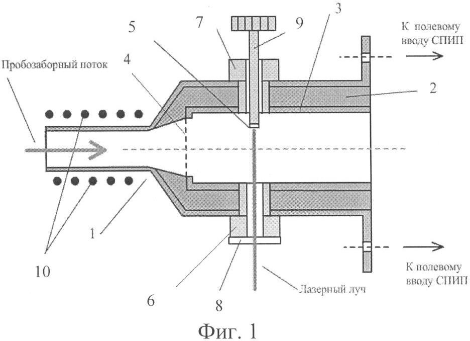
На фиг.2 представлены основные проекции еще одного варианта узла ввода проб, где 5 – мишень, 6 – вкладыш, 7 – вкладыш,11 – патрубок для забора пробы, 12 – патрубок для вывода газового потока из области ионизации, 8 – кварцевое окно, 9 – тефлоновый шток.
На фиг.3 схематично представлена схема присоединения узла ввода проб 13 к дрейфовой трубке 14.
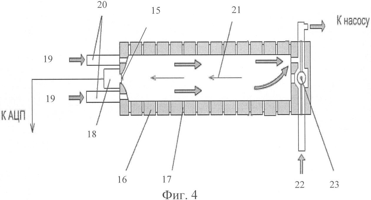
На фиг.4 схематично представлен вариант дрейфовой трубки 14, соединенной с узлом ввода проб 13, где 15 – коллектор, 16 – кольцевой электрод, 17 – диэлектрическое кольцо, 18 – усилитель, 19 – направление буферного потока, 20 – патроны с молекулярными ситами, 21 – направление дрейфа ионов, 22 – пробозаборный поток, 23 лазерный луч, перпендикулярный к рисунку. Дрейфовая трубка 14 представляет собой систему чередующихся металлических кольцевых электродов 16, разделенных диэлектрическими кольцами 17.
На фиг.5 представлены спектры положительных ионов гексагена (RDX), а также пластида на его основе (С31-Е) при использовании лазерного излучения с =266 нм.
На фиг.6 представлен спектр ионной подвижности отрицательных ионов TNT (параметры лазерного излучения: =266 нм, q=8·105 Вт/см2, =12.5.Гц).
На фиг.7 представлен спектр ионной подвижности сигнала фоновой ионизации и сигнала ионизации паров TNT с мишени из НПК (отрицательные ионы; =532 нм, q=2·107 Вт/см2; режим разрушения мишени).
Устройство для формирования и анализа ионов аналита работает следующим образом.
Пробозаборный поток 22 формируют с помощью насоса (не показан). Пробозаборный поток 22 позволяет осуществлять непрерывный забор паров исследуемых веществ.
Из пробозаборного потока 22 молекулы аналита сорбируются нанопористой поверхностью мишени 5. Лазерное излучение для процесса ионизации или десорбции молекул вводится через кварцевое окно 8, прозрачное для УФ лазерного излучения ( 1=354 нм, 2=266 нм).
Корпус 1 узла ввода проб 13 (фиг.1, фиг.3) вакуумноплотно стыкуют с полевым вводом дрейфовой трубки 14. В корпусе 1 узла ввода проб 13 выполнено два соосных отверстия для крепления тефлонового штока 9 мишени 5 вкладышами 6, 7 или оптических (кварцевых) окон 8 для ввода УФ лазерного излучения.
Металлический стакан 3 отделен от корпуса тефлоновым изолятором 2. На его торце, ближнем к заборному отверстию, закреплена металлическая сетка 4 с размером ячейки 1-2 мм. Для ввода образующихся отрицательных ионов в полевой ввод спектрометра на металлическом стакане 3 с сеткой 4 поддерживают потенциал от -50 до -200 В по отношению к земле.
Мишень 5 с наноструктурированной поверхностью для лазерной десорбции или ионизации крепят на торце тефлонового штока 9, который может ввинчиваться во вкладыш 7, меняя расположение мишени 5. Мишень 5 снабжена элементом терморегулирования (не показана). В процессе анализа изменяют температуру наноструктурированной поверхности мишени 5, изменяя ее свойства сорбции, инициируя или замедляя процесс ионизации.
Узел ввода проб 13 содержит нагревательный элемент 10, выполненный в виде спирали. Нагревательный элемент 10 обеспечивает нагрев корпуса 1 до температуры 70-100°С, что снижает сорбцию аналита с исследуемым веществом на внутренних стенках узла ввода проб 13 и последующее искажение регистрируемых сигналов.
Режим работы лазера импульсно-периодический, с частотой следования импульсов по крайней мере до 20 Гц; длина волны 532-265 нм; энергия лазерных импульсов 100-1000 мкДж/имп; длительность лазерных импульсов 10-6-10-9 с; плотность мощности излучения на поверхности мишени 105-107 Вт/см2.
В результате такого воздействия лазерным излучением происходит разогрев наноструктурированной поверхности твердотельной мишени 5 и последующая ионизация и десорбция захваченных ранее молекул аналита.
На фиг.4 дрейфовая трубка 14 показана с присоединенным узлом ввода пробы 13.
Диафрагма для вывода и формирования потока ионов в дрейфовую трубку 14 представляет собой два первых электрода дрейфовой трубки. Эти электроды, конструктивно выполненные в виде фигурной диафрагмы, разделены тонким слоем диэлектрика. Облучаемая мишень 5, входящая в состав устройства ввода пробы, находится по другую сторону диафрагмы по отношению к дрейфовой трубке 14.
Чтобы обеспечить необходимое движение ионов вдоль дрейфовой трубки 14 по направлению к коллектору 15, вблизи оси дрейфовой трубки с помощью кольцевых электродов 16 создают однородное электрическое поле с напряженностью от 100 до 300 В/см. Для этого на соседние кольцевые электроды 16 подают разность потенциалов 100-300 В, а общее падение напряжения на всей дрейфовой трубке 14 составляет 1200 В-3500 В. Полярность напряжения в процессе анализа изменяют, что дает возможность исследовать спектры как положительных, так и отрицательных ионов.
Чтобы повысить однородность поля в торцевой части дрейфовой трубки 14, последний кольцевой электрод выполнен с параболической поверхностью (на фиг.4 крайний слева).
Двигаясь под действием электрического поля к коллектору 15, ионизированные молекулы приобретают среднюю скорость
= ·E,
где – подвижность иона в газе, Е – напряженность электрического поля.
Подвижность ионов зависит от их массы – m, заряда – q, сечения столкновения с молекулами буферного газа трубки , плотности буферного газа n, массы его молекул М и температуры Т и определяется следующим образом:

За счет разницы в значении подвижности по мере дрейфа ионов происходит их пространственное разделение, что проявляется в виде временной зависимости регистрируемого ионного тока.
Для предотвращения попадания в дрейфовую область неионизированных молекул в дрейфовой трубке 14 с помощью воздушного насоса организован буферный газовый поток 19, который создает своеобразный газовый затвор на границе области ионизации и области дрейфа.
Воздух, который формирует буферный газовый поток, предварительно проходит через патроны с молекулярными ситами 20, которые обеспечивают его очистку и снижают содержание в нем паров воды. Для организации буферного и пробозаборного газовых потоков используют неагрессивные газы (N2, Не, Ar и др.).
Одной из важнейших характеристик дрейфовой трубки 14 является разрешающая способность, которая определяется как
,
где td – время дрейфа ионного пакета, t – ширина сигнала ионного тока на полувысоте амплитуды.
Величина разрешения находится на уровне R=45, что обеспечивает уверенное разделение сигналов тока ионов, соответствующих, в частности, различным взрывчатым веществам.
Чувствительность дрейфовой трубки 14 не ниже 10-14 г/см3. Оценка основана на экспериментальных результатах по детектированию паров RDX при их многофотонной ионизации.
Спектр положительных ионов RDX и пластида С31-Е при их ионизации лазерным излучением с =266 нм и детектировании с использованием дрейфовой трубки 14 представлен на фиг.5.
Система регистрации и обработки сигнала ионного тока включает в себя коллектор 15, помещаемый на выходе дрейфовой трубки 14, высокочувствительный усилитель тока 18, персональный компьютер со встроенной платой АЦП и соответствующим программным обеспечением, а также генератор синхроимпульсов для платы АЦП.
По окончании движения в дрейфовой трубке 14 ионы попадают на коллектор 15, который непосредственно соединен с входом токового (электрометрического) усилителя 18. Чувствительность такой системы позволяет усиливать сигналы тока ионов на уровне 100 фА.
Частотный диапазон усиления сигналов до 3 кГц обеспечивает усиление ионного тока без искажения его временных характеристик.
Сигнал с токового усилителя 18 поступает на вход платы АЦП персонального компьютера, с помощью которого его можно наблюдать в режиме реального времени, а также производить его запись для дальнейшей обработки.
Так как устройство работает по времяпролетному принципу, то для наблюдения и записи сигнала ионного тока предусмотрена схема синхронизации лазерного импульса с началом временной развертки платы АЦП. Для этого электрический сигнал синхронизации с лазерного блока подают на генератор импульсов, а затем на синхронизирующий вход платы АЦП.
В области наноструктурированной поверхности твердотельной мишени 5 формируют электрическое поле напряженностью не ниже 100 В/см и регистрируют спектр ионной подвижности.
Нижний предел величины напряженности электрического поля в области наноструктурированной поверхности определяется началом эффективного сбора образовавшихся ионов до 100%.
Верхний предел обусловлен появлением коронного разряда и разрушением поверхности. При увеличении напряженности поля в случае регистрации отрицательных ионов наблюдается усиление процесса лазерной десорбции или ионизации и резкое, до 5-6 раз по амплитуде и до 10 раз по площади увеличение регистрируемого сигнала ионного тока.
Формула изобретения
1. Устройство для получения и анализа ионов аналита, содержащее мишень с наноструктурированной поверхностью, средство для направления аналита к мишени, лазер, средство для выделения ионов аналита, отличающееся тем, что средство для направления аналита к мишени и средство для выделения ионов аналита выполнено в виде дрейфовой трубки, соединенной с узлом ввода проб, содержащим корпус с патрубками для забора пробы и вывода газового потока из области ионизации, в корпусе с возможностью возвратно-поступательного перемещения установлена мишень с наноструктурированной поверхностью, узел непрерывного обдува исследуемого объекта расположен вдоль оси входного и выходного патрубков, на противоположном внутреннем торце дрейфовой трубки расположен коллектор, соединенный с усилителем, выход усилителя соединен с входом компьютера.
2. Устройство для получения и анализа ионов аналита по п.1, отличающееся тем, что дрейфовая трубка выполнена в виде системы кольцевых электродов, разделенных диэлектрическими кольцами.
3. Устройство для получения и анализа ионов аналита по п.1, отличающееся тем, что узел ввода проб снабжен изолятором, внутри которого расположен металлический стакан с сеткой, и нагревательным элементом.
4. Устройство для получения и анализа ионов аналита по п.1, отличающееся тем, что лазер выполнен импульсно-периодическим, один из выходов лазера через синхронизатор соединен с входом компьютера.
5. Устройство для получения и анализа ионов аналита по п.1, отличающееся тем, что мишень снабжена узлом терморегулирования.
РИСУНКИ
|