|
|
(21), (22) Заявка: 2007118895/28, 21.05.2007
(24) Дата начала отсчета срока действия патента:
21.05.2007
(46) Опубликовано: 10.02.2009
(56) Список документов, цитированных в отчете о поиске:
US 6276983 A1, 21.08.2001. US 5378640 A1, 03.01.1995. US 4999211 A1, 12.03.1991. SU 1149812 A1, 27.08.1995. SU 77588 A, 01.11.1980.
Адрес для переписки:
630060, г.Новосибирск-60, ул. Зеленая Горка, 1, а/я 270, ЗАО “Экран ФЭП”
|
(72) Автор(ы):
Аксенов Владимир Александрович (RU)
(73) Патентообладатель(и):
ЗАО “Экран ФЭП” (RU)
|
(54) СПОСОБ ИЗГОТОВЛЕНИЯ ФОТОКАТОДА (ВАРИАНТЫ)
(57) Реферат:
Способ изготовления фотокатода включает получение стеклянного диска, имеющего плоскую входную поверхность и профилированную выходную поверхность, имеющую меньший диаметр, чем входной диаметр фотокатода, сплавление меньшего диаметра стеклянного диска с фотоэмиссионной структурой, обработку фотоэмиссионной структуры, нанесение проводящего покрытия на периферийную часть фотоэмиссионной структуры. Дополнительно производят герметичную сварку стеклянного диска с металлической оправой, наносят на металлическую оправу защитное покрытие, устойчивое к химическим веществам, используемым для обработки фотоэмиссионной структуры, а затем производят сплавление меньшего диаметра стеклянного диска с фотоэмиссионной структурой, обработку фотоэмиссионной структуры и нанесение проводящего покрытия на периферийную поверхность фотоэмиссионной структуры и на часть защитного покрытия металлической оправы. Также предложен еще один вариант способа изготовления фотокатода, согласно которому на периферийную поверхность фотоэмиссионной структуры и на цилиндрическую поверхность стеклянного диска наносят проводящее покрытие, а затем производят герметичное сочленение проводящего покрытия, нанесенного на цилиндрическую поверхность стеклянного диска с металлической оправой с использованием пластичного металла. Изобретение обеспечивает снижение себестоимости прибора за счет снижения брака путем создания надежного контакта между проводящим покрытием фотокатода, нанесенным на периферийную часть фотоэмиссионной структуры, и технологической кассетой или держателем фотокатода, без касания проводящего покрытия. 2 н.п. ф-лы, 2 ил.
Изобретение относится к фотоэлектронным приборам, а более конкретно к технологии изготовления фотокатода. Фотокатоды используются в электронно-оптических преобразователях (ЭОП), фотоэлектронных умножителях, счетчиках фотонов и других фоточувствительных приборах. Наиболее широкое применение фотокатоды находят в ЭОП, которые используются в приборах ночного видения.
Обычно фотокатод изготовляют из профилированного стеклянного диска, входной диаметр которого составляет около 30,5 мм, а выходной диаметр около 20 мм. Переход от большего диаметра к меньшему, обычно выполняют в виде цилиндра, имеющего промежуточный диаметр около 24 мм. В некоторых случаях последний переход выполняют в виде конуса с входным диаметром около 24 мм и выходным диаметром около 20 мм (патент США №6,086,944 от 11.07.2000 г.). В центральной части, на диаметре 20 мм, стеклянный диск имеет толщину примерно 5,6 мм, что связано с характеристиками оптики, используемой в приборах ночного видения. Высота входного цилиндра, диаметром 30,5 мм, обычно составляет около 2 мм. Все поверхности фотокатода должны быть обработаны с высокими требованиями к их чистоте и точности изготовления. На диаметр стеклянного диска 20 мм укладывается фотоэмиссионная структура, обычно GaAs или InGaAs, которая сплавляется с диском. Далее производят химическую обработку полученной заготовки и затем наносят проводящие покрытия на периферийную часть фотоэмиссионной структуры и на все периферийные поверхности стеклянного диска со стороны фотоэмиссионной структуры, до диаметра 30,5 мм. Затем производят активирование фотокатодов и герметизацию их с корпусной частью приборов. При проведении активирования фотокатода необходимо подать напряжение на фотоэмиссионную структуру. Подача данного напряжения производится путем подсоединения проводящего покрытия, расположенного на периферийной поверхности стеклянного диска, к выводу измерителя фототока. Т.к. данное проводящее покрытие нанесено на стекло и имеет сравнительно небольшую толщину, порядка 0,3-0,5 мкм, то его устойчивость к механическим воздействиям является недостаточной, поэтому при подсоединении к данному покрытию какого-либо контакта необходимо соблюдать меры предосторожности, чтобы не повредить проводящее покрытие. Так же необходимо иметь в виду, что герметизация фотокатода с корпусной частью прибора производится именно с этим проводящим покрытием, поэтому повреждение данного покрытия может не обеспечить герметичность сочленения фотокатода с корпусной частью прибора, что приводит к увеличению брака.
Таким образом, недостатком данного способа изготовления фотокатода является недостаточная устойчивость проводящего покрытия на периферийных поверхностях стеклянного диска к механическим воздействиям и необходимость присоединения к данному проводящему покрытию контактирующих электродов для подачи напряжений на фотоэмиссионную структуру при проведении активирования. Кроме того, данное проводящее покрытие должно герметично сочленятся с корпусной частью прибора, поэтому малейшее повреждение данного покрытия может не обеспечить герметичность прибора, что приводит к повышенному браку и повышает себестоимость изготовления прибора.
Известен, так же, способ одновременного активирования нескольких фотокатодов, изготовленных по описанному выше способу (патент США №6,086,944 от 11.07.2000 г., прототип). В соответствии с данным способом фотокатод выполнен в виде стеклянного диска, который имеет плоскую входную поверхность и профилированную выходную поверхность, имеющую меньший диаметр, чем входной диаметр фотокатода. На этот меньший диаметр наплавлена фотоэмиссионная структура. На периферийную часть фотоэмиссионной структуры и на профилированную выходную поверхность стеклянного диска нанесено проводящее покрытие, обычно выполненное способом вакуумного напыления. Это проводящее покрытие, нанесенное на периферийную часть стеклянного диска, служит для подачи напряжения на фотоэмиссионную структуру. Так же, это проводящее покрытие на периферийной части стеклянного диска, является местом сочленения фотокатода с корпусной частью прибора. В данном способе предлагается установка нескольких фотокатодов на технологическую кассету и помещение кассеты в вакуумную камеру. Соединение проводящего покрытия каждого фотокатода с электрическим вводом, другой конец которого соединен с измерителем фототока и источником питания.
Недостатком данного способа является ненадежное соединение проводящего покрытия фотокатода с технологической кассетой или держателем фотокатода и возможность повреждения проводящего покрытия фотокатода при установке его на технологическую кассету или держатель фотокатода. Действительно, в патенте США №4,999,211 от 12.03.1991 г., на который сделана ссылка в прототипе, предлагается, для обеспечения контакта и определения наличия контакта между проводящим покрытием фотокатода и держателем фотокатода, использовать достаточно сложное приспособление. Детали данного приспособления необходимо с определенным усилием придавливать к проводящему покрытию фотокатода, что может привести к повреждению данного покрытия. При его повреждении может нарушится контакт между проводящим покрытием и держателем фотокатода или технологической кассетой, что может привести к браку при проведении активирования фотокатода или при герметизации фотокатода с корпусной частью прибора, что повышает себестоимость прибора.
Задачей настоящего изобретения является создание способа изготовления фотокатода, который позволяет снизить себестоимость прибора за счет снижения брака, путем создания надежного контакта между проводящим покрытием фотокатода, нанесенным на периферийную часть фотоэмиссионной структуры и технологической кассетой или держателем фотокатода, без касания проводящего покрытия.
1. Способ изготовления фотокатода включающий, получение стеклянного диска, имеющего плоскую входную поверхность и профилированную выходную поверхность, имеющую меньший диаметр, чем входной диаметр фотокатода, сплавление меньшего диаметра стеклянного диска с фотоэмиссионной структурой, обработку фотоэмиссионной структуры, нанесение проводящего покрытия на периферийную часть фотоэмиссионной структуры выполняют следующее: дополнительно производят герметичную сварку стеклянного диска с металлической оправой, наносят на металлическую оправу защитное покрытие, устойчивое к химическим веществам, используемым для обработки фотоэмиссионной структуры, а затем производят сплавление меньшего диаметра стеклянного диска с фотоэмиссионной структурой, обработку фотоэмиссионной структуры и нанесение проводящего покрытия на периферийную поверхность фотоэмиссионной структуры, на часть цилиндрической поверхности стеклянного диска и на часть защитного покрытия металлической оправы.
2. Способ изготовления фотокатода включающий, получение стеклянного диска, имеющего плоскую входную поверхность и профилированную выходную поверхность, имеющую меньший диаметр, чем входной диаметр фотокатода, сплавление меньшего диаметра стеклянного диска с фотоэмиссионной структурой, обработку фотоэмиссионной структуры, нанесение проводящего покрытия на периферийную часть фотоэмиссионной структуры выполняют следующее: на периферийную поверхность фотоэмиссионной структуры и на цилиндрическую поверхность стеклянного диска наносят проводящее покрытие, а затем производят герметичное сочленение проводящего покрытия, нанесенного на цилиндрическую поверхность стеклянного диска с металлической оправой с использованием пластичного металла.
Предлагаемые решения, на наш взгляд, являются новыми и не следуют явным образом из уровня техники, т.к. влияние совокупности отличительных признаков на технический результат из уровня техники не известен.
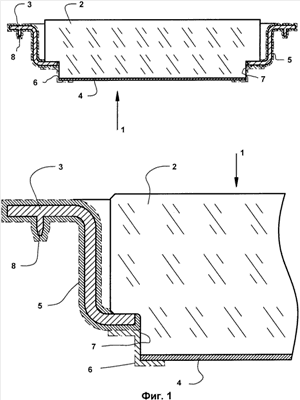
На фиг.1 схематично показан разрез фотокатода, выполненного в соответствии с настоящим изобретением, в котором герметизация выполнена способом сварки и часть увеличенного изображения разреза фотокатода. На фиг.2 схематично показан разрез фотокатода, выполненного в соответствии с настоящим изобретением, в котором герметизация выполнена с использованием пластичного металла и часть увеличенного изображения разреза фотокатода.
На фиг.1 фотокатод 1 содержит центральный стеклянный диск 2, помещенный в металлическую оправу 3. Центральный стеклянный диск 2 герметично соединен с металлической оправой 3 способом высокочастотной сварки. Выходная поверхность стеклянного диска 2 сплавлена с фотоэмиссионной структурой 4. Металлическая оправа 3 имеет защитное покрытие 5, которое устойчиво к веществам, используемым для обработки фотоэмиссионной структуры 4. Периферийная часть фотоэмиссионной структуры 4 имеет проводящее покрытие 6, которое так же нанесено на часть цилиндрической поверхности 7 центрального стеклянного диска 2 и на часть защитного покрытия 5. Проводящее покрытие 6 обычно наносится способом вакуумного напыления. Металлическая оправа 3 имеет на периферийной части цилиндрический выступ 8, высотой более 0,3 мм и толщиной более 0,1 мм, который, так же имеет защитное покрытие 5.
На фиг.2 фотокатод 1 содержит центральный стеклянный диск 2, помещенный в металлическую оправу 3. Центральный стеклянный диск 2 герметично соединен с металлической оправой 3 с использованием пластичного металла 9. Выходная поверхность стеклянного диска 2 сплавлена с фотоэмиссионной структурой 4. Периферийная часть фотоэмиссионной структуры 4 имеет проводящее покрытие 6, которое так же нанесено на цилиндрическую поверхность 7 центрального стеклянного диска 2. Проводящее покрытие 6 обычно наносится способом вакуумного напыления. Металлическая оправа 3 имеет на периферийной части цилиндрический выступ 8, высотой более 0,3 мм и толщиной более 0,1 мм.
Предлагаемый способ осуществляется путем изготовления фотокатодов, в соответствии с данными, приведенными на фиг.1 или 2. Герметизация центрального стеклянного диска 2 с металлической оправой 3 производится путем сварки, например, высокочастотной или с помощью пластичного металла 9, который помещается между внутренней цилиндрической частью металлической оправы 3 и проводящим покрытием 6 на цилиндрической поверхности 7, центральных стеклянных дисков 2. При проведении герметизации с использованием пластичного металла 9, сплавление стеклянного диска с фотоэмиссионной структурой и его последующая обработка химическими веществами может проводится до герметизации стеклянного диска с металлической оправой. Т.к. в этом случае на металлическую оправу не воздействуют химические вещества, то защитное покрытие 5 на металлической оправе можно не делать. При проведении герметизации способом сварки после проведения сварки, металлическая оправа 3 покрываются защитным покрытием 5. Затем производится сплавление фотокатода с эмиссионной структурой и обработка фотоэмиссионной структуры. Далее на периферийную часть фотоэмиссионной структуры 4 и на часть защитного покрытия 5 наносится проводящее покрытие 6, которое так же наносится на часть цилиндрической поверхности центрального стеклянного диска 2. Проводящее покрытие 6 при обоих способах герметизации обеспечивают электрическое соединение между фотоэмиссионной структурой 4 и металлической оправой 3. При проведении всех дальнейших операций подача напряжений производится на металлическую оправу 3, а к проводящему покрытию 6 больше не прикасаются, что обеспечивает ее сохранность и целостность. Герметизация фотокатода 1 с корпусной частью прибора производят путем вдавливания цилиндрического выступа 8 в пластичный металл, находящийся в детали корпусной части прибора. Т.е. при герметизации приборов к проводящему покрытию 6 так же не прикасаются, что исключает возможные дополнительные браки и снижает себестоимость изготовления прибора. Таким образом, поставленная задача полностью выполнена.
Формула изобретения
1. Способ изготовления фотокатода, включающий получение стеклянного диска, имеющего плоскую входную поверхность и профилированную выходную поверхность, имеющую меньший диаметр, чем входной диаметр фотокатода, сплавление меньшего диаметра стеклянного диска с фотоэмиссионной структурой, обработку фотоэмиссионной структуры, нанесение проводящего покрытия на периферийную часть фотоэмиссионной структуры, отличающийся тем, что дополнительно производят герметичную сварку стеклянного диска с металлической оправой, наносят на металлическую оправу защитное покрытие, устойчивое к химическим веществам, используемым для обработки фотоэмиссионной структуры, а затем производят сплавление меньшего диаметра стеклянного диска с фотоэмиссионной структурой, обработку фотоэмиссионной структуры и нанесение проводящего покрытия на периферийную поверхность фотоэмиссионной структуры и на часть защитного покрытия металлической оправы.
2. Способ изготовления фотокатода, включающий получение стеклянного диска, имеющего плоскую входную поверхность и профилированную выходную поверхность, имеющую меньший диаметр, чем входной диаметр фотокатода, сплавление меньшего диаметра стеклянного диска с фотоэмиссионной структурой, обработку фотоэмиссионной структуры, нанесение проводящего покрытия на периферийную часть фотоэмиссионной структуры, отличающийся тем, что на периферийную поверхность фотоэмиссионной структуры и на цилиндрическую поверхность стеклянного диска наносят проводящее покрытие, а затем производят герметичное сочленение проводящего покрытия, нанесенного на цилиндрическую поверхность стеклянного диска, с металлической оправой с использованием пластичного металла.
РИСУНКИ
|
|