|
|
(21), (22) Заявка: 2007108906/09, 12.03.2007
(24) Дата начала отсчета срока действия патента:
12.03.2007
(43) Дата публикации заявки: 20.09.2008
(46) Опубликовано: 10.02.2009
(56) Список документов, цитированных в отчете о поиске:
RU 501122 U1, 22.12.2005. RU 45638 U1, 27.05.2005. RU 11911 U1, 16.11.1999. RU 47539 U1, 27.08.2005. RU 2053827 C1, 10.02.1996. RU 2147451 C1, 20.04.2000. RU 61917 U1, 10.03.2007. GB 2417430 A, 10.03.2006.
Адрес для переписки:
300034, г.Тула, ул.Революции,35,кв.130, пат.пов. Г.М.Колебошину, рег.№ 855
|
(72) Автор(ы):
Барановский Анатолий Валентинович (RU), Горбунова Юлия Николаевна (RU), Козлов Юрий Петрович (RU), Матасов Федор Васильевич (RU), Медведева Людмила Николаевна (RU), Пронин Леонид Львович (RU), Тарасов Дмитрий Геннадьевич (RU)
(73) Патентообладатель(и):
Барановский Анатолий Валентинович (RU), Горбунова Юлия Николаевна (RU), Козлов Юрий Петрович (RU), Матасов Федор Васильевич (RU), Медведева Людмила Николаевна (RU), Пронин Леонид Львович (RU), Тарасов Дмитрий Геннадьевич (RU)
|
(54) СПОСОБ ПРОВЕДЕНИЯ ТИРАЖНОЙ ЛОТЕРЕЙНОЙ ИГРЫ И ТИРАЖНАЯ ИГРОВАЯ ЛОТЕРЕЙНАЯ СИСТЕМА ДЛЯ ЕГО ОСУЩЕСТВЛЕНИЯ
(57) Реферат:
Изобретение относится к играм с дистанционным доступом и может применяться в способах и системах цифровой аудиовизуальной передачи и приема данных. Способ проведения тиражной лотерейной игры включает регистрацию клиента в тиражном центре, внесение клиентом денежных средств за участие в игре, осуществление клиентом выбранной игры путем направления конкретной игровой комбинации, определение, по меньшей мере, одной выигрышной комбинации и выплату выигрышей. Определение выигрышной комбинации производят с помощью генератора случайных чисел лотерейного оборудования, при этом в тиражном центре осуществляют ведение баз данных по зарегистрированным клиентам, хранят информацию о проведенных тиражах и осуществляют вывод сигналов в эфир и на пункты выплаты выигрышей. Тиражная игровая лотерейная система включает тиражный центр, выполненное с возможностью обмена данными с ним лотерейное оборудование, систему приема ставок, соединенную с тиражным центром. Система может быть снабжена соединенным с возможностью обмена данными с тиражным центром видеосервером и системой регистрации новых клиентов или, по меньшей мере, одним пунктом приема-выдачи денежных средств и соединенной с видеосервером системой автоматизации эфира. Тиражный центр содержит базу данных, соединенные с ней управляющий модуль с административным интерфейсом, модуль обработки SMS, интерфейс приема лотерейных ставок через Интернет, модуль удаленного приема наличности, интерфейс приема наличности, интерфейс выдачи наличности, интерфейс ручного ввода регистрационных данных новых клиентов. Техническим результатом является обеспечение круглосуточного процесса игры и расширение функциональных возможностей игровой системы путем увеличения количества пользователей и схем доступа к процессу игры. 2 н. и 4 з.п. ф-лы, 1 ил.
Изобретение относится к играм с дистанционным доступом и может применяться в способах и системах цифровой аудиовизуальной передачи и приема данных.
Известен способ проведения электронной игры, заключающийся в том, что предварительно снабжают игровое устройство средством записи-считывания данных в памяти интеллектуальной карты, выбирают на электронном игровом устройстве одну из игр, осуществляют ее и запоминают данные о ее результате посредством записи в память интеллектуальной карты с помощью упомянутого средства записи-считывания данных в памяти интеллектуальной карты, отличающийся тем, что в уполномоченном кредитном учреждении записывают в память интеллектуальной карты по меньшей мере значение начального кредита для выбранной игры, считывают по меньшей мере значение начального кредита для выбранной игры из памяти интеллектуальной карты, после чего и осуществляют выбранную игру, данные о результате которой по меньшей мере по окончании этой игры записывают в память интеллектуальной карты с помощью упомянутого средства записи-считывания данных в памяти интеллектуальной карты и предъявляют данную интеллектуальную карту в уполномоченном платежном учреждении для получения причитающегося по результатам данной игры вознаграждения (см. описание изобретения к патенту РФ № 2105586, МПК6 A63F 9/22, A63F 9/24, G06 F15/00, опубл. 27.02.1998 г.).
Известный способ не получил распространения из-за его функциональной ограниченности, заключающейся в необходимости приобретения и предъявления затем в случае выигрыша специальной интеллектуальной карты.
Известен способ управления интерактивной системой для игры и аудиовизуальной передачи, включающий считывание подписной карты, содержащей зрительские права доступа; прием передаваемых аудиовизуальных данных о некотором событии, а также прием от центрального игрового вычислительного средства игровых данных, имеющих отношение к данному событию; взаимодействие с банковской карточкой пользователя для считывания с нее данных и передача данных, сгенерированных банковской карточкой пользователя, через коммуникационный сервер в банковский сервер, содержащий банковский счет пользователя, для кредитования в ответ на указанные данные игрового счета, который открыт на упомянутом центральном игровом вычислительном средстве, после перечисления средств с банковского счета пользователя, так что последующие игровые транзакции будут осуществляться с центральным игровым вычислительным средством (см. описание изобретения к патенту РФ № 2236701, МПК7 G06F 17/00, G06F 161:00, опубл. 20.09.2004 г.).
Известна интерактивная игровая система, включающая в себя центральное игровое вычислительное средство для обработки игровых данных и приемник/декодер, выполненный с возможностью приема передаваемых аудиовизуальных данных о некотором событии, а также приема игровых данных от упомянутого центрального игрового вычислительного средства, передающее средство для передачи в приемник/декодер упомянутых аудиовизуальных данных, причем упомянутый приемник/декодер содержит первое устройство считывания карт для подписной карты, содержащей зрительские права доступа и второе устройство считывания карт для взаимодействия с банковской карточкой пользователя для считывания с нее данных; модем для передачи данных, сгенерированных банковской карточкой пользователя, через коммуникационный сервер в банковский сервер, содержащий банковский счет пользователя для кредитования в ответ на указанные данные игрового счета, который открыт на упомянутом центральном игровом вычислительном средстве, после перечисления средств с банковского счета пользователя, так что последующие игровые транзакции будут выполняться приемником/декодером и центральным игровым вычислительным средством.
Кроме того, коммуникационный сервер выполнен с возможностью осуществления обмена данных с упомянутым центральным игровым вычислительным средством, которое выполнено с возможностью принимать и передавать платежную информацию от банковского сервера и на него через сетевой коммуникационный канал (см. описание изобретения к патенту РФ № 2236701, МПК7 G06F 17/00, G06F 161:00, опубл. 20.09.2004 г.).
Известные способ и интерактивная игровая система созданы и предназначены в основном для принятия и розыгрыша ставок на результаты спортивных состязаний с помощью телекоммуникационных (спутниковых) систем и имеют ограниченные функциональные возможности ввиду, во-первых, ограниченного количества лиц, имеющих доступ к спутниковому телевидению, во-вторых, ограниченного количества лиц, имеющих банковские счета, и ограниченного времени игрового процесса.
С развитием систем мобильной телефонной связи, глобальной информационной сети Интернет число пользователей может многократно возрасти.
Задачей и техническим результатом заявляемого изобретения являются обеспечение круглосуточного процесса игры и расширение функциональных возможностей игровой системы путем увеличения количества пользователей и схем доступа к процессу игры.
Указанный технический результат достигается тем, что в способе проведения тиражной лотерейной игры, включающем регистрацию клиента в тиражном центре, внесение клиентом денежных средств за участие в игре, осуществление клиентом выбранной игры путем направления конкретной игровой комбинации, определение, по меньшей мере, одной выигрышной комбинации и выплату выигрышей, определение выигрышной комбинации производят с помощью генератора случайных чисел лотерейного оборудования, при этом в тиражном центре осуществляют ведение баз данных по зарегистрированным клиентам, хранят информацию о проведенных тиражах и осуществляют вывод сигналов в эфир и на пункты выплаты выигрышей.
Кроме того, вывод сигналов в эфир производят посредством видеосервера.
Кроме того, внесение денежных средств за участие в игре производят в приемном пункте организатора игры с помощью веб-интерфейса посредством Интернет или карт оплаты с помощью SMS-сообщений или с использованием платежных систем.
Кроме того, направление игровой комбинации клиентом производится с помощью SMS-сообщений на определенный телефонный номер или с помощью Интернет.
Кроме того, видеосервер предназначен для вывода видеорядов в виде сигнала с монитора видеосервера или сигнала через S-видео.
Указанный технический результат также достигается тем, что в тиражной игровой лотерейной системе, включающей тиражный центр, выполненное с возможностью обмена данными с ним лотерейное оборудование, систему приема ставок, соединенную с тиражным центром, система снабжена соединенным с возможностью обмена данными с тиражным центром видеосервером и системой регистрации новых клиентов.
Кроме того, тиражная игровая лотерейная система может быть снабжена соединенным с возможностью обмена данными с тиражным центром, по меньшей мере, одним пунктом приема-выдачи денежных средств и соединенной с видеосервером системой автоматизации эфира.
Кроме того, тиражный центр содержит базу данных, соединенные с ней управляющий модуль с административным интерфейсом, модуль обработки SMS, интерфейс приема лотерейных ставок через Интернет, модуль удаленного приема наличности, интерфейс приема наличности, интерфейс выдачи наличности, интерфейс ручного ввода регистрационных данных новых клиентов, модуль коммуникации с лотерейным оборудованием, модуль формирования призового фонда распределения выигрыша, модуль коммуникации с видеосервером, интерфейс отчетности и статистики и соединенный через модуль архива SMS с модулем обработки SMS интерфейс просмотра архивных SMS.
Кроме того, лотерейное оборудование включает модуль коммуникации с тиражным центром, соединенным с возможностью обмена данными с генератором случайных чисел, который соединен с возможностью обмена данными с интерфейсом ручного запроса чисел.
Кроме того, видеосервер содержит модуль коммуникации с тиражным центром, соединенный с возможностью обмена данных с управляющим модулем, соединенным с базой видеороликов и интерфейсом вывода в эфир.
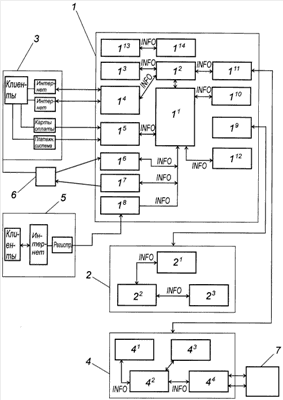
Заявленные способ и система иллюстрируются схемой, на которой представлены тиражный центр 1, лотерейное оборудование 2, систему приема ставок, видеосервер 4, систему 5 регистрации новых клиентов, пункты приема-выдачи денежных средств и систему 7 автоматизации эфира.
Тиражный центр 1 включает в себя базу данных 11, управляющий модуль 12 с административным интерфейсом, модуль обработки SMS 13, интерфейс приема лотерейных ставок через Интернет 14, модуль удаленного приема наличности 15, интерфейс приема наличности 16, интерфейс выдачи наличности 17, интерфейс ручного ввода регистрационных данных новых клиентов 18, модуль 19 коммуникации с лотерейным оборудованием, модуль 110 формирования призового фонда распределения выигрыша, модуль 111 с видеовервером, модуль 112 отчетности и статистики, модуль 113 архива SMS, интерфейс 114 просмотра архивных SMS.
Лотерейное оборудование 2 включает модуль 21 коммуникации с тиражным центром, генератор случайных чисел 22, интерфейс ручного запроса чисел 23.
Система приема ставок 3 выполнена с возможностью отправки лотерейных ставок с помощью передачи SMS-сообщений с сотовых телефонов на модуль 13 обработки SMS тиражного центра 1, или с возможностью отправки лотерейных ставок с сотовых телефонов или компьютеров посредством Интернет на интерфейс 14 приема лотерейных ставок через Интернет тиражного центра 1, или с помощью банкоматов и платежных систем на модуль 15 удаленного приема наличности.
Видеосервер 4 включает модуль 41 коммуникации с тиражным центром 1, управляющий модуль 42, базу видеороликов 43 и интерфейс 44 выхода в эфир.
Видеосервер посредством интерфейса 44 соединяется с системой автоматизации эфира 7.
Система регистрации новых клиентов 5 включает компьютер, соединенный через Интернет с интерфейсом 18 ручного ввода новых клиентов.
Пункты приема-выдачи денежных средств выполнены с возможностью обмена данными с интерфейсом 16 приема и интерфейсом 17 выдачи наличности.
Блоки 11 и 12, l1 и 110, 12 и 111, 11 и 112, 11 и 16, 11 и 17, 12 и 14, 12 и 13, 13 и 113, 113 и 114, 21 и 22, 22 и 23, 41 и 42, 42 и 43 связаны между собой с возможностью обмена данными.
Тиражная игровая лотерейная система работает следующим образом.
Осуществление регистрации клиента в базе данных 1 тиражного центра 2 происходит после заключения договора, содержащего персональные данные клиента и номер его мобильного телефона. Регистрация клиента в базе данных тиражного центра может осуществляться в пункте организатора лотерей (игр) через веб-интерфейс тиражного центра посредством Интернет-канала. После заключения данного договора клиент может вносить денежные средства в качестве платы за участие в лотерее или иной игре. Денежные средства могут вноситься на игровой лицевой счет клиента в приемном пункте (кассе) организатора с помощью веб-интерфейса посредством Интернета, карт оплаты (направление кода карты с помощью SMS), платежных терминалов и иными способами оплаты. Когда денежные средства внесены на игровой счет, участник лотереи может направлять игровые комбинации для участия в лотерее за счет внесенных денежных средств.
Клиент также может оформить заключение договора путем приобретения лотерейной карточки, лотерейного билета, игрового купона или другого документа, имеющих один или несколько кодов, обеспечивающих доступ к участию в лотерее. Данный код также обеспечивает идентификацию конкретной игровой комбинации (лотерейной ставки) при проведении лотереи и указывается участником лотереи в «теле» SMS-сообщения при направлении игровой комбинации (лотерейной ставки) на тиражный центр. Игровые коды, которые может приобрести клиент путем покупки лотерейной карточки (лотерейного билета, игрового купона и т.д.), уже зарегистрированы в базе данных, и лицо, их получившее, может участвовать в лотерее (игре) без какой-либо регистрации.
Выплата денежных средств клиенту происходит в пунктах выплаты выигрышей. Клиент посредством направления SMS-сообщения может узнать состояние баланса своего игрового счета или счета выигрышей, а также запрашивать посредством SMS-сообщений инструкции по порядку направления лотерейных ставок.
Направление лотерейных ставок может происходить с помощью SMS-сообщений на определенный организатором лотереи телефонный номер или посредством Интернет.
Тиражный центр осуществляет принятие игровых комбинаций, формирование (определение) размера призового фонда, передачу запроса на лотерейное оборудование о генерации случайным образом выигрышных игровых комбинаций, определение выигравших лотерейных ставок среди лотерейных ставок, участвующих в тираже, определение размена выигрыша лотерейной ставки в тираже, передачу команд на видеосервер для передачи в эфир видеорядов игровой программы, ведение базы данных по зарегистрированным участникам лотереи или игровым кодам, хранение всей информации о проведенных тиражах и вывод данной информации, иные функции, связанные с обработкой игровой информации.
Лотерейное оборудование (компьютерное оборудование, оснащенное лотерейной программой) осуществляет проведение розыгрыша призового фонда тиража путем определения выигрышных игровых комбинаций с использованием генератора случайных чисел.
Лотерейное оборудование может быть соединено сетью (витая пара) с тиражным центром и по запросу тиражного центра генерирует случайные числа. Запрос тиражного центра на получение случайных чисел можно передавать вручную – без соединения сетью (витой парой) с лотерейным оборудованием.
Видеосервер можно устанавливать на любых системах телевизионного вещания, в общественных местах, общественном транспорте, игровых залах и т.д.
Таким образом, видеосервер позволяет внедрить новую технологию распространения видеосигнала.
С помощью видеосервера можно внедрить в игровые залы лотерейные терминалы (аналог игровых автоматов). Видеосервер служит для вывода видеорядов по различным параметрам (например, сигнал с монитора видеосервера или вывод через S-video и т.д.). Видеосервер соединен посредством Интернета с тиражным центром обработки данных, соединение позволяет принимать видеосервером запросы на вывод определенного видеоряда в эфир и отправлять ответы тиражному центру.
Система автоматизации эфира принимает сигнал от видеосервера, может осуществлять врезку рекламных роликов и других телепередач, выдачу оконечного сигнала по четкому расписанию.
Также для распространения лотерей (игр) может использоваться:
– распространение (продажа) дисков с игровой программой;
– установка игровой программы на компьютере, подключенном к Интернету. В момент запуска игровой программы происходит взаимодействие программы и программно-аппаратного комплекса, лотерейное оборудование которого проводит розыгрыш призового фонда тиража лотереи (игры), в результате чего происходит фактическая замена телевизора компьютером;
– распространение (продажа) дисков с игровой программой для сотовых телефонов;
– установка игровой программы на сотовом телефоне, имеющем функцию подключения к Интернету. В момент запуска игровой программы происходит взаимодействие программы и программно-аппаратного комплекса, лотерейное оборудование которого проводит розыгрыш призового фонда тиража лотереи, в результате чего происходит замена телевизора сотовым телефоном.
Формула изобретения
1. Способ проведения тиражной лотерейной игры, включающий регистрацию клиента в тиражном центре, внесение клиентом денежных средств за участие в игре, осуществление клиентом выбранной игры путем направления конкретной игровой комбинации, определение, по меньшей мере, одной выигрышной комбинации и выплату выигрышей, отличающийся тем, что определение выигрышной комбинации производят с помощью генератора случайных чисел лотерейного оборудования, при этом в тиражном центре осуществляют ведение баз данных по зарегистрированным клиентам, хранят информацию о проведенных тиражах и осуществляют вывод сигналов в эфир и на пункты выплаты выигрышей посредством видеосервера, внесение денежных средств за участие в игре производят с помощью веб-интерфейса посредством Интернет или карт оплаты с помощью SMS или с использованием платежных систем, а направление игровой комбинации клиентом производится с помощью SMS-сообщений на определенный телефонный номер или с помощью Интернет.
2. Способ проведения тиражной лотерейной игры по п.1, отличающийся тем, что с помощью видеосервера осуществляют вывод видеорядов в виде сигнала с монитора видеосервера или сигнала через S-видео.
3. Тиражная игровая лотерейная система для осуществления способа проведения тиражной лотерейной игры, включающая тиражный центр, выполненное с возможностью обмена данными с ним лотерейное оборудование, систему приема ставок, соединенную с тиражным центром, отличающаяся тем, что она снабжена соединенным с возможностью обмена данными с тиражным центром видеосервером и системой регистрации новых клиентов и соединенным с возможностью обмена данными с тиражным центром, по меньшей мере, одним пунктом приема-выдачи денежных средств и соединенной с видеосервером системой автоматизации эфира.
4. Тиражная игровая лотерейная система по п.3, отличающаяся тем, что тиражный центр содержит базу данных, соединенные с ней управляющий модуль с административным интерфейсом, модуль обработки SMS, интерфейс приема лотерейных ставок через Интернет, модуль удаленного приема наличности, интерфейс приема наличности, интерфейс выдачи наличности, интерфейс ручного ввода регистрационных данных новых клиентов, модуль формирования призового фонда распределения выигрыша, модуль коммуникации с лотерейным оборудованием, модуль коммуникации с видеосервером, интерфейс отчетности и статистики и соединенный через модуль архива SMS с модулем обработки SMS интрфейс просмотра архива SMS.
5. Тиражная игровая лотерейная система по п.3, отличающаяся тем, что лотерейное оборудование включает модуль коммуникации с тиражным центром, соединенным с возможностью обмена данными с генератором случайных чисел, который соединен с возможностью обмена данными с интерфейсом ручного запроса чисел.
6. Тиражная игровая лотерейная система по п.3, отличающаяся тем, что видеосервер содержит модуль коммуникации с тиражным центром, соединенный с возможностью обмена данных с управляющим модулем, соединенным с базой видеороликов и интерфейсом вывода в эфир.
РИСУНКИ
|
|