|
|
(21), (22) Заявка: 2007122535/28, 15.06.2007
(24) Дата начала отсчета срока действия патента:
15.06.2007
(46) Опубликовано: 10.02.2009
(56) Список документов, цитированных в отчете о поиске:
US 4080826 А, 28.03.1978. US 6216382 B1, 17.04.2001. RU 14674 U1, 10.08.2000. SU 33325 A1, 30.11.1933. GB 2317422 А, 25.03.1998. US 5085075 А, 04.02.1992. US 5065622 A, 19.11.1991.
Адрес для переписки:
600000, г.Владимир, ул. Б. Нижегородская, 77, ЗАО “ЭКЛИП”, О.А.Фридману
|
(72) Автор(ы):
Никитин Валерий Васильевич (RU), Панкратов Алексей Викторович (RU), Фридман Олег Андреевич (RU)
(73) Патентообладатель(и):
Закрытое акционерное общество “ЭКЛИП” дочернее общество открытого акционерного общества “Полимерсинтез” (RU)
|
(54) ФЛЮГЕР
(57) Реферат:
Изобретение относится к области метеорологии и может найти применение при создании приборов для контроля направления ветра. Флюгер включает турбинку и противовес, закрепленные на оси, вращающейся в горизонтальной плоскости, при этом в качестве материала турбинки применен окрашенный листовой пенополиэтилен с кажущейся плотностью 80,0-100,0 кг/м3. При частном случае осуществления изобретения турбинку флюгера выполняют в виде 2-6 вертушек, расположенных на одной оси попарно на расстоянии, соответствующем отношению высоты вертушки к расстоянию между вертушками, равном 2,7-3,15. Также вертушки турбинки, расположенные на одной оси попарно на заданном расстоянии, выполненные из указанного материала, могут быть окрашены в так называемые дополнительные цвета спектра, т.е. цвета, которые при физическом смешивании или оптическом наложении образуют новый цвет. Кроме того, турбинка и вертушки могут быть выполнены из листа пенополиэтилена в форме квадрата, углы которого рассечены по диагонали, а углы кроя сложены внахлест по часовой или против часовой стрелки. Технический результат – снижение массы турбинки флюгера, повышение чувствительности флюгера к воздействию потока ветра, возможность безопасного монтажа и использования флюгера на низких высотах. 4 з.п. ф-лы, 3 ил.
Изобретение относится к области метеорологии и может найти применение при создании приборов для контроля направления ветра.
Современное разнообразие конструкций флюгеров и особенности их применения формируют новые задачи по поиску новых оригинальных материалов. Одним из решений подобных задач является создание и применение полимерных материалов, рационально сочетающих необходимые технологические, эксплуатационные и некоторые другие характеристики.
Известна конструкция флюгера по заявке Великобритании №2317422 (опубл. 1998 г.), включающая несколько (в частности, четыре) элементов турбинки, выполненных из бумаги или фольги, жестко закрепленных на осях, которые, в свою очередь, закреплены симметрично развернутыми на вращающейся оси. Недостатком указанной конструкции является низкая атмосферостойкость материала турбинки и недолговечность конструкции.
Большую популярность в последние годы приобрела идея создания декоративных флюгеров.
Известен декоративный флюгер для антенны, выполненный в виде стилизованного изображения петуха, по патенту Франции №2705151 (опубл. 1995 г.). Известен декоративный флюгер, выполненный в виде стилизованного изображения бегущей птицы, по патенту США №5085075 (опубл. 1992 г.). Известен флюгер по патенту США №5065622 (опубл. 1991 г.), выполненный в виде стрелы, расписанной флюоресцентными красками. К недостаткам указанных конструкций можно отнести отсутствие выбора конкретного материала, обеспечивающего высокую чувствительность флюгера, его высокую атмосферостойкость.
Наиболее близким изобретением к заявляемому является флюгер для парусных лодок по патенту США №4080826 (опубл. 1978 г.), включающий турбинку и противовес, закрепленные на оси, вращающейся в горизонтальной плоскости. К недостаткам технического решения, выбранного за прототип, можно также отнести отсутствие выбора конкретного материала турбинки, обеспечивающего высокую чувствительность флюгера, его высокую атмосферостойкость, а также отсутствие оригинальных декоративных эффектов.
Суть изобретения заключается в следующем.
Технической задачей, на решение которой направлено заявленное изобретение, является подбор материала турбинки флюгера.
Техническим результатом заявленного изобретения является снижение массы турбинки флюгера, повышение чувствительности флюгера к воздействию потока ветра, возможности безопасного монтажа и работы флюгера на низких высотах, а при частных случаях осуществления изобретения – достижение оригинальных декоративных эффектов.
Указанный технический результат достигается за счет применения в конструкции флюгера, включающего турбинку и противовес, закрепленные на оси, вращающейся в горизонтальной плоскости, в качестве материала турбинки – окрашенного листового пенополиэтилена с кажущейся плотностью 80,0-100,0 кг/м3. При частном случае осуществления изобретения турбинку флюгера выполняют в виде 2-6 вертушек, расположенных на одной оси попарно на расстоянии, соответствующем отношению высоты вертушки к расстоянию между парой вертушек, равном 2,7-3,15. Наилучшим вариантом осуществления изобретения является исполнение флюгера, при котором вертушки турбинки, расположенные на одной оси попарно на заданном расстоянии, выполненные из указанного материала, окрашены в так называемые дополнительные цвета спектра, т.е. цвета, которые при физическом смешивании или оптическом наложении образуют новый цвет. Форма турбинки и вертушек может быть разнообразной: в виде набора отдельных лопастей, цельнокроенных пропеллеров и т.д., однако преимущественной конструкцией турбинки и вертушек является форма квадрата, углы которого рассечены по диагонали, а углы кроя сложены внахлест по часовой или против часовой стрелки.
Выбор окрашенного листового пенополиэтилена с кажущейся плотностью 80,0-100,0 кг/м3 обусловлен его эксплуатационными и физико-химическими свойствами, а именно: сочетанием оптимальной легкости, прочности и эластичности, наличием так называемого “каркасного эффекта”, необходимого при крое турбинки и вертушек (особенно при частном случае реализации изобретения), хорошей окрашиваемостью, атмосферостойкостью, безопасностью материала при возможном срыве флюгера порывом ветра, при контакте человека с вращающейся турбинкой, что определяет возможность его монтажа на низких высотах (заборы, невысокие шесты и т.д.) и безусловно важно при декорировании пространства.
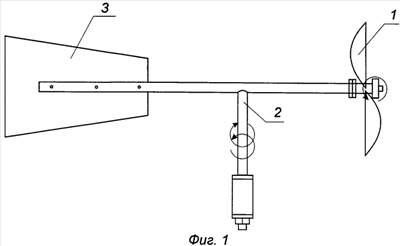
На фиг.1 представлено схематичное изображение общего вида флюгера, включающего турбинку 1, вращающуюся ось 2, противовес 3.
На фиг.2 представлено схематичное изображение общего вида флюгера при частном случае исполнения, включающего турбинку, выполненную из пары вертушек 1а и 1б, вращающуюся ось 2, противовес 3.
На фиг.3 представлено схематичное изображение общего вида турбинки (вертушки) в развернутом состоянии в соответствии с п.5 формулы изобретения.
Флюгер работает следующим образом. При воздействии на флюгер воздушного потока турбинка 1 приходит во вращательное движение, поворачивая ось 2 в соответствии с направлением воздушного потока; противовес 3 указывает направление воздушного потока. При частном случае осуществления изобретения, а именно при окрашивании вертушек турбинки 1а и 1б при их выполнении в попарном варианте в дополнительные цвета спектра (например, в зеленый и желтый), появляется следующий оригинальный декоративный эффект: быстрое вращение вертушек 1а и 1б приводит к эффекту наложения указанных цветов с появлением нового цвета (в данном случае синего); при останове вертушек указанный оптический эффект исчезает.
Для осуществления изобретения могут быть использованы любые марки окрашиваемых пенополиэтиленов с кажущейся плотностью 80,0-100,0 кг/м3 – это физически и химические сшитые пенополиэтилены.
Библиографические данные
1. Заявка Великобритании №2317422 (опубл. 1998 г.).
2. Патент Франции №2715151 (опубл. 1995 г.).
3. Патент США №5085075 (опубл. 1992 г.).
4. Патент США №5065622 (опубл. 1991 г.).
5. Патент США №4080826 (опубл. 1978 г.) – прототип.
Формула изобретения
1. Флюгер, включающий турбинку и противовес, закрепленные на оси, вращающейся в горизонтальной плоскости, отличающийся тем, что турбинка выполнена из окрашенного листового пенополиэтилена с кажущейся плотностью 80,0-100,0 кг/м3.
2. Флюгер по п.1, отличающийся тем, что турбинка выполнена в виде 2-6 вертушек, расположенных на вращающейся оси попарно на расстоянии, соответствующем отношению высоты вертушки к расстоянию между парными вертушками в интервале, равном 2,7-3,15.
3. Флюгер по п.2, отличающийся тем, что каждая из пары вертушек выполнена из указанного пенополиэтилена различного цвета.
4. Флюгер по п.3, отличающийся тем, что цвета, в которые окрашены вертушки, являются дополнительными цветами спектра.
5. Флюгер по пп.1 и 2, отличающийся тем, что турбинка и вертушки выполнены из листа пенополиэтилена, имеющего форму квадрата с рассеченными по диагонали углами, а углы кроя сложены внахлест по часовой или против часовой стрелки.
РИСУНКИ
|
|