Изобретение относится к измерительной технике, в частности к приборам измерения переменного и постоянного тока с использованием цифровой измерительной техники, преимущественно при напряжениях от 10 до 1500 кВ. Сущность: оптоэлектронное устройство для измерения тока содержит датчик тока, аналого-цифровой преобразователь и передатчик, помещенные внутрь токопровода под потенциалом высокого напряжения, и передает информацию о величине измеряемого тока в цифровом виде по оптическому каналу. Технический результат заключается в упрощении конструкции прибора, уменьшении массогабаритных показателей, увеличении точности измерений и увеличении надежности эксплуатации в части высоковольтной изоляции, защиты цифровой измерительной части от импульсных электромагнитных помех и погрешностей, связанных с неравномерным нагревом. 2 ил.
Область техники
Изобретение относится к измерительной технике, в частности к цифровым приборам измерения переменного и постоянного тока, преимущественно при напряжениях от 10 до 1500 кВ.
Технический результат заключается в упрощении конструкции прибора, уменьшении массогабаритных показателей, увеличении точности измерений и увеличении надежности эксплуатации в части высоковольтной изоляции, исключении влияния термических градиентов. Устройство позволяет произвести точное измерение переменного или постоянного тока путем непосредственного замера падения напряжения на шунте под потенциалом высокого или сверхвысокого напряжения с последующей передачей полученной информации на потенциал земли в цифровом виде.
Предшествующий уровень техники
Переменный ток высокого напряжения традиционно измеряется индукционными трансформаторами тока. Эти трансформаторы используются только как датчики, масштабно трансформирующие силу тока. Обычно они имеют первичную обмотку и несколько вторичных обмоток для релейной защиты, измерений и коммерческого учета. Обмотки имеют гальваническую развязку. Первичная обмотка находится под высоким потенциалом измеряемого тока, а один из выводов вторичных обмоток находится под потенциалом земли. О величине тока судят по величине напряжения (обычно до 100 Вольт при токе до 5А) на выводах вторичных обмоток. Замеры на вторичной обмотке проводятся с использованием аппаратуры, установленной на расстоянии от токопровода, обычно в здании станции. Вторичные обмотки изолируются от первичной на величину напряжения, которое может возникнуть при перенапряжениях в результате коммутаций или попадания молнии. Например, для класса напряжения 110 кВ – это напряжение составляет 460 кВ, а для оборудования 220 кВ – более 1 миллиона Вольт. Таким образом, изоляционные расстояния между обмотками измерительных индукционных трансформаторов тока с ростом напряжения для обеспечения изоляции значительно увеличиваются, масса трансформаторов тока при этом увеличивается в квадрате.
Учитывая, что основной рост массы изоляторов связан не с измеряемым током, а с уровнем напряжения в измеряемой цепи, в настоящее время считается перспективным применение устройств измерения тока на основе эффекта Фарадея. Эффект Фарадея заключается во вращении плоскости поляризации линейно поляризованного света в оптически активных веществах под действием магнитного поля. Измеряя угол поворота плоскости поляризации света, можно определить индукцию магнитного поля или силу тока, если преобразователь поместить в магнитном поле измеряемого тока. Как и в других методах, основанных на измерении магнитной индукции поля, создаваемого измеряемым током, при использовании эффекта Фарадея основными составляющими погрешности измерения тока являются погрешность преобразования измеряемого тока в магнитную индукцию и погрешность измерения магнитной индукции. При использовании эффекта Фарадея измерение магнитной индукции сводится к измерению поворота плоскости поляризации света, которое обычно осуществляют методами прямого или уравновешивающего преобразования. На этом эффекте работают следующие устройства: RU 2208798, RU 2223512, RU 2120128, RU 2262709, SU 1337782 и др.
При использовании ячеек Фарадея в качестве датчиков тока достаточно просто решается задача высоковольтной изоляции датчика и объекта измерения от потенциала земли и места использования результатов измерения, так как оптическое излучение, несущее информацию об измеряемом токе, не проводит электричество. Но при этом возникает большое количество преобразований измеряемых величин, ведущих к ухудшению точности измерения: величину первичного тока в шине косвенно измеряют по величине магнитного поля вокруг шины; величину магнитного поля измеряют по углу отклонения поляризации света в ячейке Фарадея; угол отклонения поляризации измеряют по величине освещенности после прохождения светом пластинки с перпендикулярным углом поляризации; освещенность измеряют по величине напряжения на выводах фотоэлектрического преобразователя; информация о напряжении на выходе фотоэлектронного преобразователя преобразуется в цифровой код в аналого-цифровом преобразователе и используется для нужд измерения, учета и автоматики. При каждом преобразовании погрешность умножается и в конце может составлять значительную величину. Кроме того, метод очень чувствителен к изменению температуры, вибрации, магнитным шумам и наводкам от близко расположенных шин токопроводов соседних фаз или от работы других механизмов и устройств рядом с местом измерения. Неоспоримым достоинством метода является высокий уровень электрической изоляции, при этом диэлектрическое расстояние между датчиком, находящимся под высоким потенциалом, и регистрирующим блоком может быть сколь угодно большим. Увеличение при необходимости уровня электрической изоляции (диэлектрического расстояния) не требует увеличения затрат и изменения конструкции.
Основное достоинство устройств на основе эффекта Фарадея, связанное с высоковольтной изоляцией, вытекает не из способа регистрации величины тока, а из способа передачи информации о величине тока с высоковольтного потенциала на потенциал земли с помощью светового луча. Это реализовано, в частности, в устройствах а.с. №354353, SU 1437786, SU 1597745, RU 2171996. В этих устройствах измеряемый ток в проводе возбуждает магнитное поле вокруг, которое воспринимается вторичной обмоткой трансформатора тока. Во всех этих устройствах используется электромагнитный способ регистрации величины проходящего тока. Напряжение вторичной обмотки в аналоговом виде поступает на светоизлучающий блок (обычно, светодиод), который передает излучение на фотоэлектронный датчик, при этом мощность излучения пропорциональна величине напряжения на вторичной обмотке. Измеряя напряжение на фотоэлектрическом датчике, получаем информацию о силе измеряемого тока в первичной обмотке (шине). Основным недостатком всех устройств такого рода также остается большое количество трансформаций и, как следствие, высокая результирующая погрешность измерения. При этом не устраняются другие недостатки, связанные с чувствительностью датчиков к вибрации, температуре, к влиянию окружающих магнитных полей и др. Дополнительно появляется погрешность, связанная с изменением пропускной способности оптической системы в результате воздействия времени, погодных условий и самого излучения.
Для компенсации погрешностей, связанных с изменениями температуры, в устройстве SU 1310735 применен делитель с параллельными ветвями цепи: измерительной и шунтовой. Учитывая, что шунт находится внутри токопровода измерительной цепи, он имеет одинаковый с измерительной цепью температурный дрейф проводимости и, соответственно, компенсирует возможную погрешность измерения из-за изменения температуры в широких пределах. Однако в устройстве SU 1310735 применен магнитомодуляционный преобразователь, основанный на магнитной индукции, возникающей вокруг шунтирующего участка цепи при прохождении по нему тока. С помощью магнитомодуляционного преобразователя достигается гальваническая развязка между токопроводом и измерительной цепью. Тем не менее, такое устройство невозможно применить для высоковольтных измерений, так как рабочее напряжение ограничено электрической прочностью изоляции магнитомодуляционного преобразователя.
В других устройствах для устранения погрешности, возникающей в тракте передачи информации по световому лучу, в частности для устранения температурных зависимостей силы излучения, изменения пропускной способности оптического канала и т.д., информационный сигнал необходимо передавать в цифровом кодированном виде. Это реализовано в устройстве RU 2166218, которое является наиболее близким прототипом заявляемого устройства. Устройство по RU 2166218 содержит несколько электромагнитных трансформаторов тока, аналого-цифровой преобразователь и светодиод для передачи информации на потенциал земли в цифровом виде. Использование аналого-цифрового преобразователя (АЦП) позволяет полностью устранить погрешности при передаче информации на потенциал земли. Но в прототипе, как и во всех остальных устройствах и трансформаторах тока для измерения под высоким напряжением, сила тока определяется исходя из косвенных измерений. Устройство имеет первичные обмотки, по которым протекает измеряемый ток, возбуждая магнитное поле, пропорциональное величине тока. Магнитное поле, в свою очередь, генерирует во вторичных обмотках ЭДС, пропорциональную величине магнитного поля. После прохождения схем компенсации возможной погрешности АЦП преобразует информацию о величине ЭДС в цифровой вид, в котором она передается на потенциал земли посредством светодиода.
Основные недостатки прототипа следующие:
– погрешность измерения, вызванная влиянием магнитных и электрических полей от токопроводов соседних фаз, которые обычно находятся на небольшом расстоянии друг от друга;
– чувствительность электронных устройств и компонентов к электрическим и магнитным полям от токопровода с измеряемым током;
– возможность выхода из строя радиоаппаратуры при воздействии больших внутренних электрических потенциалов, наведенных в радиоаппаратуре токами короткого замыкания или коммутационными перенапряжениями;
– прекращение измерения и передачи измеряемого сигнала при протекании токов короткого замыкания в первичной обмотке трансформаторов напряжения вследствие прекращения питания. При коротком замыкании ток в первичной обмотке приближается по форме к постоянному, а во вторичной обмотке трансформатора тока, ответственного за питание всего устройства, перестает индуцироваться ЭДС, питание пропадает в самый необходимый момент.
Если поместить электронное измерительное устройство под высокое напряжение, неизбежно произойдет выход оборудования из строя. Это связано с большими напряжениями, наведенными на частях, проводах, соединителях оборудования при нахождении вблизи высоковольтных токопроводов и шин. При этом в случае переменного тока промышленной частоты идеальной формы устройство может работать. На самом деле общий потенциал прибора будет «плавать» с частотой 50 Гц. Но в реальных электрических сетях есть не только гармонические составляющие. При коммутации высоковольтных устройств происходит резкое возрастание напряжения и частоты. Например, при отключении вакуумного выключателя на линии 35 кВ коммутационное перенапряжение может достигать 190 кВ, а частота – до нескольких мегагерц. При наличии в приборе участков проводников больше длины волны мегагерцевого диапазона возможен внутренний пробой между компонентами или между электропроводящими участками прибора. В диапазоне частот порядка 50 Гц длина волны много больше размеров проводников и самого прибора. Размерами прибора можно пренебречь, рассматривая его как точку, медленно «качающуюся» на электромагнитной волне. При коммутационных перенапряжениях длина волны становится меньше размеров прибора, а амплитуда больше, разные части прибора оказываются под разными потенциалами. Внутри прибора могут происходить частичные разряды и полные перекрытия разрядом изоляционных промежутков. Если прибор поместить в экранированный корпус, остается возможность электрического пробоя через подключенные провода питания, измерения, выхода. До 90 % всех выходов из строя оборудования в электроэнергетике происходит вследствие процессов, происходящих при коммутациях или грозовых перенапряжениях. Именно с этим связано отсутствие радиоаппаратуры в непосредственном контакте с высоковольтными линиями на подстанциях. В качестве датчиков тока используются трансформаторы тока с изоляцией, рассчитанной на воздействие коммутационных и грозовых перенапряжений. В частности, многочисленные исследования выхода из строя большого количества трансформаторов тока на напряжение 500 кВ выявили основную причину – воздействие коммутационных перенапряжений высокой частоты. Таким образом, измерение тока наилучшим образом можно произвести, поместив датчик и АЦП под потенциал высокого напряжения, и передавать информацию о силе тока на «землю» по оптическому каналу. Но электронную цифровую аппаратуру нельзя использовать из-за сильных электромагнитных импульсов, свойственных работе высоковольтного оборудования. Также нежелательно использование индукционных трансформаторов тока с «плавающим» нулем в качестве датчиков, так как они не рассчитаны на большие перенапряжения и при высокочастотном воздействии выходят из строя.
Данное противоречие решается в предлагаемом устройстве.
Цели изобретения
Задачей, на решение которой направлено заявляемое изобретение, является простое надежное устройство для измерения величины переменного и постоянного тока высокого напряжения, у которого отсутствуют ошибки измерения при коротких замыканиях, уменьшена погрешность измерения, повышена надежность работы.
Описание
Решение поставленной цели достигается тем, что устройство для измерения силы тока под высоким потенциалом содержит шунт, включенный параллельно и имеющий непосредственный контакт с токопроводом, на котором производится измерение, аналого-цифровой преобразователь и блок, передающий цифровую информацию о силе тока с помощью электромагнитных волн (радио- или оптического диапазона) приемнику, находящемуся под потенциалом низкого напряжения (земли). Так как гальваническая развязка между высоковольтным потенциалом измеряемого токопровода и устройствами, использующими информацию о силе тока в нем, осуществляется посредством передачи информации по электромагнитным волнам, нет необходимости в дополнительной гальванической развязке через магнитную индукцию, используемую в бесконтактных индукционных датчиках (измерительных индукционных трансформаторах тока).
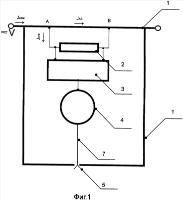
Все устройство в рабочем состоянии находится под потенциалом высокого напряжения. При постоянном токе этот потенциал постоянен во времени, при переменном токе потенциал изменяется (плавает) с амплитудой, равной фазному напряжению в токопроводе, и может достигать 1500 кВ. Все элементы устройства являются низковольтными, внутри устройства разность потенциалов не превышает 100 Вольт. Это достигается подбором сопротивления участка токопровода, шунта, входного сопротивления АЦП. В соответствии с законами Кирхгофа, если считать активное сопротивление АЦП бесконечно большим, при измеряемом токе Jизм=1010 А, ток JAB равен 1000 А, ток Jотв=10 А, падение напряжения на шунте для измерения АЦП=10 В,
Таким образом, максимальная разность потенциалов внутри устройства, находящегося под напряжением до 1500 кВ, может составлять не более 10 В при условии идеальных гармонических колебаний промышленной частоты и отсутствии неблагоприятных внешних воздействий.
Для исключения влияния на электронную аппаратуру электрических и магнитных полей полностью все измерительное устройство помещается внутрь токопровода с измеряемым током. Внутри полностью закрытой электропроводящей области пространства сумма электрических и магнитных полей равна нулю. Таким образом, цифровая аппаратура, помещенная внутрь токопровода, не будет испытывать воздействия электромагнитных полей, какими бы они большими ни были. Также токопровод будет защищать аппаратуру от возможных коммутационных или грозовых перенапряжений. Температурный градиент между шунтирующей и измерительной частью цепи также будет минимальным. Благодаря этому будет соблюдено одинаковое изменение проводимости материала шунтирующей и измеряемой цепи токопровода. В этом случае в делителе температурные изменения окружающей среды будут компенсированы. Питание измерительного устройства производится от делителя напряжения, также расположенного внутри токопровода. Конструкция измерительного устройства позволяет поместить его полностью внутрь токопровода. Отсутствие необходимости во внешних устройствах позволяет полость токопровода с измерительным устройством сделать герметичной. Так как электрический ток распространяется по поверхности проводника и с ростом частоты тока толщина околоповерхностного слоя, по которому распространяется ток, уменьшается, устройству не угрожают грозовые и коммутационные перенапряжения большой частоты.
Устройство работает следующим образом.
Падение напряжения на шунте фиксируется аналого-цифровым преобразователем. Далее в нем происходит преобразование величины напряжения в цифровой код. Цифровой код далее поступает на передатчик электромагнитных волн. В простейшем случае это может быть светодиод, зажигающийся при поступлении на вход «1», и отсутствие свечения при поступлении на вход «0». Обычно в цифровой технике «1» соответствует наличие напряжения, а «0» – отсутствие. При необходимости могут быть реализованы более сложные схемы, использующие предварительное усиление цифрового сигнала перед передачей. Передача может осуществляться посредством электромагнитных волн оптического или инфракрасного диапазона. При использовании для передачи цифрового кода электромагнитных волн оптического или инфракрасного диапазона возможно применение оптических волокон, стеклянного или полимерного оптоволокна (Фиг.1). В этом случае передающее и принимающее устройства должны иметь соединители для оптоволокна. Само оптоволокно должно иметь как можно большую длину и быть защищено от токов утечки. Оптическое волокно лучше всего помещать внутрь опорного изолятора. Приемник и передатчик могут иметь любую конструкцию, способную передать цифровой код и получить его без изменения.
Реализация изобретения
На предприятии-заявителе были изготовлены макеты предлагаемого устройства для измерения тока. Устройство было смонтировано на опорном высоковольтном стержневом изоляторе. Одно устройство смонтировано на изоляторе с рабочим напряжением 35 кВ, второе – на изоляторе с рабочим напряжением 110 кВ, третье – на изоляторе с рабочим напряжением 220 кВ. Все устройства были рассчитаны на измерение токов от 10 до 100 Ампер. Класс точности соответствовал классу точности АЦП. Расчетный класс точности соответствовал классу 0.2S (IEC Class 0.2) традиционных трансформаторов тока.
По результатам испытаний получены осциллограммы 1440-а замеров мгновенных значений (10 периодов по 144 точки за период) на каждом устройстве по 3-м сериям испытаний. Анализ результатов испытаний показал высокую повторяемость измерений, высокую точность и воспроизводимость результатов, отсутствие искажений при токах короткого замыкания, правильные результаты и команды для релейной автоматики даже после 7-8-ого периода короткого замыкания, отсутствие искажений в результате воздействия вибрации, отсутствие искажений при изменении магнитного поля в месте замеров, отсутствие искажений результатов при прохождении электрических разрядов по воздуху (имитация удара молнии) на расстоянии 3 метров.
Все устройства работали одинаково и выдавали одинаковые результаты несмотря на разное рабочее напряжение, под потенциалом которого находились устройства.
Конструкция устройства поясняется чертежами
На всех фигурах следующие обозначения:
1 – токопровод измеряемой цепи;
2 – шунт, включенный параллельно измеряемой цепи;
3 – аналого-цифровой преобразователь;
4 – оптический передатчик цифрового кода;
5 – разъем для присоединения оптического волокна;
6 – опорный высоковольтный изолятор;
7 – оптическое волокно.
Фиг.1 – Электрическая схема устройства для измерения переменного и постоянного тока.
Фиг.2 – Вид устройства, смонтированного внутри токопровода, установленного на опорный изолятор.
Высоковольтное оптоэлектронное устройство для измерения тока, содержащее датчик тока, аналого-цифровой преобразователь и передатчик, отличающееся тем, что оно помещено внутрь токопровода с измеряемым током, находится под потенциалом высокого напряжения в зоне отсутствия магнитных и электрических полей, а передача информации о величине измеряемого тока производится в кодированном цифровом виде по оптическому каналу.