|
|
(21), (22) Заявка: 2007120290/28, 30.05.2007
(24) Дата начала отсчета срока действия патента:
30.05.2007
(46) Опубликовано: 10.02.2009
(56) Список документов, цитированных в отчете о поиске:
БАБИЧ О.А. Авиационные приборы. – М.: ВВИА, 1981, с.135. SU 1150542 А, 15.04.1985. SU 380519 А, 28.07.1973. SU 1679387 А1, 23.09.1991. US 5257536 А, 02.11.1993. US 3069906 А, 25.12.1962.
Адрес для переписки:
664009, г.Иркутск, ул. 1-я Советская, 176, Иркутское высшее военное авиационное инженерное училище (военный институт), НИО
|
(72) Автор(ы):
Сегедин Руслан Адольфович (RU), Хохряков Богдан Викторович (RU), Клюкин Павел Владимирович (RU)
(73) Патентообладатель(и):
Иркутское высшее военное авиационное инженерное училище (военный институт) (RU)
|
(54) УСТРОЙСТВО ИЗМЕРЕНИЯ АЭРОДИНАМИЧЕСКОГО УГЛА С ИСПОЛЬЗОВАНИЕМ СЛЕДЯЩЕЙ СИСТЕМЫ УПРАВЛЕНИЯ
(57) Реферат:
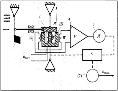
Изобретение относится к области измерения аэродинамических углов атаки и скольжения. Устройство включает в себя семь узлов: чувствительный элемент (1), выполненный в виде флюгарки, якорь (2), электромагнит (3), усилитель (4), двигатель (5), редуктор (6), сельсин-датчик (7). В основу устройства положен магнитоиндукционный принцип измерения сигнала. При изменении положения якоря, связанного с флюгаркой, возникает электрический сигнал на выходе сигнальных обмоток, который усиливается и поступает на двигатель (5). Двигатель через редуктор (6) отрабатывает сигнал и перемещает электромагнит в новое положение до полной компенсации сигнала с сигнальных обмоток. Кроме этого данный сигнал при помощи сельсин-датчика (7) используется как информационный сигнал об аэродинамическом угле. Техническим результатом является увеличение точности снимаемого сигнала за счет использования более точного магнитоиндукционного принципа измерения сигнала вместо потенциометрического принципа с одновременным увеличением диапазона работы датчика в целом (отклонения флюгарки в полном диапазоне изменения аэродинамического угла). 1 ил.
Изобретение относится к области измерения аэродинамических углов атаки и скольжения, а конкретно к флюгерным датчикам индикации.
Прототипом предлагаемого изобретения является датчик аэродинамических углов. При использовании флюгерных датчиков индикация летчику углов атаки производится с помощью гальванометрического указателя, подключенного к потенциометру, движок которого перемещается при поворотах лопастей флюгера (см. Авиационные приборы и навигационные системы. Под ред. О.Бабича. – М.: ВВИА, 1981, с.135). Прототип имеет ограничения в диапазоне измерения аэродинамических углов атаки, его точностные характеристики не отвечают сегодняшним требованиям, связанным с тем, что маневренный самолет последнего поколения выполняет сверманевры на больших и закритических аэродинамических углах и для обеспечения безопасного пилотирования требуются точные значения углов атаки и скольжения.
Задачей данного изобретения является увеличение точности снимаемого сигнала за счет уменьшения диапазона хода постоянного магнита относительно катушки индуктивности, использования более точного магнитоиндукционного принципа измерения сигнала вместо потенциометрического принципа с одновременным увеличением диапазона работы датчика в целом (отклонения флюгарки в полном диапазоне изменения аэродинамического угла).
Для достижения данной задачи чувствительный элемент выполнен в виде флюгарки, которая ориентируется по воздушному потоку и тем самым измеряет аэродинамические углы. В основу устройства положен магнитоиндукционный принцип измерения сигнала. Якорь закреплен с чувствительным элементом. При изменении положения якоря возникает электрический сигнал на выходе сигнальных обмоток. Сигнал усиливается на усилительном узле и поступает на двигатель, который через редуктор отрабатывает сигнал и перемещает электромагнит в новое положение до полной компенсации сигнала с сигнальных обмоток. Кроме этого данный сигнал при помощи сельсин-датчика используется как информационный сигнал об аэродинамическом угле.
Очевидно использование известного принципа следящей системы в решении новой задачи измерения аэродинамических углов датчиком флюгерного типа.
На чертеже изображена схема устройства измерения аэродинамического угла с использованием следящей системы управления.
Устройство измерения аэродинамических углов содержит следящую систему управления, состоящую из семи узлов: чувствительного элемента (1), закрепленного с якорем (2), электромагнита (3), состоящего из сердечника электромагнита, катушки возбуждения W, сигнальных катушек включенных встречно W1, W2, усилителя (4), двигателя (5), редуктора (6), сельсин-датчика (7).
Устройство работает следующим образом: чувствительный элемент (1), выполненный в виде флюгарки, перемещает якорь (2), при изменении его положения возникает электрический сигнал на выходе сигнальных обмоток катушек W1, W2, который усиливается на усилительном узле (4) и поступает на двигатель (5), отрабатывающий через редуктор (6) этот сигнал и перемещающий электромагнит (3) в новое положение, кроме этого данный сигнал при помощи сельсин-датчика (7) используется как информационный сигнал об аэродинамическом угле.
Предложено более точное устройство измерения аэродинамических углов флюгерного типа, работающее в диапазоне углов атаки от -180 градусов до 180 градусов.
Формула изобретения
Устройство измерения аэродинамического угла с использованием следящей системы управления, представляющее собой последовательно соединенную замкнутую систему, содержащую чувствительный элемент, выполненный в виде флюгарки, закрепленный с якорем электромагнита, перемещающий его относительно электромагнита, состоящего из сердечника, катушки возбуждения, двух сигнальных катушек, включенных встречно, выходы которых соединены со входами усилителя, а выход усилителя соединен с двигателем и редуктором, первый выход которого соединен с электромагнитом, имеющим возможность перемещения в новое положение до полной компенсации сигнала с сигнальных обмоток, а второй выход соединен с сельсин-датчиком, представляющим информацию об аэродинамическом угле.
РИСУНКИ
|
|