|
|
(21), (22) Заявка: 2005129086/28, 12.11.2003
(24) Дата начала отсчета срока действия патента:
12.11.2003
(30) Конвенционный приоритет:
19.02.2003 US 10/368,697
(43) Дата публикации заявки: 27.04.2006
(46) Опубликовано: 10.02.2009
(56) Список документов, цитированных в отчете о поиске:
RU 2054166 С1, 10.02.1996. US 6422085 В1, 23.07.2002. RU 97104489 А, 10.04.1999. SU 107465 А1, 01.01.1957. US 5948988 А, 07.09.1999.
(85) Дата перевода заявки PCT на национальную фазу:
19.09.2005
(86) Заявка PCT:
US 03/36041 (12.11.2003)
(87) Публикация PCT:
WO 2004/074803 (02.09.2004)
Адрес для переписки:
129090, Москва, ул. Б.Спасская, 25, стр.3, ООО “Юридическая фирма Городисский и Партнеры”, пат.пов. Ю.Д.Кузнецову, рег.№ 595
|
(72) Автор(ы):
ПЕППЕРЛИНГ Дональд Пол (US), СИКЕЛС Деннис Джин (US), ВАНДЕРАХ Ричард Дж. (US)
(73) Патентообладатель(и):
ФИШЕР КОНТРОЛЗ ИНТЕРНЭШНЛ ЛЛС (US)
|
(54) ДАТЧИК МАНОМЕТРИЧЕСКОГО ДАВЛЕНИЯ ДЛЯ ПРИМЕНЕНИЯ В ОПАСНЫХ УСЛОВИЯХ
(57) Реферат:
Изобретение может быть использовано для измерения давления в опасных условиях. Способы и аппараты для восприятия манометрического давления с использованием датчика манометрического давления, который содержит корпус и чувствительный элемент манометрического давления, имеющего первый впускной элемент для подвода давления и второй впускной элемент для подвода давления. Первый впускной элемент для подвода давления связан с атмосферным давлением. Пламегаситель, расположенный в корпусе датчика, соединяет текучей средой второй впускной элемент для подвода давления с внутренним участком взрывобезопасного устройства. Техническим результатом изобретения является повышение точности измерений. 4 н. и 18 з.п. ф-лы, 3 ил.
Область техники
Настоящее описание относится, в общем, к датчикам давления, а более конкретно – к датчикам давления для применения в опасных условиях.
Уровень техники
Датчики давления обычно используют для управления и/или наблюдения за давлением и потоком технологических текучих сред, таких как, например, масло, вода, газы и т.д. Во многих случаях датчики давления встроены в регулятор потока текучей среды, который последовательно помещен на траектории движения потока технологической текучей среды. В других случаях датчики давления встроены в контрольно-измерительное устройство, которое не выполняет функцию регуляции и которое подсоединено к траектории движения потока технологической текучей среды или последовательно помещено на ней. Например, семейство RegFloТМ (контрольно-измерительных устройств для наблюдения за потоком, поставляемых компанией Fisher Control International, Inc. (и в особенности – серия устройств RF100 для наблюдения за потоком), может содержать датчик давления на входе, датчик давления на выходе и вспомогательный датчик давления, каждый из которых может быть встроен посредством резьбового соединения.
Для некоторых случаев промышленного применения, таких как, например, распределение горючих технологических текучих сред (например, горючих газов), требуются взрывобезопасные или огнестойкие с номинальной степенью защиты регуляторы, измерительные устройства и т.д. В случае регулятора горючие технологические текучие среды, которые скапливаются в корпусе регулятора, должны надлежащим образом отводиться в окружающую среду или атмосферу для достижения номинальных характеристик огнестойкости или взрывобезопасности. Обычно атмосферная вентиляция имеет конфигурацию, позволяющую предотвратить опасное скопление горючих технологических текучих сред в корпусе регулятора и предотвратить процесс горения, начинающийся в пределах корпуса регулятора, и распространение его в среду, окружающую регулятор. Например, один или более спеченных металлических пламегасителей (которые являются полупористыми и обеспечивают достаточно минимальный путь пламени) могут быть использованы для обеспечения необходимой атмосферной вентиляции.
Известные взрывобезопасные и огнестойкие регуляторы потока, контрольно-измерительные устройства и т.д. обычно имеют конфигурацию, подходящую для применения одного или более датчиков абсолютного давления, которые не требуют вентиляции в атмосферу. Как известно, датчики абсолютного давления обычно содержат диафрагму, которая отклоняется пропорционально разности давлений на противоположных поверхностях диафрагмы. В случае датчика абсолютного давления эталонная поверхность или сторона диафрагмы обращена в герметичную камеру, в то время как другая сторона или поверхность диафрагмы подвергается воздействию давления, приложенного со стороны измеряемой технологической текучей среды. Так как эталонная поверхность или сторона диафрагмы датчика абсолютного давления не требует вентиляции в атмосферу, прикрепление такого датчика к корпусу регулятора или контрольно-измерительного устройства без риска ухудшения номинальных характеристик взрывобезопасности или огнестойкости регулятора или контрольно-измерительного устройства является относительно простым делом.
К несчастью, датчики абсолютного давления не идеальны для использования в применениях, которые требуют измерения технологических текучих сред низкого давления, таких как, например, распределение природного газа. В частности, так как эталонная сторона или поверхность диафрагмы герметизирована при давлении, примерно равном атмосферному, датчики абсолютного давления обычно способны точно воспринимать только давления, значительно превышающие одну атмосферу (т.е. абсолютное давление около 15 фунтов на квадратный дюйм).
С другой стороны, датчики манометрического давления лучше подходят для точного измерения относительно низких давлений. Однако эталонная поверхность или сторона диафрагмы в датчике манометрического давления должна сообщаться с атмосферой. В результате замена датчиками манометрического давления датчиков абсолютного давления, которые обычно используются во взрывобезопасных или огнестойких регуляторах и контрольно-измерительных устройствах, без риска ухудшения номинальных характеристик взрывобезопасности или огнестойкости этих устройств является непростой задачей.
Кроме того, датчики манометрического давления обычно вентилируются в атмосферу посредством небольшого отверстия в корпусе датчика, которое подвергается воздействию внешней среды, окружающей датчик и регулятор или контрольно-измерительное устройство, с которым он связан. В результате датчики манометрического давления обычно не могут использоваться в применениях регуляторов и/или контрольно-измерительных устройств, которые имеют результатом погружение регулятора и/или контрольно-измерительного устройства в жидкость (например, в воду). Например, многие подземные применения могут включать в себя периодическое или непрерывное погружение регулятора (и связанных с ним устройств, таких как датчики и т.п.) в воду.
Сущность
Согласно одному из аспектов датчик давления может содержать корпус и чувствительный элемент манометрического давления, имеющий первый впускной элемент для подвода давления и второй впускной элемент для подвода давления. Кроме того, первый впускной элемент для подвода давления может быть связан с измеряемым давлением, а второй впускной элемент для подвода давления может быть связан с атмосферным давлением. Датчик давления может также содержать пламегаситель, расположенный внутри корпуса и связанный текучей средой со вторым впускным элементом для подвода давления.
Согласно другому аспекту взрывобезопасное устройство может содержать корпус, имеющий первый пламегаситель, который вентилирует внутреннюю камеру корпуса атмосферным давлением. Взрывобезопасное устройство также может содержать узел датчика давления, имеющий второй пламегаситель и чувствительный элемент манометрического давления, имеющий первое и второе средство подвода давления на входе. Первое средство подвода давления на входе может быть связано текучей средой с проходом, имеющим конфигурацию, позволяющую принимать технологическую текучую среду, а второе средство подвода давления на входе может быть связано текучей средой со вторым пламегасителем. Кроме того, второй пламегаситель может быть связан текучей средой с внутренней камерой.
Согласно еще одному аспекту пламегаситель для применения в датчике манометрического давления может содержать цилиндрический корпусной участок, имеющий проходящий сквозь него канал и конфигурацию для расположения внутри узла датчика манометрического давления. Пламегаситель также может содержать множество огнестойких электрических соединений, которые пересекают канал и которые приспособлены для проведения по меньшей мере одного электрического сигнала, связанного с воспринимающим давление чувствительным элементом в датчике манометрического давления.
Краткое описание чертежей
Фиг.1 – вид в разрезе известного узла датчика абсолютного давления, который можно использовать со взрывобезопасными устройствами.
Фиг.2 – вид в разрезе известного взрывобезопасного узла, в котором смонтирован узел датчика абсолютного давления, показанный на Фиг.1.
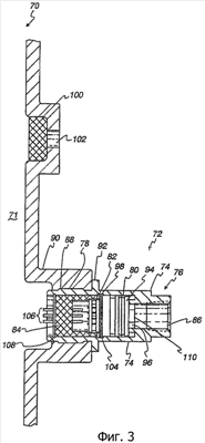
Фиг.3 – вид в разрезе образца взрывобезопасного узла, в котором смонтирован образец узла датчика манометрического давления.
Подробное описание
Фиг.1 – вид в разрезе известного узла датчика 10 абсолютного давления, который можно применять со взрывобезопасными устройствами. Как показано на Фиг.1, узел датчика 10 давления содержит цилиндрический корпус 12 датчика, сенсорный подузел 14, множество электрических соединений 16, которые передают электрические сигналы к сенсорному подузлу 14 и от него, и прокладку или пробку 18 снятия напряжения, которая обеспечивает снятие напряжения для электрических соединений 16 при выходе их из корпуса 12 датчика. Кроме того, пробка 18 снятия напряжения может применяться для образования уплотнения, которое препятствует входу технологических текучих сред и/или других нежелательных примесей в корпус 12 датчика или их выходу из него.
Сенсорный подузел 14 содержит проход подвода или адаптер 20, уплотнительное кольцо или другое кольцевое уплотнение 22 и чувствительный элемент 24, воспринимающий давление. Проход подвода или адаптер 20 может быть ввинчен или запрессован в корпус 12 и может содержать внутреннюю резьбу 26 для подсоединения узла датчика 10 к технологической текучей среде. Проход подвода или адаптер 20 имеет конфигурацию, предназначенную для сообщения или передачи давления, связанного с технологической текучей средой, чувствительному элементу 24, воспринимающему давление. Уплотнительное кольцо или другое кольцевое уплотнение 22 имеет конфигурацию, предназначенную для предотвращения обхода технологическими текучими средами чувствительного элемента 24, воспринимающего давление, и, таким образом, попадания их в нижний участок 28 корпуса 12 датчика (или его загрязнения) и/или загрязнения устройства, в котором смонтирован узел датчика 10.
Чувствительный элемент 24, воспринимающий давление, может быть датчиком абсолютного давления на силиконовой основе, имеющим диафрагму, которая отклоняется или которая по-другому реагирует на разность давлений между противоположными поверхностями диафрагмы. Более конкретно, чувствительный элемент 24, воспринимающий давление, может обеспечить переменное сопротивление и/или переменную емкость на выходе в ответ на изменения давления между первой и второй поверхностями 30 и 32 чувствительного элемента 24, воспринимающего давление. В частности, как изображено на Фиг.1, первая поверхность 30 чувствительного элемента 24, воспринимающего давление, подвергается воздействию технологической текучей среды через канал 34. Хотя это не показано, вторая поверхность 32 чувствительного элемента 24, воспринимающего давление, обращена в герметичную внутреннюю камеру, которая находится под давлением примерно в одну атмосферу. Таким образом, при изменении давления, связанного с технологической текучей средой, при котором оно превышает одну атмосферу, сопротивление и/или емкость, связанные с чувствительным элементом 24, воспринимающим давление, изменяются и могут восприниматься через электрические соединения 16.
Фиг.2 – вид в разрезе известного взрывобезопасного узла 50, в котором смонтирован узел датчика 10 абсолютного давления, показанный на Фиг.1. Взрывобезопасный узел 50, показанный на Фиг.2, может быть регулятором потока технологической текучей среды и/или контрольно-измерительным устройством, который (которое) регулирует и/или отслеживает давление, и/или поток потенциально взрывоопасной технологической текучей среды. Узел датчика 10 абсолютного давления смонтирован на корпусной части 52 взрывобезопасного узла 50. Кроме того, для достижения номинальных характеристик взрывобезопасности корпусная часть 52 герметизирована в отношении окружающей ее среды и вентилируется через пламегаситель 54 и атмосферный вентиль или отверстие 56. Таким способом предотвращается распространение горения любых технологических текучих сред, которые скапливаются в корпусной части 52, на большее пространство окружающей среды, окружающей взрывобезопасный узел 50.
Так как узел датчика 10 давления имеет конфигурацию, предназначенную для отслеживания или восприятия абсолютного давления, узел датчика 10 давления герметизирован в отношении корпусной части 52, и, таким образом, потенциально взрывоопасные технологические текучие среды не скапливаются внутри узла датчика 10 давления.
Фиг.3 – вид в разрезе образца взрывобезопасного узла 70, имеющего внутреннюю камеру 71 и образец узла датчика 72 манометрического давления, прикрепленного к ней. Образец узла датчика 72 манометрического давления содержит корпус 74, имеющий входной участок 76 и соединительный участок 78, чувствительный элемент 80 манометрического давления, узел печатной схемы 82 и пламегаситель 84.
Входной участок 76 корпуса 74 может содержать участок 86 с внутренней резьбой, который имеет конфигурацию, предназначенную для вмещения резьбового соединения с технологической текучей средой, с американской трубной резьбой 1/4 дюйма. Однако вместо этого можно применить другие соединительные механизмы или конфигурации соединителя. Например, на входном участке 76 корпуса 74 можно обеспечить зазубренный фитинг для использования с гибкими резиновыми или пластмассовыми шлангами, компрессионный фитинг для использования с металлическими трубами и/или соединителями, или любое другое желаемое соединение, предназначенное для использования с технологическими текучими средами.
Соединительный участок 78 корпуса 74 имеет в общем цилиндрическую форму и содержит наружную резьбу 88, которая позволяет ввинтить узел датчика 72 манометрического давления во взрывобезопасный корпус 90, который может быть связан с взрывобезопасным устройством, таким как, например, регулятор потока и/или контрольно-измерительное устройство для использования с природным газом. Конечно, соединительный участок 78 не обязательно должен обеспечивать резьбовое зацепление, и узел датчика 72 может быть прикреплен к взрывобезопасному корпусу 90 другими способами. Например, соединительный участок 78 может иметь конфигурацию для прессовой посадки, которая при желании может включать в себя отбортовку, пробивку или другую механическую деформацию корпуса 90 и/или корпуса 74 датчика для неподвижного прикрепления узла датчика 72 к взрывобезопасному корпусу 90. В качестве альтернативы или дополнительно для неподвижного прикрепления узла датчика 72 к взрывобезопасному корпусу 90 могут быть использованы клеящие вещества, сварка и т.д. В любом случае соединительный участок 78 корпуса 74 датчика предпочтительно имеет конфигурацию, предназначенную для сопряжения с взрывобезопасным корпусом 90, отвечающую требованиям Канадской ассоциации стандартизации (CSA) к пути пламени, которые могут, например, требовать максимального зазора в 0,1 мм между соединительным участком 78 и взрывобезопасным корпусом 90.
Корпус 74 узла датчика также может содержать выступающий участок, буртик или фланец 92, который обеспечивает механический стопор, которым узел датчика 72 может быть плотно прижат к взрывобезопасному корпусу 90. Выступающий участок 92 также может функционировать, деформируясь или иначе обеспечивая уплотнение относительно взрывобезопасного корпуса 90, чтобы обеспечить возможность соответствия требованиям CSA к пути пламени.
Чувствительный элемент 80 манометрического давления может быть любым желаемым устройством, воспринимающим манометрическое давление, включая, например, устройства, которые выполнены на силиконовой основе и в которых применяется переменное сопротивление и/или переменная емкость на выходе, чтобы отслеживать отклонение диафрагмы в ответ на изменения давления. В частности, первый впускной элемент для подвода давления, поверхность или сторона 94 чувствительного элемента 80 через отверстия 96 подвергается воздействию давления, связанного с технологической текучей средой. Кроме того, второй впускной элемент для подвода давления, поверхность или сторона 98 чувствительного элемента 80, воспринимающего давление, подвергается воздействию внутреннего давления взрывобезопасного корпуса 90, которое поддерживается на уровне атмосферного давления окружающей среды посредством пламегасителя 100 и клапана 102. Чувствительный элемент 80, воспринимающий давление, может иметь электрические проводники, которые припаяны непосредственно к узлу печатной схемы 82; и удерживающий механизм 104, такой, например, как стопорное кольцо, волнистая шайба или пружина и т.д., может быть использован для удерживания узла печатной схемы 82 и чувствительного элемента 80, воспринимающего давление, внутри корпуса 74, как показано на чертеже. Предпочтительно чувствительным элементом, воспринимающим давление, является рассчитанный на 0-3 фунта на квадратный дюйм сенсор, когда узел датчика 72 давления используют в применениях, требующих контроля и/или наблюдения относительно низких давлений, таких, как применения в распределении природного газа.
Пламегаситель 84 предпочтительно, но не обязательно, имеет цилиндрическую форму и изготовлен из спеченного металла. Однако вместо этого можно использовать другие формы и/или материалы. Пламегаситель 84 имеет размеры и конфигурацию, отвечающие требованиям CSA к пути пламени (например, зазор менее 0,1 миллиметра вдоль длины соединения между пламегасителем 84 и корпусом 74). Множество огнестойких электрических соединений 106 проходит сквозь пламегаситель 84, чтобы обеспечить возможность передачи электрических сигналов к чувствительному элементу 80, воспринимающему давление, и от него. Предпочтительно, но не обязательно, электрические соединения 106 проходят сквозь одно или более отверстий или каналов (не показаны) в пламегасителе 84, которые могут быть остеклены с использованием любой желаемой технологии для достижения номинального значения огнестойкости. Второе стопорное кольцо 108 или другое устройство может применяться для фиксации или удерживания пламегасителя 84 в корпусе 74, как показано на Фиг.3.
Что также показано на Фиг.3, подпор или ограничитель 110 обратного хода может быть предусмотрен для обеспечения предохранения от избыточного давления в случае, если произойдет взрыв внутри корпуса 90. Подпор 110 предпочтительно имеет размеры и конфигурацию, позволяющие диафрагме внутри чувствительного элемента 80, воспринимающего давление, выдержать давление (т.е., не оказаться пробитой, будучи подвергнута такому давлению), по меньшей мере, в четыре раза превосходящее номинальное взрывное давление корпуса 90.
Таким образом, образец узла датчика 72 манометрического давления, изображенный на Фиг.3, соединен текучей средой с первым давлением, связанным с технологической текучей средой, посредством, например, входного участка 76 корпуса 74. Кроме того, узел датчика 72 манометрического давления соединен текучей средой с атмосферным давлением посредством пламегасителя 84, корпуса 90 датчика, и второго пламегасителя 100 и клапана 102, связанных с корпусом 90. Таким способом множество узлов датчиков манометрического давления, таких, как тот, что показан на Фиг.3, могут вентилироваться атмосферным давлением через взрывобезопасный корпус, на котором они смонтированы, и через обычный клапан взрывобезопасного корпуса, такой, как тот, что обеспечен вторым пламегасителем 100 и вентилем 102. Такое обычное вентильное устройство может быть особенно выгодно в применениях, требующих погружения взрывобезопасного корпуса 90, так как требуется, чтобы над поверхностью жидкости, в которую погружен корпус, выступал лишь обычный клапан.
Хотя здесь были описаны определенные способы и аппараты, объем охвата данного патента этим не ограничен. Напротив, данный патент охватывает все способы, аппараты и производственные изделия, объективно попадающие в пределы объема приложенной формулы изобретения, как буквально, так и в рамках доктрины эквивалентов.
Формула изобретения
1. Датчик давления для использования во взрывобезопасном устройстве, причем взрывобезопасное устройство имеет корпус, включающий внутреннюю камеру, при этом датчик содержит корпус; чувствительный элемент манометрического давления, имеющий первый впускной элемент для подвода давления и второй впускной элемент для подвода давления, в котором первый впускной элемент для подвода давления связан с измеряемым давлением, и в котором второй впускной элемент для подвода давления связан с атмосферным давлением; и пламегаситель, расположенный в корпусе и соединенный текучей средой со вторым впускным элементом для подвода давления и с внутренней камерой корпуса взрывобезопасного устройства.
2. Датчик по п.1, в котором пламегаситель содержит множество огнестойких электрических соединений с чувствительным элементом манометрического давления.
3. Датчик по п.2, в котором множество электрических соединений являются остекленными.
4. Датчик по п.1, в котором корпус содержит соединение, имеющее конфигурацию, предназначенную для принятия горючей технологической текучей среды.
5. Датчик по п.4, в котором соединение содержит резьбовое соединение.
6. Датчик по п.1, в котором датчик давления содержит стопор для удерживания чувствительного элемента, воспринимающего давление, против действия взрывного давления.
7. Датчик по п.1, в котором пламегаситель изготовлен из спеченного металла.
8. Датчик по п.1, в котором пламегаситель имеет цилиндрическую геометрию.
9. Датчик по п.1, в котором чувствительный элемент манометрического давления выполнен на силиконовой основе.
10. Взрывобезопасное устройство, содержащее корпус, имеющий первый пламегаситель, который вентилирует внутреннюю камеру корпуса атмосферным давлением; и узел датчика давления, содержащий второй пламегаситель и чувствительный элемент манометрического давления, имеющий первое и второе средства подвода давления на входе, в котором первое средство подвода давления на входе соединено текучей средой с проходом, имеющим конфигурацию, предназначенную для принятия технологической текучей среды, и второе средство подвода давления на входе соединено текучей средой со вторым пламегасителем, и в котором второй пламегаситель соединен текучей средой с внутренней камерой.
11. Взрывобезопасное устройство по п.10, в котором второй пламегаситель содержит множество огнестойких электрических соединений с чувствительным элементом манометрического давления.
12. Взрывобезопасное устройство по п.11, в котором множество огнестойких электрических соединений являются остекленными.
13. Взрывобезопасное устройство по п.10, где взрывобезопасным устройством является устройство регулирования технологической текучей среды или контрольно-измерительное устройство для технологической текучей среды.
14. Взрывобезопасное устройство по п.10, в котором первый и второй пламегасители выполнены из спеченного металла.
15. Взрывобезопасное устройство по п.10, в котором второй пламегаситель имеет цилиндрическую геометрию.
16. Способ восприятия манометрического давления технологической текучей среды, содержащий отслеживание манометрического давления технологической текучей среды у первого отверстия узла датчика давления; вентиляцию второго отверстия узла датчика давления через пламегаситель, соединенный текучей средой со вторым отверстием узла датчика давления и внутренней камерой корпуса взрывобезопасного устройства, работающего с технологической текучей средой; и вентиляцию внутренней камеры корпуса устройства, работающего с технологической текучей средой, атмосферным давлением.
17. Способ по п.16, в котором пламегаситель имеет цилиндрическую геометрию.
18. Способ по п.16, в котором отслеживание манометрического давления технологической текучей среды включает в себя передачу электрического сигнала от узла датчика давления через огнестойкое электрическое соединение, которое проходит сквозь пламегаситель.
19. Способ по п.16, в котором вентиляция корпуса устройства, работающего с технологической текучей средой, атмосферным давлением включает в себя вентиляцию корпуса устройства, работающего с технологической текучей средой, через второй пламегаситель.
20. Пламегаситель для применения в датчике манометрического давления, содержащий цилиндрическую корпусную часть, имеющую проходящий сквозь нее канал и конфигурацию, предназначенную для расположения внутри узла датчика манометрического давления; и множество огнестойких электрических соединений, которые пересекают канал и которые приспособлены для перенесения по меньшей мере одного электрического сигнала, связанного с воспринимающим давление чувствительным элементом внутри датчика манометрического давления.
21. Пламегаситель по п.20, в котором цилиндрическая корпусная часть изготовлена из спеченного металлического материала.
22. Пламегаситель по п.20, в котором множество огнестойких электрических соединений являются остекленными.
РИСУНКИ
|
|