|
|
(21), (22) Заявка: 2007125388/28, 05.07.2007
(24) Дата начала отсчета срока действия патента:
05.07.2007
(46) Опубликовано: 10.02.2009
(56) Список документов, цитированных в отчете о поиске:
RU 1431470 A1, 20.08.1996. RU 2035089 C1, 10.05.1995. SU 1771272 A1, 20.12.1995. SU 1820790 A1, 27.03.1995. US 5314572 A, 24.05.1994. RU 2237873 C2, 10.10.2004.
Адрес для переписки:
101000, Москва, а/я 312, ООО “АПП”, Н.В. Николаевой
|
(72) Автор(ы):
Володин Николай Михайлович (RU)
(73) Патентообладатель(и):
Общество с ограниченной ответственностью “Космические системы спасения” (RU)
|
(54) УСТРОЙСТВО ДЛЯ ИЗМЕРЕНИЯ МЕХАНИЧЕСКИХ ВЕЛИЧИН (ВАРИАНТЫ) И СПОСОБ ЕГО ИЗГОТОВЛЕНИЯ
(57) Реферат:
Изобретение относится к контрольно-измерительной технике. Устройство представляет собой тензометрический преобразователь, содержащий металлический корпус в виде цилиндрического стакана с тонкостенным дном в виде мембраны, на ее наружной поверхности сформированы тензорезисторы, коммутационные участки, соединяющие тензорезисторы в измерительный мост и с металлизированными площадками на периферийной области поверхности дна стакана, компенсационные элементы, а также изоляционный слой. Тензорезисторы из моносульфита самария закреплены на диэлектрическом слое из окиси алюминия или окиси кремния, или двуокиси кремния, который закреплен на наружной поверхности дна стакана через адгезионный слой из хрома. В зонах сжатия в кольцевой области перехода мембраны в стенку стакана и в зонах растяжения в области центральной части мембраны размещены дистантно по окружности одиночные тензорезисторы или объединенные в дистантно расположенные по окружности группы тензорезисторов. Металлизированные площадки состоят из по крайней мере двух слоев, нижний из которых имеет минимальное переходное электрическое сопротивление, а верхний предназначен для пайки. Техническим результатом изобретения является повышение чувствительности, стойкости к агрессивным средам и надежности датчика. 3 н. и 2 з.п. ф-лы, 7 ил.
Изобретение относится к контрольно-измерительной технике, в частности к датчикам, предназначенным для использования в различных областях науки и техники, связанных с измерением механических величин.
Известен тензорезисторный датчик давления, содержащий упругий элемент в виде тонкостенного цилиндра с основанием сферической формы и тензорезисторы, наклеенные вдоль образующей цилиндра /SU №672524, G01L 23/18, 1977/.
Недостатком этого датчика является малая чувствительность.
Наиболее близким техническим решением является датчик давления, содержащий упругий элемент в виде тонкостенного цилиндра с наклеенными на наружной поверхности вдоль образующих цилиндра тензорезисторами, из которых два активных и два компенсационных. Тензорезисторы электрически соединены в мостовую схему «Тензометрия в машиностроении» Справочное пособие под ред. Макарова Р.А., М.: Машиностроение, 1975, с.147, рис.766.
Данное техническое решение принято в качестве прототипа для заявленного второго варианта исполнения датчика.
В датчиках этого типа не реализуется возможность максимального повышения чувствительности из-за нерационального размещения тензорезисторов.
Известна конструкция датчика давления, содержащая мембрану с утолщенным периферийным участком и с жестким центром, расположенные равномерно на ее поверхности по радиальным направлениям между жестким центром и утолщенным периферийным участком мембраны тензоэлементы, каждый из которых разделен контактными проводниками на два тензорезистора: расположенных соответственно в зоне положительной и отрицательной деформации, причем тензорезисторы соединены в мостовую схему, а каждое плечо моста образовано последовательным соединением множества тензорезисторов одноименной деформации [SU №1408263, G01L 9/04, 1986].
Недостатком известной конструкции является невысокая надежность. Другим недостатком известной конструкции является пониженная чувствительность. Недостатком известной конструкции является также низкий уровень технологичности, связанный с неидентичными размерами и формой перемычек, соединяющих тензорезисторы в измерительный мост, что приводит к необходимости дополнительной настройки датчика.
Известен тензометрический преобразователь давления, содержащий кристалл из полупроводникового материала одного типа проводимости с мембранной областью, на которой сформированы другого типа проводимости тензорезисторы и коммутационные участки, соединяющие тензорезисторы в измерительный мост и с металлизированными площадками на периферийной области кристалла, изоляционный слой, покрывающий поверхность кристалла со стороны тензорезисторов и имеющий отверстия над металлизированными площадками, и кольцо из стекла, соединенное с кристаллом по периферийной области со стороны тензорезисторов, при этом для повышения стойкости к агрессивным средам и надежности при эксплуатации, в нем на изоляционном слое под кольцом из стекла выполнены отверстия и нанесен слой аморфного материала кристалла толщиной 0,5-5,0 мкм, покрывающий изоляционный слой с упомянутыми отверстиями до металлизированных площадок, а на слое из аморфного материала закреплено кольцо из стекла (RU №1431470, G01L 9/04, опубл. 1996.08.20).
Из этого же источника известен способ изготовления тензометрического преобразователя давления, заключающийся в формировании на полупроводниковой пластине тензометрической схемы, покрытой изоляционным слоем, разделении пластин на кристаллы, соединении кристалла со стороны тензометрической схемы с кольцом из стекла, при этом для повышения надежности в эксплуатации и изготовлении в изоляционном слое под стеклом выполняют отверстия, затем покрывают изоляционный слой с упомянутыми отверстиями слоем аморфного полупроводникового материала толщиной 0,5-5,0 мкм, устанавливают на слой аморфного материала кольцо из стекла и прикладывают электрическое напряжение 13 кВ между стеклом и кристаллом при 300-450°С.
Данное техническое решение принято в качестве прототипа для заявленного способа и первого варианта исполнения датчика.
Достигаемый при этом технический результат заключается в повышении чувствительности датчика, повышении стойкости к агрессивным средам и повышении надежности при эксплуатации и изготовлении.
Указанный технический результат достигается тем, что устройство для измерения механических величин, представляющее собой тензометрический преобразователь, содержащий металлический корпус в виде цилиндрического стакана с тонкостенным дном, являющимся упругим элементом в виде мембраны, на наружной поверхности которой сформированы тензорезисторы, расположенные в зонах сжатия и растяжения, коммутационные участки, интегрально или навесным монтажом соединяющие тензорезисторы в измерительный мост и с металлизированными площадками на периферийной области поверхности дна стакана, компенсационные элементы для температурной компенсации и нормирования выходного сигнала, а так же изоляционный слой, покрывающий указанные элементы на наружной поверхности дна стакана, а тензорезисторы из моносульфида самария закреплены на диэлектрическом слое из окиси алюминия или окиси кремния или двуокиси кремния, который закреплен на наружной поверхности дна стакана через адгезионный слой, при этом каждое плечо измерительного моста Уитстона выполнено из одного тензорезистора или группы тензорезисторов, соединенных последовательно или параллельно между собой, в зонах сжатия в кольцевой области перехода мембраны в стенку стакана и в зонах растяжения в области центральной части мембраны размещены дистантно по окружности одиночные тензорезисторы или объединенные в дистантно расположенные по окружности группы тензорезисторов, металлизированные площадки состоят из по крайней мере двух слоев, нижний из которых имеет минимальное переходное электрическое сопротивление, а верхний предназначен для пайки.
При этом в зоне сжатия мембрана выполнена утолщенной по отношению к толщине мембраны в кольцевой области перехода мембраны в стенку стакана окружного участка. Возможно исполнение, согласно которому с открытой стороны стакан может быть закрыт дополнительной мембраной.
Указанный технический результат также достигается тем, что в устройстве для измерения механических величин, представляющем собой тензометрический преобразователь, содержащий металлический корпус, на поверхности которого закреплены тензорезисторы, расположенные в зонах сжатия и растяжения, коммутационные участки, интегрально или навесным монтажом соединяющие тензорезисторы в измерительный мост и с металлизированными площадками на периферийной области корпуса, компенсационные элементы для температурной компенсации и нормирования выходного сигнала, а так же изоляционный слой, покрывающий указанные элементы на поверхности цилиндра, а металлический корпус выполнен в виде консольной балки со сквозным отверстием, тензорезисторы из моносульфида самария закреплены на диэлектрическом слое из окиси алюминия или окиси кремния или двуокиси кремния, который закреплен на поверхности металлического корпуса через адгезионный слой из хрома, при этом каждое плечо измерительного моста Уитстона выполнено из одного тензорезистора или группы тензорезисторов, соединенных последовательно или параллельно между собой и расположенных дистантно в зонах максимальных деформаций растяжения и сжатия, металлизированные площадки состоят из по крайней мере двух слоев, нижний из которых имеет минимальное переходное электрическое сопротивление, а верхний предназначен для пайки.
Указанный технический результат для способа достигается тем, что в способе изготовления тензорезисторного датчика, заключающемся в том, что берут упругий элемент, на поверхности которого определены зоны деформации от измеряемого параметра, затем определяют, как минимум, две зоны на упругом элементе, в которых деформации от измеряемого параметра имеют противоположные знаки, в этих зонах определяют сопряженные точки, в которых температура и температурные деформации в каждый момент времени воздействия имеют одинаковые значения и знак (равномерные температурные условия), в этих местах устанавливают по два тензорезистора, которые собирают в мостовую схему таким образом, чтобы тензорезисторы, воспринимающие деформации разного знака, располагались в смежных плечах, а так же размещают коммутационные участки, соединяющие тензорезисторы в измерительный мост и с металлизированными площадками, компенсационные элементы для температурной компенсации и нормирования выходного сигнала, и покрывают указанные электрические элементы изоляционным слоем, отличающийся тем, что на упругий элемент наносят адгезионный слой из хрома, поверх которого закрепляют диэлектрический слой из окиси алюминия или окиси кремния или двуокиси кремния, тензорезисторы выполняют из моносульфида самария, указанные электрические элементы формируют на упругом элементе путем вакуумного осаждения в камере через маски без развакуумирования камеры при температуре упругого элемента в пределах 100-450°С, при этом во время напыления моносульфида самария для получения тензорезисторов в камере поддерживают вакуум в пределах 10-6-10-3 мм рт.ст., диэлектрические и металлические элементы испаряют термически, электронной пушкой или магнетроном, а моносульфид самария испаряют взрывным способом из вольфрамовой или танталовой нагретой лодочки.
Указанные признаки являются существенными и взаимосвязаны с образованием устойчивой совокупности существенных признаков, достаточной для получения требуемого технического результата.
Настоящее изобретение поясняется конкретными примерами исполнения, которые, однако, не являются единственно возможными, но наглядно демонстрируют возможность достижения требуемого технического результата.
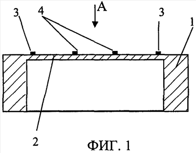
На фиг.1 – поперечный разрез датчика в виде стакана с плоским дном, первый пример исполнения;
фиг.2 – вид А по фиг.1;
фиг.3 показана топология элементов на мембране с плоским центром для примера исполнения по фиг.1;
фиг.4 – поперечный разрез датчика в виде консольной балки с отверстием, второй пример исполнения;
фиг.5 – вид Б по фиг.4;
фиг.6 – вариант исполнения упругого элемента;
фиг.7 – топология элементов по фиг.6.
Согласно настоящему изобретению рассматривается конструкция устройства для измерения механических величин (давления, силы, веса, ускорения, перемещения и т.д.), которое представляет собой тензометрический преобразователь. Данный тензометрический преобразователь содержит металлический корпус 1 (фиг.1), выполняющий функцию упругого элемента, который в этом примере исполнения выполнен в виде цилиндрического стакана с тонкостенным дном 2, являющимся упругим элементом в виде мембраны. На наружной поверхности дна стакана закреплены две или более пары идентичных по форме и размерам тензорезисторов, соединенных в мостовую измерительную схему Уитстона, первые тензорезисторы 3 размещены в зоне отрицательных (зона сжатия) деформаций, а вторые 4 – в зоне положительных деформаций мембраны (зона растяжения). Таким образом, на наружной поверхности мембраны сформированы тензорезисторы, расположенные в зонах сжатия и растяжения.
Топология элементов на мембране с плоским центром для примера исполнения по фиг.1 представлена на фиг.3.
На наружной поверхности дна стакана закреплены коммутационные участки 5 (соединительные элементы), интегрально или навесным монтажом соединяющие тензорезисторы 3 и 5 в измерительный мост и с металлизированными площадками на периферийной области поверхности дна стакана, в которой размещены компенсационные элементы 6 для температурной компенсации изменения чувствительности и «дрейфа» нуля, а также нормирования выходного сигнала. Контактные металлизированные площадки 7 выполнены из, по крайней мере, двух слоев, нижний из которых имеет минимальное переходное электрическое сопротивление, а верхний предназначен для пайки (хорошо паяется (Ni, Fe). В зонах сжатия и растяжения расположены несколько одиночных тензорезисторов или группы тензорезисторов с целью выбора оптимальных метрологических характеристик, или получения многоканальных устройств.
Сверху все электрические элементы покрыты изоляционным слоем.
Варианты иного исполнения корпуса по фиг.1 показаны на фиг.4, 5, 6. На фиг.4 представлен поперечный разрез датчика в виде консольно закрепленной балки с отверстием. Такая конструкция рассчитана на измерение деформаций и нагрузки при локальном приложении концевой силы. А на фиг.6 – корпус повторяет исполнение по фиг.1, но в ее центральной части расположен жесткий центр, по краям которого расположена зона растяжения.
Тензорезисторы выполняются из моносульфида самария и закреплены на диэлектрическом слое из окиси алюминия (AlO3)или окиси кремния (SiO) или двуокиси кремния (SiO2), который закреплен на наружной поверхности дна стакана через адгезионный слой, например, из хрома. Каждое плечо измерительного моста Уитстона выполнено из одного тензорезистора или группы тензорезисторов, соединенных последовательно или параллельно между собой ((для точной балансировки моста). В зонах сжатия в кольцевой области перехода мембраны в стенку стакана и в зонах растяжения в области центральной части мембраны размещены дистантно по окружности одиночные тензорезисторы или объединенные в дистантно расположенные по окружности группы тензорезисторов.
Данные датчики изготавливаются следующим образом. На поверхности упругого элемента определяют зоны деформации от измеряемого параметра, определяют как минимум две зоны на упругом элементе, в которых деформации от измеряемого параметра имеют противоположные знаки, в этих местах устанавливают по два или более тензорезистора, которые собирают в мостовую схему таким образом, чтобы тензорезисторы, воспринимающие деформации разного знака, располагались в смежных плечах, а так же размещают коммутационные участки, соединяющие тензорезисторы в измерительный мост и с металлизированными площадками, компенсационные элементы для температурной компенсации и нормирования выходного сигнала, и покрывают указанные электрические элементы изоляционным слоем. Такая технология изготовления хорошо описана в прототипе для этого объекта.
Особенностью нового способа является то, что сначала на упругий элемент наносят адгезионный слой, например, из хрома, поверх которого закрепляют диэлектрический слой из окиси алюминия или окиси кремния или двуокиси кремния. Так как электрические элементы (тензорезисторы, соединительные элементы, контактные площадки) выполняются напылением и относятся к пленочным элементам, то надежность датчика (его эксплуатационная долговечность и возможность реализации функции формировании разностных сигналов) однозначно определяется степенью их прикрепления к диэлектрической подложке, которая является для них базовой поверхностью. В свою очередь, подложка должна надежно крепиться на поверхности носителя, то есть корпуса. Учитывая, что и подложка, и корпус, и электрические элементы изготавливаются из разнородных материалов, то в рамках данной заявки в разработках датчика использован технический прием применения таких материалов, которые по отношению к друг другу имеют высокие адгезионные свойства. Например, диэлектрический слой из окиси алюминия или окиси кремния или двуокиси кремния имеет недостаточную сцепляемость с материалом корпуса (металлом), но при этом хорошо соединяется с хромом, который, в свою очередь, обладает высокими адгезивными свойствами с металлами, которые широко используются в электронике при изготовлении электронных приборов. То же самое относится и к такому материалу, как моносульфид самария, из которого изготовлены тензорезисторы.
Согласно настоящему способу указанные электрические элементы формируют на упругом элементе путем вакуумного осаждения в камере через маски без развакуумирования камеры при температуре упругого элемента в пределах 100-450°С, при этом во время напыления моносульфида самария для получения тензорезисторов в камере поддерживают вакуум в пределах 10-6-10-3 мм рт.ст., диэлектрические и металлические элементы испаряют термически, электронной пушкой или магнетроном, а моносульфид самария испаряют взрывным способом из вольфрамовой или танталовой лодочки, нагретой до определенной температуры.
После напыления электрические компоненты покрываются защитным электрическим слоем для исключения воздействия внешней среды на электрическую часть датчика.
Возможность увеличения размеров тензорезисторов при заданных размерах мембраны увеличивает точность выполнения номиналов тензорезисторов, что уменьшает трудоемкость настроечных операций, а следовательно, повышает технологичность. Надежность в предлагаемой конструкции повышается также за счет исключения резких зон перехода мембраны к поверхностям в зонах воздействия деформаций от измеряемого давления. Плавное сопряжение с прилегающими поверхностями обеспечивает плавное распределение деформаций в переходных зонах, устраняет резкие пики деформаций, которые могут привести к появлению микротрещин в местах перехода и даже к повреждению мембраны. Выполнение подгоночных резисторов с расширенными участками, размещенными на центральном и периферийном утолщениях в зоне воздействия минимальных деформаций от измеряемого давления, повышает технологичность и надежность вследствие исключения возможности чрезмерного уменьшения ширины резисторов при лазерной или эрозионной подгонке номиналов резисторов, а также вследствие расположения участков (расширенных участков резисторов) в зоне воздействия минимальных деформаций от измеряемого давления, в результате чего существенно уменьшается воздействие деформаций на поврежденные в результате подгонки участки резисторов, что делает резисторы более стабильными и надежными.
Выполнение соединительных элементов или площадок идентичными по форме и размерам и размещение их симметрично относительно центра мембраны повышает технологичность, так как позволяет более точно проводить коррекцию аддитивной температурной погрешности в связи с возможностью более точного учета температурного поля на мембране, которое в силу симметричности конструкции датчика распределяется на мембране симметрично относительно центра мембраны.
Датчик давления работает следующим образом. Измеряемое давления воздействует на внутренние поверхности корпуса 1. В результате этого на планарной поверхности мембраны возникают деформации, которые воспринимаются тензорезисторами 3 и 5 (или группами терморезисторов). Изменение сопротивлений тензорезисторов преобразуется мостовой схемой, в которую включены тензорезисторы, в выходное напряжение, снимаемое с контактных проводников. В связи с частичным размещением тензорезисторов на поверхности центральной части мембраны и периферийного участка, прилегающего к поверхности тонкой части мембраны, т.е. в зоне максимальных деформаций от измеряемого давления, выходной сигнал, и, следовательно, и чувствительность увеличиваются. Кроме того, такое расположение повышает надежность и технологичность вследствие улучшения условий теплоотвода рассеиваемой мощности и повышения точности выполнения сопротивления тензорезисторов за счет возможности увеличения геометрических размеров тензорезисторов при заданных размерах мембраны.
Настоящее изобретение промышленно применимо, так как может быть промышленно освоено с использованием технологий напыления в вакуумной камере.
Формула изобретения
1. Устройство для измерения механических величин, представляющее собой тензометрический преобразователь, содержащий металлический корпус в виде цилиндрического стакана с тонкостенным дном, являющимся упругим элементом в виде мембраны, на наружной поверхности которой сформированы тензорезисторы, расположенные в зонах сжатия и растяжения, коммутационные участки, интегрально или навесным монтажом соединяющие тензорезисторы в измерительный мост и с металлизированными площадками на периферийной области поверхности дна стакана, компенсационные элементы для температурной компенсации и нормирования выходного сигнала, а также изоляционный слой, покрывающий указанные элементы на наружной поверхности дна стакана, отличающееся тем, что тензорезисторы из моносульфида самария закреплены на диэлектрическом слое из окиси алюминия, или окиси кремния, или двуокиси кремния, который закреплен на наружной поверхности дна стакана через адгезионный слой, при этом каждое плечо измерительного моста Уитстона выполнено из одного тензорезистора или группы тензорезисторов, соединенных последовательно или параллельно между собой, в зонах сжатия в кольцевой области перехода мембраны в стенку стакана и в зонах растяжения в области центральной части мембраны размещены дистантно по окружности одиночные тензорезисторы или объединенные в дистантно расположенные по окружности группы тензорезисторов, металлизированные площадки состоят из по крайней мере двух слоев, нижний из которых имеет минимальное переходное электрическое сопротивление, а верхний предназначен для пайки.
2. Устройство по п.1, отличающееся тем, что в зоне сжатия мембрана выполнена утолщенной по отношению к толщине мембраны в кольцевой области перехода мембраны в стенку стакана окружного участка.
3. Устройство по п.1, отличающееся тем, что с открытой стороны стакан закрыт дополнительной мембраной.
4. Устройство для измерения механических величин, представляющее собой тензометрический преобразователь, содержащий металлический корпус, на поверхности которого закреплены тензорезисторы, расположенные в зонах сжатия и растяжения, коммутационные участки, интегрально или навесным монтажом соединяющие тензорезисторы в измерительный мост и с металлизированными площадками на периферийной области корпуса, компенсационные элементы для температурной компенсации и нормирования выходного сигнала, а также изоляционный слой, покрывающий указанные элементы на поверхности цилиндра, отличающееся тем, что металлический корпус выполнен в виде консольной балки со сквозным отверстием, тензорезисторы из моносульфида самария закреплены на диэлектрическом слое из окиси алюминия, или окиси кремния, или двуокиси кремния, который закреплен на поверхности металлического корпуса через адгезионный слой из хрома, при этом каждое плечо измерительного моста Уитстона выполнено из одного тензорезистора или группы тензорезисторов, соединенных последовательно или параллельно между собой и расположенные дистантно в зонах максимальных деформаций растяжения и сжатия, металлизированные площадки состоят из, по крайней мере, двух слоев, нижний из которых имеет минимальное переходное электрическое сопротивление, а верхний предназначен для пайки.
5. Способ изготовления тензорезисторного датчика, заключающийся в том, что берут упругий элемент, на поверхности которого определены зоны деформации от измеряемого параметра, затем определяют, как минимум, две зоны на упругом элементе, в которых деформации от измеряемого параметра имеют противоположные знаки, в этих зонах определяют сопряженные точки, в которых температура и температурные деформации в каждый момент времени воздействия имеют одинаковые значения и знак (равномерные температурные условия), в этих местах устанавливают по два тензорезистора, которые собирают в мостовую схему таким образом, чтобы тензорезисторы, воспринимающие деформации разного знака, располагались в смежных плечах, а также размещают коммутационные участки, соединяющие тензорезисторы в измерительный мост и с металлизированными площадками, компенсационные элементы для температурной компенсации и нормирования выходного сигнала, и покрывают указанные электрические элементы изоляционным слоем, отличающийся тем, что на упругий элемент наносят адгезионный слой из хрома, поверх которого закрепляют диэлектрический слой из окиси алюминия, или окиси кремния, или двуокиси кремния, тензорезисторы выполняют из моносульфида самария, указанные электрические элементы формируют на упругом элементе путем вакуумированного осаждения в камере через маски без развакуумирования камеры при температуре упругого элемента в пределах 100-450°С, при этом во время напыления моносульфида самария для получения тензорезисторов в камере поддерживают вакуум в пределах 10-6-10-3 мм рт.ст., диэлектрические и металлические элементы испаряют термически, электронной пушкой или магнетроном, а моносульфид самария испаряют взрывным способом из вольфрамовой или танталовой нагретой лодочки.
РИСУНКИ
|
|