|
|
(21), (22) Заявка: 2007112071/28, 02.04.2007
(24) Дата начала отсчета срока действия патента:
02.04.2007
(46) Опубликовано: 10.02.2009
(56) Список документов, цитированных в отчете о поиске:
SU 1418539 A1, 23.08.1988. RU 2097707 С1, 27.11.1997. RU 2081399 С1, 10.06.1997. GB 312557, 30.05.1929. GB 1493955, 07.12.1977.
Адрес для переписки:
91057, Украина, г. Луганск, кварт. Волкова, 8, кв.20, В.В. Калюжному
|
(72) Автор(ы):
Иваненко Вячеслав Иванович (UA)
(73) Патентообладатель(и):
Иваненко Вячеслав Иванович (UA)
|
(54) КОМПЕНСАТОР ГИДРАВЛИЧЕСКОГО УДАРА СО СЧЕТЧИКОМ ТОПЛИВА В ТОПЛИВНЫХ СИСТЕМАХ ДВИГАТЕЛЕЙ
(57) Реферат:
Изобретение может быть использовано при диагностировании двигателей на испытательных стендах, в процессе их эксплуатации в транспортных средствах, а также в топливораздаточных колонках автозаправочных станций и в любых иных гидросистемах, где используются средства контроля, измерения и учета расхода и параметров рабочей или транспортирующей жидкой среды. Компенсатор выполнен в виде емкости с демпфирующими элементами (вкладышей выпуклой формы из упругого маслобензостойкого материала), выполняющими непосредственно функцию компенсатора, над емкостью размещен счетчик расхода топлива в качестве регистрирующего устройства. Компенсатор устанавливают в топливную систему двигателя после топливоподкачивающего насоса низкого давления. Емкость компенсатора выполнена с диаметром, гораздо превышающим диаметр трубок топливопровода. Корпус содержит в середине внутреннюю глухую перегородку, разделяющую указанную емкость на две многопроходные компенсационные камеры, соединяющиеся между собой только через счетчик топлива. Внутренний объем каждой компенсационной камеры разделен диаметрально на несколько полостей дисками, в каждом диске имеется отверстие. Техническим результатом изобретения является повышение точности, увеличение срока эксплуатации, упрощение конструкции и др. 2 ил.
Изобретение относится к гидравлической технике, в частности к компенсаторам колебаний давления и гидравлического удара, а также к счетчикам топлива, и может быть использовано для точного автоматического измерения и учета расхода топлива в топливных системах двигателей внутреннего сгорания как при диагностировании двигателей на испытательных стендах, так и в процессе их эксплуатации в транспортных средствах, а также в топливораздаточных колонках автозаправочных станций и в любых иных гидросистемах, где используются средства контроля, измерения и учета расхода и параметров рабочей или транспортирующей жидкой среды.
Известна топливная система транспортного средства, содержащая топливный бак, от которого отходит топливная магистраль низкого давления, в которую последовательно включены запорный вентиль, топливоподкачивающий насос низкого давления (помпа), фильтр тонкой очистки топлива, счетчик расхода топлива, топливный насос высокого давления, от которого топливо по разветвленной магистрали подается во впрыскивающие форсунки, и магистраль возврата неиспользованного топлива в нагнетательный участок магистрали перед топливным насосом высокого давления. В этой топливной системе счетчик расхода топлива содержит датчик давления топлива, выполненный в виде манометра. Это единственный регистрирующий узел в конструкции известного счетчика топлива. Для определения расхода топлива сначала обеспечивают стабильную работу двигателя на минимальных устойчивых оборотах холостого хода и датчиком измеряют давление топлива на этих оборотах двигателя. Затем обеспечивают стабильную работу двигателя на максимальных устойчивых оборотах холостого хода и датчиком измеряют давление топлива на этих оборотах. По разнице двух измеренных датчиком давлений топлива, используя заранее подготовленную зависимость, определяют максимальный часовой расход топлива, имеющий место при номинальных оборотах двигателя [см. патент России №2222785 по классу G01F 9/00, опубликованный 27.01.2004 года].
Основным недостатком этого счетчика топлива является то, что он не позволяет проводить учет расхода топлива в автоматическом режиме во время работы двигателя, что позволяет считать его конструкцию несовершенной. Наличие этого недостатка обусловлено тем, что работа счетчика основана на измерении давления топлива в топливной системе двигателя. Потому его основным и единственным узлом является датчик измерения давления топлива, который измеряет, в сущности, не расход топлива, а лишь его давление. Именно это обстоятельство – измерение давления – вынуждает проводить дополнительные вычисления и сравнения их с предварительно установленной зависимостью, рассчитанной для конкретного типа двигателя, а общий расход топлива также необходимо вычислять, предварительно зафиксировав общее время работы двигателя.
Основным недостатком этого счетчика топлива является то, что он не содержит компенсатора колебаний давления и гидравлического удара, которые неизбежно возникают во время работы двигателей, и из-за высокой чувствительности емкостного датчика, естественно, влияют на его показания. Это происходит потому, что емкостный датчик счетчика установлен в топливную магистраль низкого давления сразу же после топливоподкачивающего насоса низкого давления. Поскольку топливоподкачивающий насос низкого давления подает топливо импульсами со значительной амплитудой колебаний потока, а емкостный датчик выполнен в виде индукционного поплавка, то он не может быстро реагировать на локальные колебания скорости потока топлива в силу своей инерционности, а потому и не может оперативно сформировать электрический сигнал, в результате чего такой счетчик (без компенсатора гидравлического удара и колебаний давления) не позволяет вести точный учет расхода топлива двигателем.
Наиболее близким по своей сущности и достигаемому эффекту, принимаемым за прототип, является компенсатор гидравлического удара со счетчиком топлива в топливных системах двигателей, который выполнен в виде расходной емкости с демпфирующим элементом, выполненным в виде демпфирующей решетки, выполняющей непосредственно функцию компенсатора, над которой расположен погружной элемент, преобразующий вес топлива в электрический сигнал, передаваемый на регистрирующий прибор, выполненный в виде аналогового преобразователя и электронно-вычислительной машины, которые, в сущности, и выполняют функцию счетчика расхода топлива. Этот компенсатор со счетчиком топлива устанавливают в топливную систему транспортного средства, содержащую топливный бак, от которого отходит топливная магистраль низкого давления, в которую последовательно включены запорный вентиль, топливоподкачивающий насос низкого давления (помпа), счетчик топлива с компенсатором гидравлического удара, установленным со стороны насоса низкого давления, фильтр тонкой очистки топлива, топливный насос высокого давления, от которого топливо по разветвленной магистрали подается в впрыскивающие форсунки, и магистраль возврата неиспользованного топлива в топливный бак [см. патент России №2097707 по классу G01F 9/00, 25/00, опубликованный 27.11.1997 года].
Основным недостатком известного компенсатора гидравлического удара со счетчиком топлива является ограниченность области его использования, а именно: только в стационарных условиях на испытательных стендах. Наличие этого недостатка обусловлено тем, что в конструкции этого узла есть погружной в топливо элемент. Следовательно, точность измерения расхода топлива зависит от беспрепятственного погружения элемента, которое обеспечивается только в том случае, если этот элемент не будет касаться стенок корпуса, в котором он расположен. В противном случае, во время касания указанного элемента к стенкам, из-за трения, он не сможет точно отображать вес топлива, а потому и будет передавать сигнал, не соответствующий действительности. В реальных условиях эксплуатации транспортных средств их двигатели, естественно, находятся в условиях непрерывных колебаний и встряски во время движения из-за попеременного наклона шасси транспортного средства и неровностей дорожного покрытия. Именно это обстоятельство – наличие в конструкции контролирующего узла элемента поплавкового типа – исключает возможность учета расхода топлива в реальных условиях эксплуатации транспортных средств, хотя именно для этого, в сущности, топливные системы двигателей и снабжают счетчиками топлива. Кроме того, наличие аналогового преобразователя и электронно-вычислительной машины значительно увеличивает стоимость топливной системы транспортного средства с таким устройством для измерения расхода топлива и снижает надежность его работы из-за возможных отказов электронной техники, эксплуатируемой в условиях постоянных колебаний и тряски.
Вторым существенным недостатком известного компенсатора гидравлического удара со счетчиком топлива является то, что в нем отсутствуют какие-либо средства компенсации гидравлического удара на участке между счетчиком и топливным насосом высокого давления, поскольку решетка установлена со стороны насоса низкого давления, что исключает возможность точного измерения и учета расхода топлива счетчиком. Наличие этого недостатка поясняется следующим. Общеизвестно, что при работе топливного насоса высокого давления в нагнетательной магистрали возникает пульсирующий гидравлический удар, при котором давление топлива на этом участке может увеличиваться до двух раз. Именно этот гидравлический удар (из стороны насоса высокого давления) и искажает показания счетчика топлива (причем любого типа), а также приводит к быстрому сокращению ресурса его работы и даже иногда к разрушению. Но известная регистрирующая система содержит только один компенсатор гидравлического удара, причем расположенный со стороны насоса низкого давления, то есть со стороны источника меньших колебаний давления, а не со стороны источника чрезмерно больших колебаний. Поэтому демпфирующая решетка, хотя и уменьшает импульсы давления топлива от топливоподкачивающего насоса, но не может повлиять (снизить) на колебания давления со стороны насоса высокого давления, а поэтому и не обеспечивает точность измерения расхода топлива.
Третьим недостатком известного компенсатора гидравлического удара со счетчиком топлива является то, что эти два узла не объединены между собой в единую конструкцию. Этот недостаток поясняется следующим. Собственно говоря, компенсатор – это узел, который обеспечивает необходимое качество работы счетчика, в частности необходимую точность результатов измерения расхода топлива, которая достигается при стабильных механических параметрах движения топлива в топливной системе двигателя и никаких других функций не выполняет. Потому оснащение счетчика компенсатором является обязательным и необходимым условием, гарантирующим получение истинной информации о расходе топлива, а также предотвращает возможность поломки счетчика чрезмерными импульсами давления. Но если эти узлы выполнены отдельно один от другого, то есть не объединены в единую конструкцию, то появляется возможность устанавливать компенсатор в любом месте топливной системы двигателя, например, удобном для производителя или с точки зрения пользователя транспортным средством, к тому же, не обязательно последовательно вместе со счетчиком. В таких случаях, когда компенсатор будет расположен не вместе (последовательно) со счетчиком, невозможно предотвратить влияние колебаний и гидравлического удара на работу последнего. Следовательно, если компенсатор и счетчик будут объединены в единую конструкцию, то это исключает любую возможность установить компенсатор отдельно на ином участке топливной системы, удаленной от счетчика, где в его самостоятельной работе вообще нет смысла.
Четвертым недостатком известного компенсатора гидравлического удара со счетчиком топлива является несовершенство самого компенсатора, в частности его конструкции. Этот недостаток поясняется следующим. Использование в конструкции компенсатора принципа выравнивания колебаний давления посредством компенсирующей решетки требует наличия в ней множества мелких и глубоких отверстий или использования одновременно нескольких решеток, располагаемых друг над другом в несколько ярусов. В первом случае возрастает трудоемкость изготовления такой решетки, а во втором – возрастает сложность этого узла, и в обоих случаях возрастают габариты и вес компенсатора колебаний давления. Именно этот конструктивный недостаток создает определенные неудобства, выражающиеся в проблематичности размещения таких относительно огромных по габаритам дополнительных узлов для большинства транспортных средств из-за отсутствия такого свободного (по размерам) пространства под капотом, а значительный вес компенсатора создает неудобства манипулирования им при его монтаже (демонтаже) в топливной системе двигателя.
В основу изобретения поставлена задача повышения точности учета расхода топлива и расширение области использования контролирующего узла, а также предотвращения возможности поломки счетчика топлива и увеличения срока его службы с одновременным повышением надежности работы и упрощением конструкции с соответствующим снижением стоимости и веса компенсатора, путем полного исключения влияния динамического колебания давления топлива на счетчик с любой стороны топливной системы двигателя и путем непосредственной регистрации расхода топлива без промежуточных преобразований показателей в форму, удобную для контроля, за счет принципиального изменения конструкции компенсатора гидравлического удара и выполнения его неотъемлемой частью счетчика топлива, что исключает возможность использования отдельно одного из двух узлов, совокупно контролирующих расход топлива в топливной системе двигателя.
Решение поставленной задачи достигается тем, что в компенсаторе гидравлического удара со счетчиком топлива в топливных системах двигателей, выполненном в виде емкости с демпфирующими элементами, выполняющими непосредственно функцию компенсатора, и над которой размещен счетчик топлива, устанавливаемыми в топливную систему двигателя после топливоподкачивающего насоса низкого давления, согласно предложению, в качестве регистрирующего устройства используется обычный механический счетчик расхода топлива, который своими входным и выходным отверстиями для топлива присоединен к компенсатору гидравлического удара, выполненному в виде одной емкости гораздо большего диаметра, чем диаметр трубок топливопровода, с присоединенными к ее торцам штуцерами подвода/отвода топлива, и которая содержит в середине внутреннюю глухую перегородку, разделяющую указанную емкость на две многопроходные компенсационные камеры, соединяющиеся между собой только через счетчик топлива, а также внутренний объем каждой компенсационной камеры разделен диаметрально на несколько полостей дисками, в каждом из которых имеется отверстие для перехода рабочей среды из одной полости в другую, причем размер указанного отверстия в диске равен размеру штуцеров подвода/отвода топлива в емкость компенсатора, кроме того, в каждом диске указанное отверстие выполнено на его периферии в виде сегмента, при этом смежные диски установлены таким образом, что их отверстия оказываются на диаметрально противоположных сторонах емкости компенсатора для многократного изменения направления протекания рабочей среды в компенсационной камере, которая, в свою очередь, полностью заполнена демпфирующими элементами, выполненными в виде вкладышей выпуклой формы из упругого маслобензостойкого материала, например в виде резиновых шариков.
Предложенный компенсатор гидравлического удара конструктивно достаточно прост и выглядит в виде последовательно расположенных компенсационных камер, полости которых заполнены демпфирующими (или упругими) элементами, например шариками из маслобензостойкой резины. Периферийное выполнение отверстий в дисках, разделяющих внутренний объем каждой компенсационной камеры на отдельные полости, обеспечивает последовательное прохождение рабочей среды последовательно через все полости демпфирующих камер с изменением направления движения потока рабочей среды в каждой полости. Именно изменение направления движения рабочей среды вынуждает последнюю взаимодействовать со всеми демпфирующими элементами. Следовательно, в случае возникновения гидравлического удара или иных колебаний давления в топливной системе волна избыточного давления гасится сначала за счет диссипации ее энергии на отверстиях дисков, затем в результате упругого сжатия демпфирующих элементов. Регулировка диапазона частот гасимых волн и степени снижения их амплитуды достигается варьированием размерами и жесткостью упругих резиновых шариков. Выполнение демпфирующих элементов в виде упругих шариков предельно упрощает их конструкцию и технологию изготовления. Выпуклая форма демпфирующих элементов выбрана не случайно. Именно выпуклость предотвращает их прилегание друг к другу плоскостями, следовательно, позволяет сохранять постоянным общий уровень «гасящих» свойств каждой полости компенсационных камер. Глухая перегородка в середине компенсатора разделяет его на две отдельные части, одна из которых оказывается обращенной в сторону насоса низкого давления, а другая – в сторону насоса высокого давления. Из этого следует, что между двумя компенсационными камерами образуется самый безопасный участок топливной системы с точки зрения возможности возникновения в нем любых колебаний давления рабочей среды. Следовательно, расположение счетчика топлива между компенсационными камерами – это единственное место, где его работа не зависит от состояния рабочей среды в топливной системе. Потому в компенсаторе предусмотрены дополнительные отверстия для присоединения к нему счетчика, через который обе компенсационные камеры и соединяются между собой. Именно такая конструкция компенсатора не только позволяет свести к минимуму его габаритные размеры, но и исключает возможность устанавливать счетчик топлива в другом месте топливной системы двигателя, и именно так обеспечивается высокая точность учета суммарной массового расхода топлива. Использование в качестве регистрирующего устройства механического счетчика топлива, например механического счетчика марки BRAUN HZ-5, позволяет вести непосредственный учет расхода топлива без использования дополнительных устройств для преобразования сигнала или предварительно разработанных номограмм, к тому же автоматически и в процессе эксплуатации транспортного средства, причем компенсатор увеличивает ресурс работы счетчика за счет снижения локальной нагрузки колебаний давления на его механическую часть. Благодаря перечисленным конструктивным особенностям предложенный компенсатор со счетчиком образуют единый узел контроля расхода топлива.
Предложенный компенсатор со счетчиком топлива располагают в топливной системе транспортного средства, содержащей топливный бак, от которого отходит топливная магистраль низкого давления, в которую последовательно включены запорный вентиль, топливоподкачивающий насос низкого давления (помпа), компенсатор гидравлического удара со счетчиком топлива, фильтр тонкой очистки топлива, топливный насос высокого давления, от которого топливо по разветвленной магистрали подается во впрыскивающие форсунки, и магистраль возврата неиспользованного топлива в топливный бак. Указанное место расположения контролирующего узла является наиболее эффективным местом его использования с точки зрения возможности одновременного гашения волны повышенного давления топлива от двух главных источников ее возникновения в топливной системе двигателя.
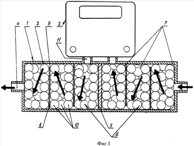
Дальнейшая сущность изобретения поясняется иллюстративным материалом, на котором изображено следующее: фиг.1 – предложенный компенсатор гидравлического удара со счетчиком топлива, продольный разрез для лучшего показа конструкции; фиг.2 – поперечный разрез компенсатора гидравлического удара для лучшего показа конструкции диска. Стрелками на фиг.1 показано направление движения рабочей среды (топлива) в компенсаторе гидравлического удара.
Предложенный компенсатор 1 гидравлического удара со счетчиком 2 топлива в топливных системах двигателей выполнен в виде единой емкости, образующей корпус 3 компенсатора и выполненной диаметром, гораздо превышающим диаметр трубок топливной магистрали (не показаны), с присоединенными к его торцам штуцерами 4 подвода/отвода топлива. Корпус 3 может быть выполнен и нецилиндрическим, однако цилиндрическая его форма наиболее технологична в изготовлении. Корпус 3 имеет в середине внутреннюю глухую перегородку 5, которая разделяет его по длине на две многопроходные компенсационные камеры 6, соединяющиеся между собой только через счетчик 2 топлива. Внутренний объем каждой компенсационной камеры 6 разделен диаметрально на несколько полостей 7 дисками 8, в каждом из которых выполнено отверстие 9 для перетекания рабочей среды из одной полости в другую. Размер отверстия 9 в диске 8 равен размеру штуцеров 4 подвода/отвода топлива в корпус 3 компенсатора 1. Такое соотношение размеров отверстий 9 и размеров штуцеров 4 является оптимальным. Именно в этом случае появляется возможность компенсировать гидравлический удар полностью. Если отверстия 9 в дисках 8 будут большими, чем диаметр штуцеров 4, то часть волны повышенного давления, не встретив серьезного препятствия, будет частично «проскакивать» в счетчик 2. А если отверстия 9 в дисках 8 будут меньше, чем диаметр штуцеров 4, то в полостях 7 будет возникать повышенное давление рабочей среды, которое, попадая в счетчик 2, будет дестабилизировать его работу. В каждом диске 8 отверстие 9 выполнено на его периферии в форме сегмента, как наиболее технологичное в изготовлении (обрезается край диска). Смежные диски 8 установлены таким образом, что их отверстия 9 оказываются на диаметрально противоположных сторонах корпуса 3 компенсатора 1 для изменения направления движения рабочей среды в компенсационной камере 6. Периферийное выполнение отверстий 9 в дисках 8, а также их расположение на смежных дисках 8 на диаметрально противоположных сторонах, обеспечивает последовательное прохождение рабочей средой всех полостей компенсационных камер 6 с изменением направления движения потока рабочей среды в каждой полости 7. Количество полостей 7 в каждой компенсационной камере 6 может быть разным, но, как показала практика, для полного гашения гидравлического удара достаточно установить всего лишь по два диска 8 в каждой компенсационной камере 6, полости 7 компенсационных камер 6 полностью заполнены демпфирующими элементами 10, выполненными в виде вкладышей выпуклой формы из упругого маслобензостойкого материала, например, в виде резиновых шариков. Изменение направления движения рабочей среды, о котором говорилось выше, вынуждает последнюю, омывая, взаимодействовать со всеми демпфирующими элементами 10. Демпфирующие элементы 10 могут иметь различную жесткость и размеры, в зависимости от диапазона частот волн давления, которые гасятся, и степени снижения их амплитуды. Выполнение демпфирующих элементов 10 в виде упругих шариков предельно упрощает их конструкцию и технологию изготовления. Выпуклая форма демпфирующих элементов 10 предотвращает их прилегание друг к другу плоскостями (или слипание между собой), следовательно, позволяет сохранять постоянным общий уровень «гасящих» свойств каждой полости 7 компенсационных камер 6. Демпфирующие элементы 10 могут иметь и произвольную форму, но обязательно выпуклую, что исключает возможность прилегания их друг к другу плоскостями. В качестве регистрирующего устройства используется обычный механический счетчик 2 расхода топлива, который своими входным и исходным отверстиями 11 для топлива присоединен отдельно к каждой компенсационной камере 6 компенсатора 1 гидравлического удара. Использование в качестве регистрирующего устройства механического счетчика 2 топлива позволяет вести непосредственный учет расхода топлива без использования дополнительных средств для преобразования сигнала в иную форму или предварительно разработанных номограмм. Расход топлива при работе двигателя наблюдается визуально – непосредственно по показаниям счетчика 2. Размещение счетчика 2 топлива между компенсационными камерами 6 над компенсатором 1 делает его работу независимой от возмущения рабочей среды в топливной системе, поскольку с обеих сторон от него расположены компенсационные камеры 6. Таким образом, предложенный компенсатор 1 гидравлического удара со счетчиком 2 образуют единый безопасный и точный узел контроля и учета расхода топлива двигателем.
Предложенный компенсатор 1 гидравлического удара со счетчиком 2 топлива в топливных системах двигателей работает следующим образом.
Предложенный компенсатор 1 со счетчиком 2 топлива располагают в топливной системе транспортного средства (не показана в виду общеизвестности), содержащей топливный бак, от которого отходит топливная магистраль низкого давления, в которую последовательно включены запорный вентиль, топливоподкачивающий насос низкого давления (помпа), компенсатор 1 гидравлического удара со счетчиком 2 топлива, фильтр тонкой очистки топлива, топливный насос высокого давления, от которого топливо по разветвленной магистрали подается во впрыскивающие форсунки, и магистраль возврата неиспользованного топлива в топливный бак. Указанное место расположения контролирующего узла является наиболее эффективным местом его использования с точки зрения гашения волны повышенного давления топлива в топливной системе двигателя.
При запуске двигателя топливо по топливной магистрали начинает двигаться из топливного бака к впрыскивающим форсункам. При стабильном режиме движения рабочей среды в гидросистеме она через штуцер 4 попадает в корпус 3 компенсатора 1 и, оказываясь в компенсационной камере 6, рассредоточивается в первой полости 7 между демпфирующими элементами 10. Дальше, сталкиваясь с первым диском 8, рабочая среда изменяет свое направление движения, сосредоточивается около отверстия 9 и через него попадает во вторую полость 7, где опять рассредоточивается. Затем рабочая среда опять сталкивается со вторым диском 8 и опять изменяет свое направление движения, сосредоточиваясь возле отверстия 9, и через него попадает в третью полость 7, где опять рассредоточивается. По мере продвижения по третьей полости 7 рабочая среда сталкивается с глухой перегородкой 5. Поскольку указанная перегородка 5 предотвращает последующее движение рабочей жидкости вдоль корпуса 3, она попадает во входное отверстие 11 счетчика 2, вынуждая его своей механической частью учитывать объем протекающей через него жидкости. Далее, рабочая среда через выходное отверстие 11 счетчика 2 попадает во вторую компенсационную камеру 6, и цикл ее рассредоточения и изменений направления движения повторяется аналогично тому, как это происходило в первой компенсационной камере 6. Выходя из компенсатора 1 через штуцер 4, рабочая среда возвращается в топливную магистраль. Таким образом, рабочая среда, в процессе движения через компенсатор 1, постоянно омывает демпфирующие элементы 10 и многократно рассредоточивается и сосредоточивается и изменяет свое направление движения вдоль корпуса 3 компенсатора 1.
При работе топливного насоса низкого давления, из-за попеременного открытия-закрытия его клапанов, в магистрали низкого давления постоянно возникает гидравлический удар, который не только искажает показания счетчика 2 топлива, но и приводит к его преждевременному выходу из строя. Это негативное явление предупреждает первая компенсационная камера 6. Еще больший по частоте и амплитуде гидравлический удар возникает в нагнетательной магистрали из-за попеременного открытия-закрытия клапанов насоса высокого давления. Это негативное явление предупреждает уже вторая компенсационная камера 6. Следовательно, с какой бы стороны не возникал гидравлический удар, волна повышенного давления, в первую очередь, сталкивается с первой полостью 7 каждой компенсационной камеры 6, где частично (пиковые нагрузки) гасятся за счет диссипации энергии в расширенной части корпуса 3 компенсатора 1. Далее, «проскочившая» часть еще неуравновешенного потока рабочей среды сталкивается с демпфирующими элементами 10, которые благодаря своей податливости (упругости материала) сжимаются (деформируются) и рассеивают волну давления еще в большей мере. При последующем продвижении рабочей среды вдоль компенсационной камеры 6, из-за многократного изменения направления ее движения и упругости демпфирующих элементов 10, ее давление постепенно выравнивается до приемлемого уровня, что исключает действие волны давления первоначального уровня на счетчик 2 и не вносит дестабилизацию в его работу. Таким образом, счетчик 2 оказывается полностью защищенным от гидравлического удара, с какой бы стороны топливной системы двигателя он не появился, поскольку полностью гасится за счет одновременного действия сразу же трех факторов, а точнее: диссипации энергии при переходе из одной полости 7 в другую, многократного изменения направления протекания рабочей среды и упругих свойств демпфирующих элементов 10.
Предложенная конструкция компенсатора гидравлического удара со счетчиком топлива при испытаниях в реальных условиях эксплуатации энергонасыщенных транспортных средств (тракторов) позволила снизить погрешность измерения расхода топлива до 1% для тех счетчиков, которые без компенсатора гидравлического удара имеют погрешность измерения расхода топлива в пределах 13-30%.
Существенное отличие заявляемого объекта изобретения от ранее известных заключается в том, что компенсатор гидравлического удара со счетчиком топлива вместе образуют единый конструкционный узел для измерения расхода топлива, который нечувствителен к колебаниям давления, с какой бы стороны они не возникали, в процессе работы двигателя, благодаря разделению корпуса компенсатора на две компенсационные камеры, в которых имеется несколько дисков с одинаковыми по размерам, но разными по расположению в пространстве отверстиями, и полностью заполненными демпфирующими элементами выпуклой формы из упругого материала, что делает его очень простым и компактным конструктивно. Указанные отличия, в совокупности, позволяют стабилизировать работу счетчика топлива и получать показатели, соответствующие действительности, вести визуальный учет расхода топлива без каких-либо предварительных преобразований показаний счетчика, а также гасить колебание давления топлива в системе перед счетчиком, с какой бы стороны оно не возникало, и именно так повысить надежность и ресурс работы всех узлов топливной системы, поскольку снижается на них динамическая нагрузка. Ни один из известных компенсаторов гидравлического удара не может обладать отмеченными свойствами, поскольку либо вообще не содержит в своих конструкциях счетчиков топлива, либо содержит счетчики в топливной системе, но удаленные от компенсаторов, либо компенсаторы предотвращают возникновения гидравлического удара только с одной стороны от счетчика, что не позволяет получить сведения о реальных расходах топлива.
К техническим преимуществам предложенного технического решения, по сравнению с прототипом, можно отнести следующее:
– повышение точности учета расхода топлива за счет гарантированного исключения действия гидравлического удара на счетчик, с какой бы стороны топливный системы он не возникал;
– увеличение длины тракта движения рабочей среды вдоль компенсатора за счет использования разделяющих дисков со специальным расположением в них отверстий определенных размеров;
– увеличение срока эксплуатации (практически не ограниченный) до естественного износа демпфирующих элементов за счет отсутствия в конструкции компенсатора подвижных и разрушаемых деталей;
– повышение технологичности изготовления компенсатора за счет использования одного корпуса и простых демпфирующих элементов;
– высокая надежность гашения гидравлического удара за счет влияния на волну повышенного давления сразу трех факторов: диссипации энергии при переходе из одной полости в другую, многократного изменения направления протекания рабочей среды и упругих свойств демпфирующих элементов;
– возможность гашения гидравлического удара с любой стороны за счет разделения корпуса на две части глухой перегородкой;
– возможность гашения гидравлического удара любой мощности за счет использования адекватных по жесткости демпфирующих элементов;
– универсальность компенсатора со счетчиком по этой же причине;
– увеличение срока службы регистрирующего устройства по той же причине;
– возможность использования регистрирующего устройства любой известной конструкции по этой же причине;
– упрощение контроля расхода топлива за счет использования в качестве регистрирующего устройства обычного механического счетчика затраты топлива;
– упрощение конструкции регистрирующего устройства по той же причине;
– упрощение конструкции компенсатора за счет использования разделения его корпуса простыми сплошными дисками с отверстиями и использования простых демпфирующих элементов;
– исключение возможности использования счетчика без компенсатора за счет того, что они образуют единую конструкцию;
– уменьшение габаритов контролирующего узла за счет того, что счетчик примыкает непосредственно к компенсатору;
– обеспечение стабильности работы двигателя и исключение возможности разрушения его топливной системы за счет снижения динамической нагрузки на узлы топливной системы;
– возможность регулирования эксплуатационных характеристик контролирующего узла за счет использования демпфирующих элементов разной жесткости и за счет возможности подключения к компенсатору счетчика любой конструкции.
К социальным преимуществам предложенного технического решения, по сравнению с прототипом, можно отнести высокую точность контроля расхода топлива в результате высокой надежности и полного гашения энергии возмущенной среды, расширение области использования контролирующего средства вследствие уменьшения его габаритов и веса. Именно по этим причинам известные компенсаторы гидравлического удара и счетчики топлива не используются в топливных системах большинства транспортных средств, поскольку либо не гасят полностью гидравлический удар и колебания давления, либо их не возможно разместить под капотом транспортного средства. Наличие в топливной системе предложенного компенсатора со счетчиком позволяет не только точно контролировать расход топлива, но и предупредить несанкционированный доступ для изъятия топлива из топливной системы транспортного средства.
Экономический эффект от внедрения предложенного технического решения, по сравнению с использованием прототипа, получают за счет увеличения ресурса работы узлов топливной системы и снижения стоимости контролирующего узла, состоящего из компенсатора гидравлического удара со счетчиком топлива, в топливных системах двигателей.
Формула изобретения
Компенсатор гидравлического удара со счетчиком топлива в топливных системах двигателей, выполненный в виде емкости с демпфирующими элементами, выполняющими непосредственно функцию компенсатора, и над которой размещен счетчик топлива, устанавливаемые в топливную систему двигателя после топливоподкачивающего насоса низкого давления, отличающийся тем, что в качестве регистрирующего устройства используется обычный механический счетчик расхода топлива, который своими входным и выходным отверстиями для топлива присоединен к компенсатору гидравлического удара, выполненному в виде одной емкости диаметром, гораздо превышающим диаметр трубок топливопровода, с присоединенными к ее торцам штуцерами подвода/отвода топлива, и которая содержит в середине внутреннюю глухую перегородку, разделяющая указанную емкость на две многопроходных компенсационных камеры, соединяющиеся между собой только через счетчик топлива, а также внутренний объем каждой компенсационной камеры разделен диаметрально на несколько полостей дисками, в каждом из которых имеется отверстие для перехода рабочей среды из одной полости в другую, причем размер указанного отверстия в диске равен размеру штуцеров подвода/отвода топлива в емкость компенсатора, кроме того, в каждом диске указанное отверстие выполнено на его периферии в виде сегмента, при этом смежные диски установлены таким образом, что их отверстия оказываются на диаметрально противоположных сторонах емкости компенсатора для многократного изменения направления протекания рабочей среды в компенсационной камере, которая, в свою очередь, полностью заполнена демпфирующими элементами, выполненными в виде вкладышей выпуклой формы из упругого маслобензостойкого материала, например, в виде резиновых шариков.
РИСУНКИ
|
|