|
|
(21), (22) Заявка: 2007121218/28, 07.06.2007
(24) Дата начала отсчета срока действия патента:
07.06.2007
(46) Опубликовано: 10.02.2009
(56) Список документов, цитированных в отчете о поиске:
WO 00/72000 A1, 30.11.2000. US 5275060 A, 04.01.1994. US 6669636 B2, 30.12.2003. RU 2205369 C2, 27.05.2003.
Адрес для переписки:
61052, Украина, г. Харьков-52, а/я 332, А.А. Стеценко
|
(72) Автор(ы):
Сорокопут Валерий Леонидович (UA)
(73) Патентообладатель(и):
АО “Тахион” (UA)
|
(54) УЛЬТРАЗВУКОВОЙ ПРЕОБРАЗОВАТЕЛЬ
(57) Реферат:
Изобретение относится к области измерительной техники. Ультразвуковой преобразователь содержит соосно расположенные и последовательно соединенные монтажное приспособление в виде втулки, звукоизолятор в виде сильфона и резьбовой корпус, в котором размещен пьезоэлемент, закрепленный с помощью резинового кольца, установленного в канавку на внутренней боковой поверхности корпуса. На резьбу корпуса навинчены контргайка и гайка, заглушенная с нижнего торца мембраной. Выводы пьезоэлемента соединены проводами, проходящими через внутренние полости корпуса, звукоизолятора и монтажного приспособления, заполненные компаундом холодного отверждения, с коаксиальным разъемом, укрепленным на монтажном приспособлении. Поверхность резинового кольца, охватывающая пьезоэлемент, выполнена волнообразной формы. Изобретение обеспечивает возможность получения оптимального выходного сигнала за счет подстройки его формы и амплитуды в процессе изготовления преобразователя путем регулировки толщины согласующего слоя и высокую степень подавления паразитного сигнала, что обеспечивает повышение отношения сигнал-помеха. 4 ил.
Изобретение относится к измерительной технике, в частности к датчикам ультразвуковых колебаний, и может быть использовано для измерения расхода газообразных веществ в различных отраслях народного хозяйства, например, природного газа.
Известен преобразователь для ультразвукового расходомера газа (Патент США №6.669.636, кл. А61В 8/00, 30.12.2003, Fig.1b), содержащий монтажное приспособление, выполненное в виде фланца, полый металлический корпус цилиндрической формы, звуковод, который размещен во внутренней полости корпуса, и пьезоэлемент, который закреплен на первой торцевой поверхности звуковода, другая торцевая поверхность которого контактирует с газообразным веществом в трубопроводе, а на поверхности корпуса вблизи пьезоэлемента выполнена кольцевая канавка, при этом звуковод может быть изготовлен из тонкого металлического листа, свитого в рулон.
Данный преобразователь для ультразвукового расходомера газа так же, как и заявляемый ультразвуковой преобразователь содержит монтажное приспособление, корпус, пьезоэлемент и звукоизолятор – кольцевая канавка, выполненная на поверхности корпуса вблизи пьезоэлемента. Однако выполнение звукоизолятора и крепления пьзоэлемента, а также отсутствие гайки и контргайки снижает качество ультразвукового сигнала, в результате чего уменьшается отношение сигнал-помеха.
Известен преобразователь для ультразвукового расходомера газа (Патент США №5.275.060, кл. G01F 1/20, 04.01.1994, Fig.2), содержащий цилиндрический тонкостенный корпус, который с одной стороны заглушен мембраной, а с другой – присоединен к резьбовой втулке с шестигранной головкой, заканчивающейся коаксиальным разъемом, согласующий слой, пьезоэлемент и металлические кольца, при этом согласующий слой размещается между пьезоэлементом и мембраной, а металлические кольца прикреплены любым удобным способом к внутренней стороне цилиндрического корпуса на отрезке между пьезоэлементом и резьбовой втулкой.
Данный преобразователь для ультразвукового расходомера газа так же, как и заявляемый ультразвуковой преобразователь содержит коаксиальный разъем, монтажное приспособление (резьбовую втулку), корпус, звукоизолятор, образованный металлическими кольцами, прикрепленными изнутри к корпусу, мембрану, пьезоэлемент. Однако отсутствие контргайки, гайки, заглушенной с торца мембраной, резинового кольца, канавки на внутренней боковой поверхности корпуса, выполнения крепления пьезоэлемента указанным способом, выполнения на наружной поверхности корпуса резьбы, на которую накручены контргайка и гайка, выполнения звукоизолятора в виде сильфона ухудшает характеристики ультразвукового сигнала и ведет к уменьшению отношения сигнал-помеха.
Наиболее близким по технической сущности к устройству, которое заявляется, является преобразователь для ультразвукового расходомера газа (Патент WO 00/72000 А1, кл. G01N 29/04, 30.11.2000, Fig.1), содержащий последовательно соединенные монтажное приспособление, выполненное в виде втулки, звукоизолятор и полый корпус цилиндрической формы, заглушенный с одной стороны металлической мембраной и покрытый изнутри демпфирующим материалом, внутри корпуса расположен пьезоэлемент, который прижат к мембране через согласующий слой, звукоизолятор представляет собой полый толстостенный цилиндр, на наружной поверхности которого выполнен ряд проточек, на торцевой поверхности монтажного приспособления установлен коаксиальный разъем, при этом выводы пьезоэлемента соединены с контактами разъема проводами, проходящими сквозь внутренние полости преобразователя.
Данный преобразователь для ультразвукового расходомера газа так же, как и заявляемый ультразвуковой преобразователь содержит соосно расположенные и последовательно соединенные коаксиальный разъем, монтажное приспособление, звукоизолятор, корпус, пьезоэлемент и мембрану, а также провода, которыми выводы пъезоэлемента соединены с контактами коаксиального разъема и которые проходят через внутренние полости корпуса, звукоизолятора и монтажного приспособления. Однако отсутствие контргайки и гайки, заглушенной с торца мембраной, резинового кольца, выполнения канавки на внутренней боковой поверхности корпуса на расстоянии, равном половине высоты пьзоэлемента от нижнего конца корпуса, крепление пьезоэлемента к корпусу в его серединной части, с помощью резинового кольца, установленного в канавку на внутренней боковой поверхности корпуса, выполнение на наружной поверхности корпуса резьбы, на которую накручены контргайка и гайка, заглушенная с торца мембраной, заполнение внутренних полостей монтажного приспособления, звукоизолятора и корпуса ультразвукового преобразователя компаундом холодного отверждения, выполнение звукоизолятора в виде сильфона и выполнение поверхности резинового кольца, охватывающей пьзоэлемент, волнообразной формы, ухудшает характеристики ультразвукового сигнала и ведет к уменьшению отношения сигнал-помеха.
Задачей предлагаемого изобретения является улучшение характеристик ультразвукового сигнала за счет подстройки его формы и амплитуды в процессе изготовления ультразвукового преобразователя регулировкой толщины согласующего слоя, при одновременном увеличении степени подавления паразитного сигнала, что ведет к повышению отношения сигнал-помеха.
Поставленная задача решается тем, что в ультразвуковой преобразователь, содержащий соосно расположенные коаксиальный разъем, монтажное приспособление, звукоизолятор, корпус, на котором укреплен звукоизолятор, который соединен с монтажным приспособлением, которое выполнено в виде втулки и на котором укреплен коаксиальный разъем, пьезоэлемент, выводы которого соединены проводами, проходящими через внутренние полости корпуса, звукоизолятора и монтажного приспособления, с контактами коаксиального разъема и мембрану, согласно изобретению введены контргайка, гайка, заглушенная с торца мембраной, и резиновое кольцо, на внутренней боковой поверхности корпуса на расстоянии, равном половине высоты пьзоэлемента, от нижнего конца корпуса, выполнена канавка, крепление пьезоэлемента осуществляется в его серединной части с помощью резинового кольца, установленного в канавку на внутренней боковой поверхности корпуса, на наружной поверхности корпуса выполнена резьба, на которую накручены контргайка и гайка, внутренние полости монтажного приспособления, звукоизолятора и корпуса ультразвукового преобразователя заполнены компаундом холодного отверждения, звукоизолятор выполнен в виде сильфона, при этом внутренняя поверхность резинового кольца, охватывающая пьезоэлемент, выполнена волнообразной формы.
Введение резинового кольца, выполнение канавки на внутренней боковой поверхности корпуса на расстоянии, равном половине высоты пьзоэлемента, от нижнего конца корпуса, крепление пьезоэлемента к корпусу в его серединной части, в которой находится узел механических колебаний, с помощью резинового кольца, установленного в канавку на внутренней боковой поверхности корпуса, позволяет уменьшить энергию «паразитного» акустического сигнала, поступающего в корпус, звукоизолятор, монтажное приспособление и в трубопровод.
Выполнение звукоизолятора в виде сильфона позволяет существенно подавить энергию «паразитного» сигнала, проникающую в трубопровод через звукоизолятор.
Заполнение внутренних полостей монтажного приспособления, звукоизолятора и корпуса ультразвукового преобразователя компаундом холодного отверждения, например, низкомолекулярным силиконовым каучуком СКТН, позволяет снизить добротность пьезоэлемента и тем самым уменьшить длительность свободных затухающих колебаний после окончания воздействия на пьезоэлемент импульса возбуждения, что также позволяет уменьшить часть энергии «паразитных» колебаний, поступающих в трубопровод.
Выполнение на наружной поверхности корпуса резьбы, на которую накручены контргайка и гайка, заглушенная с торца мембраной, а также крепление пьезоэлемента с помощью резинового кольца волнообразной формы, обеспечивающего заполнение компаундом пространства между торцом пьезоэлемента и мембраной через зазоры между резиновым кольцом и пьезоэлементом – образование согласующего слоя, позволяет путем регулирования толщины согласующего слоя настроить ультразвуковой преобразователь на выдачу оптимального по форме и амплитуде выходного «полезного» сигнала.
В совокупности введение указанных элементов и их связей позволяет улучшить характеристики ультразвукового сигнала и получить более высокое отношение сигнал-помеха, чем у известных устройств.
На чертежах приведены:
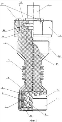
фиг.1 – конструкция ультразвукового преобразователя;
фиг.2 – чертеж резинового кольца;
фиг.3 – осциллограмма сигнала на выходе ультразвукового преобразователя-прототипа;
фиг.4 – осциллограмма сигнала на выходе заявляемого ультразвукового преобразователя.
Ультразвуковой преобразователь содержит коаксиальный разъем 1, монтажное приспособление 2, в которое установлен коаксиальный разъем 1, звукоизолятор 3, который укреплен в монтажном приспособлении, например, с помощью пайки, корпус 4, который соединен со звукоизолятором 3, например, с помощью пайки, на нижней наружной части корпуса 4 выполнена резьба 5, а на внутренней боковой поверхности корпуса 4 выполнена канавка 6, резиновое кольцо 7, пьезоэлемент 8, который размещен в нижней части корпуса 4 и закреплен в нем с помощью резинового кольца 7, помещенного в канавку 6, которая выполнена на расстоянии, равном половине высоты пьзоэлемента 8, от нижнего конца корпуса 4, провода 9, которыми выводы пьезоэлемента 8 соединены с контактами коаксиального разъема 1 и которые проходят во внутренних полостях монтажного приспособления 2, звукоизолятора 3 и корпуса 4 ультразвукового преобразователя, контргайку 10, гайку 11, заглушенную с нижней стороны мембраной 12, контргайка 10 и гайка 11 размещены на нижнем конце корпуса 4 на резьбе 5, компаунд 13 холодного отверждения, которым заполнены внутренние полости монтажного приспособления 2, звукоизолятора 3 и корпуса 4 ультразвукового преобразователя, которые расположены соосно, звукоизолятор 3 выполнен в виде сильфона, а монтажное приспособление 2 выполнено в виде резьбовой втулки с резьбой 14 и с шестигранной головкой 15 и крышкой 16, укрепленной на нем с помощью винтов 17. Коаксиальный разъем 1 установлен в отверстии крышки 16 монтажного приспособления 2 и укреплен на ней гайкой 18, входящей в комплект коаксиального разъема 1.
Сборку датчика выполняют в следующей последовательности. Монтажное приспособление 2 без крышки 16 и корпус 4 соединяют звукоизолятором 3. Крепление звукоизолятора 3 к корпусу 4 и монтажному приспособлению 2 выполняют любым известным способом, например, пайкой. Коаксиальный разъем 1 устанавливают на крышку 16 монтажного приспособления 2 и укрепляют на ней с помощью гайки 18. К верхней и нижней обкладкам пъезоэлемента 8 припаивают провода 9, пропускают их сквозь внутренние полости корпуса 4, звукоизолятора 3 и монтажного приспособления 2 и соединяют с контактами коаксиального разъема 1. Затем с помощью резинового кольца 7 закрепляют пъезоэлемент 8 внутри корпуса 4. При этом кольцо 7, с одной стороны, охватывает пьезоэлемент 8 в его серединной части, а с другой – устанавливается в канавку 6, выполненную на внутренней поверхности корпуса 4. Форма кольца 7 выбрана таким образом (фиг.2), что между внутренней поверхностью кольца 7 и боковой поверхностью пьезоэлемента 8 образуются зазоры, через которые компаунд 13 может заполнить ту часть корпуса 4, которая лежит ниже горизонтальной плоскости симметрии пьезоэлемента 8. Навинчивают последовательно на корпус 4 контргайку 10, а затем гайку 11, таким образом, чтобы величина расстояния между внутренней поверхностью мембраны 12 и торцом пьезоэлемента 8 было бы близка к значению , где – длина акустической волны в материале компаунда 13. Заполняют компаундом 13 холодного отверждения внутренние полости ультразвукового преобразователя через торец монтажного приспособления 2. Присоединяют с помощью винтов 17 крышку 16 с коаксиальным разъемом 1 к монтажному приспособлению 2.
Сразу после сборки, пока компаунд 13 не затвердел, ультразвуковой преобразователь устанавливают на измерительный стенд, подают импульсы возбуждения и контролируют форму и амплитуду сигнала, излучаемого в газовую среду. При необходимости, вращая гайку 11, изменяют расстояние между внутренней поверхностью мембраны 12 и нижним торцом пъезоэлемента 8, добиваясь наибольшей амплитуды и наилучшей формы сигнала. Найденное оптимальное положение гайки 11 фиксируют с помощью контргайки 10. Далее ультразвуковой преобразователь снимают с измерительного стенда и оставляют в вертикальном положении до полного затвердевания компаунда.
Ультразвуковой преобразователь работает следующим образом.
Ультразвуковой преобразователь устанавливают в отверстие в стенке трубопровода и подключают к блоку управления (на чертежах не показан). После этого включают блок управления, который начинает подавать на коаксиальный разъем ультразвукового преобразователя электрические импульсы, которые поступают на пьезоэлемент 8 через коаксиальный разъем 1 и провода 9. В результате воздействия каждого из электрических импульсов пьезоэлемент 8 генерирует ультразвуковые колебания, которые передаются через согласующий слой – слой компаунда 13 между торцом пьезоэлемента 8 и мембраной 12 и через саму мембрану 12 в газовую среду, как выходной «полезный» сигнал ультразвукового преобразователя. При этом, этот сигнал благодаря предварительной настройке имеет оптимальные параметры – форму и амплитуду.
Кроме того, «паразитный» сигнал в заявляемом устройстве подавляется в большей степени, чем в известных устройствах за счет указанных выше факторов, что иллюстрируется осциллограммами сигнала на выходе ультразвукового преобразователя-прототипа – фиг.3 и сигнала на выходе заявляемого ультразвукового преобразователя – фиг.4.
Таким образом, предложенный ультразвуковой преобразователь по сравнению с известными устройствами, с одной стороны, позволяет увеличить мощность «полезного» сигнала, а с другой – в большей степени подавить «паразитный» сигнал, в результате чего возрастает отношение сигнал-помеха (фиг.4).
Установочная партия ультразвуковых газовых датчиков успешно прошла испытания на предприятии.
Формула изобретения
Ультразвуковой преобразователь, содержащий соосно расположенные коаксиальный разъем, монтажное приспособление, звукоизолятор, корпус, на котором укреплен звукоизолятор, который соединен с монтажным приспособлением, которое выполнено в виде втулки и на котором укреплен коаксиальный разъем, пьезоэлемент, выводы которого соединены проводами, проходящими через внутренние полости корпуса, звукоизолятора и монтажного приспособления, с контактами коаксиального разъема, и мембрану, отличающийся тем, что введены контргайка, гайка, заглушенная с торца мембраной, и резиновое кольцо, на внутренней боковой поверхности корпуса на расстоянии, равном половине высоты пьзоэлемента от нижнего конца корпуса, выполнена канавка, крепление пьезоэлемента осуществляется в его срединной части с помощью резинового кольца, установленного в канавку на внутренней боковой поверхности корпуса, на наружной поверхности корпуса выполнена резьба, на которую накручены контргайка и гайка, внутренние полости монтажного приспособления, звукоизолятора и корпуса ультразвукового преобразователя заполнены компаундом холодного отверждения, звукоизолятор выполнен в виде сильфона, при этом поверхность резинового кольца, охватывающая пьезоэлемент, выполнена волнообразной формы.
РИСУНКИ
|
|